Основные виды и причины брака при нанесении слоя фоторезиста
БЕЛОРУССКИЙ ГОСУДАРСТВЕННЫЙ УНИВЕРСИТЕТ ИНФОРМАТИКИ И РАДИОЭЛЕКТРОНИКИ
кафедра ЭТТ
РЕФЕРАТ на тему:
"Основные виды и причины брака при нанесении слоя фоторезиста"
МИНСК, 2008
При нанесении слоя фоторезиста могут появиться различные виды брака.
Плохая адгезия фоторезиста к подложке вызывает при последующем травлении растравливание и искажение рисунков элементов. Причиной плохой адгезии является некачественная подготовка поверхности подложек.
Локальные неоднородности рельефа слоя фоторезиста, имеющие вид капелек, обусловлены попаданием пылинок на подложки или присутствием посторонних частиц в фоторезисте.
Микродефекты (проколы) слоя фоторезиста связаны с теми же причинам, что и локальные неоднородности рельефа.
Неоднородности рельефа слоя фоторезиста в виде радиаль-но расходящихся длинных лучей вызываются нарушением режима центрифугирования в процессе нанесения слоя (вибрацией столика при вращении).
Неоднородность толщины слоя фоторезиста на подложках и разброс ее на разных подложках являются результатами перекоса столика, уменьшения частоты его вращения и увеличения времени разгона центрифуги. Отклонение толщины слоя фоторезиста от заданной может быть также связано с изменением вязкости фоторезиста.
Точность полученного в процессе фотолитографии топологического рисунка в первую очередь определяется прецизионностью процесса совмещения.
Передача изображения с фотошаблона на подложку должна выполняться с точностью до десятых долей минимального размера элемента, что обычно составляет 0,1 - 0,5 мкм. Поэтому процессы совмещения и экспонирования проводят на одном рабочем месте одновременно на одной установке, не допуская даже малой вибрации фотошаблона и подложки.
Совмещение и экспонирование являются наиболее ответственными операциями процесса фотолитографии.
Перед экспонированием слоя фоторезиста фотошаблон следует правильно сориентировать относительно подложки у рисунка предыдущего слоя. Для полного формирования струю туры полупроводникового прибора или ИМС необходим комплект фотошаблонов со строго согласованными топологическими рисунками элементов.
При первой фотолитографии, когда поверхность подложек еще однородна, фотошаблон ориентируют относительно базового среза подложки. При последующих фотолитографиях, когда на подложках сформированы топологические слои, рисунок фотошаблона ориентируют относительно рисунка предыдущего слоя.
Совмещают рисунки фотошаблона и подложки в два эта па. На первом этапе с помощью реперных модулей - "пустых кристаллов" выполняют грубое совмещение в пределах всего поля подложки. На втором этапе с помощью микроскопа в пределах единичного модуля по специальным знакам - фигурам совмещения, предусмотренным в рисунке каждого топологического слоя, выполняют точное совмещение. Форму фигур совмещения (кресты, круги, квадраты) выбирают в зависимости от типа используемого при фотолитографии фоторезиста (Рисунок 1, а - в).

Рисунок 1 Фигуры совмещения на фотошаблонах (I) и подложках после второй (II) и четвертой (III) фотолитографии:
а - концентрические окружности, б - вложенные квадраты, в - биссекторные знаки
Сложность операции совмещения состоит в том, что приходится с высокой точностью совмещать элементы малых размеров на большой площади. Для этого увеличение микроскопа должно быть не менее 200 раз. Современные установки обеспечивают точность совмещения 0,25 - 1 мкм. Точность совмещения последовательных рисунков зависит от следующих факторов:
точности совмещения фотошаблонов в комплекте;
точности воспроизведения форм и размеров элементов рисунков в процессе фотолитографии;
качества подложек и слоев фоторезиста;
совершенства механизма совмещения установки;
разрешающей способности микроскопа;
соблюдения температурного режима.
Существует два метода совмещения фотошаблонов с подложками:
визуальный, при котором, выполняя совмещение, наблюдают за контрольными отметками в микроскоп; при этом точность совмещения составляет 0,25 - 1 мкм и зависит от возможностей установки;
автоматизированный фотоэлектрический с помощью фотоэлектронного микроскопа, обеспечивающий точность совмещения 0,1 - 0,3 мкм.
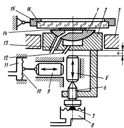
При контактной фотолитографии операцию совмещения выполняют с помощью специального механизма совмещения микроизображений (Рисунок 2), основными элементами которого являются предметный шаровой столик 1 со сферическим основанием - гнездом 2, рамка 16 для закрепления фотошаблона 15 и устройство перемещения рамки и поворота предметного столика.
Предварительно подложку размещают на предметном столике так, чтобы слой фоторезиста был сверху, и закрепляют фотошаблон в подвижной рамке над поверхностью подложки 14. Между подложкой и фотошаблоном должен быть зазор для свободного перемещения рамки. Для совмещения рисунков на фотошаблоне и подложке передвигают рамку с фотошаблоном в двух взаимно перпендикулярных направлениях в плоскости подложки и поворачивают предметный столик с подложкой вокруг вертикальной оси.
Современные установки совмещения и экспонирования представляют собой сложные оптико-механические комплексы. Точность совмещения и производительность зависят от выбранного метода совмещения - визуального или фотоэлектрического.
В отечественных установках контактного совмещения и экспонирования (ЭМ-576, ЭМ-5006) используется принцип контактной печати с наложением фотошаблона на подложку. При идеальной плоскостности фотошаблона и подложки передача изображения осуществляется с минимальными искажениями при большой производительности.
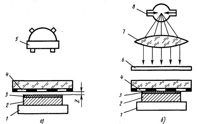
После выполнения совмещения (Рисунок 3, а) подложку прижимают к фотошаблону и экспонируют слой фоторезиста (Рисунок 3, б). Основной целью экспонирования является высокоточное воспроизведение слоем фоторезиста всех элементов топологии полупроводниковых приборов или ИМС. Правильность экспонирования влияет на качество переноса изображения с фотошаблона на слой фоторезиста.

Рисунок 2. Механизм совмещения микроизображений фотошаблона и подложки при контактной фотолитографии:
1,2 - предметный столик и его гнездо, 3 - направляющие, 4 - микрозазор, 5 - штифт, 6 - регулировочный винт, 7, 10 - диафрагмы, 8, 11 - камеры, 9 - фиксатор, 12, 13 - трубопроводы, 14 - подложка, 15 - фотошаблон, 16 - рамка
Процесс экспонирования зависит от качества фотошаблона, свойств фоторезиста и подложки, оптических явлений, происходящих в системе подложка - фотошаблон и точности их совмещения.
При контактном экспонировании ультрафиолетовое излучение проходит через фотошаблон и попадает на слой фоторёзиста. Следовательно, передача элементов рисунка на слое фоторезиста зависит от оптической плотности темных и светлых участков рисунка фотошаблона, резкости и ровности их краев и коэффициента отражения металлизированного слоя фотошаблона.

Рисунок 3. Схемы совмещения (а) и экспонирования (б):
1 - предметный столик, 2 - подложка, 3 - слой фоторезиста, 4 - фотошаблон, 5 - микроскоп, 6 - затвор, 7 - конденсор, 8 - источник света; z - зазор между фотошаблоном и подложкой.
Важной частью установки совмещения и экспонирования является микроскоп. Отечественные установки оснащены двупольным микроскопом с увеличением до 300 раз, в который одновременно можно наблюдать изображение двух модулей в разных точках подложки. Этот микроскоп позволяет плавно изменять увеличение сменой объективов.
Как уже отмечалось, совмещение и экспонирование выполняют на одной установке (Рисунок 4), при этом подложка 9 с помощью подающей кассеты 1 перемещается по конвейеру 2 в устройство совмещения 3, где точно ориентируется относительно фотошаблона 4 при наблюдении в микроскоп 5. После совмещения микроскоп автоматически отводится в сторону, на его место устанавливается осветитель 6 и проводится экспонирование. Затем подложка подается в приемную кассету 8 и по конвейеру 7 перемещается на операцию проявления.
Осветитель состоит из источника света, оптического устройства для создания равномерного светового потока и затвора-дозатора актиничного излучения.

Рисунок 4. Установка совмещения и контактного экспонирования:
1, 8 - подающая и приемная кассеты, 2, 7 - конвейеры, 3 - устройство совмещения, 4 - фотошаблон, 5 - микроскоп, 6 - осветитель, 9 - подложки
В качестве источника света обычно применяют ртутно-кварцевую лампу высокого давления ДРШ-350 или ДРШ-500, создающую мощный световой поток. Излучение такой лампы лежит в основном в ультрафиолетовой области спектра (330 - 440 нм).
Оптическое устройство создает поток параллельных лучей, равномерно освещающих подложку. Разброс освещенности в пределах рабочего поля подложки не должен превышать 5%. ' При работе на установке необходимо принимать меры по защите глаз от прямого попадания ультрафиолетового излучения.
Система затвор-дозатор обеспечивает точность дозы при экспонировании не хуже 5%.
Режимы проявления слоя фоторезиста зависят от времени экспонирования. Необходимую экспозицию устанавливают, учитывая тип и светочувствительность фоторезиста, а также толщину его слоя. Оптимальную дозу излучения, обеспечивающую наилучшую четкость изображения, получаемого после проявления, определяют экспериментально.
Качество изображения оценивают визуально по наиболее мелким элементам топологии или специальным контрольным знакам-элементам, предусмотренным в нем. Поскольку зазор между шаблоном и подложкой, а также освещенность распределены по рабочему полю неравномерно и носят случайный характер, качество изображения контролируют на разных участках подложки.
Наличие зазора между фотошаблоном и подложкой вызывает дифракционные явления, что приводит к искажению формы и размеров элементов и обусловлено проникновением света в область геометрической тени. Чтобы уменьшить влияние дифракции при экспонировании, необходимо фотошаблон плотно прижимать к подложке для исключения зазора между ними или сведения его к минимуму.
Важным оптическим эффектом при экспонировании является прохождение ультрафиолетового излучения через пленку фоторезиста. Световой поток, проходя через слой фоторезиста, рассеивается в нем, а достигая подложки, отражается от нее и возвращается обратно в слой фоторезиста. Дойдя до поверхности фотошаблона, световой поток отражается под углом от его металлизированных непрозрачных участков и через прозрачные участки попадает в слой фоторезиста на подложке.
Эти отражения светового потока приводят к нежелательному дополнительному экспонированию участков слоя фоторезиста, находящегося под непрозрачными участками фотошаблона. Интенсивность отраженного потока света зависит от коэффициентов отражения подложки и фотошаблона. Для снижения эффекта отражения при контактной фотолитографии используют цветные оксидные фотошаблоны, имеющие малый коэффициент отражения.
Обработка подложек. Заключительным этапом процесса фотолитографии является формирование топологии рельефного рисунка на подложках в технологическом слое (маскирующей, изолирующей, защитной диэлектрической или проводящей металлической пленке) травлением с последующими удалением слоя фоторезиста и очисткой подложек. Эти операции осуществляют химическим жидкостным или плазменным "сухим" травлением.
В связи с тем что процессы травления являются завершающими в формировании элементов полупроводниковых приборов и ИМС, они оказывают решающее влияние на электрические параметры этих изделий и выход годных и должны обеспечивать:
минимальные погрешности размеров элементов рисунка и наименьшее количество дефектов;
полное удаление материала на участках, не защищенных слоем фоторезиста, а также продуктов реакции;
возможность управления режимами обработки.
Химическое жидкостное травление основано на растворении в химических реагентах не защищенных фоторезистивной маской участков технологического слоя и состоит из следующих стадий: диффузии и адсорбции молекул травителя к поверхности подложки; химической реакции; десорбции продуктов реакции и удаления их в раствор.
Скорость травления зависит от наиболее медленной стадии и, кроме того, определяется составом травителя, его температурой, а также структурой технологического слоя.
Используемые химические травители должны обладать следующими свойствами:
селективностью (избирательностью), т.е. способностью активно растворять основной технологический слой, не взаимодействуя с фоторезистивной маской и другими нижележащими слоями;
не образовывать продуктов реакции, способствующих отслаиванию фоторезиста по контуру элементов рисунка и подтравливанию;
допускать возможность подбора оптимальной для данных условий скорости травления, обеспечивающей минимальную плотность дефектов полученного рисунка.
Процесс химического жидкостного травления, как правило, изотропен, т.е. имеет одинаковую скорость во всех направлениях. Участки подложки, не защищенные пленкой фоторезиста, травятся не только вглубь, но и в стороны, т.е. происходит так называемое боковое подтравливание, что приводит к изменению линейных размеров элементов рисунка. По боковому подтравливанию судят о качестве процесса травления и формированию клина травления. Изменение размеров элементов рисунка не должно превышать допусков, указанных в ТУ.
При плохой адгезии слоя фоторезиста травитель может проникать под него на значительное расстояние и в этом случае боковое подтравливание l становится недопустимо большим. При хорошей адгезии фронт бокового травления (клин травления) имеет форму дуги (Рисунок 5, а). Клин травления зависит от скорости процесса, адгезии защитной маски фоторезиста к подложке, толщины вытравливаемого слоя h и смачиваемости его поверхности травителем.
В состав любого травителя, как правило, входят следующие компоненты:
окислитель - для образования оксидов на поверхности технологического слоя;
растворитель - для растворения и удаления образовавшихся оксидов;
замедлитель и ускоритель реакции.
Результатом процесса травления является полное стравливание материала на участках, не защищенных фоторезистом. Результат травления зависит от качества сформированного защитного рельефа фоторезиста, его адгезии, геометрических размеров элементов на фотошаблоне, клина травления. Кроме того, процесс травления, геометрические размеры получаемых после травления элементов рисунка и клин травления определяются
т
ипом
травителя, температурой травления и
толщиной травящегося материала.
Рисунок 5. Профили элементов рельефного рисунка после травления:
а - жидкостного, б - ионно-химического, в, г - плазмохимического; 1 - слой фоторезиста, 2 - технологический слой.
Травление технологических слоев. Наиболее широко в процессах химического травления при фотолитографической обработке используют травители, представляющие собой слабые кислотные растворы. В производстве полупроводниковых приборов и ИМС большую часть фотолитографических процессов проводят на слое диоксида и нитрида кремния.
Для травления пленок диоксида крем-ния SiO2 применяют плавиковую кислоту и травители на ее основе. Процесс происходит по следующей реакции:
SiO2 +4HF
=> SiF4
+ 2Н2О
Для улучшения качества рельефного рисунка в слое SiO2 применяют так называемый "буферный" травитель с замедляющими добавками фторида аммония NH4F. В этом случае процесс происходит по следующей реакции:
SiO2 + 4HF + 2NH4F => (NH4) 2 SiF6 + 2H3O
В типовой состав буферного травителя входят: 2 ч.48% -ной плавиковой кислоты, 7 ч.40% -ного водного фтористого аммония и 1 ч. воды. Увеличение концентрации кислоты в травителе повышает скорость травления пленки SiO2, но при этом ухудшается качество вытравленного рельефа. При увеличении концентрации фтористого аммония уменьшается скорость травления и улучшается качество рельефного рисунка. Оптимальная температура травителя 20 OС. Повышение температуры травителя увеличивает скорость травления, но ухудшает качество рельефа.
Для травления пленок нитрида кремния Si3N4 используют травитель на основе ортофосфорной кислоты Н3РО4 с добавками фосфорного ангидрида Р2О5. Оптимальная температура травителя до 180 - 200 °С. Так как при травлении при высоких температурах резко снижаются защитные свойства фоторезиста, пленку Si3N4 защищают тонким слоем SiO2 (~ 0,2 мкм). В этом случае травление сначала проводят в буферном травителе, а затем приступают к травлению нитрида кремния, используя пленку диоксида кремния в качестве защитной маски.
Окончание процесса травления устанавливают в момент перехода вытравленной поверхности из гидрофильного состояния в гидрофобное, т.е. когда обнажившийся кремний перестает смачиваться травителем.
При травлении пленок диоксида и нитрида кремния возможны различные виды брака, обусловленные следующими причинами. Так, растравливание, характерным признаком которого является появление интерференционных кругов под слоем фоторезиста вокруг вскрытых окон, вызывается нарушением межоперационного времени хранения подложек, плохой адгезией фоторезиста к их поверхности, нарушением режимов проявления и задубливания, завышенным временем травления, некачественным травителем.
Причинами отслаивания пленки фоторезиста при травлении могут быть его плохая адгезия к поверхности и нарушение режима задубливания, увеличение межоперационного времени хранения подложек.
Окрашивание кремния во вскрытых окнах происходит из-за его сильного легирования и высокой поверхностной концентрации примеси, попадания окислителей (например, HNO3) в травитель, большого разброса толщины вытравливаемой пленки оксида. При этом на участках, где пленка оксида имеет толщину более 100 нм, наблюдается наибольшее окрашивание. Тонкая (60 - 70 нм) пленка оксида, остающаяся в окнах, не окрашивается, поэтому невидима, но может существенно влиять на параметры последующих диффузионных слоев. Причинами нестравливания таких пленок могут быть недостаточное время травления, а также неравномерное травление окон в разных точках площади подложек.
При изготовлении металлизированной разводки и формирования контактных площадок фотолитографию проводят по слою металла (алюминия, золота, молибдена, тантала, нихрома и др.) •
Для травления пленок алюминия применяют как кислотные, так и щелочные травители. Однако из-за плохой адгезии фоторезиста к пленке алюминия вследствие значительного изменения его угла смачивания (от 20 до 80 °) травитель выбирают в соответствии с типом применяемого при фотолитографии фоторезиста. Так, для травления масок негативных фоторезистов используют 20% -ный раствор КОН или NaOH. При температуре 60 - 90 ° С травление происходит с выделением пузырьков водорода, что вызывает неровности контура рельефа до 0,5 - 1 мкм. Процесс протекает по следующей реакции:
2Аl + 2NaOH
+ 6Н2 О - > 2Na [Аl(ОН)
4] + ЗН2
При использовании в качестве масок позитивных фоторезистов для травления алюминия используют травители на основе ортофосфорной кислоты. Процесс протекает по следующей реакции:
2Аl + 6Н3РО4 - >
2Аl(Н2РО4) 3 + 3H2
Более часто применяют травитель, состоящий из смеси ортофосфорной, азотной, уксусной кислот и воды.
Травление в кислотных травителях идет при температуре около 40 "С и сопровождается бурным газовыделением, что также приводит к неровностям контура рельефа.
Наилучшее качество травления получают, используя травитель на основе хромового ангидрида Сг2О3, фторида аммония NH4F и воды. При комнатной температуре скорость травления составляет 0,7 мкм/мин. Кроме того, применяют травитель, состоящий из хромового ангидрида Сг2О3, фторида аммония NH4F, ацетата кадмия Cd(CH3COOH) 2, водорастворимого крахмала и воды. При использовании этого травителя не требуется нагрев, отсутствует газовыделение и неровность контура рельефа не превышает 0,3 мкм.
При травлении пленок алюминия возможен такой брак, как изменение (уменьшение) линейных размеров элементов, что может быть вызвано следующими причинами: применением некачественного фоторезиста; нарушением режима его задубливания или плохой адгезией к алюминию; увеличением межоперационного времени хранения; неправильным соотношением компонентов в травителе; превышением температуры и времени травления; изменением размеров элементов рисунка после проявления.
До обработки партии подложек проводят травление контрольной подложки. При несоответствии размеров элементов рисунка заданным необходимо прежде всего проверить режим задубливания, качество проявленного рельефа, температуру и состав травителя.
Иногда пленки алюминия при травлении окисляются и темнеют их отдельные участки, что можно объяснить электрохимическими процессами, происходящими в системе Al - Si - р-n-переход - травитель. Для устранения этого явления обратную и боковые стороны подложек покрывают фоторезистом, чтобы изолировать их от травителя.
Остатки невытравленного алюминия в виде перемычек могут привести к замыканию параллельных проводников одного уровня. Причинами этого могут быть: некачественное проявление (недопроявление) слоя фоторезиста; нарушение режимов его задубливания (заплывание фоторезиста при повышенной температуре задубливания); дефекты в фотошаблоне. Последующим дотравливанием, как правило, не удается ликвидировать эти перемычки. Поэтому такой брак можно устранить только повторной фотолитографией.
Для травления пленок золота применяют смесь концентрированных соляной НС1 и азотной NHO3 кислот в соотношении 3: 1 (царскую водку), а также травитель, состоящий из йодистого калия KI, иода I2 и воды в соотношении 4: 1: 1.
Для травления пленок серебра используют травитель, в который входят нитрат железа Fe (NO3) 2, раствор йодистого калия KI и иода I2 в воде.
Для травления пленок молибдена применяют состав из ферроцианида калия, серной и азотной кислот либо смесь ортофосфорной, азотной и уксусной кислот.
Для травления пленок тантала используют смесь нитрата железа, концентрированной плавиковой и азотной кислот, а пленки нихрома травят в соляной кислоте.
В полупроводниковых ИМС высокой степени интеграции электрические соединения часто выполняют в виде многослойной металлизации - двойных проводящих cлое в (например, молибден - золото, титан - алюминий). В этом случае рельеф вытравливают с помощью селективных тра-вителей последовательно в двух различных составах: в первом вытравливают пленку верхнего слоя, а во втором - нижнего.
Так, для получения рельефа в двухслойной системе молибден - золото; в которой нижний молибденный слой имеет толщину 0,2 мкм, а верхний - слой золота - 0,4 мкм, подложки последовательно обрабатывают в травителях для золота и молибдена. В травитель для золота входят этиленгликоль, йодистый калий, иод и вода, а в травитель для молибдена - этиленгликоль, азотная кислота и хлорное железо.
Основными параметрами режима травления, от которых зависят как его скорость, так и воспроизводимость размеров получаемых рельефов, являются время травления, температура и концентрация травителя. Так, с повышением концентрации травильной смеси и Температуры скорость травления растет. Увеличение времени травления приводит к боковому подтравливанию рисунка, причиной которого может быть также рост температуры травителя.
Удаление слоя фоторезиста. Для удаления фоторезистивной маски подложки обрабатывают в горячих органических растворителях (диметилформамиде, метилэтилкетоне, моноэтаноламине и др.). При этом слой фоторезиста разбухает и вымывается. Скорость и чистота удаления фоторезиста зависят от степени его, задубливания при второй термообработке.
При высоких температурах задубливания (более 140 - 150 °С) в слое фоторезиста происходят термореактивные превращения, в результате которых он теряет способность растворяться в органических растворителях. В этом случае подложки два-три раза кипятят по 5 - 10 мин в концентрированной серной, азотной кислоте или смеси Каро (серная кислота и перекись водорода). Слой фоторезиста при этом разлагается и растворяется в кислоте, а затем его окончательно удаляют в органическом растворителе. Кислотное удаление фоторезиста нельзя применять при фотолитографии по металлу.
Некоторые фоторезисты хорошо удаляются в водных растворах поверхностно-активных веществ, например кипячением 5 - 10 мин в 30% -ном растворе синтанола.
Интенсивность удаления слоя фоторезиста можно увеличить ультразвуковым воздействием. Для этого ванночку с подложками, заполненную реагентом, помещают в ультразвуковую ванну с деионизованной водой. Время обработки при этом уменьшается в 10 - 20 раз.
Для удаления позитивных фоторезистов, температура сушки которых не превышает 95 °С, подложки предварительно облучают ультрафиолетовым светом. При этом ортонафтохинондиазиды превращаются в инденкарбоновые кислоты, которые легко удаляются в органических растворителях.
После химического удаления слоя фоторезиста подложки тщательно очищают от его остатков, которые могут отрицательно сказаться на таких последующих технологических операциях, как диффузия, окисление, нанесение металлизации и др. Кроме того, необходимо качественно очищать поверхность подложек от загрязнений, вносимых при фотолитографии.
Химическую обработку проводят на установках, входящих в комплекс универсального оборудования, предназначенного для очистки подложек перед первым окислением, травления оксидных металлических и полупроводниковых пленок, а также удаления слоя фоторезиста и последующей гидромеханической отмывки подложек деионизованной водой. Все эти операции проводят во фторопластовых ваннах, снабженных нагревателями и эжекторами для откачки реагентов после окончания технологического процесса.
Несмотря на широкое использование, химические жидкостные методы обработки (травление технологических слоев и удаление фоторезиста) имеют ряд недостатков, основными из которых являются невысокая разрешающая способность и изотропность процессов травления, трудность их автоматизации и - появление загрязнений на поверхности подложек, что ограничивает возможности фотолитографии.
ЛИТЕРАТУРА
Черняев В.Н. Технология производства интегральных микросхем и микропроцессоров. Учебник для ВУЗов - М; Радио и связь, 2007 - 464 с: ил.
Технология СБИС. В 2 кн. Пер. с англ. /Под ред. С. Зи, - М.: Мир, 2006. -786 с.
Готра З.Ю. Технология микроэлектронных устройств. Справочник. - М.: Радио и связь, 2001. -528 с.
Достанко А.П., Баранов В.В., Шаталов В.В. Пленочные токопроводящие системы СБИС. -Мн.: Выш. шк., 2000. -238 с.
Таруи Я. Основы технологии СБИС Пер. с англ. - М.: Радио и связь, 2000-480 с.