Особенности получения новых материалов с применением нанотехнологий
СОДЕРЖАНИЕ
Введение
1 Возникновение и развитие нанотехнологии
2 Основы технологии наноматериалов
2.1 Общая характеристика
2.2 Технология консолидированных материалов
2.2.1 Порошковые технологии
2.2.2 Интенсивная пластическая деформация
2.2.3 Контролируемая кристаллизавия из аморфного состояния
2.2.4 Технология пленок и покрытий.
2.3 Технология полимерных, пористых, трубчатых и биологических наноматериалов
2.3.1 Гибридные и супрамолекулярные материалы
2.3.2 Нанопористые материалы (молекулярные сита)
2.3.3 Трубчатые материалы
2.3.4 Полимерные материалы
3 Общая характеристика применения наноматериалов
Заключение
Список литературы
ВВЕДЕНИЕ
В последние несколько лет нанотехнология стала рассматриваться не только как одна из наиболее многообещающих ветвей высокой технологии, но и как системообразующий фактор экономики 21 века – экономики, основанной на знаниях, а не на использовании природных ресурсов или их переработке. Помимо того, что нанотехнология стимулирует развитие новой парадигмы всей производственной деятельности («снизу-вверх» - от отдельных атомов — к изделию, а не «сверху вниз», как традиционные технологии, в которых изделие получают путем отсечения излишнего материала от более массивной заготовки), она сама является источником новых подходов к повышению качества жизни и решению многих социальных проблем в постиндустриальном обществе. По мнению большинства экспертов в области научно-технической политики и инвестирования средств, начавшаяся нанотехнологическая революция охватит все жизненно важные сферы деятельности человека (от освоения космоса — до медицины, от национальной безопасности — до экологии и сельского хозяйства), а ее последствия будут обширнее и глубже, чем компьютерной революции последней трети 20 века. Все это ставит задачи и вопросы не только в научно-технической сфере, но и перед администраторами различного уровня, потенциальными инвесторами, сферой образования, органами государственного управления и т.д.
1 ВОЗНИКНОВЕНИЕ И РАЗВИТИЕ НАНОТЕХНОЛОГИИ
Нанотехнология сформировалась на основе революционных изменений в компьютерных технологиях. Электроника как целостное направление возникло около 1900 г. и продолжала бурно развиваться в течение всего прошлого столетия. Исключительно важным событием в ее истории стало изобретение транзистора в 1947 г. После этого началась эпоха расцвета полупроводниковой техники, при которой размеры создаваемых кремниевых устройств постоянно уменьшались. Одновременно с этим непрерывно возрастали быстродействие и объем магнитных и оптических запоминающих устройств.
Однако по мере приближения размеров полупроводниковых устройств к 1 микрону в них начинают проявляться квантово-механические свойства вещества, т.е. необычные физические явления (типа туннельного эффекта). Можно с уверенностью предположить, что при сохранении нынешних темпов развития мощности компьютеров вся полупроводниковая технология примерно через 5-10 лет столкнется с проблемами фундаментального характера, так как быстродействие и степень интеграции в ЭВМ достигнут некоторых «принципиальных» границ, определяемых известными нам законами физики. Таким образом, дальнейший прогресс науки и техники требует от исследователей существенного «прорыва» к новым принципам работы и новым технологическим приемам.
Такой прорыв может быть осуществлен только за счет использования нанотехнологий, которые позволят создать целый ряд принципиально новых производственных процессов, материалов и устройств, например нанороботов [1].
Расчеты показывают, что использование нанотехнологий может повысить основные характеристики полупроводниковых вычислительных и запоминающих устройств на три порядка, т.е. в 1000 раз [ 2].
Однако нанотехнологию не стоит сводить только к локальному революционному прорыву в электронике и компьютерных технологиях. Уже сейчас получен ряд исключительно важных результатов, позволяющих надеяться на существенный прогресс в развитии других направлений науки и техники.
На многих объектах в физике, химии и биологии показано, что переход на наноуровень приводит к появлению качественных изменений в физико-химических свойствах отдельных соединений и получаемых на их основе систем. Речь идет о коэффициентах оптического сопротивления, электропроводности, магнитных свойствах, прочности, термостойкости. Более того, согласно наблюдениям новые материалы, получаемые с использованием нанотехнологий, значительно превосходят по своим физическим, механическим, термическим и оптическим свойствам аналоги микрометрического масштаба.
На основе материалов с новыми свойствами уже сейчас создаются новые типы солнечных батарей, преобразователей энергии, экологически безопасных продуктов и многое другое. Уже созданы высокочувствительные биологические датчики (сенсоры) и другие устройства, позволяющие говорить о возникновении новой науки — нанобиотехнологии и имеющие огромные перспективы практического применения. Нанотехнология предлагает новые возможности микрообработки материалов и создания на этой основе новых производственных процессов и новых изделий, что должно оказать революционное воздействие на экономическую и социальную жизнь будущих поколений [ 3].
2 ОСНОВЫ ТЕХНОЛОГИИ НАНОМАТЕРИАЛОВ
2.1 Общая характеристика
Структура и соответственно свойства наноматериалов формируются на стадии их изготовлёния. Вполне очевидно значение технологии как основы для обеспечения стабильных и оптимальных эксплуатационных характеристик наноматериалов; это важно также с точки зрения их экономичности.
Для технологии наноматериалов в соответствии с многообразием последних характерно сочетание, с одной стороны, металлургических, физических, химических и биологических методов, а с другой стороны, традиционных и принципиально новых приемов. Так, если подавляющее большинство методов получения консолидированных наноматериалов достаточно традиционны, то такие операции, как изготовление, например, «квантовых загонов» с помощью сканирующего туннельного микроскопа, формирование квантовых точек самосборкой атомов или использование ионно-трековой технологии для создания пористых структур в полимерных материалах основаны на принципиально иных технологических приемах.
Весьма разнообразны и методы молекулярной биотехнологии. Все это усложняет изложение основ технологии наноматериалов, учитывая и то, что многие технологические подробности («ноу-хау») авторы описывают только в общих чертах, а зачастую сообщение носит рекламный характер. Далее проанализированы лишь основные и наиболее характерные технологические приемы.
2.2 Технология консолидированных материалов
2.2.1 Порошковые технологии
Под порошком понимают совокупность находящихся в соприкосновении индивидуальных твердых тел (или их агрегатов) небольших размеров — от нескольких нанометров до тысячи микрон [4]. Применительно к изготовлению наноматериалов в качестве исходного сырья используют ультрадисперсные порошки, т.е. частицы размером не более 100 им, а также более крупные порошки, полученные в условиях интенсивного измельчения и состоящие из мелких кристаллитов размером, подобным указанным выше.
Последующие операции порошковой технологии — прессование, спекание, горячее прессование и т. п. — призваны обеспечить получение образца (изделия) заданных форм и размеров с соответствующей структурой и свойствами. Совокупность этих операций часто называют, по предложению М.Ю. Бальшина, консолидацией. Применительно к наноматериалам консолидация должна обеспечить, с одной стороны, практически полное уплотнение (т.е. отсутствие в структуре макро- и микропор), а с другой стороны, сохранить наноструктуру, связанную с исходными размерами ультрадисперсного порошка (т. е. размер зерен в спеченных материалах должен быть как можно меньше и во всяком случае менее 100 нм).
Методы получения порошков для изготовления наноматериалов весьма разнообразны; их условно можно разделить на химические и физические, основные, из которых с указанием наиболее характерных ультрадисперсных порошков, приведены в Таблице 1.
Таблица 1. Основные методы получения порошков для изготовления наноматериалов
|
Метод |
Вариант метода |
Материалы |
|
Физические методы |
||
|
Испарение и конденсация |
В вакууме или в инертном газе |
Zn, Cu, Ni, Al, Be, Sn, Pb, Mg, Ag, Cr, MgO, Al>2>O>3>, Y>2>O>3>, ZrO>2>, SiC |
|
В реакционном газе |
TiN, AlN, ZrN, NbN, ZrO>3>, Al>2>O>3>, TiO>2>. |
|
|
Высокоэнергетическое разрушение |
Измельчение |
Fe-Cr, Be, Al>2>O>3>, TiC, Si>3>N>4>, NiAl, TiAl, AlN |
|
Детонационная обработка |
BN, SiN, TiC, Fe, алмаз |
|
|
Электрический взрыв |
Al, Cd, Al>2>O>3>, TiO>2>. |
|
|
Химические методы |
||
|
Синтез |
Плазмохимический |
TiC, TiN, Ti(C,N), VN, AlN, SiC, Si>3>N>4>, BN, W |
|
Лазерный |
Si>3>N>4>, SiC, Si>3>N>4>-SiC |
|
|
Термический |
Fe, Cu, Ni, Mo, W, BN, TiC, WC-Co |
|
|
Самораспространяю-щийся высокотемпературный |
SiC, MoSi>2>, Aln, TaC |
|
|
Механохимический |
TiC, TiN, NiAl, TiB>2>, Fe-Cu, W-Cu |
|
|
Электрохимический |
WC, CeO>2>, ZrO>2>, WB>4> |
|
|
Растворный |
Mo>2>C, BN, TiB>2>, SiC |
|
|
Криохимический |
Ag, Pb, Mg, Cd |
|
|
Термическое разложение |
Конденсированные прекурсоры |
Fe, Ni, Co, SiC, Si>3>N>4>, BN, AlN, ZrO>2>, NbN |
|
Газообразные прекурсоры |
ZrB>2>, TiB>2>, BN |
Рассмотрим некоторые из методов получения ультрадисперсных порошков.
Конденсационный метод. Этот метод известен давно и в теоретическом плане изучен в наибольшей степени. Различают гомогенное и гетерогенное зарождение зародышей (кластеров).
В первом случае зародыш возникает флуктуационно, причем изменяя пересыщение системы (увеличивая или снижая давление пара, варьируя температуру процесса), можно регулировать значение радиуса критического зародыша и добиваться нужного размера частиц получаемых порошков. Проводя испарение в нейтральных средах и вводя в пространство испарения посторонние поверхности, можно провоцировать гетерогенное зародышеобразование для которого высота потенциального барьера образования критического зародыша гораздо ниже по сравнению с объемной гомогенной конденсацией. Таким образом, существуют, по крайней мере, два необходимых и достаточных условия получения ультрадисперсных порошков конденсационным методами — большое пересыщение и присутствие в конденсируемом паре молекул нейтрального газа.
Лабораторная установка для получения металлических ультрадисперсных порошков была разработана в Институте химической физики Академии наук СССР в 1960-е гг. [ 5]. Капля расплавленного металла, висящая в индукционном поле, обдувается потоком высокочистого аргона, выносящего сконденсировавшиеся наночастицы в специальный порошковый сборник, разгрузка которого осуществляется в контролируемой безокислительной атмосфере. Последующее хранение порошков и соответствующие технологические операции проводятся также в аргоне.
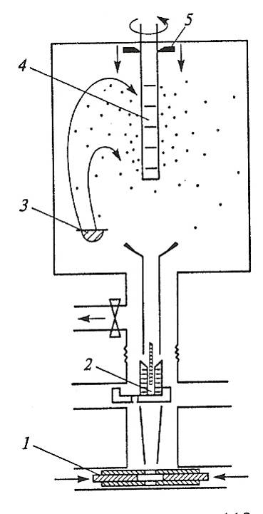
Конденсационный метод был использован в установке Глейтера (Рисунок 1), в которой получение ультрадисперсного порошка в атмосфере разреженного инертного газа совмещается с вакуумным прессованием. Конденсируемые на поверхности охлаждаемого вращающегося цилиндра наночастицы снимаются специальным скребком и собираются в пресс-форме 2 предварительного прессования (давление до 1 ГПа), а затем в специальной пресс-форме 1 проводится компактирование при более высоких (до 3— 5 ГПа) давлениях. Производительность установки Глейтера невелика, она лимитируется преимущественно невысокими скоростями испарения

Рисунок 1. Схема установки Глейтера: 1 - узел компактирования при высоком давлении; 2 - узел предварительного прессования; 3 - испаритель; 4 - вращающийся коллектор, охлаждаемый жидким азотом; 5 - скребок
Конденсационные методы, в принципе, обеспечивают изготовление ультрадисперсных порошков с размером частиц до нескольких нанометров, но длительность процесса получения таких объектов (и соответственно стоимость) довольно велика. По желанию потребителей на поверхность порошка можно нанести тонкие полимерные пленки, предотвращающие агломерацию и коррозионное воздействие.
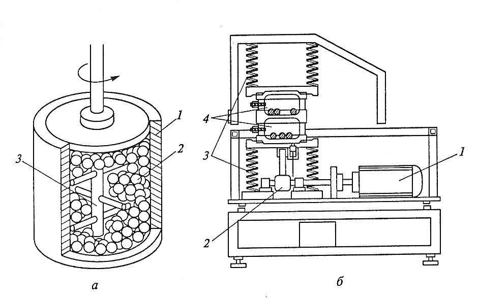
Высокоэнергетическое измельчение. Механохимический синтез. Измельчение – это типичный пример технологий типа «сверху – вниз». Измельчение в мельницах, дезинтеграторах, аттриторах и других диспергирующих установках происходит за счет раздавливания, раскалывания, разрезания, истирания, распиливания, удара или в результате комбинации этих действий. На Рисунок 2 показаны схема аттритора, в котором за счет вращения измельчаемой шихты и шаров совмещаются ударное и истирающее воздействия, и схема вибрационной мельницы, конструкция которой обеспечивает высокую скорость движения шаров и частоту ударов. Для провоцирования разрушения измельчение часто проводится в условиях низких температур. На эффективность измельчения оказывает влияние соотношение массы шаров и измельчаемой смеси, которое обычно поддерживается в интервале от 5:1 до 40:1.

Рисунок 2 Схема установок для измельчения:
а — аттритор (1 — корпус, 2 — шары, 3 — вращающаяся крыльчатка); б — вибрационная мельница (1 — двигатель, 2 — вибратор, 3 — пружины, 4 — барабаны с шарами и измельчаемой шихтой)
Обеспечивая, в принципе, приемлемую производительность, измельчение, однако, не приводит к получению очень тонких порошков, поскольку существует некоторый предел измельчения, отвечающий достижению своеобразного равновесия между процессом разрушения частиц и их агломерацией. Даже при измельчении хрупких материалов размер получаемых частиц обычно не ниже примерно 100 нм; частицы состоят из кристаллитов размером не менее 10—20 нм. Следует считаться и с тем, что в процессе измельчения практически всегда происходит загрязнение продукта материалом шаров и футеровки, а также кислородом.
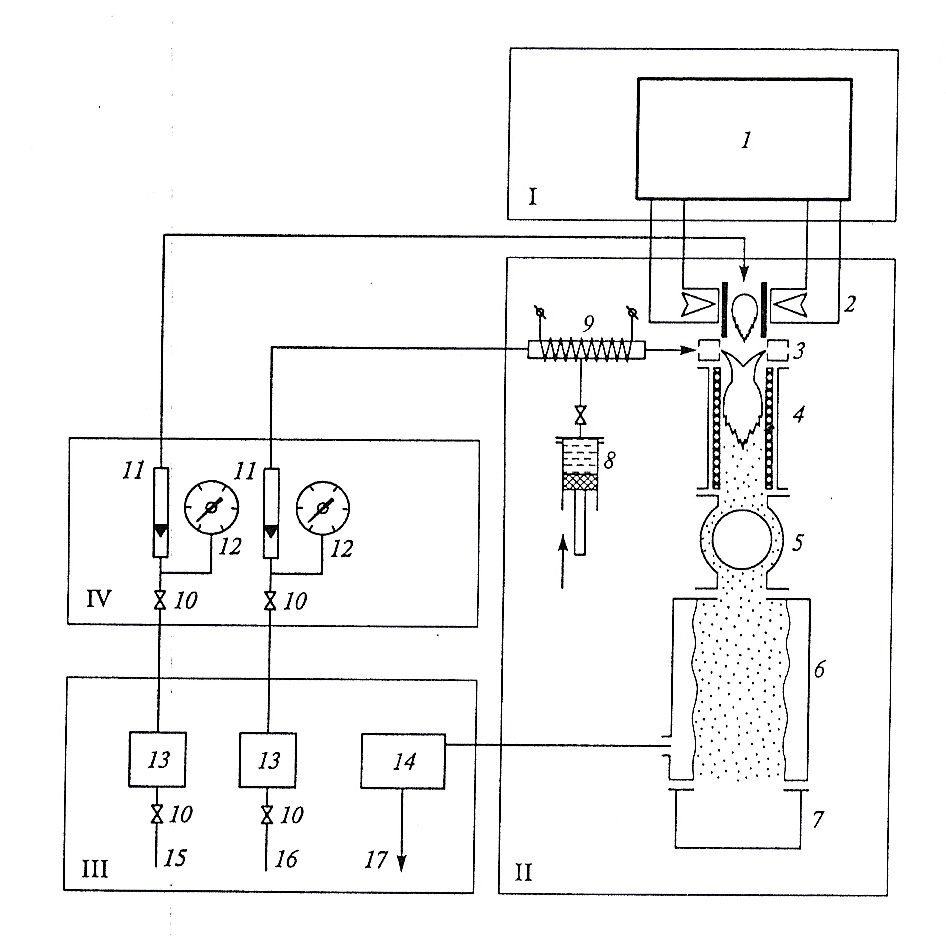
Плазмохимический синтез [ 6]. Синтез в низкотемпературной плазме осуществляют при высоких температурах (до 6000-8000 К), что обеспечивает высокий уровень пересыщения, большие скорости реакций и конденсационных процессов. Используются как дуговые плазмотроны, так и высоко- и сверхвысокочастотные (СВЧ) генераторы плазмы. Дуговые аппараты более производительны и доступны, однако СВЧ-установки обеспечивают получение более тонких и более чистых порошков. Схема такой установки приведена на Рисунок 3. В качестве исходных продуктов для плазмохимического синтеза используются хлориды металлов, металлические порошки, кремний и металлоорганические соединения.

Рисунок 3 Схема СВЧ-установки плазмохимического синтеза [6]:
I – силовое оборудование (1 - микроволыовый генератор); II – основное технологическое оборудование (2 - плазмотрон, 3 - устройство ввода реагентов, 4 - реактор, 5 - теплообменник, 6 - фильтр, 7 - сборник порошка, 8 - дозатор реагентов, 9 - испаритель); III, IV – соответственно вспомогательное технологическое оборудование и блок управления (10 - вентили, 11 - ротаметры, 12 - манометры, 13 – система очистки газов, 14 - скруббер, 15 – ввод плазмообразующего газа, 16 - ввод газа-носителя, 17 - вывод газов)
В силу особенностей плазмохимического синтеза (неизотермичность процесса, возможность коагуляции частиц и др.) распределение получаемых частиц по размерам в большинстве случаев достаточно широкое.
Синтез в условиях ультразвукового воздействия [7]. Этот метод известен как сонохимический синтез, в основе которого лежит эффект кавитации микроскопических пузырьков. При кавитации в малом объеме развиваются аномально высокое давление (до 50 - 100 МН/м2) и высокая температура (до 3000 К и выше), а также достигаются огромные скорости нагрева и охлаждения (до 1010 К/с). В условиях кавитации пузырек становится как бы нанореактором. С использованием экстремалъных условий внутри кавитационных пузырьков получено много нанокристаллических (аморфных) металлов, сплавов и тугоплавких соедине ний (например, наночастицы Fe, Ni и Со и их сплавов из карбонилов, коллоиды золота и меди, нанооксид Zr и др.).
Электрический взрыв проволочек [8]. Уже давно было замечено, что при пропускании через относительно тонкие проволочки импульсов тока плотностью 104-106 А/мм2 происходит взрывное испарение металла с конденсацией его паров в виде частиц различной дисперености. В зависимости от окружающей среды может происходить образование металлических частиц (инертные среды) или оксидных (нитридных) порошков (окислительные или азотные среды). Требуемый размер частиц и производительность процесса регулируются параметрами разрядного контура и диаметром используемой проволоки. Форма наночастиц преимущественно сферическая, распределение частиц по размерам нормально-логарифмическое, но достаточно широкое. Для наночастиц размером 50-100 нм таких металлов, как Аl, Сu, Fе и Ni, производительность установки составляет 50-200 г/ч при энергозатратах до 25-50 кВтч/кг. Нанопорошки оксидов (Аl>2>O>3>, TiO>2>, ZrO>2>, MgAl2O>4> и др.) также могут быть изготовлены, причем после седиментационной обработки размер частиц может быть весьма малым (20-30 нм).
Рассмотренные выше в общем виде некоторые из методов получения нанопорошков, конечно, нуждаются в детализации. Выбор оптимального метода должен основываться на требованиях, предъявляемых к нанопорошку и наноматериалу, с учетом экономических и экологических соображений.
Методы консолидации. Практически все известные в порошковой технологии методы: прессование и спекание, различные варианты горячего прессования, горячее экструдирование и т.д. – применимы и к ультрадисперсным порошкам. В установках типа изображенной на Рисунок 1, несмотря на использование довольно высоких давлений прессования (до 2-5 ГПа) даже в вакуумных условиях и при небольшой высоте образцов (до 1мм), удается получить образцы пористостью не менее 10-15%. Для ультрадисперсных порошков характерна низкая уплотняемость при прессовании в силу значительного влияния характеристик трения между частицами. В технологии прессования нанопорошков при комнатных температурах эффективно применение ультразвуковых колебаний, которые уменьшают упругое последействие после снятия нагрузки при прессовании и несколько повышают относительную плотность спрессованных изделий, расширяя возможности их изготовления в виде втулок и других форм [9].
Для устранения остаточной пористости необходима термическая обработка спрессованных образцов – спекание. Однако применительно к изготовлению наноматериалов обычные режимы спекания порошковых объектов не позволяют сохранить исходную наноструктуру. Процессы роста зерен (рекристаллизадия) и уплотнения при спекании (усадка), являясь диффузионно-контролируемыми, идут параллельно, накладываясь друг на друга, и совместить высокую скорость уплотнения с предотвращением рекристаллизации нелегко.
Таким образом, использование высокоэнергетических методов консолидации, предполагающих применение высоких статических и динамических давлений и умеренных температур, позволяет в известной степени задержать рост зерен.
Обычные режимы прессования и спекання ультрадисперсных порошков могут использоваться для получения наноструктурных пористых полуфабрикатов, подвергаемых затем для полной консолидации операциям обработки давлением. Так, медные порошки, полученные конденсационным методом, с размером частиц 35 нм с оксидной (Сu>2>O>3>) пленкой толщиной 3,5 нм после прессования при давлении 400 МПа и неизотермического спекания в водороде до 230 ºС (скорость нагрева 0,5 ºС/мин) приобретали относительную плотность 90% с размером зерна 50 нм [10]. Последующая гидростатическая экструзия приводила к получению беспористых макрообразцов, обладающих высокой прочностью и пластичностью (предел текучести при сжатии 605 МПа, относительное удлинение 18 %).
Задержать рост зерен при обычном спекании можно, используя специальные неизотермические режимы нагрева. В этом случае удается за счет конкуренции механизмов усадки и роста зерен оптимизировать процессы уплотнения, исключив в значительной степени рекристаллизационные явления [11]. Электроразрядное спекание, осуществляемое пропусканием тока через спекаемый образец, и горячая обработка давлением порошковых объектов (например, ковка или экструзия) могут также способствовать торможению рекристаллизации и использоваться для получения наноматериалов. Спекание керамических наноматериалов в условиях микроволнового нагрева, приводящего к равномерному распределению температуры по сечению образцов, также способствует сохранению наноструктуры. Однако размер кристаллитов в перечисленных вариантах консолидации обычно на уровне верхнего предела размера зерен наноструктуры, т.е. обычно не ниже 50—100 нм.
2.2.2 Интенсивная пластическая деформация
Формирование нано структуры массивньтх металлических образцов может быть осуществлено методом интенсивной деформации. За счет больших деформаций, достигаемых кручением при квазигидростатическом высоком давлении, равноканальным угловым прессованием и использованием других способов, образуется фрагментированная и разориентированная структура.
На Рисунок 4 показаны две схемы интенсивной пластической деформации – кручение под высоким давлением и равноканальное угловое прессование. В случае схемы a дискообразный образец помещают в матрицу и сжимают вращающимся пуансоном. В физике и технике высоких давлений эта схема развивает известные идеи наковален Бриджмена. Квазигидростатическая деформация при высоких давлениях и деформация сдвигом приводят к формировани неравновесных наноструктур с большеугловыми межзеренными границами. В случае схемы б, принципиальные основы которой были разработаны В. М. Сегалом (Минск), образец деформируется по схеме простого сдвига и существует возможность повторного деформирования с использованием различных маршрутов. В начале 1990-х гг. Р. З. Валиев с соавт. [12] использовали обе схемы для получения наноматериалов, детально исследовав закономерности получения в связи с особенностями структуры и свойств.

Рисунок 4 Схемы интенсивной пластической деформации:
а – кручение под высоким давлением; б – равноканальное угловое прессование
При кручении под высоким давлением степень деформации обычно регулируется числом оборотов. Так, для меди, подвергну той 2, 3 и 4 оборотам, средний размер зерен составил (162 ± 19) нм, (149 ± 12) нм и (85 ± 8) нм соответственно. При проведении деформирования кручением и равноканальным угловым прессованием размер зерен наноматериалов составляет около 100 нм. Достоинство метода интенсивной пластической деформации состоит в возможности получения беспористых наноматериалов, причем последние могут быть довольно значительных размеров, имея в виду возможности равноканального углового прессования.
2.2.3 Контролируемая кристаллизация из аморфного состояния
Как известно, многие из элементов, металлических сплавов и соединений (например, Si, Se, сплавы Fe, Ni, Al, Zr и др.) могут находиться в аморфном состоянии, т.е. характеризуются только ближним порядком при отсутствии дальнего порядка в расположении атомов.
Методы получения аморфных материалов весьма разнообразны и хорошо разработаны в разных вариантах: конденсация из газовой фазы, закалка из жидкого состояния, ионная имплантация, высокоэнергетическое измельчение и др. Если аморфные материалы подвергать контролируемому рекристаллизационному отжигу, управляя процессами зарождения и роста кристаллитов, то можно получить наноматериалы с кристаллитами небольшого размера (около 10-20 нм и менее) и практически беспористые.
Следует также иметь в виду, что в зависимости от условий закалки из жидкого состояния можно выделить три типа наноструктур [13]:
1) полная кристаллизация непосредственно в процессе закалки из расплава и образование одно- или многофазной как обычной поликристаллической структуры, так и наноструктуры;
2) кристаллизация в процессе закалки из расплава протекает не полностью и образуется аморфно-кристаллическая структура;
3) закалка из расплава приводит к образованию аморфного состояния, которое трансформируется в наноструктуру только при последующей термической обработке.
Для переработки аморфньих порошков, получаемых, например, газовым распылением жидких расплавов, используют приемы горячей обработки давлением, как это было продемонстрировано японскими исследователями [14] на примере объемных заготовок высокопрочного сплава Al – Y – Ni – Co.
2.2.4 Технология пленок и покрытий
Эти методы весьма универсальны в отношении состава наноматериалов, которые могут быть изготовлены практически в беспористом состоянии в широком диапазоне размеров зерен, начиная от 1-2 нм и более. Единственное ограничение – это толщина пленок и покрытий – от нескольких долей микрона до сотен микрон. Используются как физические методы осаждения, так и химические методы, а так же электроосаждение и некоторые другие приемы. Разделение методов осажаения на физические и химические условно, поскольку, например, многие физические приемы включают химические реакции, а химические методы стимулируются физическими воздействиями.
В Таблица 2 приведены основные методы получения наноструктурных пленок на основе тугоплавких соединений (карбидов, нитридов, боридов) [15]. Возбуждение дугового разряда в азотной или углеродсодержащей атмосфере – один из наиболее распространенных вариантов технологии ионного осаждения; в качестве источника ионов металлов используют металлические катоды. Электродуговое испарение весьма производительно, но сопровождается образованием металлической капельной фазы, освобождение от которой требует специальных конструктивных мер. Этого недостатка лишен магнетронный вариант ионно-плазменного осаждения, в котором мишень (катод) распыляется за счет бомбардировки ионами плазмы газового разряда низкого давления, которая формируется между катодом и анодом. Поперечное постоянное магнитное поле локализует плазму у распыляемой поверхности мишени и повышает эффективность распыления.
Таблица 2 Основные методы получения наноструктурвых пленок на основе тугоплавких соединений
|
Метод |
Вариант метода |
Соединение |
|
Физические методы |
||
|
Термическое испарение |
Активированное реактивное испарение |
Нитриды и карбиды |
|
Электронно-лучевой нагрев |
Бориды и карбиды |
|
|
Лазерная обработка |
Нитриды и карбиды |
|
|
Ионное осаждение |
Ионно-дуговое распыление |
Нитриды и карбиды |
|
Магнетронное распыление |
Нитриды, карбиды, бориды |
|
|
Ионно-лучевая обработка; имплантация |
Нитриды и бориды |
|
|
Химические методы |
||
|
Осаждение из газовой фазы |
Плазмосопровождаемые и плазмоактивируемые СDV-процессы |
Нитриды, карбиды, бориды |
|
Электронный циклотронный резонанс |
То же |
|
|
Термическое разложение |
Газообразные и конденсированные прекурсоры |
Нитриды и бориды |
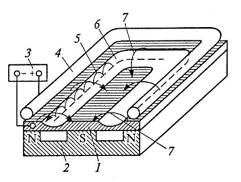
На Рисунок 5 показана схема магнетронного распыления с мишенью прямоугольной формы, на поверхности которой в районе выхода и входа магнитных силовых линий возникает «дорожка распыления». Напыляемые подложки (на схеме не показаны) расположены над мишенью и для достижения равномерности пленок по составу и структуре подвергаются вращению.
Магнетронное напыление весьма универсально, его можно применять не только для металлических, но и для неметаллических мишеней (и, следовательно, для получения соответствующих пленок). При магнетронном напылении температуры подложек невелики (менее 100-200 °С), что расширяет возможности полученяя наноструктурных пленок с небольшим размером зерен и аморфных пленок. Однако скорости напыления в несколько раз ниже, чем в случае дуговых методов.

Рисунок 5 Схема установки магнетронного распыления
1 – катод-мишень; 2 – постоянный магнит; 3 – источник питания; 4 – анод; 5 – траектории движения электронов; 6 – зона (дорожка) распыления; 7 – силовые линии напряженности магнитного поля
При ионно-лучевой обработке выбивание атомов мишени происходит за счет бомбардировки ее поверхности ионными пучками. На рисунке 6 приведена схема установки бинарного ионно-стимулированного осаждения нитридных пленок. Металлические ионы образуются при бомбардировке метталической мишени ионами инерных газов или азота из источника 3, а источник 2 используется для бомбардировки непосредственно пленки (в случае ионов азота пленки синтезируемых нитридов могут быть сверхстехиометричными).
Рисунок 6 Схема установки бинарного ионно-стимулированного осаждения нитридных пленок [15]:
1 – мишень (Ti, Zr, Hf); 2 – источник ионов аргона, ксенона, неона или азота для подложки; 3 – источник тех же ионов для мишени; 4 – подложка; 5 – механизм вращения; 6 – фиксатор координат; 7 – счетчик плотности тока; 8 – счетчик скорости осаждения
Применительно к некоторым металлам и сплавам (Ni, Cu, Ni-P, Ni-Mo, Ni-W и др.) для получения наноматериалов оказался весьма эффективным метод импульсного электроосаждения, когда реализуется высокая скорость зарождения кристаллитов и за счет адсорбционно-десорбционных ингибирующих процессов обеспечивается их низкая скорость роста.
Получает распространение метод газотермического напыления наноструктурньтх покрытий [16]. В качестве сырья используются различные оксидные (Al>2>O>3>-TiO>2>, Al>2>O>3>-ZrO>2>, Cr>2>O>3>-TiO>2>, ZrO>2>-Y>2>O>3> и др.) и карбидные (WC-Co, Cr>3>C>2>-Ni и др.) композиционные нанопорошки. Схема установки для газотермического напыления твердосплавных порошков с использованием кислород-углеводородных газовых смесей показана на Рисунок 7. Перед напылением исходные порошки обрабатывают в высокоэнергетических измельчающих агрегатах, а затем для улучшения сыпучести подвергают агломерации (смешиванию с пластификатором и обкатке). В результате получают округлые частиц размером 10—50 мкм. Последняя операция обеспечивает достаточную скорость поступления агломерированных сфероидов в плазменную струю. Хотя температура последней достаточно высокая (примерно 3000 К и выше), но высокие скорости газового потока (около 2000 м/с) приводят к кратковременному пребыванию наноструктурных частиц в высокотемпературном интервале. Размер нанокристаллитов обычно увеличивается от 30-40 нм до 200 нм, но показатели твердости и износостойкости таких покрытий превосходят таковые для обычных покрытий в 1,3-2 раза.

Рисунок 7 Схема установки газотермического напылсния:
1 – ввод газовых смесей; 2 – смеситель; 3 – система охлаждения; 4 – плазменный ствол; 5 – покрытие; 6 – подложка; 7 – ввод порошка
Ионно-плазменная обработка поверхности, включая имплантацию, используется применительно к самым различным материалам (металлам, сплавам, полупроводникам, полимерам и др.) для создания поверхностных сегрегаций и нанорельефа, что полезно для многих практических приложений.
2.3 Технология полимерных, пористых, трубчатых и биологических наноматериалов
Анализ множества вариантов синтеза наноматериалов типа полимер-неорганических и полимер-органических композитов, нанобиоматериалов, катализаторов, супрамолекулярньтх, нанопористых и трубчатых структур выходит за рамки нашего рассмотрения. Ограничимся лишь краткой их характеристикой.
2.3.1 Гибридные и супрамолекулярные материалы
Безусловный интерес представляют нанокомпозиты, получаемые на стадии полимеризации, когда в полимеризующихся матрицах генерируются одновременно металлические или оксидные наночастицы, образующиеся при разложении металлоорганических соединений, вводимых в полимерные прекурсоры (например, нанокомпозиты на основе метилметакрилата и металлических наночастиц).
Многослойные полимер-неорганические нанокомпозиты изготавливают на основе так называемых пленок Ленгмюра-Блоджеп. На Рисунок 2 показана схема наслаивания слоев полимера поли(4-стиролсульфоната натрия) (ПСС) и наночастиц Тi0 сред него размера 4 нм, получаемых гидролизом тетрахлорида титана. Число таких бислоев, определяющих различные оптические, проводящие, магнитные и другие свойства, может составлять несколько десятков.

Рисунок 8 Схема получения многослойных пленок TiO>2>/ПСС [17]
Специалисты по генной инженерии разработали методы расщепления и сшивания нитей ДНК «липкими» комплементарными концами, а также приемы «подвешивания» нанопроволочек к «липким концам». Слипание ДНК таким образом может приводить к соединению нанопроволочек. Участки ДНК в таких структурах обычно имеют длину 2-3 витков двойной спирали (примерно 7-10 нм) [18]. Такая алгоритмическая сборка представляется весьма перспективным направлением в создании новых наноматериалов, структура и свойства которых могут программироваться в одном, двух или трех измерениях. Закономерности ДНК-нанотехнологии исследуют весьма интенсивно, поскольку высокая степень «межмолекулярного распознавания» позволяет надеяться на создание путем самосборки разнообразных структур, функциональные свойства которых могут быть предсказаны.
Супрамолекулярный синтез предполагает сборку молекулярных компонентов, направляемую межмолекулярными нековалентными силами. Супрамолекулярная самосборка представляет спонтанное соединение нескольких компонентов (рецепторов и субстратов), в результате чего на основе так называемого «молекулярного распознавания» происходит самопроизвольное образование новых структур (например, изолированных олигомерных сверхмолекул или крупных полимерных агрегатов). Такие органические соединения, как ротаксаны, в которых кольцевая молекула надета на ось с «заглушками», и катенаны, в которых кольцевые молекулы продеты одна в другую, были получены на основе спонтанного нанизывания донорно-акцепторных партнеров, а также за счет вспомогательного образования водородных связей.
На основе металлоорганических строительных блоков путем самосборки могут быть также получены разнообразные неорганические архитектуры (например, цепи сурьмы и теллура, различные каркасы металлов, сплавов и соединений и т.д.). Объекты супрамолекулярной инженерии становятся все более разнообразными.
2.3.2 Нанопористые материалы (молекулярные сита)
Это цеолитные и цеолитоподобные, а также углеродные и полимерные наноструктуры с пространственно-регулярной системой каналов и полостей, которые предназначены как для диффузионного раз деления газовых смесей, так и для размещения и стабилизации наночастиц функционального назначения (подложки для катализа, эмиттеры, датчики и др.). Технологические приемы получения нанопористых материалов весьма разнообразны: гидротермальный синтез, золь-гель-процессы, электрохимические методы, обработка хлором карбидных материалов и др. Различные сотовые структуры создаются комбинацией приемов стандартной литографии (нанесение рисунка будущей решетки), щелочного травления, анодного растворения, окисления-восстановления и т. д.
При обработке полимеров, диэлектриков и полупроводников высокоэнергетическими ионами образуются так называемые ионные треки нанометрового размера, которые могут быть использованы для создания нанофильтров, наношаблонов и т.д. [19].
Применительно к нанокомпозитным молекулярным ситам цеолитного типа различают, по крайней мере, два метода получения таких матричных структур: кристаллизация пористого материала из геля, где присутствуют наночастицьи будущего композита, и синтез наночастиц in siti из прекурсоров, предварительно введенных в цеолиты.
2.3.3 Трубчатые материалы
При изучении осадков, образующихся при испарении графита в условиях дугового разряда, было обнаружено, что полосы атомных сеток графита (графенов) могут свертываться в бесшовные трубки. Внутренний диаметр трубок колеблется от долей нанометра до нескольких нанометров, а их длина – в интервале 5-50 мкм.

Рисунок 9 Схема установки для получения фуллеренов и углеродных нанотрубок [20]:
1 - графитовый анод; 2 - графитовый катод; 3 - токовводы; 4 - изолятор; 5 - держатели; 6 - охлаждаемый реактор; 7 - медный жгут; 8 - электродвигатель; 9 - вакуумметр; 10 - фильтр; 11-13 - вакуумные и газовые подводы
На Рисунок 9 показана схема лабораторной установки для получения углеродных нанотрубок. Графитовый электрод 1 распыляется в гелиевой плазме дугового разряда; продукты распыления в виде трубок, фуллеренов, копоти и т.п. осаждаются на поверхности катода 2, а также на боковых стенках охлаждаемого реактора. Наибольший выход трубок наблюдается при давлении гелия около 500-600 кПа; параметры дугового режима, геометрические размеры электродов, длительность процесса, размеры реакционного пространства так же оказывают значительное влияние. После синтеза концы трубок обычно закрыты своеобразными «шапочками» (полусферическими или коническими). Важным элементом технологии нанотрубок является их очистка и раскрытие концов, что выполняется различными методами (окисление, обработка кислотами, обработка ультразвуком и т.д.).
Для получения нанотрубок используют также лазерное распыление графита и пиролиз углеводородов с участием катализаторов (металлы группы железа и др.). Последний метод считается одним из самых перспективных в плане повышения производительности и расширения структурного разнообразия трубок.
Заполнение внутренних полостей нанотрубок различными металлами и соединениями может осуществляться либо в процессе синтеза, либо после очистки. В первом случае добавки могут вводиться в графитовый электрод; второй метод более универсален и может реализовываться многими приемами («направленное» заполнение из расплавов, растворов, из газовой фазы и др.).
Вскоре после открытия углеродньтх нанотрубок было обнаружено, что свойством сворачивания обладает не только графит, но и многие другие соединения – нитриды и карбиды бора, халькогениды, оксиды, галогениды и различные тройные соединения. В последнее время были получены и металлические трубки (Аu). Самоформирующиеся трехмерные наноструктуры типа нанотрубок на основе полупроводников и других веществ могут быть получены в результате самосворачивания тонких слоев в трубки-свитки [21]. В данном случае используется различие в остаточных напряжениях, возникающих в эпитаксиальном слое (растягивающие напряжения) и в подложке (сжимающие напряжения).
2.3.4 Полимерные материалы
С помощью нанопечатной литографии удается изготавливать полимерные шаблоны (темплаты) с отверстиями диаметром 10 нм и глубиной 60 нм. Отверстия образуют квадратную решетку с шагом 40 нм и предназначены для размещения нанообъектов типа углеродных нанотрубок, катализаторов и т.д. Такие шаблоны создаются путем деформации специальными штампами с последующим реактивным ионным вытравливанием полимерных остатков из отверстий.
Описаны также приемы литографически индуцированной самосборки наноструктур. В этом случае решетка формируется за счет образующейся матрицы столбов, растущих из полимерного расплава, находящегося на кремниевой поддожке. Отмечается, что этот процесс может быть применен и к другим материалам (полупроводникам, металлам и биоматериалам), что важно для создания запоминающих устройств различных типов [22].
3. ОБЩАЯ ХАРАКТЕРИСТИКА ПРИМЕНЕНИЯ НАНОМАТЕРИАЛОВ
Различные отрасли промышленности и сферы человеческой деятельности являются потребителями наноматериалов.
В промышленности уже давно эффективно используются полировальные пасты и противоизносные препараты на основе наночастиц. Последние (например, на основе бронзы) вводят в зоны трения машин и различных механизмов, что значительно повышает ресурс их работы и улучшает многие технико-экономические показатели (например, снижается в 3-6 раз содержание СО в выхлопных газах). На поверхности пар трения в процессе эксплуатации формируется противоизносный слой, образующийся при взаимодействии продуктов износа и вводимых в смазку наночастиц. Препараты типа РиМЕТ в промышленном масштабе производятся в России научно-производственным предприятием «Высокодисперсные металлические порошки» (Екатеринбург) [23].
Добавки частиц и волокон в полимерные матрицы – хорошо известный прием повышения физико-механических свойств полимеров, а также их огнестойкости. Замена многих металлических материалов на полимеры, армированные наночастицами, приводит в автомобилестроении к уменьшению массы автомобиля, снижению потребления бензина и вредных выбросов [22].
Пористые наноструктуры используются для диффузионного разделения газовых смесей (например, изотопов и других сложных газов, отличающихся молекулярной массой). Размер пор («окон в обычных цеолитах изменяется в интервале 0,4-1,5 нм и зависит от числа атомов кисло рода в циклическях структурах, образующих цеолит. Следует иметь в виду, что поверхность многих пористых наноструктур сама по себе обладает каталитическями свойствами. Высокая селективность в различных процессах разделения возрастает за счет каталитических явлений, что, например, используется при изомеризации органических соединений типа ксилолов.
Значительное внимание уделяется также изучению каталитических, сорбируюших и фильтрующих свойств углеродных нанонтрубок. Отмечены, например, их высокие сорбирующие характеристики применительно к очистке отходящих газов от трудноразрушаемых канцерогенных диоксинов [24]. Заманчивы также перспективы использования фуллеренов и углеродных нанотрубок для водородсорбирующих целей [25]. Кроме этого, в связи с размерными особенностями (большое отношение длины к диаметру и малые размеры), возможностью изменения проводимости в широких пределах и химической устойчивостью углеродные нанотрубки рассматриваются как принципиально новый материал для электронных приборов нового поколения, в том числе и ультраминиатюрных [26, 27].
Для наноструктурных объектов характерны необычные оптические свойства, что используется в декоративных целях. Поверхность куполов московского храма Христа Спасителя состоит из титановых пластин, покрытых нитридом титана [28]. В зависимости от отклонений от стехиометрии и наличия примесей углерода и кислорода цвет пленок ТiN>x> может изменяться от серого до синего, что используют при нанесении покрытий на посуду.
Устройства для записи информации (головки, носители, диски и т.д.) – важная область применения магнитных наноматериалов. Легкость воспроизведения, устойчивость при хранении, высокая плотность записи, невысокая стоимость – вот лишь некоторые из предъявляемых требований к этим системам. Гигантский магниторезестивный эффект, проявляющийся в многослойных магнитно/немагнитных пленках, оказался очень полезным для эффективной записи информации. Этот эффект используется при регистрации очень слабых магнитных полей в считывающих головках дисководов магнитных дисков, что позволило значительно повысить плотность записи информации и увеличить скорость считывания [29]. В течение 10 лет после открытия этого эффекта фирма IВМ довела в 1998 г. выпуск жестких магнитных дисков ЭВМ с головками, основанными на этом явлении, до 34 млрд. долл. (в стоимостном выражении), практически вытеснив старые технологии [30]. Плотность хранения информации ежегодно удваивается.
Задача увеличения продолжительности и качества жизни мотивирует интенсивные разработки в области биоматериалов вообще и нанобиоматериалов в частности [31]. Основные области применения наноматериалов в медидине, биологии и сельском хозяйстве весьма разнообразны:
хирургический и стоматологический инструментарий;
диагностика, наномоторы и наносенсоры;
фармакология, лекарственные препараты и методы их доставки;
искусственные органы и ткани;
стимулирующие добавки, удобрения и т.д.;
защита от биологического и радиологического оружия.
ЗАКЛЮЧЕНИЕ
Мир стоит на пороге новой промышленной революции, которая связана, прежде всего, с развитием нанотехнологий. По оценке ведущих экспертов, она сравнима по масштабам своего воздействия на общество с революцией, которая была вызвана изобретением в XX веке транзистора, антибиотиков и информационных технологий, вместе взятых [32]. Сегодня объем мирового рынка нанотехнологической продукции измеряется в миллиардах долларов (пока этот рынок составляют главным образом новые материалы и порошки, улучшающие свойства материалов), а к 2015 году, по прогнозам западных специалистов, он превысит $1 трлн [33]. В недалеком будущем экономическое, военное, социальное и политическое положение развитых стран будет определяться уровнем развития национальной наноиндустрии.
По словам директора Института нанотехнологий (учрежден Международным фондом конверсии) Михаила Ананяна [33], нанотехнологии не будут развиваться также эволюционно, как, например, электроника: сначала радиоприемник, потом телевизор, потом компьютер. Сейчас активно идет моделирование различных наноприборов, приспособлений и т. д. И как только будет создана технология, произойдет резкий скачок – просто появится новая цивилизация, резко снизится материало- и энергоемкость, возникнет гораздо более эффективная экономика.
Но не все так просто, ведь, как я уже упоминала, реализация нанотехнической революции требует усилий не только и не столько со стороны ученых (разработки идут полным ходом), требуется усилия со стороны государственной власти – ни один другой инвестор не потянет такой «крупномасштабный проект». Следует на законодательном уровне принципиально изменить сам подход к формированию национальной программы развития нанотехнологий. Тем более, что наша страна располагает немалым опытом реализации крупномасштабных проектов.
Вспомним, что в нашей истории были три проекта, которые повлекли за собой качественные изменения практически во всех отраслях промышленности. Я имею в виду ГОЭЛРО, атомный проект, освоение космоса. Развитие нанотехнологий относится к проектам именно такого, общегосударственного уровня, поскольку их применение повлечет за собой качественные изменения во всех, без исключения, отраслях экономики. В декабре Правительство приняло решение о формировании национальной программы развития нанотехнологий, недавно Президент России в своем ежегодном послании Федеральному Собранию обозначил, что Россия должна стать лидером в области нанотехнологий. Остается только надеяться, что это начинание (лучше поздно, чем никогда, - Россия остается единственной страной, называющей себя развитой, которая не имеет своей программы в этой области) выльется в реальный, дествующий проект и не превратится в очередную кампанейщину.
СПИСОК ЛИТЕРАТУРЫ
Нанотехнология для всех/ Рыбалкина М. – М., 2005. – 434 с.
Введение в нанотехнологию/ Кобаяси Н. – Пер. с японского – М.: БИНОМ. Лаборатория знаний, 2007. – 134 с.:ил.
Введение в нанотехнологию/ Меньшутина Н.В. – Калуга: Издательство научной литературы Бочкаревой Н.Ф., 2006. – 132 с.
Порошковое материаловедение/ Андриевский Р.А. – М.: Металлургия, 1991. – 205 с.
Левитационный метод получения ультрадисперсных порошков металлов /Ген М.Я., Миллер А.В. Поверхность. Физика, химия, механика. – 1983. №2., С. 150-154.
Троицкий В.Н Получение ультрадисперсных порошков в плазме СВЧ-разрядв// СВЧ-генераторы плазмы: физика, техника, применение/ Батенин В.М. и др. – М.: Энергоатомиздат, 1988. – С. 175-221.
Applications of ultrasound to materials chemistry/ Suslick K.S., Price G.J. Annual Review Materials Science. – 1999. V.2., P. 295-326.
Нанопорошки, получаемые с использованием импульсных методов нагрева мишеней/ Котов Ю.А. Перспективные материалы. – 2003. №4., С. 79-81.
Ультразвуковое прессование керамических ультрадисперсных порошков/ Хасанов О.Л. Известия вузов. Физика. – 2000. №5., С. 121-127.
Fabrication of bulk nanostructured materials from metallic nanopowders: structure and mechanical behaviour/ Champion Y., Guerin-Mailly S., Bonnentien J.-L. Scripta Materialia. – 2001. V.44. N8/9., P. 1609-1613.
Фiзико-хiмiчна кiнетика в наноструктурних системах/ Скороход В.В., Уварова И.В., Рагуля А.В. – Киiв: Академперодiика, 2001. – 180 с.
Наноструктурные материалы, полученные интенсивной пластической деформацией/ Валиев Р.З., Александров И.В. – М.: Логос, 2000. – 272 с.
Gleser A.M. Melt quenched nanocristals// Nanostructured Materials: Science and Technology/ Eds G.-M. , Noskova N.I. – Dordrecht: Kluwer Academic Publishers, 1998. – P. 163-182.
Nanocrystalline aluminium bulk alloys with a high strength of 1420 MPa produced by the consolidation of amorbhous powders/ Kawamura Y., Mano H., Inoue A. Scripta Materialia. – 2001. V.44. N8/9., P. 1599-1604.
Синтез и свойства пленок фаз внедрения/ Андриевский Р.А. Успехи химии. – 1977. Т.66. №1., С. 57-77.
Microstrukture development of Al2O3 – 13wt % TiO2 plasma sprayed coatings derived from nanocrystalline powders/ Goberman D., Sohn Y.H., et fa. Acta Materialia. – 2002. V. 50., P. 1141-1151.
Наночастицы металлов в полимерах/ Помогайло А.Д., Розенберг А.С., Уфлянд И.Е. – М.: Химия, 2000. – 672 с.
DNA nanotechnology/ Seeman N. Materials Today. – 2003. N1., P. 24-29.
Ионно-трековая нанотехнология/ Реутов В.Ф., Дмитриев С.Н. Российский химический журнал. – 2002. Т.46. №5., С. 74-80.
A new family of mesoporous molecular sieves prepared with liquid crystal templates/ Beck J.S. et al. Journal of American Chemical Society. – 1992. V.114. N27., P. 1609-1613.
Трехмерные самоформирующиеся наноструктуры на основе свободных напряженных гетеропленок/ Принц В.Я. Известия вузов. Физика. – 2003. Т.46. №4., С. 35-43.
Нанотехнология в ближайшем десятилетии: Прогноз направления исследований/ Под ред. Рокко М.К., Уильямса Р.С., Аливисатора П./ Пер. с англ. под ред. Андриевского Р.А. – М.: Мир, 2002. – 292 с.
Новые защитные покрытия/ Лисовских В.Г. Помазкин А.М. - http://www.coldzinc.ru/topic/3.shtml
Химия и применение углеродных нанотрубок/ Раков Э.Г. Успехи химии. – 2001. Т.70. №10., С. 934-973.
Hydrogen Storage/ Materials Research Society Bulletin. – 2002. V.27. N9., P. 675-716.
Нанохимия – прямой путь к высоким технологиям/ Бучаченко А.Л. Успехи химии. – 2003. Т.72. №5., С. 419-437.
Углеродные нанотрубки и их эмиссионные свойства/ Елецкий А.В. Успехи физических наук. – 2002. Т.172. №4., С. 401-438.
Строительство храмов. Из истории Храма Христа Спасителя. - http://www.morion.biz/art.php?rids=8&ids=1
Молекулярная электроника на пороге нового тысячелетия/ Минкин В.И. Российский химический журнал. – 2000. Т.44. №6., С. 3-13.
Дорога в будущее/ Билл Гейтс –
http://lib.web-malina.com/getbook.php?bid=1477
Use of high surface nanofibrous materials in medicine/ Mikhalovsky S.V. – Dordrecht: Kluwer Academic Publishers, 2004. – P. 330.
От нанотехнологий – к инновационной промышленности/ Мазуренко С. Технополис XXI. – 2005. №5 (http://www.technopolis21.ru/76)
Бойцы невидимого фронта/
http://www.businesspress.ru/newspaper/article_mId_37_aId_130917.html
1 Нанотехнология для всех/ Рыбалкина М. – М., 2005. – 434 с.
2 Введение в нанотехнологию/ Кобаяси Н. – Пер. с японского – М.: БИНОМ. Лаборатория знаний, 2007. – 134 с.:ил.
3 Введение в нанотехнологию/ Меньшутина Н.В. – Калуга: Издательство научной литературы Бочкаревой Н.Ф., 2006. – 132 с.
4 Порошковое материаловедение/ Андриевский Р.А. – М.: Металлургия, 1991. – 205 с.
5 Левитационный метод получения ультрадисперсных порошков металлов /Ген М.Я., Миллер А.В. Поверхность. Физика, химия, механика. – 1983. №2., С. 150-154.
6 Троицкий В.Н Получение ультрадисперсных порошков в плазме СВЧ-разрядв// СВЧ-генераторы плазмы: физика, техника, применение/ Батенин В.М. и др. – М.: Энергоатомиздат, 1988. – С. 175-221.
7 Applications of ultrasound to materials chemistry/ Suslick K.S., Price G.J. Annual Review Materials Science. – 1999. V.2., P. 295-326.
8 Нанопорошки, получаемые с использованием импульсных методов нагрева мишеней/ Котов Ю.А. Перспективные материалы. – 2003. №4., С. 79-81.
9 Ультразвуковое прессование керамических ультрадисперсных порошков/ Хасанов О.Л. Известия вузов. Физика. – 2000. №5., С. 121-127.
10 Fabrication of bulk nanostructured materials from metallic nanopowders: structure and mechanical behaviour/ Champion Y., Guerin-Mailly S., Bonnentien J.-L. Scripta Materialia. – 2001. V.44. N8/9., P. 1609-1613.
11 Фiзико-хiмiчна кiнетика в наноструктурних системах/ Скороход В.В., Уварова И.В., Рагуля А.В. – Киiв: Академперодiика, 2001. – 180 с.
12 Наноструктурные материалы, полученные интенсивной пластической деформацией/ Валиев Р.З., Александров И.В. – М.: Логос, 2000. – 272 с.
13 Gleser A.M. Melt quenched nanocristals// Nanostructured Materials: Science and Technology/ Eds G.-M. , Noskova N.I. – Dordrecht: Kluwer Academic Publishers, 1998. – P. 163-182.
14 Nanocrystalline aluminium bulk alloys with a high strength of 1420 MPa produced by the consolidation of amorbhous powders/ Kawamura Y., Mano H., Inoue A. Scripta Materialia. – 2001. V.44. N8/9., P. 1599-1604.
15 Синтез и свойства пленок фаз внедрения/ Андриевский Р.А. Успехи химии. – 1977. Т.66. №1., С. 57-77.
16 Microstrukture development of Al2O3 – 13wt % TiO2 plasma sprayed coatings derived from nanocrystalline powders/ Goberman D., Sohn Y.H., et fa. Acta Materialia. – 2002. V. 50., P. 1141-1151.
17 Наночастицы металлов в полимерах/ Помогайло А.Д., Розенберг А.С., Уфлянд И.Е. – М.: Химия, 2000. – 672 с.
18 DNA nanotechnology/ Seeman N. Materials Today. – 2003. N1., P. 24-29.
19 Ионно-трековая нанотехнология/ Реутов В.Ф., Дмитриев С.Н. Российский химический журнал. – 2002. Т.46. №5., С. 74-80.
20 A new family of mesoporous molecular sieves prepared with liquid crystal templates/ Beck J.S. et al. Journal of American Chemical Society. – 1992. V.114. N27., P. 1609-1613.
21 Трехмерные самоформирующиеся наноструктуры на основе свободных напряженных гетеропленок/ Принц В.Я. Известия вузов. Физика. – 2003. Т.46. №4., С. 35-43.
22 Нанотехнология в ближайшем десятилетии: Прогноз направления исследований/ Под ред. Рокко М.К., Уильямса Р.С., Аливисатора П./ Пер. с англ. под ред. Андриевского Р.А. – М.: Мир, 2002. – 292 с.
23 Новые защитные покрытия/ Лисовских В.Г. Помазкин А.М. - http://www.coldzinc.ru/topic/3.shtml
24 Химия и применение углеродных нанотрубок/ Раков Э.Г. Успехи химии. – 2001. Т.70. №10., С. 934-973.
25 Hydrogen Storage/ Materials Research Society Bulletin. – 2002. V.27. N9., P. 675-716.
26 Нанохимия – прямой путь к высоким технологиям/ Бучаченко А.Л. Успехи химии. – 2003. Т.72. №5., С. 419-437.
27 Углеродные нанотрубки и их эмиссионные свойства/ Елецкий А.В. Успехи физических наук. – 2002. Т.172. №4., С. 401-438.
28 Строительство храмов. Из истории Храма Христа Спасителя. - http://www.morion.biz/art.php?rids=8&ids=1
29 Молекулярная электроника на пороге нового тысячелетия/ Минкин В.И. Российский химический журнал. – 2000. Т.44. №6., С. 3-13.
30 Дорога в будущее/ Билл Гейтс –
http://lib.web-malina.com/getbook.php?bid=1477
31 Use of high surface nanofibrous materials in medicine/ Mikhalovsky S.V. – Dordrecht: Kluwer Academic Publishers, 2004. – P. 330.
32 От нанотехнологий – к инновационной промышленности/ Мазуренко С. Технополис XXI. – 2005. №5 (http://www.technopolis21.ru/76)
33 Бойцы невидимого фронта/
http://www.businesspress.ru/newspaper/article_mId_37_aId_130917.html