Открытый способ разработки полезных ископаемых
Открытый способ разработки полезных ископаемых
Введение
Железной рудой называются богатые железом минеральные образования, которые по минеральному и химическому составу, а также физическим свойствам на данном уровне развития металлургии позволяют получать из них рентабельно металл необходимого качества.
Из железных руд выплавляются чугуны (С2,5 - 4%), стали (С 1,7 - 0,2%) и железо (С 0,2-0,04%).
Для получения высококачественных (легированных) сталей обыкновенные стали переплавляются с добавлением марганца, хрома, ванадия, никеля, кобальта, молибдена, вольфрама, ниобия, и других элементов, придающих сталям вязкость, твердость, антикоррозийные и другие свойства.
В настоящее время черная металлургия осуществляет переработку железных руд по следующей схеме:
1) обогащение сырой руды с получением товарных концентратов, богатых железом и бедных вредными примесями;
2) агломерация концентратов в целях окускования и удаления вредных примесей (сера, мышьяка);
3) доменная плавка агломерата для получения литейных или передельных чугунов;
4) плавка передельных чугунов в мартеновских и бессемеровских печах или передел чугуна томасовским процессом с получением стали. При мартеновском способе производства стали добавляются богатая железом и очищенная от вредных примесей сырая руда, называемая мартеновской.
1. Общие сведения о железных рудах
Для качественной характеристики богатых руд важное значение имеют содержание и соотношение нерудных примесей - шлакообразующих компонентов, определяемых коэффициентом основности и кремневым модулем. Коэффициент основности (К. О) представляет отношения суммы окислов щелочных земель (кальция и магния) к сумме окислов кислых компонентов (кремния и алюминия). По величине этого коэффициента железные руды и их концентраты подразделяются на кислые, наиболее часто встречающиеся (К.О. <0,7), самофлюсующиеся (К. О.0,7-1,1) и основные (К.О. > 1,1). Лучшими из них являются самофлюсующиеся руды.
Вредными примесями являются сера, фосфор, мышьяк, олово, цинк, свинец. Содержание элементов в рудах, используемых без обогащения, по каждому компоненту не должно превышать, %: серы и фосфора 0,3, мышьяка 0,07, олова 0,08, цинка и свинца 0,1, меди 0,2.
По содержанию железа выделяют природно богатые и бедные (требующие обогащения) руды.
Месторождения железных руд (участки крупных месторождений для отработки самостоятельными предприятиями) по размерам и форме рудных тел, изменчивости их мощности, внутреннего строения и качества руд соответствуют первой, второй и третьей группам классификации. К первой группе относятся месторождения (участки) простого геологического строения с рудными телами, представленные крупными горизонтально или полого залегающими пластовыми залежами с устойчивыми мощностью или качеством руд (месторождения Керченского бассейна и другие осадочные месторождения).
Ко второй группе относятся месторождения (участки) сложного геологического строения с рудными телами, представленными:
а) крупными сложноскладчатыми или нарушенными разрывами пластовыми, пласто-линзообразными залежами относительно сложного строения с выдержанным качеством руд (например, залежи богатых руд КМА и Криворожского бассейна);
б) крупными и средними по размерам линзо,-штоко, - столбо - и трубообразными телами сложного строения или с невыдержанным качеством руд (например, Качканарское, Соколовское, Сарбайское и другие месторождения).
К третьей группе относятся месторождения (участки) очень сложного геологического строения с рудными телами, представленными мелкими и средними по размерам линзовидными залежами, жило-и столбообразными телами сложной формы с резко меняющимися - мощностью и качеством руд (например, Кодинская, Сухаринская, Орско-Халиловская и Тейская группы месторождений). [1, с. 192]
По строению руды подразделяются на массивные (плотные без трещин включений и слоистости руды), трещиноватые, слоистые и рыхлые.
По кусковатости отбитая руда классифицируется следующим образом:
мелочь - от рудной пыли до кусков с поперечными размерами 100 мм;
средней крупности - от 100 до 250-300 мм;
крупнокусковатая - от 250-300 до 500-600 мм;
очень крупная - более 500-600 мм.
По объемному весу руды делятся на тяжелые, с объемным весом более 3,5 тс/м3, средние, с объемным весом 2,5-3,5 тс/м3, и легкие, с объемным весом менее 2,5 тс/м3.
На разработку рудных месторождений существенное влияние оказывают также и такие свойства руд, как слеживаемость, окисляемость, возгораемость, самовозгораемость и влагоемкость. Влажность руды способствует ее слеживаемости, а в зимнее время - смерзанию.
Типичными пластообразными рудными телами представлено большинство месторождений Криворожского железорудного бассейна.
2. Системы подземной разработки с открытым очистным пространством
Системы разработки с открытым очистным пространством являются наиболее распространенными, так как могут применяться в разнообразных условиях залегания месторождений с любым углом падения и при любой мощности. Ценность руд и характер распределения в ней полезных компонентов также могут быть различными. Однако непременным условием успешного применения этих систем является наличие устойчивых руд и вмещающих пород.
Рассмотрим некоторые системы разработки этого класса. Система со сплошной выемкой по простиранию применяется при разработке пологих и наклонных рудных залежей мощностью 1-3 м и углом падения 20-25° с устойчивыми рудами и вмещающими породами.
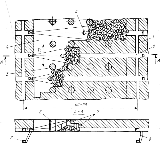
Подготовительные работы начинают с проведения откаточного штрека 1 (рис.1) и отрезного восстающего 8.
Очистные работы начинают с проходки от отрезного восстающего передовой выработки 12, которая сбивается (соединяется) с откаточным штреком рудоспусками 4. Вдоль наклонного отрезного восстающего бурят горизонтальные шпуры, после взрыва которых восстающий расширяется и создается сплошной забой; отбойку руды ведут взрыванием зарядов в шпурах 10. Доставку руды до рудоспусков производят с помощью скреперов 11 с лебедками, установленными в специальных камерах 2, образованных из откаточного штрека.
Поддержание выработанного пространства осуществляют нерегулярным оставлением опорных целиков 6, а также по мере надобности дополнительно с помощью стоек 7 и костров 5.

Рисунок 1 - Система разработки со сплошной выемкой по простиранию
Выемка опорных 6 и околоштрековых 3 целиков может производиться после отработки этажа. В процессе разработки месторождения следует постоянно осуществлять наблюдение за состоянием опорных целиков.
Проветривание блока производится следующим образом. Свежая струя воздуха по откаточному штреку через один из рудоспусков поступает в сплошной забой, омывает его и выходит на вентиляционный штрек 9 и далее к вентиляционному стволу шахты.
Камерно-столбовая система применяется при разработке горизонтальных, пологих и наклонных рудных залежей с устойчивыми рудами и вмещающими породами. Вместе с тем камерно-столбовая система может успешно применяться только при разработке месторождений мощностью от 3-4 до 30-40 м. И еще одно отличие камерно-столбовой системы - систематическое чередование выемочных камер и разделяющих их целиков (столбов) и наличие заранее пройденных панельных штреков.
На практике применяется много различных вариантов камерно-столбовой системы разработки. Отбойку руды производят с помощью шпуров и глубоких скважин.
Доставку отбитой руды осуществляют скреперами, конвейерами, автосамосвалами, а в некоторых случаях при наклонном залегании и энергией взрыва. Погрузку руды в автосамосвалы выполняют с использованием экскаваторов и различных погрузчиков. Мощное погрузочно-транспортное оборудование обеспечивает высокую производительность забоев.
Потери руды в целиках при камерно-столбовой системе составляют от 15 до 50%. Поэтому ее целесообразно применять для разработки малоценных полезных ископаемых.
На рис.2 показан вариант камерно-столбовой системы разработки с потолкоуступным забоем и скреперной доставкой руды. Подготовительные работы в данном варианте заключаются в проведении панельного штрека и подсечной выработки шириной 3-5 м на всю длину камеры. Подсечную выработку с помощью буровзрывных работ расширяют на ширину камеры (15-20 м). Таким образом создается сплошная подсечка, которая служит компенсационным пространством при отбойке руды, так как объем, занимаемый раздробленной рудой, всегда больше объема, занимаемого ею в рудном массиве.
После образования подсечки производят потолкоуступную отбойку руды с помощью шпуровых или скважинных зарядов.
На границах камеры в процессе отработки оформляют столбовые целики.
Камерно-столбовые системы разработки отличаются повышенной опасностью ведения работ в камере под обнаженной кровлей. Поэтому в процессе разработки необходим систематический контроль за кровлей, своевременная ее оборка, а иногда и крепление штанговой крепью с защитной сеткой. Требуют тщательного контроля и столбовые целики. При необходимости их упрочняют с помощью, например, стальных канатов.

Рисунок 2 - Система разработки с камерно-столбовой выемкой:
1 - панельный штрек; 2 - подсечная выработка; 3 - столбовой целик; 4 - камера; 5 - скрепер; 6 - откаточный штрек; 7 - шпуры; 8 - рудоспуск
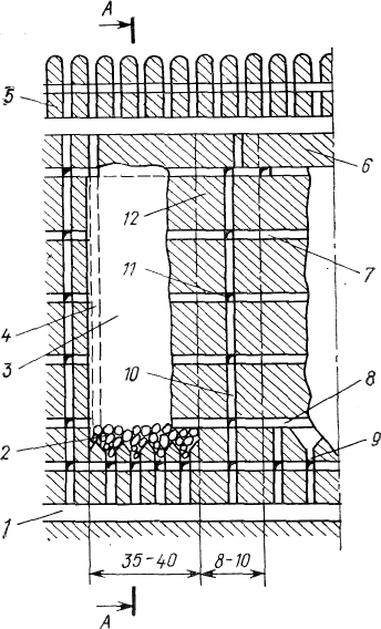
На рис.3 показана система разработки с подэтажной выемкой - система подэтажных штреков. Наиболее благоприятными условиями для ее применения является крутое залегание рудного тела мощностью от 1 до 30 м с устойчивыми вмещающими породами.

Рисунок 3 - Вариант системы подэтажных штреков
Как правило, система подэтажных штреков применяется при разработке руд невысокой ценности. При этой системе разработки этаж разделяется на блоки,, состоящие из камеры 3, междукамерного целика 12, потолочины 6 и днища 5. Очистные работы ведут в две стадии. Первоначально отрабатывают камеры, а затем междукамерные целики, потолочины и днище. Потолочину и днище вышележащего горизонта рассматривают часто как единое целое - междуэтажный целик.
Подготовительные работы заключаются в проведении откаточного штрека по руде 1 или пустым породам 14. Из штрека 1 проходят по центру междукамерного целика восстающие 10, из которых на уровне проектируемых подэтажей проходят орты 11 для более точного оконтуривания залежи в пределах разрабатываемого блока и подэтажные штреки 7. Высота подэтажа (расстояние по вертикали между подэтажными штреками) зависит от применяемого способа отбойки.
Параллельно с проведением восстающего производятся работы по проведению штрека грохочения 13 и подсечного штрека 8. Затем проходят рудоспуски 9, верхнюю часть которых оформляют в приемные воронки 2.

Рисунок 4 - Подэтажно-камерный вариант системы разработки с частичной доставкой руды энергией взрыва
Отрезной восстающий 4 располагают либо у границы камеры, либо в ее центре.
Конструкция днища блока зависит от принятого способа доставки и погрузки руды на основном откаточном горизонте. На приведенном рисунке показан вариант с доставкой руды под действием собственного веса до горизонта грохочения через улавливающие воронки днища. Возможны и другие варианты, в частности, со скреперной доставкой и доставкой с помощью энергии взрыва.
На рис.4 показан подэтажно-камерный вариант системы разработки с частичной доставкой руды энергией взрыва и последующей закладкой камер 5. Вариант предназначен для отработки пологозалегающих маломощных железорудных залежей. Сущность варианта заключается в полевой подготовке участка залежи откаточными ортами 1, вентиляционно-ходовыми 4 и рудосвалочными 8 восстающими. В породах лежачего бока пройдены штреки скреперования 7 и выпускные дучки 6. Выработки горизонта бурения 2 располагаются на уровне горизонта воронок. Разбуривание массива осуществляется с помощью штанговых шпуров 3.
С помощью энергии взрыва отбиваемая руда перемещается на некоторое расстояние, в результате чего уменьшается длина скреперования, что способствует повышению производительности доставки.
Разработано несколько вариантов этажно-камерной системы разработки, Рассмотрим в качестве примера этажно-камерную систему разработки с двухарочной потолочиной и вибровыпуском руды. Эта система разработки применяется, когда мощность рудных тел при угле падения 45-900 не превышает 35м (рис.5)
Подготовка блока заключается в проведении трех рудных штреков 2, из которых на уровне их кровли проходят наклонные выработки 4 с нишами для монтажа вибрационных погрузочно-доставочных установок. Из наклонных выработок проходят выпускные дучки 3, которые затем оформляются в выпускные воронки. На уровне горизонта воронок проходят подсечной штрек 1. Разбуривание массива осуществляют глубокими скважинами 5, разбуренными из штреков 6 вышележащего горизонта. Руду отбивают таким образом, чтобы потолочине придать форму купола. Руду выпускают и доставляют с помощью высокопроизводительных погрузочно-доставочных вибрационных установок.
Сущность систем разработки с обрушением руды и вмещающих пород заключается в том, что в подготовленных к выемке блоках (панелях, зонах) производят обрушение руды, которую выпускают под налегающими породами, обрушающимися вслед за рудой. Отсюда и условия, в которых эта система может успешно применяться: неустойчивые, легкообрушающиеся (вслед за рудой) вмещающие породы; возможность обрушения поверхности; незначительная ценность руды; отсутствие включений пустых пород и различных сортов руд. Выпуск руды под налегающими породами является чрезвычайно важным технологическим процессом при рассматриваемых системах разработки.

Рисунок 5 - Камерная система разработки с двухарочной потолочиной [3, с.415]
Литература
1. Красулин В.С. Справочник техника-геолога. М.: Недра, 1986. - 324с.
2. Технология подземной разработки пластовых месторождений. Под ред.А. А. Борисова. М.: Недра, 1972. - 536с.
3. Шехурдин В.К., Несмотряев В.И., Федоренко П.И. Горное дело. М.: Недра, 1987. - 440с.
4. Советов Г.А., Жабин Н.И. Основы бурения и горного дела. М.: Недра, 1991. - 368с.