Очисна станція стічних вод
Реферат
36 стр. 2 табл. 5 мал. 5 джерел.
В даному курсовому проекті запропонована очисна станція продуктивністю 24600 м3/доб. Очистка стічних вод здійснюється на спорудах механічної та біологічної очистки. Перед випуском вже очищених стоків в водойму проводиться їх знезараження.
Стічна вода поступає на очисну станцію по двом трубопроводам d = 600 мм в приймальну камеру ПК-2-60а з типорозмірами 1500*2000*1600. Вода з приймальної камери надходить до споруд механічної очистки. В курсовому проекті запропоновані наступні споруди для механічного очищення стоків міста: грати в кількості 2 шт. (1 робочі + 1 резервні) типу МГ9Т; горизонтальна пісколовка з прямолінійним рухом води; первинний горизонтальний відстійник L = 36 м, B = 9х4 м. Перед первинними відстійниками запроектован преаератор. Для біологічної очистки стоків запроектовані: аеротенк-витискувач з регенаратором; вторинний горизонтальний відстійник L = 42 м, B = 6х4 м
Знезараження стічної води проводиться рідким хлором за допомогою вакуумного хлоратора ЛОНИИ – 100, контактного резервуару, змішувача типу "лоток Паршаля".
СТІЧНА ВОДА, ГРАТА, ПІСКОЛОВКА, АЕРОТЕНК, ВІДСТІЙНИК, АКТИВНИЙ МУЛ, ЗМІШУВАЧ, ЗНЕЗАРАЖЕННЯ, КОНТАКТНИЙ РЕЗЕРВУАР.
Зміст
Вступ
Стисла характеристика міста та умов випуску стічної води
Розрахунок параметрів очисної станції
2.1 Визначення концентрацій забруднень в стічній воді
2.2 Визначення розрахункових витрат стічних вод
Визначення необхідного ступеня очищення стічних вод
3.1 Визначення коефіцієнту змішування
3.2 Розрахунок необхідного ступеня очистки за завислими речовинами
3.3 Визначення необхідного ступеня очистки за органічними речовинами
Розрахунок споруд для механічної очистки стічних вод
4.1 Розрахунок приймальної камери
4.2 Розрахунок грат
4.3 Розрахунок пісколовок
4.4 Попередня аерація
4.5 Розрахунок відстійників
Розрахунок споруд для біологічного очищення стічної води
5.1 Розрахунок аеротенків
5.2 Розрахунок вторинних відстійників
Розрахунок споруд для дезінфекції стічної води
6.1 Розрахунок хлораторної установки
6.2 Розрахунок контактного резервуару
Вступ
Забруднення природної води є на теперішній час глобальною кризою екосистеми. Річна вода є в водночас і джерелом водопостачання, і приймачем стічної води від промислових підприємств, населених міст та атмосферних осадів.
В містах, або взагалі в населених пунктах, виникають забруднення різного характеру, які пов’язані з повсякденною діяльністю людини.
Вода, яка була використана для різних потреб та отримала при цьому додаткові домішки (забруднення), які змінили ії хімічний склад або фізіологічні властивості, називається стічною водою.
Органічні забруднення, які містяться в стічній воді можуть загнивати, при цьому вони служать сприятливим середовищем для розвитку мікроорганізмів. Усілякі хімічні сполуки, які знаходяться у стічній воді (нафтопродукти, олія, жири, смоли, отруйні речовини) можуть убити усе живе в водоймі. Накопичення стічної води на поверхні та в глибині почви, а також в водоймах, викликають забруднення навколишнього середовища, виключає можливість використання водойм для господарських потреб та є причиною інфекційних захворювань.
Саме тому якісна очистка стічних вод має дуже важливе значення, бо забруднення річної води, окрім гігієнічного значення, має ще й екологічне, яке виражається в тому, що збільшення забруднень потребує додаткових коштів для водопідготовки.
Будівництво систем очищення стоків не тільки сприяє зменшенню забруднень водостоків, але й дозволяє вилучити вторинну речовину, яку можливо застосувати у виробництві.
Стисла характеристика міста та умов випуску стічної води
В даному курсовому проекті запропонована очисна станція, продуктивністю 24600 м3/добу для очистки стоків, що надходять від населеного пункту з кількістю населення 85 000 чоловік та промислового підприємства.
Побутові стічні води мають наступні характеристики: температура води – 12 оС, рН = 7,2; витрату - 240 л/доб.люд.
В місті розташовано промислове підприємство з витратою стічних вод 4200 м3/доб. Кількість завислих речовин в цій воді - 140 мг/л, органічних речовин - 190 мг/л; рН = 6,7; температура стічної води - 15 оС.
Після очистки вода скидається у водойму ІІ п. категорії з середньою глибиною – 2,2 м, витратою – 3,15 м3/с. Середня швидкість течії у водоймі - 0,5 м/с; кількість розчиненого кисню у воді – 7,2 мг/л; кількість завислих речовин – 3,5 мг/л; кількість органічних речовин (БСК) – 3,8 мг/л.
Водовикористання нижче випуску стоків: в прямому напряму - 11 км, за фарватером - 9 км.
2. Розрахунок параметрів очисної станції.
2.1 Визначення концентрацій забруднень в стічній воді
Для визначення необхідного ступеня очищення стічної води перед випуском ії до водойми потрібно визначити кількість забруднень стічної води.
Без проведення хімічного аналізу вміст забруднень стічної води, мг/л, можливо визначити за завислими речовинами, БСК, азотом амонійних солей, фосфатами, хлоридами та іншими забрудненнями за формулою:
(2.1)
де а – кількість визначених забруднень за добу на людину, яка користується каналізацією (приймаємо по [1, табл. 25);
n – норма водовідведення, л/добу люд. (приймаємо за завданням).
Концентрація завислих речовин господарсько-побутових стічних вод:
мг/л.
Концентрація завислих речовин промислових стічних вод: С = 140 мг/л.
БСК>повн>. в господарсько-побутових стічних водах:
мг/л.
БСК>повн>. в промислових стічних водах: С = 190 мг/л.
На очисні споруди надходить суміш побутових і виробничих стічних вод. Вміст забруднень кожного з інгредієнтів в загальному потоці розраховуємо за формулою:
(2.2)
де С>поб>, С>пр> – відповідно вміст забруднень у побутовій і промисловій стічній воді, мг/л;
Q>поб>, Q>пр> – відповідно середньодобові витрати побутових і промислових стічних вод, м3/доб (приймаємо за завданням).
Концентрація завислих речовин в загальному стоку:
мг/л.
Концентрація органічних речовин в загальному стоку:
мг/л.
Значення водневого показника суміші побутової та виробничої стічної води визначаємо за формулою:
(2.3)
де рН>поб>, рН>пр> – відповідно значення рН побутової та промислової стічної води (приймаємо за завданням);
.
Значення температури суміші виробничої та побутової води визначаємо за формулою:
(2.4)
де t>поб>, t>пр> – відповідно температури побутової та виробничої стічної води, оС (приймаємо за завданням);
оС.
2.2 Визначення розрахункових витрат стічних вод
Середню добову витрату побутових стічних вод визначаємо за формулою:
(2.5)
де n – норма водовідведення, л/добу люд. (приймаємо за завданням);
N>p> – кількість населення, люд (приймаємо за завданням);
м3/доб.
Середню годинну витрату стічних вод визначаємо за формулою:
(2.6)
м3/год.
Далі визначаємо значення загального коефіцієнту водовідведення за [1], приймаємо розподіл надходження побутових стічних вод за годинами доби згідно з прийнятим коефіцієнтом [6]. Розподіл надходження виробничих стічних вод за годинами доби приймаємо рівномірним.
Результати розрахунку надходження стічних вод за годинами доби зведені в таблицю 1.
Середню секундну витрату стічних вод визначаємо за формулою:
(2.7)
л/с.
Максимальний коефіцієнт нерівномірності притоку стічних вод K>заг> = 1,57.
Середня добова витрата: Q>доб> = 24600 м3.
Середня годинна витрата: Q>год> = 24600/24 = 1025 м3.
Середня секундна витрата: q>сер.сек. >= 1025/3,6 = 284,7 л/с.
Максимальна секундна витрата: q>макс.сек. >= 1484,4/3600 = 0,412 м3/с = 412 л/с.
Мінімальна секундна витрата: q>мин.сек. >= (490,92/3600)*1000 = 136,4 л/с.
Таблиця 1 – Приток стічних вод за годинами доби.
-
Години доби
Побутові
Виробничі
Загальний приток
%
м3
%
м3
%
м3
0-1
1,55
316,2
4,17
175,14
2,00
491,34
1-2
1,55
316,2
4,17
175,14
2,00
491,34
2-3
1,55
316,2
4,17
175,14
2,00
491,34
3-4
1,55
316,2
4,16
174,72
2,00
490,92
4-5
1,55
316,2
4,17
175,14
2,00
491,34
5-6
4,55
928,2
4,16
174,72
4,48
1102,92
6-7
5,95
1213,8
4,17
175,14
5,65
1388,94
7-8
5,8
1183,2
4,16
174,72
5,52
1357,92
8-9
6,42
1309,68
4,16
174,72
6,03
1484,40
9-10
6,42
1309,68
4,16
174,72
6,03
1484,40
10-11
6,42
1309,68
4,17
175,14
6,04
1484,82
11-12
4,8
979,2
4,17
175,14
4,69
1154,34
12-13
4,95
1009,8
4,17
175,14
4,82
1184,94
13-14
4,63
944,52
4,16
174,72
4,55
1119,24
14-15
6,05
1234,2
4,17
175,14
5,73
1409,34
15-16
6,05
1234,2
4,17
175,14
5,73
1409,34
16-17
5,6
1142,4
4,17
175,14
5,36
1317,54
17-18
5,6
1142,4
4,16
174,72
5,35
1317,12
18-19
4,3
877,2
4,17
175,14
4,28
1052,34
19-20
4,63
944,52
4,17
175,14
4,55
1119,66
20-21
4,63
944,52
4,16
174,72
4,55
1119,24
21-22
2,35
479,4
4,17
175,14
2,66
654,54
22-23
1,55
316,2
4,17
175,14
2,00
491,34
23-24
1,55
316,2
4,17
175,14
2,00
491,34
Всього
100
20400
100,00
4200
100,00
24600
3. Визначення необхідного ступеня очищення стічних вод
3.1 Визначення коефіцієнту змішування
Необхідний ступінь очищення стічних вод визначається згідно з "Правилами охорони поверхневих вод від забруднення стічними водами". Внесені у водойму забруднення переміщуються разом із річною водою до розрахункового створу.
При цьому у водоймі проходять два процеси: перемішування забрудненої води з усією водною масою і мінералізація органічних речовин. Ступінь змішування з річковою водою визначається коефіцієнтом а, який розраховуємо за формулою:
(3.1)
де Q – витрата води у водоймі, м3/с (приймаємо за завданням);
q – витрата стічної води, м3/с; L>ф> – відстань до розрахункового створу за фарватером, м (приймаємо за завданням);
- коефіцієнт, що враховує гідравлічні фактори змішування:
(3.2)
де - коефіцієнт звивистості русла:
(3.3)
де L>пр>
– відстань до розрахункового створу
навпростець, м (приймаємо за завданням);
;
- коефіцієнт, що враховує місце розташування випуску і приймається =1,5 – для руслового випуску; Е – коефіцієнт турбулентної дифузії, для рівнинних річок визначаємо за формулою:
(3.4)
де v – середня швидкість течії ріки, м/с (приймаємо за завданням);
H>сер> – середня глибина річки, м;

.
Ступінь очищення стічної води визначаємо за слідуючими показниками: за кількістю завислих речовин, за БСК>повн>, за розчиненим у водоймі кисню. Кратність розбавлення в розрахунковому створі визначаємо за формулою:
(3.5)

3.2 Розрахунок необхідного ступеня очищення за завислими речовинами
Гранично допустимий вміст завислих речовин m, г/м3, які спускають у водойму стічні води визначаємо за формулою:
(3.6)
де р – допустимо згідно з санітарними нормами збільшення завислих речовин у водоймі після випуску стоків, г/м3; Q – найменша витрата води у водоймі при 95% забезпеченості, м3/с (приймаємо за завданням); b>р> – вміст завислих речовин у водойму до випуску в неї стоків, г/м3;
г/м3.
Ступінь необхідного очищення за завислими речовинами визначаємо за формулою:
(3.7)
де С>сум> – концентрація завислих речовин в суміші стічних вод до очищення, г/м3 (С>сум> = 248 мг/л);
.
3.3 Визначення необхідного ступеня очищення по БСК>повн.> суміші стоків і води водойми
Визначення необхідного ступеня очищення за БСК>повн> враховує самоочищення стоків під час біохімічних процесів, а також розбавлення стоків водою. Допустиме значення БСК>повн> стоків під час випуску у водойму визначаємо за формулою:
(3.8)
де К>ст>, К>р> – константи швидкості поглиння кисню стічною та річною водою; К>ст> = 0,115 1/доб, К>р> = 0,170/доб;
- гранично
припустиме БСК>повн>
суміші стоків і річної води в розрахунковому
створі (для водойми ІІ п категорії
приймаємо
=
6 мг/л);
L>p> – БСК>повн >стічної води до місця випуску стоків, мг/л (приймаємо за завданням);
t – тривалість перемішання води від місця випуску до розрахункового створу:
(3.9)
де L>ф> – відстань за фарватером від місця випуску до розрахункового створу, м (приймаємо за завданням);
v>сер> – середня швидкість течії водойми, м/с (приймаємо за завданням);
доб,
мг/л.
Згідно з правилами випуску стоків у воді водойми після змішування з річною водою кількість розчиненого кисню повинен бути не менше 3 мг/л.
Допустиме БСК>повн> стоків при врахуванні мінімального вмісту розчиненого кисню, визначаємо за формулою:
(3.8)
де O>p> – вміст розчиненого кисню у річковій воді до місця випуску стоків, г/м3 (приймаємо за завданням);
О – мінімальний вміст кисню у воді, г/м3 (приймаємо 3 мг/л);
0,4 – коефіцієнт перерахунку БСК>повн> у дробові;
г/м3.
Необхідний ступінь очищення за БСК>повн>:

4. Розрахунок споруд для механічної очистки стічної води
4.1 Розрахунок приймальної камери
Приймальна камера призначена для прийому стічних вод, які поступають на очисні споруди каналізації, гасіння швидкості потоку рідини та сопоставлення трубопроводів з відкритим лотком.
Стічні води надходять на очисні споруди напірними трубопроводами. Приймальну камеру влаштовують перед очисними спорудами. Вона влаштовується на опору із збірних залізобетонних кілець.
Камера передбачається на надходження стічних вод по двом трубопроводам та розміщується внасипі висотою до 5 м.
Приймальну камеру приймаємо в залежності від продуктивності очисної станції.
Розміри прийнятої приймальної камери представлені в таблиці 2.
Таблиця 2 – Типорозміри приймальної камери очисних споруд.
-
Пропускна здібність, л/с
Діаметр труб, мм
Марка приймальної камери
Розміри, мм
А
В
Н
476
2 * 600
ПК-2-60а
1500
2000
1600
4.2 Розрахунок грат
Грати використовують для затримання великих забруднень стічних вод і є спорудами, які готують до подальшої більш повної очистки.
За нормами, решітки повинні бути встановлені на всіх очисних станціях не залежно від засобу подачі стічної води.
Грати складаються з похилих (під кутом 80о) металевих стержнів, які укріпленні на металевій рамі (рис.1).
Для попередження створення вихрового потоку канал перед гратами плавно розширюють, шлях зміни напрямку стінки на кут = 200. Щоб попередити продавлення забруднень через решітки, швидкість потоку треба підтримувати в межах 0,7 м/с при середній витраті, і не більше 1 м/с – при максимальній.
Прозори між стержнями грат повинні бути по можливості меншими, щоб затримувати якумого більше грубих домішок для полегшення роботи відстійників. Тому ширину прозорів грат приймаємо 16 мм перед очисними спорудами.
1 – тяговий ланцюг, 2 – ведома зірочка, 3 – граблі, 4 – шарнірна опора, 5 – приводний ланцюг, 6 – електродвигун, 7 – нерухома решітка.
Рис.1 – Похила грата типа МГТ.
Згідно з нормами [1] приймаємо дві грати (одну робочу, одну резервну). Грати розраховуємо на максимальну секундну витрату q>max> = 0,412 м3/с. Приймаємо глибину води у камері перед грата h>1> = 1 м, середня швидкість у прозорах v>р> = 1 м/с, ширину прозорів приймаємо b = 0,016 м, тоді кількість прозорів в граті визначаємо за формулою:
(4.1)
де К>3> – коефіцієнт, який враховує стиснення потоку граблями та затриманими забрудненнями, який дорівнює 0,5;
.
Приймаємо товщину стержнів грат S = 0,008 м. Загальну ширину грат визначаємо за формулою:
(4.2)
м.
Відповідно розрахунку приймаємо грати типу МГ9Т з наступними параметрами:
розміри каналу перед решіткою 1000*1200 мм;
товщина стержнів S = 0,008 м;
маса 1320 кг;
пропускна здібність 33 тис.м3/доб.
Перевіряємо швидкість води у прозорах грат. Для прийнятих розмірів вона складає:
(4.3)
м/с.
Визначаємо довжину камери грат (конструктивно):
м.
Визначаємо кількість забруднень, утримуваних гратами. Ця кількість, яка утримується на гратах, які мають ширину прозорів b = 0,016 м, дорівнює 8 л/рік на 1 людину.
Прийнявши норму водовідведення n = 240 л/доб на 1 людину, визначаємо приведену кількість населення:
,
(4.7)
люд.
Об’єм утримуваних забруднень складає:
(4.8)

При щільності осаду = 750 кг/м3, маса забруднень складає М = 2,25*0,75 = 1,69 т або за час
т = 188 кг.
Очистка грат від затриманих ними відбросів проводиться механізовано, тому що об’єм відбросів складає більше 0,1 м3/доб. Зняті відброси з грат подаються в дробарки.
Запропоновані дві дробарки, з яких одна робоча і одна резервна, молоткового типу продуктивністю 0,3-1 т/год.
До складу установки входить дробарка типу Д-3 з електродвигуном потужністю 22 кВт; частотою обертання 1450 об/хв.
Витрата води, що подається на дробарку прийнята з розрахунку 40 м3 на 1 м забруднення.
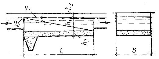
4.3 Розрахунок пісколовок
Пісколовки влаштовуються для видалення піску та інших мінеральних нерозчинних забруднень.

Рис.2 – Схема горизонтальної пісколовки.
Приймаємо два відділення пісколовки.
Площа живого перетину одного відділення визначається за формулою:
,
(4.9)
де q>max> – максимальна витрата стічних вод, м3/с (приймаємо по табл.1);
v – швидкість руху води, м/с (приймаємо 0,3 м/с);
n – кількість відділень (прийняли 2);
м2.
Глибину проточної частини приймаємо h>1> = 0,7 м. Ширина відділення буде дорівнювати:
(4.10)
м.
При розрахунковому діаметрі частинок піску d = 0,2 мм - u>0> =18,7 мм/с і К=1,7.
Довжину пісколовки розраховуємо за формулою:
(4.11)
де К – емпіричний коефіцієнт, який враховує вплив турбулентності та інших факторів на роботу пісколовки;
м.
Мінімальна витрата на пісколовку буде дорівнювати:
м3/с.
(4.12)
Мінімальне наповнення при швидкості v = 0,3 м/с:
м. (4.13)
Відношення максимальної витрати до мінімальної:
(4.14)
Щоб підтримувати постійну швидкість, встановлюють у вихідному каналі непідтоплюваний водозлив з широким порогом без донного випуску. Перепад між дном пісколовки і порогом водозливу:
(4.15)
де h>max>, h>min> – відповідно глибина води при максимальній і мінімальній витратах і швидкості руху води 0,3 м/с;
м.
Ширину водозливу визначаємо за формулою:
(4.16)
де m – коефіцієнт витрати водозлива, який залежить від умов бокового стиснення, m = 0,35…0,38;
м.
По визначеним параметрам приймаємо горизонтальну пісколовку із наступними характеристиками: продуктивність Q – 29 м3/доб, довжина L – 29 м, кількість відділень n – 2, ширина відділення B – 1,25 м, висота робочої частини H>s>– 0,55 м.
При нормі водовідведення n = 240 л/доб. на 1 людину приведена кількість населення складає:
,
(4.7)
чол.
Тоді об’єм осаду за добу складе:
м3/доб,
(4.8)
де 0,02 – кількість зловленого осаду за добу на одну людину, л/(доб*люд).
Вигрузку осаду передбачено 1 раз на добу.
4.4 Попередня преаерація
В звичайних первинних відстійниках затримується 30 – 50 % нерозчинених домішок, які містяться в стічній воді.
Для більш повного освітлення стічних вод приймається ряд спонукальних дій. Однією з таких дій є попередня коротчасова аерація стічної води. Вона проводиться в спеціально побудованих для цього спорудах – преаераторах.
Преаератор запроектовано перед первинними відстійниками у вигляді окремої споруди.
При використанні процесу попередньої аерації ефективність затримання забруднюючих речовин в первинних відстійниках збільшується на 20 – 25 %.
Преаератори розраховують виходячи з тривалості аерації стічних вод впродовж 20 хв., та витрати повітря 5 м3 на 1 м3 стічних вод [1].
Об’єм преаератора:
(4.9)
м3.
Площа преаератора:
(4.10)
де H – глибина преаератора, яка дорівнює глибині проточної частини відстійника, тобто Н = 2,5 м;
м2.
Довжина преаератора:
(4.11)
де В – ширина преаератора (приймаємо в залежності від глибини 1,5Н = 3,75 м);
м.
В якості аератора запропоновано мілко пузирчастий аератор з трьома відділеннями у вигляді фільтроносних пластин. Найбільш повне описання аератора приведено в п. 5.1 "Розрахунок аеротенків".
4.5 Розрахунок відстійників
В залежності від продуктивності очисних споруд приймаємо горизонтальні відстійники.
Необхідний ефект освітлення (п. 3.2) Э =
97,74 %. Для отримання такого ефекту умовна
гідравлічна різниця завислих речовин
повинна бути u>o>
0,33
мм/c.
Приймаємо глибину проточної частини Н
= 2,5 м, а середню швидкість протоку v>сер.>
= 5 мм/с. При розподіленні води на початку
споруди и збиранні її в кінці споруди
за допомогою водозливу h>0>
= 0.25 м, а α = 450.
Визначаємо довжину ділянки l>1>, на якій висота активного шару у відстійнику сягає розрахункової глибини Н = 2,5 м.
Середня глибина потоку на цій ділянці:
м
(4.12)
Середню швидкість потоку на ділянці l>1> розраховуємо:
мм/с (4.13)
При цьому к = 0,16, w = 0,04, а
м. (4.14)
Тривалість протікання води на ділянці l>1> розраховуємо за формулою:
с = 0,28 год. (4.15)
За цей час мінімальна часточка, що осідає, пройде відстань:
мм = 0,3 м (4.16)
При v>сер.> = 5 мм/с w>2> = 0.01 [1].
Залишкову частину глибини відстійника часточка пройде за час:
с = 1,63 год. (4.17)
За цей час часточка переміститься по горизонталі на відстань:
м
(4.18)
Довжина ділянки стиснення потоку:
м. (4.19)
Загальна довжина відстійника дорівнюватиме:
м (4.20)
Ширина відстійника:
(4.21)
Приймаємо ширину відділення відстійника 9 м, тоді кількість відділень складе: 32,96 / 9 = 3,66 ≈ 4 шт.
Враховуючи, що відстійник має достатньо надійний механізм – цепні скребки, вихід яких зі строю практично виключено, розрахунковий об’єм відстійників не збільшується.
Маса зібраного осаду відстійника за добу:
т/добу. (4.22)
Об’єм осаду, що випав:
м3/добу. (4.23)
Для накопичення осаду на початку споруди проектується бункер у вигляді перекинутої усіченої піраміди, верхня основа якої має розміри 4,0х2,5м, а нижня – 1,0х0,5 м. Висота піраміди дорівнює 2,5 м. Об’єм бункера одного відділення складе:
м3. (4.24)
В основі відстійника також передбачуємо ємність для накопичення осаду. Висота її в кінці споруди дорівнює 0,2 м. При ухилі днища і = 0,003 висота її на початку буде дорівнювати:
м. (4.25)
Об’єм осадочної частини в основі одного відділення складе:
м3. (4.26)
Загальний об’єм осадочної частини всіх відділень:
м3. (4.27)
Осадочні частини відстійника будуть заповнюватись осадом за 32,6/15,9=2 доби.
Враховуючи велику нерівномірність розподілу осаду по площі відстійника, вивантаження його рекомендується робити 1 раз на добу.
В бункери, розташовані на початку споруди, осад згрібається ланцюговими скребками, а видаляється з бункерів відкачуванням за допомогою насосів.
5. Розрахунок споруд для біологічного очищення стічної води
5.1 Розрахунок аеротенків
Стічна вода надходить до аеротенків, як правило після споруд механічної очистки. В аеротенках проходять процеси біохімічного окислення органічних речовин стічної води мікроорганізмами, які складають основну частину активного мулу, та киснем повітря.
Запропоновано аеротенк, який працює по одноступінчатій схемі по принципу витискувача. Через те, що БСК>повн.> стічної води перевищує 150 мг/л, то до аеротенка додаємо регенератор.
Принцип дії аеротенка-витискувача: стічна вода та активний мул подаються зосереджено з однієї з торцевих сторін споруди, а випускаються також зосереджено з іншої сторони.
Значення констант та коефіцієнтів приймаємо за таблицями СНіП [1].
Для міських стічних вод приймаємо наступні дані: = 85 м/(г*год), K>l> = 33 мг/л, К>о> = 0,625 мг/л, = 0,07 л/г, S = 0,3. Концентрацію кисню С>о> приймаємо 2 мг/л.
Ступінь рециркуляції активного мулу:
(5.1)
де а – доза мулу в аеротенку, г/л (приймаємо а = 3 г/л);
J – муловий індекс, см3/г (приймаємо згідно [1] 70 см3/г);
.
БСК>повн> стічної води, враховуючи розбавлення активним мулом:
(5.2)
де L>ex> – кінцева концентрація по БСК>повн> (приймаємо 15 мг/л);
мг/л.
Тривалість перебування стічної води в аеротенку:
(5.3)
год.
Доза мулу в регенераторі:
(5.4)
г/л.
Питома швидкість окислення:
(5.5)
де С – концентрація розчиненого кисню, мг/л;
>max> – максимальна швидкість окислення, мг/(г*год);
К>l> – константа, що характеризує вид органічних забруднень, мгБСК>повн>/л;
К>0> – константа, що характеризує вплив кисню, мгО>2>/л;
мг/г*год.
Тривалість окислення:
(5.5)
де S – зольність мулу;
год.
Період регенерації:
год.
(5.6)
Тривалість перебування стічної води в системі аеротенк-регенератор:
(5.7)
год.
Об’єм аеротенка:
, (5.8)
де Q>p> – максимальна годинна витрата, м3/год (приймаємо по табл.1 1510,95 м3/год);
= 3242,5 м3.
Об’єм регенератора:
,
(5.9)
м3.
Середня доза мулу:
(5.10)
мг/л.
Навантаження на 1 г беззольного активного мулу:
(5.11)
мг/л.
При
=
328,9 мг/ л
муловий індекс J
= 72,9
см3/г, що набагато не відрізняється
від прийнятого J
= 70 см3/г.
Загальний об’єм аеротенка та регенератора складає:
м3. (5.12)
Приймаємо 4 робочі секції. Тоді об’єм однієї секції буде складати: 7082/4 = 1770,5 м3.
На основі цього приймаємо аеротенк-витискувач з шириною коридору 4,5 м; робочою глибиною 3,2 м; чотирма коридорами; довжиною L = 36 м (за типовим проектом 902-2-178).
В якості аератора приймаємо аератор з керамічних фільтропластин розмірами 300*300 мм та товщиною 35 мм. Пластини укладають на дно аеротенка в два ряди для забезпечення подачі необхідного об’єму повітря. Повітря подається по воздуходувкам в канал, який перекритий пластинами.
Відношення площі пластин фільтрів до площі аеротенка f/F = 0,3; К>1> = 1,89 (коефіцієнт, який враховує тип аератора, приймаємо по [1] в залежності від f/F); К>2> = 2,56 – коефіцієнт, який залежить від глибини занурення аератора (прийнято по [1]).
Глибина занурення аератора:
м. (5.13)
Визначаємо коефіцієнт n>1>,
який враховує температуру стічних вод:
(5.14) де t>сер> –
середньомісячна температура суміші
стічних вод (визначена раніше t>сер>
= 12,5 0С);
.
Визначаємо питому витрату повітря за формулою:
(5.15)
де z – питома витрата кисню повітря (приймаємо 0,9 мг/мг);
n>2> – коефіцієнт, що враховує якість стічних вод (приймаємо 0,85);
С – середня концентрація кисню в аеротенку (приймаємо 2 мг/л);
С>р> – розчинність кисню у воді, мг/л:
(5.16)
де С>т> – розчинність кисню повітря у воді, С>т> = 8,84 мг/л;
мг/л;
м3/м3.
Визначаємо інтенсивність аерації:
I =
м3/(м2*год). (5.17)
Загальний об’єм повітря визначаємо за формулою:
(5.18)
де Q – середньодобова витрата стічних вод, м3/доб;
м3/доб.
Об’єм повітря для аерації стічної води в максимальну годину водовідведення:
м3/год.
Приймаємо 2 повітродувки (1 робоча і 1 резервну) марки ТВ – 300 – 1,6 продуктивністю 18000 м3/год та потужністю двигуна 172 кВт, тиском 0,14 Мпа.
5.2 Розрахунок вторинних відстійників
Вторинні відстійники влаштовуються для затримання активного мулу, який поступає разом з очищеною водою із аеротенків.
Запроектовано горизонтальні вторинні відстійники.
Вторинні відстійники розраховані по гідравлічному навантаженню з врахування концентрації активного мулу в аеротенку а, його мулового індексу І та концентрації активного мулу в освітленій воді а>t> за формулою:
,
(5.19)
де
- коефіцієнт використання об’єму,
залежить від типі відстійника, для
горизонтальних приймається 0,45;
-
глибина проточної частини відстійника
(приймаємо 2,5 м);
а – концентрація активного мулу в аеротенку (приймається не більше 3 г/л [1]);
а>t> – концентрація мулу в освітленій воді (приймається не менше 10 мг/л [1]);
J – муловий індекс, J = 72,9 см3/г (по [1]);
м3/(м3*год).
Приймаємо 4 відділення вторинного відстійника.
Площа одного відстійника розраховується за формулою:
(5.20)
де n – кількість відстійників;
м2.
Довжину одного відділення відстійника визначаємо за формулою:
L = F/B = 259,5 / 6 = 42,3 м.
Остаточно приймаємо вторинний горизонтальний відстійник з 4 відділеннями шириною 6 м та довжиною L = 42 м.
6. Розрахунок споруд для дезинфекції стічної води
6.1 Розрахунок хлораторної установки
Дезинфекцію стічних вод проводять для винищення патогенних мікробів, які містяться в воді, та усунути небезпеку зараження водойми цими мікробами при випуску в неї очищених стічних вод.
Дезінфекція стічних вод може проводитись різними способами, але найбільш розповсюдженим є хлорування, тобто введення в стічну воду визначеної кількості хлору або хлорного вапна, гіпохлорита натрію.
Оскільки рідкий хлор розчиняється в воді погано, тому використовують хлор-газ.
Згідно з [1] доза активного хлору приймається для повністю очищеної стічної води 3 г/м3.
Потужність хлораторної установки визначається за максимальною витратою стічних вод та дозою хлору.
Витрата хлору за одну годину при максимальній витраті стічних вод:
(6.1)
де Д>хл> – доза активного хлору, приймаємо 3 г/м3 [1];
Q>маск.год.> – максимальна годинна витрата стічних вод;
кг/год.
Витрата хлору за добу:
(6.2)
де Q>доб> – добова витрата стічних вод (Q>доб> = 24600 м3/доб);
кг/доб.
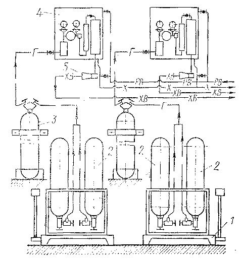
В хлораторній типу 901-3-16/70 передбачено установку (рис.3) з двома хлораторами типу ЛОНИИ-100 (рис.4) з наступними характеристиками: продуктивність – 5 кг/год, кількість хлораторів – 2, місткість складу хлору 1,3-8 т, площа хлораторної – 15х6 м2.
Установки для знешкодження рідким хлором проектуються з відбором хлором з стандартних сталевих балонів.
Кількість балонів-випаровувачів для забезпечення отриманої потужності за 1 годину:
(6.3)
де S>бал> – зйом хлору з одного балону (приймаємо 0,7 кг/год);
балонів.
Приймаємо балони об’ємом 40 л, які містять 50 кг рідкого хлору. Для контролем за витратою хлору передбачаємо 1 ваги марки РП-500-П3(м), на яких можна розмістити 6 балонів.
За добу буде витрачено 73,8:50 = 1,48 балону. Запасу хлору вистачить на 6:1,48 = 4 доби. У приміщенні хлораторної розміщаються хлоратори ЛОНИИ-100 і 2 балони з хлором.
З хлоратору хлорна вода поступає в змішувач разом із стічною водою.
Цей змішувач складається із підводящого розтруба, горловини і відводящого розтруба. Бокові стінки вертикальні, дно має ухил в сторону руху води. Внаслідок звуження перетину та різкої зміни ухилу дна в відводящому розтрубі виникає гідравлічний приток, завдяки якому і протікає інтенсивне змішування хлорної води зі стічною водою.

1 – ваги; 2 – балони з рідким хлором; 3 – проміжний балон; 4 – хлоратор; 5 – ежектор.
рис.3 – схема хлораторної установки.

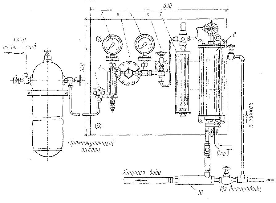
1 – запірний вентиль; 2 – фільтр; 3 – манометр високого тиску; 4 – редуктор; 5 – манометр низького тиску; 6 – регулюючий вентиль; 7 – ротаметр; 8 – змішувач; 9 – дозуючий бак; 10 – ежектор.
рис.4 – схема хлоратора ЛОНИИ -100.
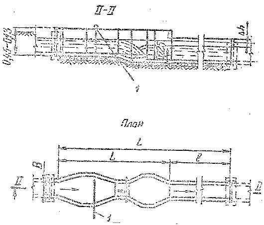
Приймаємо змішувач типу "лоток Паршаля", основні характеристики якого наступні: пропускна здібність – 7000-32000 м3/доб, ширина горловини – 500 мм, ширина підводящого лотка – B = 600 мм, довжина лотка L = 6,1 м, загальна довжина змішувача – L>1> = 13,63 м, втрати напору h = 0,2 м.

1 – подача хлорної води.
Рис.5 – Змішувач типу " лоток Паршаля".
6.2 Розрахунок контактного резервуару
Для забезпечення контакту хлору з стічною водою запроектуємо контактні резервуари по типу горизонтальних відстійників без скребків з ухилом днища 0,05. В контактних резервуарах стічна вода змішується з хлорною водою на протязі 30 хвилин. При цьому також враховується і той час, впродовж якого вода контактує з хлором, яка знаходиться в каналах, трубах, які відводять її у водойму.
Об’єм контактного резервуару розраховується за формулою:
(6.4)
де Т – тривалість контакту хлору з водою, Т = 20 хв.;
м3.
Приймаємо 1 контактний резервуар.
Довжина контактного резервуару при швидкості руху води v = 10 мм/с:
м. (6.5)
Площа живого перетину:
м2. (6.6)
При робочій глибині Н = 3 м та ширині секції b = 6 м кількість секцій:
секції.
Фактична тривалість контакту стічної води з хлором в годину максимального притоку:
год = 26,4 хв.
За визначеними даними приймаємо контактний резервуар типу 902-1-23-1 з наступними характеристиками: кількість секцій – 2, глибина робочої частини – 3,2 м, ширина однієї секції – 6 м, довжина – 18 м, робочий об’єм – 660-1100 м3.
