Понятие и классификация средств измерений
ФЕДЕРАЛЬНОЕ АГЕНСТВО ПО ОБРАЗОВАНИЮ
ПЕНЗЕНСКАЯ ГОСУДАРСТВЕННАЯ ТЕХНОЛОГИЧЕСКАЯ АКАДЕМИЯ
Кафедра: Автоматизация и Управления
Контрольная работа по дисциплине
«Технические измерения и приборы»
Выполнил: студент гр. 05А1з: Сысоев М.А.
Проверил: Шакурский А.В.
Пенза 2009 г.
Содержание
1 Понятие и классификация средств измерений
1.1 Метрологические характеристики СИ
1.2 Использование СИ
1.3 Нормирование погрешностей СИ
1.4 Класс точности СИ и его обозначение
1.5 Эталоны и их использование
2. Вихретоковые преобразователи
3. Си геометрических и механических величин
3.1 Единицы Си геометрических величин
3.2 Единицы Си механических величин
Список литературы
1 Понятие и классификация средств измерений
Средство измерений (СИ) – техническое средство, предназначенное для измерений, имеющее нормированные метрологические характеристики, воспроизводящее или хранящее единицу физической величины, размер которой принимают неизменной в течение известного интервала времени.
Приведенное определение выражает суть средства измерений, которое, во-первых, хранит или воспроизводит единицу, во-вторых, эта единица неизменна. Эти важнейшие факторы и обуславливают возможность проведения измерений, т.е. делают техническое средство именно средством измерений. Этим средства измерений отличаются от других технических устройств. К средствам измерений относятся меры, измерительные: преобразователи, приборы, установки и системы.
Мера физической величины – средство измерений, предназначенное для воспроизведения и (или) хранения физической величины одного или нескольких заданных размеров, значения которых выражены в установленных единицах и известны с необходимой точностью. Примеры мер: гири, измерительные резисторы, концевые меры длины, радионуклидные источники и др. Меры, воспроизводящие физические величины лишь одного размера, называются однозначными (гиря), нескольких размеров – многозначные (миллиметровая линейка – позволяет выражать длину как в мм, так и в см). Кроме того, существуют наборы и магазины мер, например, магазин емкостей или индуктивностей. При измерениях с использованием мер сравнивают измеряемые величины с известными величинами, воспроизво-димыми мерами. Сравнение осуществляется разными путями, наиболее распространенным средством сравнения является компаратор, предназначенный для сличения мер однородных величин. Примером компаратора являются рычажные весы. К мерам относятся стандартные образцы и образцовое вещество, которые представляют собой специально оформленные тела или пробы вещества определенного и строго регламентированного содержания, одно из свойств которых является величиной с известным значением. Например, образцы твердости, шероховатости.
Измерительный преобразователь (ИП) - техническое средство с нормативными метрологическими характеристиками, служащее для преобразования измеряемой величины в другую величину или измерительный сигнал, удобный для обработки, хранения, индикации или передачи. Измерительная информация на выходе ИП, как правило, недоступна для непосредственного восприятия наблюдателем. Хотя ИП являются конструктивно обособленными элементами, они чаще всего входят в качестве составных частей в более сложные измерительные приборы или установки и самостоятельного значения при проведении измерений не имеют.
Преобразуемая величина, поступающая на измерительный преобразователь, называется входной, а результат преобразования – выходной величиной. Соотношение между ними задается функцией преобразования, которая является его основной метрологической характеристикой. Для непосредственного воспроизведения измеряемой величины служат первичные преобразователи, на которые непосредственно воздействует измеряемая величина и в которых происходит трансформация измеряемой величины для ее дальнейшего преобразования или индикации. Примером первичного преобразователя является термопара в цепи термоэлектрического термометра. Одним из видов первичного преобразователя является датчик – конструктивно обособленный первичный преобразователь, от которого поступают измерительные сигналы (он «дает» информацию). Датчик может быть вынесен на значительное расстояние от средства измерений, принимающего его сигналы. Например, датчик метеорологического зонда. В области измерений ионизирующих излучений датчиком часто называют детектор.
По характеру преобразования ИП могут быть аналоговыми, аналого-цифровыми (АЦП), цифро-аналоговыми (ЦАП), то есть, преобразующими цифровой сигнал в аналоговый или наоборот. При аналоговой форме представления сигнал может принимать непрерывное множество значений, то есть, он является непрерывной функцией измеряемой величины. В цифровой (дискретной) форме он представляется в виде цифровых групп или чисел. Приме-рами ИП являются измерительный трансформатор тока, термометры сопротивлений.
Измерительный прибор – средство измерений, предназначенное для получения значений измеряемой физической величины в установленном диапазоне. Измерительный прибор представляет измерительную информацию в форме, доступной для непосредственного восприятия наблюдателем.
По способу индикации различают показывающие и регистрирующие приборы. Регистрация может осуществляться в виде непрерывной записи измеряемой величины или путем печатания показаний прибора в цифровой форме.
Приборы прямого действия отображают измеряемую величину на показывающем устройстве, имеющем градуировку в единицах этой величины. Например, амперметры, термометры.
Приборы сравнения предназначены для сравнения измеряемых величин с величинами, значения которых известны. Такие приборы используются для измерений с большей точностью.
По действию
измерительные приборы разделяют на
интегрирующие
и суммирующие, аналоговые и цифровые,
самопишущие и печатающие.
Измерительная
установка и система
– совокупность функционально объединенных
мер, измерительных приборов и других
устройств, предназначенных для измерений
одной или нескольких величин и
расположенная в одном месте (установка)
или в разных местах объекта измерений
(система).
Измерительные системы, как правило,
являются автоматизированными
и по существу они обеспечивают
автоматизацию процессов измерения,
обработки и представления результатов
измерений. Примером измерительных
систем являются автоматизированные
системы радиационного контроля (АСРК)
на различных ядерно-физических установках,
таких, например, как ядерные реакторы
или ускорители заряженных частиц.
По метрологическому назначению средства измерений делятся на рабочие и эталоны.
Рабочее СИ - средство измерений, предназначенное для измерений, не связанное с передачей размера единицы другим средствам измерений. Рабочее средство измерений может использоваться и в качестве индикатора. Индикатор – техническое средство или вещество, предназначенное для установления наличия какой-либо физической величины или превышения уровня ее порогового значения. Индикатор не имеет нормированных метрологических характеристик. Примерами индикаторов являются осциллограф, лакмусовая бумага и т.д.
Эталон - средство измерений, предназначенное для воспроизведения и (или) хранения единицы и передачи ее размера другим средствам измерений. Среди них можно выделить рабочие эталоны разных разрядов, которые ранее назывались образцовыми средствами измерений.
Классификация средств измерений проводится и по другим различным признакам. Например, по видам измеряемых величин, по виду шкалы (с равномерной или неравномерной шкалой), по связи с объектом измерения (контактные или бесконтактные).
1.1 Метрологические характеристики СИ
Оценка пригодности средств измерений для решения тех или иных измерительных задач проводится путем рассмотрения их метрологических характеристик.
Метрологическая характеристика (МХ) – характеристика одного из свойств средства измерений, влияющая на результат измерений и его погрешность. Метрологические характеристики позволяют судить об их пригодности для измерений в известном диапазоне с известной точностью. Метрологические характеристики, устанавливаемые нормативными документами на средства измерений, называют нормируемыми метрологическими характеристиками, а определяемые экспериментально – действительными.
Для каждого типа СИ устанавливаются свои метрологические характеристики. Ниже рассматриваются наиболее распространенные на практике метрологические характеристики.
Диапазон измерений СИ – область значений величины, в пределах которой нормированы его допускаемые пределы погрешности. Для мер это их номинальное значение, для преобразователей — диапазон преобразования. Различают нижний и верхний пределы измерений, которые выражаются значениями величины, ограничивающими диапазон измерений снизу и сверху.
Погрешность СИ — разность между показанием средства измерений – Хп и истинным (действительным) значением измеряемой величины – Хд.
Существует распространенная классификация погрешностей средств измерений. Ниже приводятся примеры их наиболее часто используемых видов.
Абсолютная погрешность СИ – погрешность средства измерений, выраженная в единицах измеряемой величины: ∆Х = Хп – Хд. Абсолютная погрешность удобна для практического применения, т.к. дает значение погрешности в единицах измеряемой величины. Но при ее использовании трудно сравнивать по точности приборы с разными диапазонами измерений. Эта проблема снимается при использовании относительных погрешностей.
Если абсолютная погрешность не изменяется во всем диапазоне измерения, то она называется аддитивной, если она изменяется пропорционально измеряемой величине (увеличивается с ее увеличением), то она называется мультипликативной.
Относительная погрешность СИ – погрешность средства измерений, выраженная отношением абсолютной погрешности СИ к результату измерений или к действительному значению измеренной величины: δ = ∆Х / Хд. Относительная погрешность дает наилучшее из всех видов погрешностей представление об уровне точности измерений, который может быть достигнут при использовании данного средства измерений. Однако она обычно существенно изменяется вдоль шкалы прибора, например, увеличивается с уменьшением значения измеряемой величины. В связи с этим часто используют приведенную погрешность.
Приведенная погрешность СИ – относительная погрешность, выраженная отношением абсолютной погрешности средства измерений к условно принятому значению величины ХN, которое называют нормирующим: γ = ∆Х / ХN.
Относительные и приведенные погрешности обычно выражают либо в процентах, либо в относительных единицах (долях единицы).
Для показывающих приборов нормирующее значение устанавливается в зависимости от особенностей и характера шкалы. Приведенные погрешности позволяют сравнивать по точности средства измерений, имеющие разные пределы измерений, если абсолютные погрешности каждого из них не зависят от значения измеряемой величины.
По условиям проведения измерений погрешности средств измерений подразделяются на основные и дополнительные.
Основная погрешность СИ – погрешность средства измерений, применяемого в нормальных условиях, т.е. в условиях, которые определены в НТД не него как нормальные. Нормальные значения влияющих величин указываются в стандартах или технических условиях на средства измерений данного вида в форме номиналов с нормированными отклонениями. Наиболее типичными нормальными условиями являются:
температура (20 ± 5)ºС;
относительная влажность (65±15) %;
атмосферное давление (100 ± 4) кПа или (750 ± 30) мм рт. ст.;
напряжение питания электрической сети 220 В ± 2% с частотой 50 Гц.
Иногда вместо номинальных значений влияющих величин указывается нормальная область их значений. Например, влажность (30–80)%.
Дополнительная погрешность СИ – составляющая погрешности СИ, возникающая дополнительно к основной погрешности вследствие отклонения какой-либо из влияющих величин от нормального ее значения. Деление погрешностей на основные и дополнительные обусловлено тем, что свойства средств измерений зависят от внешних условий.
Погрешности по своему происхождению разделяются на систематические и случайные.
Систематическая погрешность СИ – составляющая погрешности средства измерений, принимаемая за постоянную или закономерно изменяющуюся. Систематические погрешности являются в общем случае функциями измеряемой величины и влияющих величин (температуры, влажности, давления, напряжения питания и т.п.).
Случайная погрешность СИ – составляющая погрешности средства измерений, изменяющаяся случайным образом. Случайные погрешности средств измерений обусловлены случайными изменениями параметров составляющих эти СИ элементов и случайными погрешностями отсчета показаний приборов.
При конструировании прибора его случайную погрешность стараются сделать незначительной в сравнении с другими погрешностями. У хорошо сконструированного и выполненного прибора случайная погрешность незначительна. Однако при увеличении чувствительности средств измерений обычно наблюдается увеличение случайной погрешности. Тогда при повторных измерениях одной и той же величины в одних и тех же условиях результаты будут различными. В таком случае приходится прибегать многократным измерениям и к статистической обработке получаемых результатов. Как правило, случайную погрешность приборов снижается до такого уровня, что проводить многократные измерений нет необходимости.
Стабильность СИ — качественная характеристика средства измерений, отражающая неизменность во времени его метрологических характеристик.
Градуировочная характеристика СИ – зависимость между значениями величин на входе и выходе средства измерений, полученная экспериментально. Может быть выражена в виде формулы, графика или таблицы.
1.2 Использование СИ
С точки зрения применения в зависимости от решаемой измерительной задачи и дальнейшего использования результатов измерений средств измерений можно разделить на стандартизованные и нестандартизованные.
Стандартизованное СИ - средство измерений, изготовленное и применяемое в соответствии с требованиями государственного или отраслевого стандарта. Стандартизованные средства измерений обычно подвергают испытаниям и вносят в Государственный реестр.
Нестандартизованное СИ – средства измерений, стандартизация требований к которому признана нецелесообразной. К нестандартизованным обычно относятся узко специализированные средства измерений, изготовленные в единичных экземплярах и не предназначенные для массового производства. Измерительные задачи, решаемые с помощью таких средств измерений, носят ограниченный и локальный характер. Как правило, такие средства измерений используются на одном или нескольких предприятиях для вспомогательных измерений. Часто они применяются в качестве индикаторов. К понятию стандартизованного средства измерений примыкает понятие узаконенного средства измерений.
Узаконенное СИ – средство измерений, признанное годным и допущенное для применения уполномоченным на то органом. Примеры узаконенных средств измерений: государственные эталоны становятся таковыми в результате утверждения национальным органом по стандартизации, рабочие средства измерений, предназначенные для серийного выпуска, которые узакониваются путем утверждения тип (см. ниже).
Все многообразие средств измерений подразделяется на типы и виды.
Тип средств измерений – совокупность средств измерений одного и того же назначения, основанных на одном и том же принципе действия, имеющих одинаковую конструкцию и изготовленных по одной технической документации. То есть, это абсолютно одинаковые приборы, различающиесятип средств измерений лишь заводскими номерами. В отличии от типа различают вид средств измерений, который включает в себя их более широкий круг.
Вид средства измерений – совокупность СИ, предназначенных для измерения данной физической величины. Вид средств измерений может включать в себя несколько их типов. Например, амперметр является видом средства измерений для измерения силы тока.
Возможность или невозможность использования средства измерения для решения поставленной измерительной задачи характеризуется такими понятиями, как метрологическая исправность и метрологический отказ.
Метрологическая исправность СИ – состояние средств измерений, при котором все нормируемые метрологические характеристики соответствуют установленным требованиям. Тогда они могут использоваться в соответствии с их назначением и метрологическими характеристиками.
Метрологический отказ СИ – выход метрологической характеристики средства измерений за установленные пределы. Если метрологический отказ произошел из-за технических неполадок, то они должны быть устранены. Если же прибор технически исправен, то в случае метрологического отказа его класс точности должен быть понижен.
1.3 Нормирование погрешностей СИ
Средства измерений можно использовать только тогда, когда известны их метрологические характеристики. Обычно указываются номинальные значения параметров средств измерений и допускаемые отклонения от них. Сведения о метрологических характеристиках приводятся в технической документации на средства измерений или указываются на них самих. Как правило, реальные метрологические характеристики имеют отклонения от их номинальных значений. Поэтому устанавливают границы для отклонений реальных метрологических характеристик от номинальных значений – нормируют их. Нормирование метрологических характеристик средств измерений позволяет избежать произвольного установления их характеристик разработчиками.
C помощью нормируемых метрологических характеристик решаются следующие основные задачи: предварительный расчет с их помощью погрешностей результатов технических измерений (до проведения измерений); выбор средств измерений по заданным характеристикам их погрешностей.
Нормирование характеристик СИ проводится в соответствии с положениями стандартов. Например, ГОСТ 8.009-84 «ГСИ. Нормируемые метрологические характеристики средств измерений». Соответствие средств измерений установленным для них нормам делает эти средства взаимозаменяемыми.
Одной из важнейших метрологических характеристик СИ является их погрешность, знание которой необходимо для оценивания погрешности измерения.
Необходимо отметить, что погрешность СИ является только одной из составляющих погрешности результата измерений, получаемого с использованием данного СИ. Другими составляющими являются погрешность метода измерений и погрешность оператора, проводящего измерения.
Погрешности средств измерений могут быть обусловлены различными причинами: неидеальностью свойств средства измерений, то есть отличием его реальной функции преобразования от номинальной; воздействием влияющих величин на свойства средств измерений; взаимодействием средства измерений с объектом измерений — изменением значения измеряемой величины вследствие воздействия средства измерения; методами обработки измерительной информации, в том числе с помощью средств вычислительной техники.
Погрешности конкретных экземпляров СИ устанавливают только для эталонов, для остальных СИ вся информация об их погрешностях представляет собой те нормы, которые для них установлены. Нормирование погрешностей изложено в Рекомендации 34 МОЗМ «Классы точности средств измерений» и в ГОСТ 8.401-80 «Классы точности средств измерений. Общие требования ».
В основе нормирования погрешностей средств измерений лежат следующие основные положения.
1. В качестве норм указывают пределы допускаемых погрешностей, включающие в себя систематические и случайные составляющие.
Под пределом допускаемой погрешности понимается наибольшее значение погрешности средства измерений, при котором оно еще признается годным к применению. Обычно устанавливают пределы, т.е. зоны, за которую не должна выходить погрешность. Данная норма отражает то положение, что средства измерений можно применять с однократным считыванием показаний.
2. Порознь нормируют все свойства СИ, влияющие на их точность: отдельно нормируют основную погрешность, по отдельности – все дополнительные погрешности и другие свойства, влияющие на точность измерений. При выполнении данного требования обеспечивается максимальная однородность средств измерений одного типа, то есть близкие значения дополнительных погрешностей, обусловленных одними и теми же факторами. Это дает возможность заменять один прибор другим однотипным без возможного увеличения суммарной погрешности.
Пределы допускаемых погрешностей средств измерения применяются как для абсолютной, так и для относительной погрешности.
Пределы допускаемой абсолютной погрешности устанавливают по формуле ∆ = ± а для аддитивной погрешности. Для мультипликативной погрешности они устанавливаются в виде линейной зависимости
∆ = ± (а + bх),
где х – показание измерительного прибора, а и b – положительные числа, не зависящие от х.
Предел допускаемой относительной погрешности (в относительных единицах) для мультипликативной погрешности устанавливают по формуле
δ = ∆ / х = ± c.
Для аддитивной погрешности формула имеет вид:
δ = ∆ / х = ± [ c + d ( xk / x – 1)]
где xk — конечное значение диапазона измерений прибора; c и d - относительные величины.
Первое слагаемое в этой формуле имеет смысл относительной погрешности при х = хk , второе — характеризует рост относительной погрешности при уменьшении показаний прибора. Пределы допускаемой приведенной погрешности (в процентах) следует устанавливать по формуле
γ = 100∆ / xN = ± р
где xN – нормирующее значение; р - отвлеченное положительное число из ряда 1; 1,5; 2; 2,5; 4; 5; 6, умноженное на 10n ( n = 1, 0, -1, -2 и т.д.)
Нормирующее значение принимается равным: конечному значению шкалы (если 0 находится на краю шкалы), сумме конечных значений шкалы (если 0 внутри шкалы), номинальному значению измеряемой величины, длине шкалы.
1.4 Класс точности СИ и его обозначение
Установление рядов пределов допускаемых погрешностей позволяет упорядочить требования к средствам измерений по точности. Это упорядочивание осуществляется путем установления классов точности СИ.
Класс точности СИ – обобщенная характеристика данного типа СИ, отражающая уровень их точности, выражаемая пределами допускаемой основной, а в некоторых случаях и дополнительных погрешностей, а также другими характеристиками, влияющими на точность. Класс точности применяется для средств измерений, используемых в технических измерениях, когда нет необходимости или возможности выделить отдельно систематические и случайные погрешности, оценить вклад влияющих величин с помощью дополнительных погрешностей. Класс точности позволяет судить о том, в каких пределах находится погрешность средств измерений одного типа, но не является непосредственным показателем точности измерений, выполняемых с помощью каждого из этих средств. Класс точности СИ конкретного типа устанавливают в стандартах технических требований или других нормативных документах.
При выражении предела допускаемой основной погрешности в форме абсолютной погрешности класс точности в документации и на средствах измерения обозначается прописными буквами латинского алфавита или римскими цифрами. Чем дальше буква от начала алфавита, тем больше погрешность. Расшифровка соответствия букв значению абсолютной погрешности осуществляется в технической документации на средство измерения.
Выражение класса точности через относительные и приведенную погрешности рассмотрено в предыдущем разделе
В настоящее время по отношению к современным средствам измерений понятие класс точности применяется довольно редко. В основном он чаще всего используется для описания характеристик электроизмерительных приборов, аналоговых стрелочных приборов всех типов, некоторых мер длины, весов, гирь общего назначения, манометров.
Примеры обозначение классов точности для различных форм выражения погрешности приведены в таблице 1.
Таблица 1. Обозначение классов точности
|
Пределы допускаемой основной погрешности |
Обозначения |
Форма выражения погрешности |
|
|
в документации |
на приборе |
||
|
γ = ± 1,5 |
Класс точности 1,5 |
1,5 |
Приведенная погрешность |
|
δ = ± 0,5 |
Класс точности 0,5 |
0,5 |
Относительная погрешность, постоянная |
|
δ = ± [ 0,02 + 0,01( xk/x –1)] |
Класс точности 0,02/0,01 |
0,02/0,01 |
Относительная погрешность, возрастает с уменьшением х |
1.5 Эталоны и их использование
Решение задачи обеспечения единства измерений требует тождественности единиц одной и той же величины, которые передаются средствам измерения. Это достигается путем точного воспроизведения и хранения единиц физических величин и передачи их размеров используемым средствам измерений. Воспроизведение, хранение и передача размеров единиц осуществляется с помощью эталонов. Под воспроизведением единицы физической величины понимается совокупность операций по ее материализации путем создания фиксированной по размеру физической величины в соответствии с ее определением.
Эталоны классифицируются по различным признакам. Так, они делятся на первичные, вторичные и рабочие. Первичный эталон воспроизводит единицу с наивысшей (по сравнению с другими эталонами той же величины) точностью. Государственный первичный эталон - это эталон, признанный в качестве исходного на территории государства. Вторичный эталон получает размер единицы от первичного эталона. Рабочий эталон предназначен для передачи размера единицы рабочим средствам измерений, так как для поверки многочисленных рабочих средств измерений нецелесообразно использовать очень точный и дорогой первичный эталон. Этот термин заменяет применявшийся ранее термин образцовое средство измерений. Рабочие эталоны подразделяют на разряды: 1-й, 2-й и т.д.
Эталонная база РФ состоит из 118 государственных эталонов и более 300 вторичных эталонов. Государственные эталоны служат для воспроизведения физических величин, поэтому структура эталонной базы соответствует структуре единиц СИ. Основа этой базы — эталоны основных единиц СИ кроме эталона единицы количества вещества (моль). Одной из причин того, что эталон единицы количества вещества не создан, является недостаточная четкость определения этой единицы и отсутствует метод ее измерения в соответствии с определением. Тем более, эту единицу трудно назвать основной, так как в ее определение связано с единицей массы. Вполне возможно, что эта единица будет переведена в разряд специальных единиц массы.
Большинство эталонов сосредоточено в двух метрологических институтах РФ - Всероссийском научно-исследовательском институте метрологии им. Д.И. Менделеева (ВНИИМ) и Всероссийском научно-исследовательском институте физико-технических и радиотехнических измерений (ВНИИФТРИ).
В области измерения параметров ионизирующих излучений применяются 14 государственных эталонов: 9 во ВНИИМ, 5 во ВНИИФТРИ.
Эталоны предназначены не только для воспроизведения единицы физической величины, но и для передачи ее размера другим эталонам и рабочим средствам измерений. Под передачей размера единицы величины понимается приведение размера величины, хранимой средством измерений, к размеру единицы, воспроизводимой эталоном. Эта процедура осуществляется при поверке средств измерений.
Поверка средств измерений – установление органом государственной метрологической службы (или другим официально уполномоченным органом, организацией) пригодности СИ к применению на основе экспериментально определяемых метрологических характеристик и подтверждения их соответствия установленным обязательным требованиям.
Поверке подвергают СИ, подлежащие государственному метрологическому контролю и надзору и используемые в здравоохранении, охране окружающей среды, обеспечении безопасности труда, обороны, в торговых, банковских, почтовых операциях, при испытаниях контроля качества продукции и в других важных сферах деятельности.
При поверке рабочих средств измерений используют эталон, как правило, рабочий эталон, а процедура проведения поверки регламентируется обязательными требованиями, которые устанавливаются нормативными документами по поверке. В качестве таких документов используются либо методические указания по поверке, либо государственные (национальные) стандарты. Например, ГОСТ 8.355-79. «Радиометры нейтронов. Методы и средства поверки».
Общие вопросы организации и проведения поверки регламентируются Правилами по метрологии Государственной системы обеспечения единства измерений (ГСИ). Например, «ПР 50.2.006-94. Правила по метрологии. Порядок проведения поверки средств измерений».
Проводят поверку специально обученные специалисты, аттестованные в качестве поверителей органами Государственной метрологической службы.
Результаты поверки средств измерений, признанных годными к применению, оформляют выдачей свидетельства о поверке, нанесением поверительного клейма на приборы или в техническую документацию (паспорт) прибора. Поверку СИ могут проводить также метрологические службы юридических лиц, аккредитованные на право поверки средств измерений в государственных метрологических органах.
Поверка подразделяется на первичную (при выпуске средств измерений), периодическую (при их эксплуатации), внеочередную, инспекционную (при различных проверках), комплектную (всей измерительной установки или системы целиком), поэлементную (отдельных элементов установки или системы), выборочную (отдельных экземпляров средств измерений).
Передача размера единицы от эталона к рабочим средствам измерений регламентируется поверочными схемами.
Поверочная схема для СИ – нормативный документ, устанавливающий соподчинение средств измерений, участвующих в передаче размера единицы от эталона к рабочим средствам измерений, с указанием методов и погрешности при передаче. Различают государственные (на все средства измерений данной величины в стране) и локальные поверочные схемы (на средства измерений в регионе, отрасли, предприятии). Требования к поверочным схемам определены стандартом ГСИ «ГОСТ 8.061-80. Поверочные схемы. Содержание и построение».
В качестве примера стандарта на поверочную схему для средств измерений конкретного типа можно привести Межгосударственный стандарт ГСИ «ГОСТ 8.033-96. Государственная поверочная схема для средств измерений активности радионуклидов, потока и плотности потока альфа-, бета-частиц и фотонов радионуклидных источников».
Средства измерений, не входящие в сферу государственного метрологического контроля, могут подвергаться калибровке.
Калибровка СИ – совокупность операций, устанавливающих соотношение между значением величины, полученным с помощью данного СИ и соответствующим значением величины, определенной с помощью эталона, с целью определения действительных метрологических характеристик этого СИ. Результаты калибровки позволяют определять: действительные значения измеряемой величины; поправки к показаниям средств измерений; погрешность средств измерений.
Результаты калибровки удостоверяются калибровочным знаком, наносимым на СИ, или сертификатом о калибровке. Калибровке присущ ряд особенностей по сравнению с поверкой. Это добровольная процедура и она может выполняться любой метрологической службой. При этом аккредитация на право калибровки также является добровольной (не обязательной) процедурой.
Отмеченные особенности калибровки являются следствием разгосударствления процессов контроля за метрологической исправностью средств измерений – отказом от их всеобщей обязательности поверки.
Хотя калибровка может проводиться любой метрологической службой и является добровольной процедурой, для ее проведения необходимы определенные условия. Основное из них – прослеживание измерений, т.е. обязательная передача размера единицы от эталона к калибруемому рабочему средству измерений.
Для организации работ по калибровке в РФ создана Российская система калибровки (РСК), в которую входят государственные научные метрологические центры, органы ГМС, метрологические службы юридических лиц, объединенные целью ОЕИ в сферах, не подлежащих государственному метрологическому контролю и надзору.
Российская система калибровки базируется на следующих принципах: обязательность передачи размеров единиц от государственных эталонов к рабочим СИ; профессионализм и техническая компетентность; самоокупаемость.
2 Вихретоковые преобразователи
Вихретоковые преобразователи (вихретоковые датчики) предназначены для бесконтактного измерения вибрации перемещения и частоты вращения электропроводящих объектов. Они применяются для диагностики состояния промышленных турбин, компрессоров, электромоторов. Наиболее часто объектом контроля является осевое смещение и радиальная вибрация вала ротора относительно корпуса.
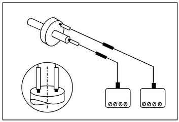
Вихретоковый преобразователь (eddy current probe) состоит из бесконтактного вихревого пробника, удлинительного кабеля и электронного блока (рис.1). Преобразователь часто называют вихретоковой датчиковой системой. Вихревой пробник представляет собой металлический зонд с диэлектрическим наконечником (в который заключена катушка) на одном конце и отрезком коаксиального кабеля на другом. С помощью коаксиального удлинительного кабеля пробник подключается к электронному блоку.
Электронный блок вырабатывает сигнал возбуждения пробника и осуществляет выделение информативного параметра. Выходным сигналом является электрический сигнал, прямо пропорциональный расстоянию от торца вихревого пробника до контролируемого объекта.

Рисунок 1.
Принцип работы
В торце диэлектрического наконечника вихревого пробника находится катушка индуктивности (рис.2).

Рисунок 2.
Электронный блок обеспечивает возбуждение электромагнитных колебаний в катушке, в результате чего возникает электромагнитное поле, которое взаимодействует с материалом контролируемого объекта.
Если материал обладает электропроводностью, на его поверхности наводятся вихревые токи, которые, в свою очередь, изменяют параметры катушки - ее активное и индуктивное сопротивление. Параметры меняются при изменении зазора между контролируемым объектом и торцом датчика.
Электронный блок преобразует эти изменения в электрический сигнал, осуществляет его линеаризацию и масштабирование.
Конструкция
Наибольшее количество вариантов исполнения имеет пробник (зонд), поскольку его конструкция зависит от места монтажа и диапазона измерения.
Пробник может подключаться к 'лектронному блоку напрямую или через удлинительный кабель. Для защиты от механического повреждения соединительный кабель защищается металлорукавом.
Электронный блок представляет собой герметичную металлическую коробку, на которой имеется коаксиальный соединитель для подключения кабеля, а также клеммы питания, заземления, общего провода и выходного сигнала.
Частотные характеристики
Вихретоковые преобразователи обладают хорошим частотным откликом (реакция на изменение расстояния между торцом пробника и объектом контроля). Частотный диапазон может достигать 0 - 10 000 Гц. При этом неравномерность амплитудно-частотной характеристики не превышает 0,5 дБ.
Вход и выход
Входным параметром вихретокового преобразователя является величина зазора между торцом пробника и электропроводящим объектом. Величина измеряемого зазора составляет несколько миллиметров и зависит от диаметра катушки, заключенной в торце диэлектрического наконечника. Выходной сигнал, пропорциональный измеряемому зазору, может быть представлен в виде напряжения, тока или в цифровом формате (определяется типом системы наблюдения).
Для электронных блоков с выходным сигналом в виде напряжения указывают чувствительность (коэффициент преобразования зазора в электрический сигнал), которая в большинстве случаев составляет 8 мВ/мкм. Часто для сопряжения вихретокового преобразователя с типовыми системами мониторинга необходимо дополнительное преобразование выходного напряжения в формат 4 - 20 мА токовой петли или в цифровой вид.
Устройства, сочетающие функции драйвера и дополнительного формирователя, называют трансмиттерами.
Области применения
Приоритетной областью использования вихретоковых преобразователей является контроль осевого смещения и поперечного биения валов больших турбин, компрессоров, электромоторов, в которых используются подшипники скольжения. Применение для этих целей датчиков скорости и ускорения, хотя и допустимо, но неоправданно, поскольку из-за уменьшения коэффициента пропорциональности между вибросмещением ротора и опоры на низких скоростях вращения, а также значительного (3…10 раз) ослабления вибрации ротора массивным корпусом установки, результат будет иметь большую погрешность. Вихретоковый метод, напротив, обладает исключительной точностью, поскольку не только не имеет нижнего предела по частоте, но и не требует математической обработки результатов измерения ввиду прямого соответствия выходного сигнала текущему смещению вала или измерительного буртика относительно корпуса.
В малых турбинах, генераторах и компрессорах, где используются подшипники качения и масса корпуса относительно невелика, для измерения вибрации вала целесообразно использовать датчики скорости и ускорения, размещаемые на корпусе механизма.
Радиальная вибрация
Для измерения величины радиальной вибрации, как правило, используют два датчика, установленные перпендикулярно валу и развернутые относительно друг друга на 90o (рис.3).

Рисунок 3.
Ортогональное X-Y размещение пробников улучшает диагностические возможности, поскольку позволяет получать как суммарную информацию, так и раздельную по каждой координате, а при наличии соответствующих средств мониторинга позволяет визуально наблюдать орбиту движения вала в радиальной плоскости. Кроме того, измерение векторов вибросмещения в нескольких плоскостях позволяет построить линию динамического прогиба вала.
Осевое смещение
Для измерения осевого сдвига датчик размещают перпендикулярно плоскости торца вала и (или) плоскости измерительного буртика (рис. 4).

Рисунок 4.
В некоторых случаях для надежности используют два датчика (основной и резервный).
Частота вращения
Вихретоковые преобразователи часто используются для измерения частоты вращения ротора (рис. 5). Формирование отклика датчика обычно обеспечивается небольшим углублением на валу, полученным методом фрезерования. Такой датчик можно использовать совместно с X-Y датчиками радиальной вибрации. В этом случае датчик выполняет функции формирователя фазовой метки, относительно которой определяется ориентация орбиты движения вала. Для формирования отклика датчика могут использоваться конструктивные особенности ротора, например, наличие шестерни.

Рисунок 5.
Использование в вихретоковом преобразователе трансмиттера вместо драйвера позволяет получить на выходе сигнал, величина которого прямо пропорциональна числу оборотов в минуту.
Вихретоковые преобразователи применимы:
для измерения эксцентриситета валов;
для измерения толщины диэлектрических (лакокрасочных) покрытий на металлическом основании;
для измерения величины относительного температурного расширения механизмов;
для измерения величины износа трущихся деталей и механизмов;
в качестве бесконтактных концевых выключателей;
для измерения слоя металлизации на диэлектрическом основании.
Системная конфигурация
Предлагается несколько основных конфигураций вихретоковых преобразователей, отличающихся диаметром катушки пробника, длиной кабеля, параметрами выходного сигнала и характером измеряемой величины. Диаметр катушки пробника определяет диапазон измерения и площадь взаимодействия электромагнитного поля с контролируемым объектом. Считается, что площадь взаимодействия не выходит за пределы воображаемой окружности на поверхности объекта, диаметр которой равен двойному диаметру катушки пробника. Последнее обстоятельство необходимо учитывать при выборе места монтажа пробника, а также при контроле поперечной вибрации вала, поскольку в этом случае облучаемая поверхность цилиндрическая, что является причиной возникновения систематической погрешности, которая растет с увеличением диаметра катушки и уменьшением диаметра вала.
Для каждой комбинации - "диаметр катушки + длина системного кабеля" калибруется собственный драйвер или трансмиттер, на который наносится соответствующая маркировка. Несоответствие длины системного кабеля или диаметра катушки пробника маркировке драйвера или трансмиттера приводит к увеличению погрешности.
В таблице 3 приведены основные системные характеристики, позволяющие пользователю определить подходящую конфигурацию датчиковой системы для решения существующей прикладной задачи.
Пример:
АР2000A - 05.05.0 (вихретоковый датчик без металлорукава, с драйвером D200А для пробника с 5 мм катушкой, системная длина – 5 м).
АР2200A - 19.09.1 (вихретоковый датчик с металлорукавом, с трансмиттером Т220А для пробника с 19 мм катушкой, системная длина – 9 м).
*1 - возможна калибровка датчика на длину системы до 20 м.
*2 - взрывозащищённое исполнение (1Exib II AT4).
Таблица 3. Основные характеристики вихретоковых преобразователей
|
Тип электронного блока |
Модель |
Диаметр катушки пробника |
Диапазон измерения |
Чувствительность, выходной диапазон |
Системная длина*1 |
Измеряемая величина |
|
драйвер |
АР2000A*2 |
5 мм |
0,3 - 2,3 мм |
-8 мВ/мкм |
5/9 м |
Вибрация, смещение |
|
8 мм |
0,3 - 3,0 мм |
-8 мВ/мкм |
5/9 м |
|||
|
19 мм |
1,0 - 8,0 мм |
-2 мВ/мкм |
5/9 м |
|||
|
трансмиттер |
АР2200A |
5 мм |
0,3 - 2,3 мм |
4 - 20 мА |
5/9 м |
Вибрация, смещение |
|
8 мм |
0,3 - 3,0 мм |
4 - 20 мА |
5/9 м |
|||
|
19 мм |
1,0 - 8,0 мм |
4 - 20 мА |
5/9 м |
|||
|
АР2300 |
5 мм |
5 -30 000 об/мин |
4 - 20 мА |
5/9 м |
Частота вращения |
Обозначение
|
АР |
ХХХХ- |
ХХ. |
ХХ.*1 |
Х |
|
Модель (см. таблицу выше): 2000A, 2200A, 2300 |
Диаметр катушки пробника: 05, 08, 19 (5, 8 и 19 мм соответственно) |
Системная длина: 05, 09, … |
0 - без металлорукава, 1 - с металлорукавом |
3 Си геометрических и механических величин
3.1 Единицы Си геометрических величин
Измерение геометрических величин осуществляется путём линейных и угловых измерений размеров. Основная единица длины в современной Международной системе единиц - метр.
Линейные размеры могут быть выражены в кратных и дольных единицах.
1 метр (м) = 100 сантиметрам (см) = 1000 миллиметрам (мм) = 1 000 000 микрометрам (мкм).
Правила нанесения размеров и их предельных отклонений на чертежах и в другой технической документации устанавливает ГОСТ 2.307.
Предельные отклонения размеров, а также предельные отклонения формы и расположения поверхностей являются основанием для определения требуемой точности изделия при изготовлении и контроле.
Линейные размеры и их предельные отклонения на чертежах и в спецификациях указывают в миллиметрах, без обозначения единицы измерения.
Так как шероховатость поверхности в процессе сборки и эксплуатации изделия может привести к дополнительным отклонениям размера и формы за счёт износа микро неровностей при трении или в результате их смятия и сглаживания при запрессовке под действием нагрузок, необходимо указывать в конструкторской документации наиболее грубый предел допускаемых значений шероховатости.
Требования к шероховатости поверхности не включают требований к дефектам поверхности, поэтому при контроле шероховатости поверхности влияние дефектов поверхности должно быть исключено.
За единицу измерения плоского угла в Международной системе единиц «СИ» принят радиан - угол между радиусами (сторонами угла), вырезающий на окружности дугу, длина которой равна радиусу.
При измерении геометрических величин следует учитывать влияние на результаты измерений внешних условий: температуры окружающей среды, атмосферного давления, относительной влажности и других нормальных условий выполнения измерений линейных и угловых величин.
Линейные измерения
Числовое значение физической величины длины в машиностроении называется размером.
За размер принимается расстояние между двумя точками.
Значение физической величины, которое идеальным образом характеризовало бы в качественном и количественном отношении соответствующую физическую величину называется истинным значением величины.
На практике «истинное значение физической величины длины» заменяется «действительным значением», то есть значением полученным путём измерений и настолько близким к истинному значению, что в условиях измерительной задачи может быть использовано вместо него.
В зависимости от количества выявленных размеров методы и средства линейных измерений следует разделять на дифференцированные (поэлементные) и комплексные.
Дифференцированным (поэлементным) называется измерение, при котором у детали сложной формы каждый составляющий элемент или параметр измеряется отдельно.
Дифференцированные измерения необходимо применять при технологическом контроле (контроль режимов, характеристик, параметров технологического процесса), так как позволяет выявить отклонения отдельных элементов за пределы допускаемых значений и установить какой параметр технологического процесса оказывает доминирующее влияние на погрешность изготовления размеров отдельных элементов.
Пример - При измерении резьбовой детали отдельно измеряют наружный, внутренний, средний диаметры, размер шага и половину угла профиля резьбы.
Комплексными называются измерения, при которых оцениваются свойства, близкие к эксплуатационным. Такие измерения удобны для приемочного контроля.
Пример - Измерение резьбы детали резьбовым калибром.
Выбор средств измерений линейных величин по точности заключается в определении оптимального соотношения между погрешностью средств измерений и допуском контролируемого параметра.
Погрешности измерения, отражённые в данных документах, являются наибольшими допускаемыми погрешностями измерений, включающими в себя все составляющие, зависящие от измерительных средств, установочных мер, температурных деформаций, базирования и так далее.
Угловые измерения
Углом в плоскости называется геометрическая фигура, образованная двумя лучами, выходящими из одной точки.
В машиностроении значение плоского угла выражается в:
радианах, «рад» - (единица «СИ»),
градусах «°», минутах «’», секундах «’’» - (дополнительные единицы);
приращении размера в линейной мере на определённой длине.
При нормировании точности угла величину допуска следует задавать в зависимости от длины меньшей стороны, образующей угол, а не от номинального значения угла.
Степени точности угловых размеров устанавливает ГОСТ 8908.
Понятие «степень точности» идентично понятиям «квалитет», «класс точности».
При измерении угловых размеров следует пользоваться следующими МВИ:
сравнение с мерой, имеющей постоянное значение (меры угловые призматические, угольники, конусные калибры);
сравнение с углом на величину которого настроен прибор (синусные линейки и приборы, основанные на использовании принципа синусной линейки);
сравнение с угловой шкалой прибора (оптическая делительная головка, гониометр, угломер, уровень);
определение угла измерением координат образующих угол (микроскоп, координатно-измерительная машина, пневматические калибры-пробки для измерения конуса и т.д.).
Выбор средств измерений угловых размеров по точности должен заключаться в определении оптимального соотношения между погрешностью средств измерений и допуском контролируемого параметра.
Средства измерений назначены из наиболее неблагоприятных условий их применения (погрешность измерения максимальная, средство измерений нагревается от тепла рук оператора, перемещение измерительных элементов наибольшее и так далее).
Из указанных средств измерений следует выбирать более производительное, простое в использовании и требующее меньшей квалификации оператора.
3.2 Единицы Си механических величин
Все расчеты в проекте должны быть выполнены в единицах СИ, наименования, обозначения и правила применения которых установлены ГОСТ 8.417 — 81 (СТ СЭВ 1052 — 78) «Единицы физических величин», введенным в действие с 1 января 1982г.
Величины, выраженные в единицах устаревших систем, необходимо перевести в СИ умножением на пересчетный коэффициент (таблица 4): например, сила F=78,35 кгс (кгс — единица силы в системе МКГСС) в СИ должна быть выражена в ньютонах, значит F=78,35·9,81= 768,4 Н.
При переводе необходимо сохранять точность прежнего значения величины. Для этого необходимо полученный результат округлить до такого числа значащих цифр, сколько их было в заданном значении величины.
Важнейшие характеристики физической величины X: значение, т. е. оценка величины, выраженная произведением отвлеченного числа {X} на принятую для данной физической величины единицу [Х]: Х={X}·[Х]; размерность - dimX - связь данной величины с величинами, принятыми за основные в системе СИ.
Для механики приняты три основные системные величины: длина l, масса m и время t. Для этих величин условно приняты следующие размерности: diml=L; dimm=M; dimt=T. Употреблять термин «размерность» вместо терминов «единица физической величины» или «обозначение единицы» неправильно. Например: правильно выражение: «единица скорости - метр в секунду (м/с)», а выражение: «размерность скорости—метр в секунду» является неправильным.
Основными единицами СИ для механики приняты: единица длины - метр (м), единица массы - килограмм (кг), единица времени - секунда (с).
Дополнительными единицами СИ являются: радиан - единица плоского угла СИ и стерадиан — единица телесного угла СИ.
Производные единицы СИ образуются из основных, дополнительных и ранее образованных производных единиц СИ.
Нельзя использовать устаревшие наименования физических величин, например:
Устаревшее наименование
Число оборотов вала в единицу времени
Число ударов (импульсов) в единицу времени
Ускорение силы тяжести
Абсолютное давление
Производительность насоса
Современное наименование
Частота вращения вала
Частота ударов (импульсов)
Ускорение свободного падения
Давление
Подача (объемная) насоса
Для образования когерентных единиц СИ используют уравнения связи между величинами, называемые определяющими уравнениями.
Например, для давления определяющее уравнение p=F/S, где р - давление, вызванное силой F, равномерно распределенной по поверхности, площадь которой равна. S.
Угловая скорость и частота вращения имеют одинаковую размерность (T-1), но разные единицы измерения: угловая скорость [w]=1 рад/с, частота вращения [n]= 1 с-1, угловая частота [w]=1 с-1; следовательно, по единице физической величины иногда нельзя судить о самой величине.
Единицу, в целое число раз большую системной или внесистемной единицы, называют кратной, например киловатт (103 Вт), минута (60 с), мегапаскаль (106 Па). Единицу, в целое число раз меньшую системной или внесистемной единицы, называют дольной, например миллиметр (10-3 м).
При практическом использовании единицы СИ могут оказаться слишком большими или слишком малыми. Поэтому разрешается в таких случаях использовать кратные и дольные единицы, которые образуют с помощью особых приставок.
При выполнении курсовых проектов обычно используют следующие приставки и их обозначения (даны в скобках): 103 - кило (к); 106 - мега (м); 10-3 - милли (м); 10-6 - микро (мк). При расчетах рекомендуется все величины выражать в единицах СИ, заменяя приставки степенями числа 10, а десятичные кратные или дольные единицы подставлять только в конечный результат.
Масштабы и масштабные коэффициенты. Отношение длины отрезка на чертеже (схеме, графике) в миллиметрах, изображающего какую-либо физическую величину, к значению величины в принятых единицах называют масштабом и обозначают греческой буквой m с соответствующим индексом: масштаб длины ml=(длина отрезка на чертеже, мм)/(значение длины, м), или [ml]=мм/м;
данное выражение читается так:
- единицей масштаба длины является отношение мм/м; масштаб силы mF=( длина отрезка на чертеже, мм)/(значение силы, Н), [mF]=мм/Н
- единицей масштаба сил является отношение мм/Н; масштаб энергии mT=( длина отрезка на чертеже, мм)/(значение энергии, Дж), [mT]=мм/Дж
-единицей масштаба энергии является отношение мм/Дж.
Величина, обратная масштабу, т. е. отношение значения физической величины в единицах СИ к длине отрезка в мм, изображающего эту величину на схеме, графике, называется масштабным коэффициентом и обозначается латинской буквой K с соответствующим индексом. Например, масштабный коэффициент длины Kl=(значение длины, м)/(длина отрезка на чертеже, мм), или [Kl]=м/мм;
Таблица 4. Размерности и единицы СИ механических величин
|
Физическая величина |
Единица СИ |
Пересчетный коэффициент (при переходе к единицам СИ) |
|||
|
наименование |
размерность |
обозначение |
наименование |
обозначение |
|
|
Длина |
L |
l |
метр |
м |
------ |
|
Масса |
M |
m |
килограмм |
кг |
9,81 (кгс·с2/м = кг) |
|
Время |
T |
t |
секунда |
с |
60 (мин = с) |
|
Угол скорости |
l |
|
радиан |
рад |
1,75·10-2 (град = рад) |
|
Площадь |
L2 |
A, S |
квадратный метр |
м2 |
------ |
|
Перемещение точки |
L |
s |
метр |
м |
------ |
|
Скорость (линейная) |
LT-1 |
v |
метр в секунду |
м/с |
1,67·10-2 (м/мин = м/c) |
|
Ускорение (линейное) |
LT-2 |
a |
метр на секунду в квадрате |
м/с2 |
------ |
|
Угловая скорость |
T-1 |
|
радиан на секунду |
рад/с |
------ |
|
Угловое ускорение |
T-2 |
|
радиан на секунду в квадрате |
рад/с2 |
------ |
|
Период |
T |
T |
секунда |
с |
------ |
|
Частота периодического процесса |
T-1 |
, f |
герц |
Гц |
------ |
|
Частота вращения |
>> |
n |
секунда в минус первой степени |
с-1 |
1,67·10-2 (об/мин = об/c) |
|
Угловая частота |
>> |
|
>> |
>> |
------ |
|
Частота дискретных событий (ударов, подач, импульсов) |
>> |
n |
>> |
>> |
------ |
|
Плотность (плотность массы) |
L-3M |
|
килограмм на кубический метр |
кг/м3 |
------ |
|
Линейная плотность |
L-1M |
l |
килограмм на метр |
кг/м |
------ |
|
Момент инерции |
L2M |
J(I) |
килограмм-метр в квадрате |
кг·м2 |
9,81 (кгс·м·c2 = кг·м2) |
|
Сила |
LMT-2 |
F |
ньютон |
Н(кг·м/c2) |
9,81 (кгс = Н) |
|
Вес |
>> |
G |
>> |
>> |
9,81 (кгс = Н) |
|
Момент силы |
L2MT-2 |
M |
ньютон-метр |
Н·м |
9,81 (кгс·м = Н·м) |
|
Вращающий момент, момент пары сил |
>> |
T, M |
>> |
>> |
9,81 (кгс·м = Н·м) |
|
Давление |
L-1MT-2 |
p |
паскаль |
Па(Н/м2) |
0,981·105 (ат = Па) 0,0981 (ат = МПа; кгс/см2 = МПа) |
|
Работа |
L2MT-2 |
A, W |
джоуль |
Дж(Н·м) |
9,81 (кгс·м = Дж) |
|
Энергия |
>> |
E, W |
>> |
>> |
------ |
|
Потенциальная энергия |
>> |
Eп, U |
>> |
>> |
------ |
|
Кинетическая энергия |
>> |
Eк, T |
>> |
>> |
------ |
|
Мощность |
L2MT-3 |
P, N |
ватт |
Вт(Дж/с) |
0,735 (л.с. = кВТ) |
|
Маховой момент |
L2M |
mD2 |
килограмм-метр в квадрате |
кг·м2 |
1 (кгс·м2 = кг·м2) |
Список литературы
1. Кулаков М.В. Технологические измерения и приборы для химических производств. Учебник, 3-е издание. - М.: Машиностроение.1983.-424 с.
2.Фарзане Н.Г., Илясов Л.В.,Азим-Заде А.Ю. Технологические измерения и приборы. учебник, 3-е издание.-М.: Высшая школа, 1989-345 с.
3. Петров И.К. Технологические измерения и приборы в пищевой промышленности. Учебник.- М.: Анропроиздат,1985.-244 с.
4. Кузнецов Н.Д., Чистяков В.С. Сборник задач и вопросов по теплотехническим измерениям и приборам. -М.:Энергопромиздат,1985.-328 с.
5. Промышленные роботы и средства автоматизации. Справочник/ Под. Ред. В.В. Черенкова.- Л.:Машиностроение,1987.-847 с.
6.Келин Ю.М. Типовые элементы систем автоматизированного управления.-М.:Форум:инфаМ.2002 г.
7.Таланов В.Д. Технические средства автоматизации \ под редакцией Клюева.-2-е изд.,перераб. И доп.: Исто-сервис,2002,-248 с.