Привод с одноступенчатым цилиндрическим косозубым редуктором и клиноременной передачей
Министерство образования Российской федерации.
Южно-Уральский государственный университет.
Кафедра теоретической механики
Курсовая работа
Тема:
Проектирование привода с одноступенчатым цилиндрическим косозубым редуктором и клиноременной передачей
Челябинск 2008
Содержание
Выбор электродвигателя и кинематический расчет
Расчет клиноременной передачи
Расчет зубчатых колес редуктора
Предварительный расчет валов редуктора
Конструктивные размеры шкива клиноременной передачи2
Конструктивные размеры шестерни и колеса
Конструктивные размеры корпуса редуктора
Расчет подшипников
Проверка прочности шпоночных соединений
Уточненный расчет валов
Выбор сорта масла
Сборка редуктора
Список литературы
1. Выбор электродвигателя и кинематический расчет
Коэффициент полезного действия пары цилиндрических зубчатых колес η>1> = 0,95; коэффициент, учитывающий потери пары подшипников качения, η>2> = 0,99; КПД клиноременной передачи η>3> = 0,97
Общий КПД привода
η = η>1> η2>2> η>3>= 0,95 * 0,992 * 0,97= 0,903
Мощность на валу звездочки конвейера
Р>зв> = F>ц> * υ>ц>= 4,8*1,6 =7,68 кВт.
Требуемая мощность электродвигателя
кВт
Частота вращения звездочки конвейера
об/мин
По ГОСТ 19523 – 81 по требуемой мощности Р>тр> = 8,5 кВт выбираем электродвигатель трехфазный асинхронный короткозамкнутый серии АОП2-62-8 закрытый, обдуваемый, с синхронной частотой вращения 720об/мин с параметрами Р>дв> = 10 кВт
Номинальная частота вращения
n>дв> = 720 об/мин
Угловая скорость
рад/с
Общее передаточное отношение

Намечаем для редуктора передаточное число и =3; тогда для клиноременной передачи

Угловая скорость и частота вращения ведущего вала редуктора
ω>1 >= ω>дв>/ iр =75,4/ 3,15 =24
n>1> = nд>в>/iр = 720/3,15= 228
Частоты вращения и угловые скорости валов:
|
Вал А |
n>дв> = 720 об/мин |
ω>дв> = 75,4 рад/с |
|
Вал B |
n>2> = n>зв> = 76 об/мин |
ω>2> = ω>зв> = 5,8 рад/с |
|
Вал C |
n>1> = 228 об/мин |
ω>1> = 24 рад/с |
2. Расчет клиноременной передачи
Исходные данные для расчета: передаваемая мощность Р>тр> = 10 кВт; частота вращения ведущего шкива n>дв> = 720 об/мин; передаточное отношение i>p> = 3,15; скольжение ремня е = 0,015.
При частоте вращения меньшего шкива n>дв> = 720 об/мин и передаваемой мощности Р = Р>тр> = 10 кВт принимаем сечение клинового ремня Б.
Вращающий момент
Н·м м
Диаметр ведущего шкива
мм
Принимаем d1=160 мм
Диаметр большего шкива
мм
Ближайшее стандартноезначение d>2> = 500 мм
Уточняем передаточное отношение с учетом скольжения

Пересчитываем n1
рад/с
окончательно принимаем диаметры шкивов d>1> = 160 мм и d>2> = 500 мм
Межосевое расстояние а>р> следует принять в интервале
a>min> = 0,55 (d>1> + d>2>) + h = 0,55(160 + 500) + 10,5 = 374 мм
a>max> = 2(d>1> + d>2>)= 2(160 + 500) = 1320 мм,
где h = 6 мм высота сечения ремня.
Принимаем близкое к среднему значению а>р> = 800 мм
Расчетная длина ремня

мм
Ближайшее значение по стандарту L= 2800 мм
Уточненное значение межосевого расстояния а>р> с учетом стандартной длины ремня

где
w = 0,5π (d>1> +d>2>) = 0,5 * 3,14 (160 + 500) = 1036,2 мм; y = (d>2> – d>1>)2 =
(500 - 160)2 = 115600;
мм
При монтаже передачи необходимо обеспечить возможность уменьшения межосевого расстояния на 0,01L = 0,01 * 2800 == 28 мм для облегчения надевания ремней на шкивы и возможность увеличения его на 0,025L= 0,025 * 2800 = 70 мм для увеличения натяжения ремней.
Угол обхвата меньшего шкива

Коэффициент режима работы, учитывающий условия эксплуатации передачи для привода к цепному конвейеру при односменной работе С>р> = 1,0.
Коэффициент, учитывающий влияние длины ремня сечения Б при длине L = 2800 мм коэффициент С>L> = 1,075
Коэффициент, учитывающий влияние угла при α>1> = 156° коэффициент С>α> = 0,928
Коэффициент, учитывающий число ремней в передаче. Предполагая, что число ремней в передаче будет от 2 до 3, примем коэффициент С. = 0,95
Число ремней в передаче

где Р>0> — мощность, передаваемая одним клиновым ремнем, кВт; для ремня сечения Б при длине L = 2240 мм, работе на шкиве d>1> = 80 мм и i ≥ 3 мощность Р>0> = 3,35 Н (то, что в нашем случае ремень имеет другую длину L= 2800 мм, учитывается коэффициентом C>L>);

Принимаем z = 5
Натяжение ветви клинового ремня

где скорость υ = 0,5ω>дв>d>1> = 6 м/с; Θ - коэффициент, учитывающий влияние центробежных сил, для ремня сечения О коэффициент Θ = 0,06
Н
Давление на валы
Н
3. Расчет зубчатых колес редуктора
Выбираем материалы для шестерни сталь 45, термообработка — улучшение, твердость НВ 230; для колеса сталь 45, термообработка — улучшение, твердость НВ 210.
Допускаемое контактное напряжение для косозубых колес из указанных материалов [σ>н>] = 426 МПа.
Примем коэффициент ширины венца ψ>ba>= 0,4.
Коэффициент К>Hβ>, учитывающий неравномерность распределения нагрузки по ширине венца. Несмотря на симметричное расположение колес относительно опор примем значение этого коэффициента, как в случае несимметричного расположения колес, так как со стороны клиноременной передачи действует сила давления на ведущий вал, вызывающая его деформацию и ухудшающая контакт зубьев: К>H>>β> = 1,25.
Вращающий момент на валу колеса
Н*м
Межосевое расстояние из условия контактной выносливости активных поверхностей зубьев
мм
где и = 3 — принято ранее для рассматриваемого редуктора.
Ближайшее значение межосевого расстояния по ГОСТ 2185-66 a>w> = 224 мм
Нормальный модуль
т>n> =(0,01÷0,02)а>w> = (0,01÷0,02)224 = 2,24 - 4,48 мм;
принимаем по ГОСТ 9563 — 60 т>n>=3 мм.
Примем предварительно угол наклона зубьев β = 10°.
Число зубьев шестерни

принимаем z>1 >= 37. Тогда z>2> = z>1>u = 37*3 = 111.
Уточняем значение угла наклона зубьев:

угол β = 7°42'.
Основные размеры шестерни и колеса.
Диаметры делительные
>
>мм
>
>
мм
Проверка:
мм
Диаметры вершин зубьев
мм
мм
Ширина колеса b>2> = ψ>ba>*a>w> = 0,4*224 = 90 мм.
Ширина шестерни b>1> = b>2> + 5 мм = 95 мм.
Коэффициент ширины шестерни по диаметру

Коэффициент ширины шестерни по диаметру

Окружная скорость колес
м/с
Степень точности передачи: для косозубых колес при скорости до 10 м/с следует принять 8-ю степень точности. Коэффициент нагрузки
K>H>> >= K>Hβ> K>Hα> K>Hυ>
При ψ>bd> = 0,85 твердости НВ < 350 и несимметричном расположении колес (учет натяжения клиноременной передачи) коэффициент K>Hβ>> >≈ 1,3.
При υ = 4,22 м/с и 8-й степени точности коэффициент K>Hα> ≈ 1,09.
Для косозубых колесу при скорости менее 5 м/с коэффициент K>Hυ> = 1,0.
Таким образом, К>H> = 1,3*1,09*1,0 = 1,417.
Проверяем контактные напряжения
МПа
что менее [σ>H>] = 426 МПа. Условие прочности выполнено.
Силы, действующие в зацеплении:
окружная
H
радиальная
H
осевая
H
Проверим зубья на выносливость по напряжениям изгиба

Коэффициент нагрузки
K>H> = K>Fβ>K>Fυ>
При ψ>bd> = 1,3 твердости НВ < 350 и несимметричном расположении зубчатых колес относительно опор коэффициент K>Fβ>> >= 1,09.
Для косозубых колес 8-й степени точности и скорости до 3 м/с коэффициент K>Fυ> =1,3.
Таким образом,
K>F> = 1,09*1,3 = 1,417.
Коэффициент, учитывающий форму зуба, Y>F> зависит от эквивалентного числа зубьев z>υ>;
у шестерни

у колеса

Коэффициенты Y>F>>1> = 3,70 и Y>F2> = 3,60. Определяем коэффициенты Y>β> и K>Fα>:


где средние значения коэффициента торцового перекрытия ε>α> = 1,5; степень точности
n = 8.
Допускаемое напряжение при проверке на изгиб определяют по формуле:

для стали 45
улучшенной предел выносливости при
отнулевом цикле изгиба
HB.
для шестерни
МПа;
для колеса
МПа.
Коэффициент безопасности [S>F>] = [S>F>]' [S>F>]"
[S>F>]' = 1,75 для стали 45 улучшенной; коэффициент [S>F>]" = 1 для поковок и штамповок. Следовательно, [S>F>] = l,75.
Допускаемые напряжения:
для шестерни
МПа
для колеса
МПа.
Проверку на
изгиб следует проводить для того
зубчатого колеса, для которого отношение
меньше. Найдем эти отношения:
для шестерни
МПа
для колеса
МПа
Проверку на изгиб проводим для колеса:
МПа
83,5 МПа < 216 МПа условие прочности выполнено.
4. Предварительный расчет валов редуктора
Предварительный расчет проведем на кручение по пониженным допускаемым напряжениям.
Ведущий вал: диаметр выходного конца при допускаемом напряжении [τ>к>] =25 МПа
мм
Принимаем ближайшее большее значение из стандартного ряда d>B>>1 >= 42 мм. Диаметр вала под подшипниками принимаем d>п1 >= 50 мм. Шестерню выполним за одно целое с валом.
Ведомый вал: диметр выходного конца вала при допускаемом напряжении [τ>к>] = 20 МПа
мм
Принимаем ближайшее большее значение из стандартного ряда d>B>>2> = 65 мм. Диаметр вала под подшипниками принимаем d>п2> = 70 мм, под зубчатым колесом d>K>>2> = 75 мм.
Диаметры остальных участков валов назначают исходя из конструктивных соображений при компоновке редуктора.
5. Конструктивные размеры шкива клиноременной передачи
Шкивы клиноременных передач выполняются из чугуна СЧ 15. Расчетный диаметр шкива d>p>> >= 280 мм. Угол наклона канавок при таком диаметре равен α = 40°.
Ширина обода шкива
мм
Толщина обода
S = 0,005*d+3+h+h>0 >= 13,9 мм
примем S = 15 мм
Длинна ступицы шкива
l = (1,5÷2)d>B>>1 >= 36 ÷ 48 мм
примем l = 40 мм
Диаметр шкива ступицы
мм
примем d = 44 мм.
6. Конструктивные размеры шестерни и колеса
Шестерню выполняем за одно целое с валом, ее размеры определены выше:
d>1 >= 112 мм; d>a>>1 >= 118 мм; b>1 >= 95 мм.
Колесо кованое:
d>2 >= 336 мм; d>а2 >= 342 мм; b = 90 мм.
Диаметр ступицы d>ст >= 1,6 * d>а2 >=1,6 * 75 = 120 мм.
Длина ступицы l>ст >= (1,2 ÷ 1,5)d>k>>2 >= (1,2 ÷ 1,5) * 75= 90÷ 113 мм
принимаем l>ст >= 100 мм
Толщина обода δ>0 >= (2,5 ÷ 4)m>n>> >=(2,5 ÷ 4) * 3 = 7,5 ÷ 12 мм
принимаем δ>0 >= 10 мм
Толщина диска при b = 90 мм: С =0,3*90=27 мм
7. Конструктивные размеры корпуса редуктора
Толщина стенок корпуса и крышки:
δ = 0,025а>w> + 1 = 0,025 * 224 + 1 = 6,6 мм,
принимаем δ = 8 мм; δ>1> = 0,02а>w> + 1 = 0,02 * 224 + 1 = 5,48 мм, принимаем δ>1> = 8мм.
Толщина фланцев поясов корпуса и крышки:
верхнего пояса корпуса и пояса крышки
b = 1,5 δ = 1,5 * = 12 мм; b>1 >= 1,5δ>1> = 1,5 * 8 = 12 мм,
нижнего пояса корпуса
р = 2,35δ = 2,35 * 8 = 19 мм; принимаем р = 20 мм.
Диаметр болтов: фундаментных d>1> = (0,03÷0,036)а>w>+12 = (0,03÷0;36)224 + 12 = 18,72÷ 20,064 мм; принимаем болты с резьбой М20; крепящих крышку к корпусу у подшипников d>2> = (0,7÷0,75) d>1> = (0,7÷0,75)20 = 14÷15 мм; принимаем болты с резьбой М16; соединяющих крышку с корпусом d>3> = (0,5÷0,6)d>1> = (0,5÷0,6)20 = 10÷12 мм; принимаем болты с резьбой М12.
8. Расчет подшипников
Ведущий вал

Из предыдущих расчетов имеем
F>t> = 6232 H, F>r> = 2283 Н, F>a> = 841 Н, F>B>> >= 2162 H, l>1 >= 112 мм и l>3 >= 65 мм.
Реакции опор: в плоскости xz
Н
Н
Проверка:
R>x>>1> + R>x>>2> – F>t> – F>B> = 5243 + 3151 – 6232 – 2162= 0.
в плоскости yz
Н
Н
Проверка:
R>yl> + R>y>>2> – F>r> = 1351 + 931 – 2283 = 0.
Суммарные реакции
Н
Н
Подбираем подшипники по более нагруженной опоре 1.
Намечаем радиальные шариковые подшипники 206: d = 30 мм; D = 62 мм; В = 16 мм;С = 19,5 кН и С>0> = 10 кН.
Эквивалентная нагрузка по формуле
Р>э> = (XVP>r>>1> + YP>a>)К>б>К>T>,
в которой радиальная нагрузка Р>r>>1> = 1871 Н; осевая нагрузка Р>а> = F>a> = 317 Н;V = 1 (вращается внутреннее кольцо); коэффициент безопасности К>б> = 1,2; К>Т >= 1.
Отношение
;
этой величине соответствует е ≈ 0,23
Отношение

< е; X = 1 и Y = 0.
Р>э> = (1 * 1 * 1871) * 1,2 * 1 = 2245 Н.
Расчетная долговечность, млн. об.
млн. об.
Расчетная долговечность, ч
ч.
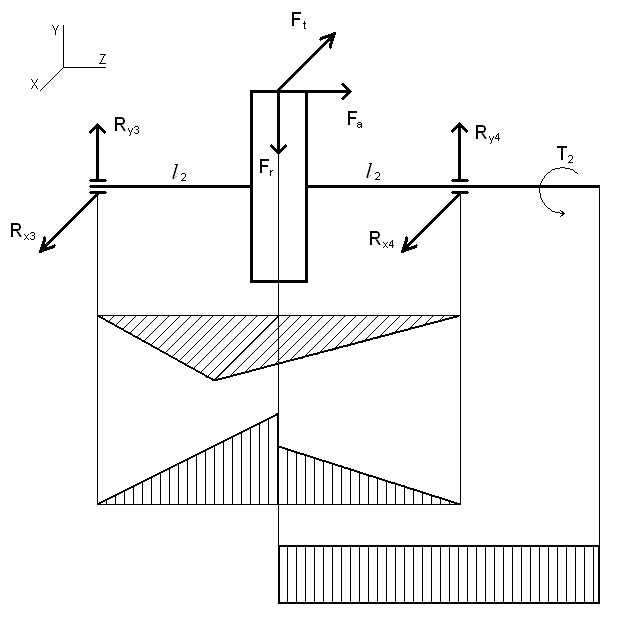
Ведомый вал несет такие же нагрузки, как и ведущий:
F>t> = 6232 H, F>r> = 2283 Н, F>a> = 841 Н, l>2 >= 112 мм.

Реакции опор: в плоскости xz
Н
в плоскости yz
Н
Н
Проверка:
R>y>>3> + R>y>>4> – F>r> = 1773 + 510 – 2283 = 0.
Суммарные реакции
Н
Н
Подбираем подшипники по более нагруженной опоре 4.
Намечаем радиальные шариковые подшипники 208: d = 40 мм; D = 80 мм; В = 18 мм;С = 32 кН и С>0> = 17,8 кН.
Эквивалентная нагрузка по формуле
Р>э> = (XVP>r>>4> + YP>a>)К>б>К>T>,
в которой радиальная нагрузка Р>r>>4> = 1060 Н; осевая нагрузка Р>а> = F>a> = 317 Н;V = 1 (вращается внутреннее кольцо); коэффициент безопасности К>б> = 1; К>Т >= 1.
Отношение
;
этой величине соответствует е ≈ 0,20
Отношение

> е; X = 0,56 и Y = 2,40.
Р>э> = (0,56 * 1 * 1060 + 2,4 * 317) * 1 * 1 = 1354 Н.
Расчетная долговечность, млн. об.
млн. об.
Расчетная долговечность, ч
ч
Для зубчатых редукторов ресурс работы подшипников может превышать 36000 ч таков ресурс самого редуктора), но не должен быть менее 10000 ч (минимально допустимая долговечность подшипника). В нашем случае подшипники ведущего вала 206 имеют ресурс L>h> = 40 * 103 ч, а подшипники ведомого вала 208 имеют ресурс L>h> = 4 * 106 ч.
9. Проверка прочности шпоночных соединений
Шпонки призматические со скругленными торцами. Размеры сечений шпонок и пазов и длины шпонок — по ГОСТ 23360-78. Материал шпонок — сталь 45 нормализованная.
Напряжения смятия и условие прочности по формуле

Допускаемые напряжения смятия при стальной ступице [σ>см>] = 100 ÷ 120 МПа, при чугунной [σ>см>] = 50 ÷ 70 МПа.
Ведущий вал: d = 24 мм; b х h = 8 х 4 мм; t>1> = 4 мм; длина шпонки l = 56 мм; момент на ведущем валу Т>1> = 43400 Н*мм;
МПа
Ведомый вал
Из двух шпонок — под зубчатым колесом и под муфтой — более нагружена вторая (меньше диаметр вала и поэтому меньше размеры поперечного сечения шпонки). Проверяем шпонку под звездочкой: d = 55 мм; b х h = 10 х 8 мм; t>1> = 5 мм; длина шпонки l = 45 мм; момент Т>2> = 217 * 103 Н*мм;
МПа
Условие σ>см> < [σ>см>] выполнено.
10. Уточненный расчет валов
Примем, что нормальные напряжения от изгиба изменяются по симметричному циклу, а касательные от кручения – по отнулевому (пульсирующему).
Уточненный расчет состоит в определении коэффициентов запаса прочности s для опасных сечений и сравнении их с требуемыми значениями [s]. Прочность соблюдена при s ≥ [s].
Будем производить расчет для предположительно опасных сечений каждого из валов.
Ведущий вал.
Материал вала тот же, что и для шестерни (шестерня выполнена заодно с валом), т. е. сталь 45, термическая обработка — улучшение.
При диаметре заготовки до 90 мм среднее значение σ>в> = 780 МПа.
Предел выносливости при симметричном цикле изгиба
σ>-1 >≈ 0,43 σ>в> = 0,43 * 780 = 335 МПа.
Предел выносливости при симметричном цикле касательных напряжений
τ>-1> ≈ 0,58σ>-1 >= 0,58 * 335 = 193 МПа.
Сечение А – А. Это сечение вала под шкивом клиноременной передачи, рассчитываем на кручение. Концентрацию напряжений вызывает наличие шпоночной канавки.
Изгибающий момент
Н * мм
Момент сопротивления кручению при d = 24 мм; b = 8 мм; t>1> = 4 мм
мм3
Момент сопротивления изгибу
мм3
Амплитуда и среднее напряжение от нулевого цикла
МПа
Принимаем k>σ> = 2,5; ε>σ> ≈ 0,89; k>τ> = 1,68; ε>τ> ≈ 0,8 и ψ>τ> ≈ 0,1.
Амплитуда нормальных напряжений изгиба
МПа;
Среднее напряжение σ>m> = 0.
Коэффициент запаса прочности по нормальным напряжениям

Коэффициент запаса прочности по касательным напряжениям

Результирующий коэффициент запаса прочности

Результирующий коэффициент получился близким к коэффициенту запаса s>τ> = 9,8. Это незначительное расхождение свидетельствует о том, что консольные участки валов, рассчитанные по крутящему моменту, учет консольной нагрузки не вносит существенных изменений. Фактическое расхождение будет еще меньше, так как посадочная часть вала обычно короче, чем длина ступицы шкива, что уменьшает значения изгибающего момента и нормальных напряжений.
Такой большой коэффициент запаса прочности объясняется тем, что диаметр вала был увеличен при конструировании
По той же причине проверять прочность в других сечениях нет необходимости.
Ведомый вал.
Материал вала – сталь 45 нормализованная; σ>в> – 570 МПа.
Пределы выносливости
σ>-1 >≈ 0,43 σ>в> = 0,43 * 570 = 245,1 МПа
τ>-1> ≈ 0,58σ>-1 >= 0,58 * 245,1 = 142,2 МПа.
Сечение А – А. Это сечение вала под зубчатым колесом. Вал в этом сечении 44 мм. Концентрация напряжений обусловлена наличием шпоночной канавки.
Изгибающий момент в горизонтальной плоскости
Н * мм
Изгибающий момент в вертикальной плоскости
Н * мм
суммарный изгибающий момент в сечении А — А
Н * мм
Момент сопротивления кручению при d = 44 мм; b = 14 мм; t>1> = 5,5 мм
мм3
Момент сопротивления изгибу
мм3
Амплитуда и среднее напряжение цикла касательных напряжений
МПа
Принимаем k>σ> = 1,5; ε>σ> ≈ 0,84; k>τ> = 2,3; ε>τ> ≈ 0,72 и ψ>τ> ≈ 0,15.
Амплитуда нормальных напряжений изгиба
МПа; Среднее
напряжение σ>m>
= 0.
Коэффициент запаса прочности по нормальным напряжениям

Коэффициент запаса прочности по касательным напряжениям

Результирующий коэффициент запаса прочности

Во всех сечениях s > [s].
11. Выбор сорта масла
Смазывание зубчатого зацепления производится окунанием зубчатого колеса в масло, заливаемое внутрь корпуса до уровня, обеспечивающего погружение колеса примерно на 10 мм. Объем масляной ванны V определяем из расчета 0,25 дм3 масла на 1 кВт передаваемой мощности: V = 0,25 * 1,49 = 0,37 дм3.
При контактных напряжениях σ>Н> = 392 МПа и скорости υ = 6 м/с рекомендуемая вязкость масла должна быть примерно равна 28 * 10-6 м2/с. Принимаем масло индустриальное И – 30А по ГОСТ 20799 – 75.
Камеры подшипников заполняем пластичным смазочным материалом УТ – 1 и периодически пополняем его через пресс-масленки.
12. Сборка редуктора
Перед сборкой внутреннюю полость корпуса редуктора тщательно очищают и покрывают маслостойкой краской.
Сборку производят в соответствии со сборочным чертежом редуктора, начиная с узлов валов:
на ведущий вал насаживают мазеудерживающие кольца и шарикоподшипники, предварительно нагретые в масле до 80-100°С;
в ведомый вал закладывают шпонку и напрессовывают зубчатое колесо до упора в бурт вала; затем надевают распорную втулку, мазеудерживающие кольца и устанавливают шарикоподшипники, предварительно нагретые в масле.
Собранные валы укладывают в основание корпуса редуктора и надевают крышку корпуса, покрывая предварительно поверхности стыка крышки и корпуса спиртовым лаком. Для центровки устанавливают крышку на корпус с помощью двух конических штифтов; затягивают болты, крепящие крышку к корпусу.
После этого на ведомый вал надевают распорное кольцо, в подшипниковые камеры закладывают пластичную смазку, ставят крышки подшипников с комплектом металлических прокладок для регулировки.
Перед постановкой сквозных крышек в проточки закладывают войлочные уплотнения, пропитанные горячим маслом.
Проверяют проворачиванием валов отсутствие заклинивания подшипников (валы должны проворачиваться от руки) и закрепляют крышки винтами.
Далее на конец ведомого вала в шпоночную, канавку закладывают шпонку, устанавливают звездочку и закрепляют ее торцовым креплением; винт торцового крепления стопорят специальной планкой.
Затем ввертывают пробку маслоспускного отверстия с прокладкой и жезловый маслоуказатель. Заливают в корпус масло и закрывают смотровое отверстие крышкой с прокладкой из технического картона; закрепляют крышку болтами.
Собранный редуктор обкатывают и подвергают испытанию на стенде по программе, устанавливаемой техническими условиями.
Список литературы
Курсовое проектирование деталей машин / С.А. Чернавский, К.Н. Боков, И.М. Чернин и др. – 2-е изд.: Машиностроение, 1988. – 416 с.
Раветов Д.Н. Детали машин. М.: машиностроение, 1989. 496 с.
Иванов И.Н. Детали машин. К.: Высшая школа, 1984. 336 с.
Биргер И.А., Шорр Б.Ф., Иосилевич Г.В. Расчеты на прочность деталей машин: Справочник. М.: Машиностроение, 1993. 639 с.
Детали машин: Атлас конструкций в двух частях / Под ред. Решетова Д.Н. М.; Машиностроение, 1992. Ч. I. 352 о.
Дунаев П.В., Леликов О.П. Конструирование узлов и деталей машин. М.: Высшая школа, 1985. 416 с.