Программный механизм (работа 1)
1
Содержание
Аннотация
Введение
Описание конструкции. Принцип действия прибора.
1. Кинематический расчет.
2. Расчет червячной передачи.
3. Расчет шагового механизма.
3.1 Выбор электромагнита.
3.2.Расчет храпового колеса.
4. Расчет кулачкового механизма.
4.1 Расчет кулачка.
4.2 Расчет цилиндрической пружины толкателя.
4.3 Расчет толкателя. Определение реакций опор толкатель
5. Контактный расчет.
5.1 Контактный расчет кулачкового механизма.
5.2 Контактный расчет червячной передачи.
6. Расчет опор выходного вала. Выбор шарикоподшипников.
Заключение.
Список используемой литературы.
Приложение.
Аннотация
В данной пояснительной записке к курсовому проекту на тему “Программный механизм” приведен расчет такого устройства, как программный механизм. Рассчитываются его основные узлы и конструкция прибора. Расчет ведется на основе соответствующей литературы, а также с активным применением вычислительной техники – все численные значения, приведенные в пояснительной записке, получены при использовании программного обеспечения, значительно упрощающего процесс расчета. В качестве примера в приложении приведена программа расчета профиля кулачка, написанная на языке программирования Паскаль, реализация Borland Pascal 7.0.
Основной целью данного курсового проекта является ознакомление с основными приемами проектирования гироскопических устройств, а также, в частности, с конструктивными особенностями, принципом работы и т.д. последних.
Введение
В системах автоматического управления часто используются механизмы, которые позволяют осуществлять замыкания и размыкания различных контактов с заданной выдержкой времени и в определенной последовательности, соответствующей заранее установленной программе, которая по мере надобности также может изменяться. В данных механизмах применяется электромеханический способ осуществления требуемой выдержки времени срабатывания контактов.
Программный механизм, расчет которого приведен в пояснительной записке, является основным узлом арретирующих устройств. Арретирующие устройства обеспечивают жесткую фиксацию подвижных узлов гироприбора относительно друг друга, а также корпуса прибора. Это необходимо, например, при транспортировке гироприборов для избежания повреждений, также, как для начальной выставки подвижного узла гироприбора, так и для разворотов этих узлов на заданные углы.
Поэтому все параметры, характеризующие арретирующее устройство, определяются именно программным механизмом. Такими параметрами являются:
Время арретирования и разарретирования.
Точность арретирования.
К этим параметрам зачастую предъявляются весьма жесткие требования. Поэтому они являются определяющими при расчете конструкции арретирующего устройства, и программного механизма, в частности.
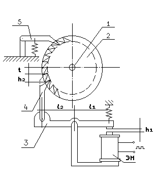
Описание конструкции. Принцип действия прибора
Программный механизм является электромеханической системой, предназначенной для обеспечения поступательного движения толкателя (выходного звена) по определенному закону (программе) за счет профиля кулачка, выполненного по определенной программе.
Программный механизм состоит из шагового электродвигателя, привода кинематической передачи и кулачкового механизма. Толкатель кулачкового механизма соединяется с исполнительным элементом системы управления движением летательного аппарата.
Входной величиной программного механизма является число импульсов, подаваемых на шаговый электродвигатель, выполненный из электромагнита, храпового колеса, толкающей и стопорной собачек, а выходной – прямолинейное перемещение толкателя по заданной программе.
При подаче импульсов на электромагнит шагового механизма, движение от якоря, жестко связанного с толкающей собачкой, передается на храповик, затем через червячную передачу передается на выходной вал с кулачком и к толкателю. Стопорная собачка предохраняет храповик от поворота в обратную сторону при возвращении якоря в исходное положение (при отсутствии импульса). Пружина обеспечивает силовое замыкание кулачка и толкателя между собой.
Контактные группы служат для выключения электромагнита при отработке программы, а также для коммутации других электрических цепей управления.
Кинематическая схема программного механизма приведена в приложении.
Исходные данные
Частота импульсов 22 Гц.
Цена оборота кулачка 5800 импульсов/оборот.
Ход толкателя 7 мм.
Наибольшее давление на толкатель 5,5 Н.
Программа Линейная
Условия эксплуатации прибора
Температурный режим 40С.
Линейные перегрузки 4 ед.
Амплитуда и частота колебаний ЛА 0,02-0,04 мм, 500 Гц.
Смазка механизма – разовая, консистентными маслами.
Срок службы – не менее 2000 ч.
1.Кинематический расчет
Программный механизм состоит из следующих блоков:
Шаговый механизм.
Червячная передача.
Кулачковый механизм.
Определим передаточное число. Оно, как известно, находится как отношение выходной и входной угловых скоростей. Определим угловую скорость на храповом колесе в зависимости от входной частоты и геометрических параметров шагового механизма. Как видно из рисунка, выражение для угловой скорости может быть записано в следующем виде:
(1.1)
где: А – целая часть от отношения h2/t. Вводится в рассмотрение так как если ход толкающей собачки не кратен шагу зубьев храпового колеса, то при возврате толкающей собачки колесо вернется на величину излишка хода (за счет прижима стопорной собачки).

Рис 1. Кинематическая схема шагового механизма
- вал.
- храповое колесо.
- якорь.
- толкающая собачка.
f – частота на входе ЭМ.
t – шаг зубьев храпового колеса.
(1.2 )
D – диаметр храпового колеса.
z – число зубьев.
(см. рис.)(1.3)
Подставляя эти формулы в исходную, получаем итоговое выражение для угловой скорости храпового колеса:
(1.4)
Теперь определим скорость вращения кулачка в зависимости от входной частоты и цены одного оборота кулачка:
(1.5)
где:k – цена одного оборота кулачка.
Исходя из полученных выражений, запишем передаточное число для червячной передачи
Стопорная собачка
(1.6)
Соответственно, передаточное отношение:
(1.7)
Учитывая то, что как большое количество зубьев храпового колеса, так и большое передаточное число червячной передачи дадут увеличение габаритных размеров всего механизма, примем следующие значения (геометрические параметры (см. рис.) выберем таким образом, чтобы к-нт А равнялся 1):
,
.
2. Расчет червячной передачи
Применение червячной передачи в данном механизме обусловлено следующими достоинствами первой:
Возможность получения больших передаточных отношений в одной паре.
Плавность зацепления и бесшумность работы.
Высокая точность передачи.
Передаточное число червячной передачи:
(2.1)
где z1 – число заходов червяка.
z2 – число зубьев червячного колеса.
Отсюда определяем z2, принимая число заходов z1=1:

Типовое значение коэффициента диаметра червяка q=20.
Делительный угол подъема линии витка червяка:
(2.2)

Модуль червячной передачи определяем исходя из условия прочности на изгиб:
(2.3)
где Мк – момент на червячном колесе. Может быть определен, как момент трения пары кулачок-толкатель:
(2.4)
где f – коэффициент трения пары кулачок-толкатель – принимаем f=0,15 (сталь по стали).
Nmax – максимальное давление толкателя на кулачок (Nmax=5,5 Н).
Rmax – максимальный радиус кулачка (см. ниже) (Rmax=27 мм).
Т.о. Mтр=0.15*5.5*27=22.275 Н*мм.
С учетом коэффициента запаса – 2 находим:
Мк=2*22.275=44.55 Н*мм.
Кк, Кд – коэффициенты концентрации нагрузки и динамичности нагрузки. Принимаем [1] Кк=1.1 и Кд=1.
y – коэффициент формы зуба. Выбирается по эквивалентному числу зубьев:
(2.5)
По таблице 10.6 [1] определяем (для Zv=100) y=0.481
[]и – допускаемое напряжение на изгиб для материала зубъев червячного колеса.
(2.6)
n – коэффициент запаса (принимаем равным 2).
Материал для червячного
колеса выбираем [5] - БрАЖ9-4Л. (
МПа.
Для червяка выбираем [5] материал Сталь 45Х, обладающую высокой прочностью на изгиб.
Т.о. определяем:

Т.к. передачи с очень малым модулем обладают большей, по сравнению с передачами с большим модулем, погрешностью передачи, то увеличим модуль в четыре раза: m=0.5.
Межосевое расстояние данной передачи:
(2.7)
мм.
По методике [5] рассчитываем оставшиеся параметры:
Расчетный шаг:
=3.14*0.5=1.57
мм(2.8)
Ход червяка:
=1.57*1
мм(2.9)
Коэффициент смещения червяка:
=0(2.10)
Длина нарезанной части червяка:
=(11+0.06*100)0.5=8.5
мм(2.11)
Делительный диаметр
червяка:
=20*0.5=10
мм(2.12)
колеса:
=100*0.5=50
мм(2.13)
Коэффициент параметра исходного червяка: (таб. 4.3 [5])
высоты головки витка:
=1
радиального зазора у поверхности впадин червяка:
=0.3
расчетной толщины витка:
=1.57
высоты витка:
=2*1+0.3=2.3(2.14)
радиуса кривизны переходной кривой витка радиального зазора у поверхности впадин колеса:
=0.4
Высота витка:
=2.3*0.5=1.65
мм(2.15)
Высота головки витка:
=1*0.5=0.5(2.16)
Диаметр вершин витков червяка:
=10+2*0.5=11
мм(2.17)
Диаметр вершин зубьев колеса:
=50+2*1*0.5=51
мм(2.18)
Наибольший диаметр колеса:
=51+(6*0.5/(1+2))=52
мм(2.19)
Радиусы кривизны переходных кривых:
=0.4*0.5=0.2(2.20)
Ширина венца колеса:
=0.75*11=8.25
мм(2.21)
Угол обхвата: (таб. 4.74 [5])
=80
Диаметр впадин витков червяка:
=11-2(1+0.3)0.5=9.7
мм(2.22)
Диаметр впадин зубьев колеса:
=50-2(1+0.25)0.5=48.75
мм(2.23)
Радиус дуги вершин зубьев колеса:
=0.5*10-1*0.5=4.5
мм(2.24)
По таблице 4.75 [5] выбираем:
Внутренний диаметр
dy=5 мм.
Диаметр отверстия для фиксации червяка на валу
dm=M2 мм.
Диаметр ступицы
dct=25 мм.
Допуск на радиальное биение червяка: (таб. 4.78 [5])
=16
мкм
Допуск на толщину витка по хорде:(таб. 4.81 [5])
=30
мкм
Допуск на радиальное биение наружного цилиндра червяка:
=0.34*3010
мкм
Допуск на торцевое биение червяка: (таб. 4.84 [5])
=9
мкм
Допуск на радиальное биение колеса: (таб. 4.87 [5])
=26
мкм
Допуск на радиальное биение наружного цилиндра зубчатого венца колеса:
=0.6*26=16
мкм(2.25)
Толщина обода колеса: (таб. 4.76 [5])
=2
мм
Средний диаметр опорной поверхности обода:
=48.75-2=46.75
мм(2.26)
Допуск на торцевое биение поверхности обода: (таб. 4.88 [5])
=18
мкм
Средний диаметр прижимного торца ступицы:
=0.5(14+9)=6.5
мкм(2.27)
Допуск на торцевое биение ступицы: (таб. 4.88 [5])
=11
мкм
Предельное отклонение межосевого расстояния: (таб. 4.89 [5])
=16
мкм
То же в обработке:
=0.75*18=12
мкм(2.28)
Предельное смещение средней плоскости колеса: (таб. 4.91 [5])
=13
мкм
То же в обработке:
=0.75*13=9.75
мкм(2.29)
Делительная толщина по хорде витка червяка:
=1.57*cos
2.52=0.78 мм(2.30)
Высота до хорды витка червяка:
=
=1*0.5+0.5*0.78tg(0.5*arcsin0.78sin2(2.52/16))=0.50 02 мм(2.31)
Производственный допуск на толщину витка по хорде:
=0.8*30=24
мкм(2.32)
Наименьшее отклонение толщины витка по хорде:
слагаемое I: (таб. 4.93 [5])
=22
мкм
слагаемое II: (таб. 4.94 [5])
=30
мкм
суммарное:
=
+
=22+30=52
мкм(2.33)
Производственное отклонение:
наименьшее:
=52+0.09*30=55
мкм(2.34)
наибольшее:
=55+24=79
мкм(2.35)
3. Расчет шагового механизма
Шаговый механизм, применяемый в программном механизме, обеспечивает дискретное вращение вала, на котором закреплено храповое колесо, с заданной частотой. Шаговый механизм, как было сказано выше, состоит из следующих частей:
Электромагнит.
Храповое колесо.
Толкающая собачка, закрепленная на якоре.
Стопорная собачка.
3.1 Выбор электромагнита
Сначала определим момент на входном валу по известному выходному моменту:
Момент на валу, на закреплен кулачок с учетом потерь на трение в шарикоподшипниках
(3.1.1)
с учетом двух пар
подшипников
,
получаем:
Н
мм.
Теперь определим нормальную силу на червячном колесе:
=2*45.(0.5*100*cos2.52*cos20)=1.89
Н. (3.1.2)
Поправочный коэффициент
е находим по графику 3.12 [4], при
=1.89
Н е=0.7. КПД червячной пары определим по
графику 3.15 [4] (
,
f=0.15)
:
.
С учетом поправочного коэффициента получаем:
.
Далее находим момент на ведущем червяке:
=45.(100*0.14*.0.98)=3.2
Н мм.(3.1.3)
Отсюда – момент, который должен обеспечивать электромагнит, определяем из соотношения плеч ярма электромагнита (см. рис. 1.):
(3.1.4)
Принимая для
определенности
=2/1
(учитывая влияние этого отношения на
величину хода толкающей собачки, а в
конечном счете и на величину шага зубьев
храпового колеса), находим:
=6.4
Н мм.
Возьмем (из
конструктивных соображений)
=40
мм. Тогда минимальное усилие, развиваемое
электромагнитом будет:
=6.4/40=0.16
Н.(3.1.5)
Руководствуясь полученным значением, выбираем электромагнит от реле РКН (паспорт РС3.259.007), имеющего следующие параметры:
Ток в обмотке 0.15 А.
Мощность (при 50 Гц) 0.25 Вт.
Максимальная сила 6 Н.
Величина зазора 1мм.
Габариты : диаметр 20 мм, длина 65 мм.
3.2 Расчет храпового колеса
По формуле
(3.2.1)
где t – шаг зубьев храпового колеса. По рис.1:
(3.2.2)
определим величину модуля храпового колеса.
=1*2/(3.1415*1)0.6.
Согласно нормали станкостроения Н22-4 выбираем храповое колесо со следующими параметрами:
Модуль m=0.6
Высота зуба h=0.8 мм.
Угол впадины =55
Угол головки собачки =50
Радиусы закруглений впадин зубьев 0.3 мм.
Определим диаметр храпового колеса
(3.2.3)
=58*0.6=34.8
мм.
Диаметр впадин храпового колеса
(3.2.4)
=34.8-2*0.8=33.2
мм.
Шаг зубьев храпового колеса
(3.2.5)
t=34.8*3.14.582 мм.
4. Расчет кулачкового механизма
Форма профиля кулачка определяет программу, согласно которой будет происходить движение толкателя. Исходными данными для расчета профиля кулачка являются: ход толкателя Smax=7 мм, который определяет величину перемещения выходного звена (толкателя) и закон движения последнего – линейный.
4.1 Расчет кулачка
Линейный закон перемещения выходного звена может обеспечить кулачок с профилем в виде спирали Архимеда [5]. Радиус-вектор профиля записывается выражением:
(4.1.1)
где R – текущий радиус кулачка.
- минимальный радиус кулачка.
-
текущий угол.
с – аналог скорости движения толкателя.
В кулачковых механизмах с выходным звеном типа толкатель угол давления , то есть угол между нормалью к профилю кулачка в точке контакта с толкателем и направлением скорости толкателя, должен быть менее 30. Для обеспечения плавности хода толкателя примем
Для исключения резких ударов толкателя о кулачок при завершении программы (одного оборота кулачка) примем рабочий угол кулачка 270Оставшаяся часть будет служить для плавного возврата толкателя в исходное положение. Отсюда определим аналог скорости толкателя:
(4.1.2)
с=7/(270*3.1415/180)=1.4875 мм/рад.
Согласно формуле [4]:
(4.1.3)
определим минимально допустимый минимальный радиус кулачка:
=16.98
мм.
Принимаем
мм.
Максимальный радиус:
=20+7=27
мм(4.1.4)
По программе, приведенной в приложении со следующими исходными данными:
Максимальный
ход толкателя
=7
мм.
Минимальный
радиус
=20
мм.
Угол давления =5.
Рабочий угол кулачка =270
Расчетный шаг 10.
Результат расчета приведен в таблице:
Таб.1.
|
Угол |
0 |
10 |
20 |
30 |
40 |
50 |
60 |
70 |
80 |
90 |
100 |
110 |
|
Радиус |
20.0 |
20.3 |
20.5 |
20.8 |
21.0 |
21.3 |
21.6 |
21.8 |
22.1 |
22.3 |
22.6 |
22.8 |
|
Угол |
120 |
130 |
140 |
150 |
160 |
170 |
180 |
190 |
200 |
210 |
220 |
230 |
|
Радиус |
23.1 |
23.4 |
23.6 |
23.9 |
24.2 |
24.4 |
24.7 |
24.9 |
25.2 |
25.4 |
25.7 |
26.0 |
|
Угол |
240 |
250 |
260 |
270 |
280 |
290 |
300 |
310 |
320 |
330 |
340 |
350 |
|
Радиус |
26.2 |
26.5 |
26.7 |
27.0 |
26.1 |
25.2 |
24.4 |
23.5 |
22.6 |
21.8 |
20.9 |
20.0 |
Материал для кулачка выбираем [5] Сталь 50 с закалкой рабочей поверхности токами высокой частоты.
4.2 Расчет цилиндрической пружины толкателя
Цилиндрическая винтовая пружина, работающая на сжатие, служит для обеспечения механического контакта между кулачком и толкателем. Расчет пружины будем производить по изложенной в [5] методике. Исходные данные для расчета:
Наибольшее
давление на толкатель
=5.5
Н.
Наименьшее
давление на толкатель
=0.2
=5.5*0.2=1.1
Н.
Рабочий ход пружины =7 мм.
Ориентировочный наружний диаметр D=7-9 мм.
Число
рабочих циклов не менее
2000*3600сек*6500/22=0.27*
,
что соответствует пружине I
класса.
Заделка с двух сторон глухая.
- Материал для пружины Сталь У9А.
- Относительный инерционный зазор =0.05-0.25
Сила пружины при максимальной деформации:
- ориентировочное значение:
=5.5/(1-(0.05-0.25))=7.33-5.79
Н.(4.2.1)
Наиболее полно нашим требованиям подходит пружина номер 144 ГОСТ 13766-86 [5] со следующими параметрами:
Сила
максимальной деформации пружины
=8.5
Н.
Диаметр проволоки d=0.6 мм.
Наружний диаметр пружины D=7.5 мм.
Наибольший
прогиб одного витка
=2.152
мм.
Предел прочности при растяжении проволоки I класса (таб. 3.28 [5]) пч=2650-3000=2700 МПа.
Максимальное касательное напряжение max=0.3*2700=810 МПа. (Сталь У9А).
Жесткость пружины
=(5.5-1.1)/0.007=640
Н/м(4.2.3)
Жесткость одного витка
=8.5/0.002151=3.95*103
Н/м(4.2.4)
Число витков:
рабочих
=3.95*103
/640=6.2(4.2.5)
опорных
.
полное
=6.2+2=8.2(4.2.6)
Деформация:
предварительная
=1.1/640=1.7*10-3
м(4.2.7)
рабочая
=5.5/640=8.7*10-3
м(4.2.8)
максимальная
=8.5/640=13.28*10-3
м(4.2.9)
Число зашлифованных витков
=1.5.
Высота пружины:
при максимальной деформации
=(8.2+1-1.5)0.6=4.62
мм(4.2.10)
в свободном состоянии
=4.62+13.28=17.9 мм(4.2.11)
при предварительной деформации
=17.9-1.7=16.2
мм(4.2.12)
при рабочей деформации
=17.9-8.7=9.2
мм(4.2.13)
Средний диаметр пружины
=7.5-0.6=6.9
мм(4.2.14)
Отношение высоты в свободном состоянии к среднему диаметру и предельное значение этого параметра
=17.9/6.9=2.5(4.2.15)
=5.24>2.5
– условие устойчивости выполняется.
Индекс пружины
=6.9/0.6=11.6(4.2.16)
Коэффициент кривизны витка
k=
=(4*11.6-1)/(4*11.6-4)+0.615/11.6=1.124(4.2.17)
Расчетное касательное напряжение
=(8*1.124*8.5*6.9*10-3)/(3.14*0.63)=777.8*106
Па (4.2.18)
Проверка прочности: 777.8Мпа<810 МПа.
Шаг пружины
=2.152+0.6=2.752
мм(4.2.19)
Длина развернутой проволоки
=3.14*6.9*8.2=177.7
мм(4.2.20)
Плотность стали
=7.8
г/см3.
Масса пружины
=0.785*0.063*177.7*7.8=3.9
г (4.2.21)
Объем, занимаемый пружиной
=0.785*0.75*0.1622=0.93
см3=930
мм3(4.2.22)
4.3 Расчет толкателя. Определение реакций опор толкателя
Конструктивно, выберем толкатель в форме стержня с круглым сечением и сферическим наконечником. Такой выбор продиктован тем, что сферические наконечники, имеющие достаточно большой радиус закругления, обладают повышенной контактной прочностью. Толкатель должен иметь также ступицу в качестве упора для пружины, прижимающей сам толкатель к кулачку. Диаметр толкателя выберем из условия прочности на изгиб.

Рис. 2. Силовая схема кулачкового механизма.
Сила Q, прижимающая толкатель к кулачку, является равнодействующей нескольких сил: Q>пс> –полезного сопротивления.
Q>пр> – давления пружины.
Q>т> – тяжести.
P>и> – инерции:
Q= Q>пс>>+> Q>пр>>+> Q>т> P>и>(4.3.1)
Кулачок давит на толкатель с силой Р, которая направлена перпендикулярно профилю кулачка и составляет с направлением вектора скорости толкателя угол давления В нашем случае он составляет (см. п.4.1) 5.
Сила Р определяется как [5]:
Р=Q>пс>/(cos)(4.3.2)
Где
f[1+(2b/c)]tg(4.3.3)
– КПД кулпчково-ползунного механизма.
B=30 мм.,c=45 мм.
F=0.15
=1-0.15[1+(2*30/45)]tg596.
Таким образом:
Р=5.5/(0.96*cos5)=5.75 H.
Определим приведенный коэффициент трения [1]:
>пр>=arctg(f>тр>)(4.3.4)
f>тр>- коэффициент трения сталь по стали – 0.15.
>пр>=arctg(0.15)=9.47.
Равнодействующая сил трения Р и Fтр называется полной силой давления кулачка на толкатель.
(4.3.5)
P>п>=5.75/cos 9.47=5.83 H.
Раскладывая силу Рп на две составляющих, получаем:
-
сила, изгибающая толкатель и вызывающая
реакции Nb
и Nc
в его направляющих, от величины которых
зависят значения сил трения Fb
и Fc.
=5.83*sin(5+9.47)=1.46
H.
-
сила, движущая толкатель, которая
преодолевает силы Q,
Fb
,Fc.
=5.83*cos(5+9.47)=5.65
H.
Таким образом, величину изгибающего момента можно определить как:
М>и>=
b=1.46*30=43.8
Н*мм. (4.3.6)
Диаметр толкателя из условия прочности на изгиб определим по формуле:
(4.3.7)
Для стали 45 (материал толкателя) [1] >в>=120 МПа. []>и>=0.16 >в >=0.16*120=19.2 МПа.
Таким образом, находим наименьший диаметр толкателя:
=2.8
мм.
С учетом коэффициента запаса 1.5 принимаем диаметр толкателя d=4мм.
Составим систему трех условий, согласно которой система должна находиться в равновесии (на основании принципа Даламбера):
(4.3.8)
Решая первые два уравнения, можно определить опорные реакции в направляющех толкателя Nb и Nc.
=1.46(30+45)/45=2.43
Н.
=2.43-1.46=0.97
Н.
Fb и Fc – силы трения в опорах:
Fb=Nb*f‘ , Fc=Nc*f’(4.3.9)
Где f’=tg’ – коэффициент трения между направляющей и толкателем.
Контактный расчет
В узлах механизма силы между деталями передаются при начальном касании рабочих поверхностей в точке или по линии. По мере возрастания силы за счет упругих деформаций материала появляются площадки контакта, разметы которых весьма малы по сравнению с размерами поверхностей соприкасающихся деталей.
Силы действуют нормально к поверхности деталей и создают в местах контакта нормальные контактные напряжения. Контактную (или поверхностную) прочностьдеталей при статическом нагружении оценивают по максимальным контактным напряжениям >max>, возникающим в центре площадки контакта. Напряжения на площадках контакта при удалении от точки или линии первоначального соприкосновения уменьшаются по нелинейному закону. Нелинейный характер имеет и зависимость между размерами площадки контакта и значением нормальной силы.
Поверхностную прочность деталей при статическом нагружении проверяют по условию:
Контактный расчет кулачкового механизма
Оценка контактной прочности рабочей поверхности кулачкового механизма проводится по формуле:
(5.1.1)
где Р – сила воздействия кулачка на толкатель (см. п.4.3)
Епр – приведенный модуль упругости, зависящий от модулей упругости материалов кулачка Ек и толкателя Ет:
(5.1.2)
Ек=2.1*105 МПа. (Сталь 50).
Ет=2.1*105 МПа. (Сталь 45).
=2.1
ГПа.
>пр> – приведенный радиус кривизны:
(5.1.3)
r – радиус закругления толкателя.
радиус кривизны кулачка.
>пр>=4*20/(4+20)=3.33. мм.
[]>к> – допустимые контактные напряжения. Назначаются с учетом предела прочности материала кулачка >пр>.
[]>к>=495 МПа.
=11
МПа < 495 МПа.
Из полученных значений видим, что условие контактной прочности выполняется.
Контактный расчет червячной передачи
Приближенно зацепление червячного колеса с червяком в осевом сечении червяка можно рассматривать как зацепление косозубого колеса с червячной рейкой. Отсюда формула для определения контактных напряжений будет иметь вид [1]:
(5.2.1)
Мк – момент на в выходном валу (см. п.2) Мк=44.55 Н*мм.
Кк и Кд – см. п.2. Кк=1, Кд=1.1.
Епр рассчитывается аналогично предыдущему пункту:
Для червяка Е=2.15*105 МПа, для колеса Е=0.9*105 МПа. Приведенный модуль упругости с учетом этого составляет Е=1.27*105 МПа.
Таким образом формула принимает вид:

d>1, >d>2 >- делительные диаметры червяка и червячного колеса.
[]>к> – допускаемые контактные напряжения для зубьев червячных колес.
[]>к>=182 МПа.
=2.1
МПа.<182 МПа.
Таким образом, видно, что условие контактной прочности выполняется.
6. Расчет опор выходного вала. Выбор шарикоподшипников
Рассмотрим выходной (вторичный) вал программного механизма. Представим вал в виде балки, закрепленной в опорах A и B (см. рис.3). К валу приложен крутящий моментМкр, приводимый с червячного колеса.

Рис. 3. Силовая схема выходного вала.
На схеме:
Р>ох>,> >Р>оу> – составляющие нормальной реакции кулачка по осям X и Y (см. п. 4.3).
R>а>>x>, R>а>>y>, R>а>>x>, R>а>>y> – составляющие реакции опор А и В.
P>ox>=
=1.46
H.
P>oy>=
=5.65
H.
Исходя из условия равновесия запишем системы уравнений
в плоскости хОу:
(6.1)
в плоскости yOz:
(6.2)
a – расстояние между кулачком и левой опорой. а=15 мм.
b – расстояние между опорами. b=85 мм.
Из систем уравнений определяем реакции опор
=1.46*(15+85).85=1.72
Н.
=1.46-1.72=-0.26
Н.
=5.65*(15+85).85=6.65
Н.
=5.65-6.65=-1.00
Н.
Запишем выражения для полных реакций опор:
=
=1.03
Н.
=
=6.86
Н.
Выберем для выходного вала по ГОСТ 8338-75 [6] шариковые радиальные однорядные подшипники сверхлегкой серии диаметров 9 следующих типов:
Для правой опоры – 1000098 со следующими парамтрами:
-- внутренний диаметр d=8 мм.
-- наружний диаметр D=19 мм.
-- ширина колец B=6 мм.
-- диаметр шариков Dw=3 мм.
-- статическая грузоподъемность C>0>=885 Н.
Для левой опоры – 1000900 со следующими параметрами:
-- внутренний диаметр d=10 мм.
-- наружний диаметр D=22 мм.
-- ширина колец B=6 мм.
-- диаметр шариков Dw=3.969 мм.
-- статическая грузоподъемность C>0>=1350 Н.
Рассчитаем эквивалентную статическую нагрузку (т.к. скорость вращения кулачка довольно мала – 5800/22=264 сек/оборот) для обоих шарикоподшипников:
P>0>=X>0>F>r>+Y>0>F>a>(6.3)
Где X>0 >– коэффициент радиальной статической нагрузки.
F>r> - наибольшая радиальная составляющая статической нагрузки.
Y>0 >- коэффициент осевой статической нагрузки.
F>a> - наибольшая осевая составляющая статической нагрузки.
Так как характер нагружения выходного вала носит радиальный характер, осевая составляющая достаточно мала, чтобы оказывать существенное влияние (Помимо того, собственно ее определение достаточно трудоемко). Поэтому принимаем X>0>=1, Y>0>=0. Соответственно эквивалентная нагрузка для каждого шарикоподшипника:
P>0>=F>r>>1>=1.03 Н << C>0>=885 Н.
P>0>=F>r>>1>=6.86 Н << C>0>=1350 Н.
Как видно, статическая нагрузка не превышает статической грузоподъемности, из чего делаем вывод о том, что подшипники выбраны верно.
Заключение
В результате выполнения курсового проекта разработана конструкция программного механизма с шаговым электродвигателем. Проведен кинематический расчет механизма, рассчитаны параметры деталей храпового механизма, деталей зубчатых передач, кулачкового механизма и валов. Проведено обоснование выбора шарикоподшипников вторичного вала.
Список используемой литературы
1.ПервицкийЮ.Д. Расчет и конструирование точных механизмов. - Л.: «Машиностроение». 1976. ----- 456 с.
2.Вопилкин Е.А. Расчет и конструирование механизмов, приборов и систем. - М.: Высшая Школа. 1980. -523 с.
3.Левятов Д.С. Расчет и конструирование деталей машин. - М.: Высшая Школа. 1979.303 с.
4.Тищенко О.Ф. и др. Элементы приборных устройств. Курсовое проектирование. В 2х частях. Под ред. Тищенко О.Ф. - М.: Высшая Школа. 1978. Ч1 -327 с. и Ч2 -230 с.
5. Заплетохин В.А. Конструирование деталей механических устройств. - Л.: «Машиностроение».
1990. -672 с.
6. Подшипники качения: Справочник-каталог/ Под ред. В.Н. Нарышкина и Р.В. Коросташевского. – М.: Машиностроение, 1984. –280 с.
7. Электромагнитный привод робототехнических систем/ Афонин А.А. и др. – Киев: Наук. Думка, 1983. –272с.
8. Справочное руководство по черчению/ В.Н. Богданов и др. –М.: Машиностроение, 1989. –864 с.
9. ГОСТ 2.703-68 Правила выполнения кинематических схем.
Приложение
1.Программа расчета формы профиля кулачка.
Язык программирования: Паскаль (Borland Pascal 7.0)
program fist;
uses Crt;
var gm,smax,alpha,gamma,q,rmin,rminr,r,step,stepst,phi,phist:real;
i:integer;
begin
ClrScr;
write ('Введите ход толкателя Smax:'); readln(smax);
write ('Введите угол давления alpha:'); readln(alpha);
write ('Введите минимальный радиус Rmin:'); read(rmin);
rminr:=q*cos(alpha/180*pi)/sin(alpha/180*pi);
if rmin<rminr then writeln (' Rmin слишком мал.')
else writeln (' Rmin выбран верно.');
write ('Введите рабочий угол gamma:'); readln(gamma);
gm:=gamma/180*pi;
q:=smax/(gm);
write ('Введите шаг step:'); readln(step);
r:=rmin;
ClrScr;
writeln(' Угол',' ':14,'Радиус R');
stepst:=step/180*pi;
phi:=0; phist:=0;i:=0;
repeat
writeln (phi:9:1,' ':9,r:9:1);
phi:=phi+step; phist:=phist+stepst;
r:=rmin+q*phist;
i:=i+1; if i=20 then begin readln; ClrScr; i:=0; end;
until phi>gamma;
q:=smax/(2*pi-gm-stepst);
phist:=0;
repeat
phi:=phi+step; phist:=phist+stepst;
r:=rmin+smax-q*phist;
writeln (phi:9:1,' ':9,r:9:1);
i:=i+1; if i=20 then begin readln; ClrScr; i:=0; end;
until phi>359;
readln
end.
Результат работы программы:
Угол Радиус R
--------------------------
0.0 20.0
10.0 20.3
20.0 20.5
30.0 20.8
40.0 21.0
50.0 21.3
60.0 21.6
70.0 21.8
80.0 22.1
90.0 22.3
100.0 22.6
110.0 22.8
120.0 23.1
130.0 23.4
23.6
150.0 23.9
160.0 24.1
170.0 24.4
180.0 24.7
190.0 24.9
200.0 25.2
210.0 25.4
220.0 25.7
230.0 26.0
240.0 26.2
250.0 26.5
260.0 26.7
270.0 27.0
290.0 26.1
300.0 25.3
310.0 24.4
320.0 23.5
330.0 22.6
340.0 21.8
350.0 20.8
360.0 20.0