Проект привода цепного конвейера
Содержание
Вступление
1. Кинетический и силовой расчёт привода
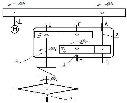
1.1 Кинематическая схема привода
1.2 Выбор двигателя
1.3 Общее передаточное число и разбиение его по степеням
1.4 Силовые и кинематические параметры привода
2. Расчет клиноременной передачи
2.1 Исходные данные для расчёта передачи
2.2 Механический расчет
3. Расчет цилиндрической 3.1. Кинематическая схема передачи и исходные данные для расчета
3.2 Выбор материала и определение допустимых напряжений
3.3 Определение геометрических параметров
3.4 Проверочный расчет передачи
3.5 Определение сил в зацеплении (см. рис. 3.3)
4. Расчёт цилиндрической косозубой передачи || ступени
4.1 Кинематическая схема передачи и исходные данные для расчета
4.2 Выбор материала и определение допустимых напряжений
4.3 Определение геометрических параметров
4.4 Проверочный расчет передачи
4.5 Определение сил в зацеплении (см. рис. 3.3)
5. Условный расчет валов
5.1 Определение диаметров входного вала редуктора
6. Определение конструктивных размеров зубчатых колес
6.1 Размеры зубчатых колес цилиндрической передачи I ступени
6.2 Размеры зубчатых колес цилиндрической передачи II ступени
6.3 Определяем размеры цилиндрического колеса (рис.6.1.)
6.4 Определение диаметров выходного вала
7. Конструктивные размеры корпуса и крышки редуктора
7.1 Определение конструктивных размеров корпуса и крышки редуктора, согласно табл. 4.2, 4.3, [1]
7.2 Размеры необходимые для черчения
8. Выбор шпонок и их проверочный расчет
9. Расчёт промежуточного вала редуктора на статическую способность и долговечность
9.1 Расчет вала на несущую способность
9.2 Расчет вала на прочность
10. Расчет подшипников качения
10.1 Определение реакции в опорах
10.2 Определение коэффициентов
10.3 Определение эквивалентной нагрузки
10.4 Определяем долговечность подшипников
10.5 Выбор муфты
10.6 Проверочный расчёт зубчатой муфты
11. Выбор и проверочный расчёт опор скольжения
Литература
Вступление
Развитие народного хозяйства Украины тесно связано с развитием машиностроения, так как материальная мощность современной страны базируется на технике – машинах, механизмах, аппаратах, приводах, которые выполняют разную полезную работу. В наше время нет ни одной области народного хозяйства, где бы не применялись машины и механизмы в широких масштабах. Благодаря этому осуществляется комплексная механизация в промышленности, в сельском хозяйстве, в строительстве, на транспорте. Это заставляет уделять большое внимание при проектировании и усовершенствования конструкций современных машин и механизмов. Машины и механизмы, которые проектируются, должны иметь высокие эксплуатационные показатели, не большое количество энергии и эксплуатационных материалов, должны быть экономичными, как в процессе производства, так и в процессе эксплуатации, удобными и безопасными в обслуживании.
1. Кинетический и силовой расчёт привода
Согласно техническому заданию на курсовой проект по дисциплине «Детали машин» необходимо спроектировать привод цепного конвейера, который состоит из двигателя, клиноременной передачи, двухступенчатого цилиндрического ора и муфты. При проектировании деталей привода использованы современные критерии оценки их работоспособности – прочность, жесткость и износостойкость. Кинематический и силовой расчеты привода
1.1 Кинематическая схема привода

Рис 1.1
Таблица 1.1
Исходные данные для кинематического и силового расчета привода
|
Название параметров |
Обозначения в формулах |
Единица измерения |
Величина параметра |
|
Окружная сила |
F1 |
Н |
28000 |
|
Скорость |
|
м/с |
0,5 |
|
Число зубьев |
z |
- |
9 |
|
Шаг цепи |
р |
мм |
160 |
|
Режим работы |
P |
- |
С |
|
Число смен |
T |
- |
1 |
1.2 Выбор двигателя
Работа над курсовым проектом по дисциплине «Детали машин» подготавливает студентов к решению более сложных задач общетехнического характера в своей дальнейшей практической деятельности.
Определяем необходимое усилие на валу 1 двигателя, кВт,
кВт
где N>5> – усилие на приводном валу 5, кВт, η>общ> - общий кпд.
кВт,
η>общ >= η>12>η>23> η>34 >η>45>> >= 0,95· 0,95· 0,96· 0,98 = 0,85,
где> >η>12=> η>кр>=0,95 – кпд между 1 и 2 валами; η>23>= η>цп>· η >кр> =0,96·0,99=0,95 – кпд между 2 и 3 валами; η>34>=η>цп·> η>оп >=0,97·0,99=0,96 – кпд между 3 и 4 валами; η>45>= η>м·> η>оп> η>оп>=1·0,99·0,99=0,98 – кпд между 4 и 5 валами.
Средние значения кпд принимаем из [1], табл. 1.1
η>кр> =0,95-кпд клиноременной передачи;
η>цп >=0,97-кпд цилиндрической передачи;
η>оп>=0,99-кпд в опорах;
η>м>=1,0-кпд муфты.
Принято, что валы привода установлены на подшипниках качения.
Определяем угловую скорость и частоту вращения вала электродвигателя.
рад/с
где
рад/с – угловая скорость на 5 валу
где

- общее
передаточное отношение привода.
,
Средние значения ориентировочных передаточных чисел принимаем из [2], табл. 5.5, с 74.

- ориентировочное
передаточное число клиноременной
передачи;
- ориентировочное передаточное число
цилиндрической передачи I ступени;
- ориентировочное передаточное число
цилиндрической передачи II ступени;
- ориентировочное передаточное число
муфты.
Определяем частоту вращения вала 1
об/мин.
Выбираем
электродвигатель исходя из условий
.
Из [3], табл.2.4,
с.23, выбираем электродвигатель 4АН180М6,
кВт
об/мин и для дальнейших расчётов выполняем
переход от
к

рад/с
1.3 Общее передаточное число и разбиение его по степеням
Определяем действительное общее передаточное число привода при выбранном двигателе.

Проводим
разбиение
по
степеням.
Принимаем
;
;
.
Тогда

1.4 Силовые и кинематические параметры привода
Определяем мощности на валах:
кВт
;
кВт
;
кВт
;
кВт;
кВт
(див.розд.1.2.1.)
Определяем угловые скорости валов:
рад/с;
рад/с;
рад/с;
рад/с;
рад/с.
Определяем крутящие моменты на валах:
Нм;
Нм;
Нм;
Нм;
Нм.
Результаты расчётов сводятся в табл.1.2 и являются исходными данными для всех следующих расчётов.
Таблица 1.2
Результаты кинетического и силового расчётов привода
-
Параметры
№ вала
N, кВт
ω рад/с
М,Нм


1
16,5
102,05
161,7
2,98
47,68
2
15,7
34,24
458,5
4
3
14,9
8,56
1740
4
4
14,3
2,14
6682
1
5
13
2,4
6542
2. Расчет клиноременной передачи
Схема клиноременной передачи

Рис 2.1
2.1 Исходные данные для расчёта передачи
Таблица 2.1
Исходные данные для расчета передачи
-
Параметры
№шва
N, кВт
w, рад/с
М, Нм
ид12
и добщ
1
16,5
102,05
161,7
2,98
47,68
2
15,7
34,24
458,5
2.2 Механический расчет
Сечение ремня по табл. 5.6 ([8], с. 69)

Рис 2.2
При заданном значении М принимаем сечение ремня (В).
Диаметр меньшего шкива
Минимально допустимый диаметр шкива d>min>= 63 мм.
Для повышения коэффициента полезного действия передачи, увеличения долговечности и тяговой способности ремней, уменьшение числа ремней принимаем d>1>=100 мм.
Диаметр большего шкива: d>2>=d>1>·i>кл >=100∙2,98=298
Скорость
ремня:
;
где v
– скорость ремня,
м/с.
Частота
вращения ведомого вала
;
где n>2>
– частота вращения ведомого вала,
об/мин.;
- коэффициент скольжения; принимаем
= 0,01
об/мин.
Ориентировочное межосевое расстояние
Принимаем a>0>=400 мм.
Длина ремня
;
где L - длина ремня, мм;
;
;
мм.
В соответствии с ГОСТ 1284.1-80 принимаем L = 1600 мм.
Окончательное межосевое расстояние
;
мм.
Принимаем a = 500 мм.
Наименьшее расстояние, необходимое для надевания ремня
a>наим >= a- 0,01L;
a>наим >= 500-0,01·1600 = 484 мм.
Наибольшее расстояние, необходимое для компенсации вытяжки ремня
a>наиб >= a- 0,025L;
a>наиб >= 500-0,025·1600 = 460 мм.
Коэффициент динамичности и режима работы
с>р >= 1,1
Угол обхвата
;
где
- угол обхвата, º;

По табл. 5.7 ( 5, с.71) величина окружного усилия р>0> , передаваемого одним ремнем р>0>=124 Н (на один ремень)
Допускаемое окружное усилие на один ремень
[р]=р>0>×С>α>×С>L>×C>Р>,
где С>α>=1-0,003(180-α>1>)=1- 0,003(180-156,24)=0,93
Коэффициент, учитывающий длину ремня
,
так как расчетная длина L=1600=L>0>
Коэффициент режима работы С>р>=1, следовательно
[р]=824∙0,93=757
где р>0 >=814 ( по табл. 5,7 [8], с. 71 )
Окружное усилие
Н
Расчетное
число ремней
;
.
Принимаем Z = 4
3. Расчет цилиндрической 3.1. Кинематическая схема передачи и исходные данные для расчета
Кинематическая схема передачи

Рис.3.1.
Исходные данные для расчета передачи Таблица 3.1.
-
параметры
№ вала
N, кВт
ω, рад/с
M,Нм
ид34
идобщ
2
15,7
34,24
458,5
4,0
47,68
3
14,9
8,56
1740
3.2 Выбор материала и определение допустимых напряжений
Материалы зубчатых колес
Для уравновешивания долговечности шестерни и колеса, уменьшения вероятности заедания и лучшей приработки твердость зубьев шестерни необходимо выбирать большей, чем твердость колеса: НВ>ш >= НВ>к >+ (20…50).
Так как к габаритам передачи не накладываются жесткие условия, то для изготовления зубчатых колес, из [6], принимаем материалы для шестерни – сталь 50, для колеса – сталь 40. Параметры материалов зубчатых колес сводим в таблицу 3.2.
Таблица 3.2
Материалы зубчатых колес.
|
Материал |
Термообработка |
Предел теку-чести, σт, МПа |
Твердость, НВ |
|
|
Шестерня |
Сталь 50 |
нормализация |
380 |
180 |
|
Колесо |
Сталь 40 |
нормализация |
340 |
154 |
Допустимые контактные напряжения:
,
где σ>Н>>lim>> >– граница контактной долговечности поверхности зубцов, соответствует базовому числу циклов изменения напряжений N>Н0>> >= 30 НВ2,4, (при твердости поверхности зубьев ≤350 НВ, σ>Н>>lim>> >>b>> >= 2 НВ +70):
σ>Н>>l>>im>> >>b>>ш>> >= 2·180+70=430МПа, σ>Н>>lim>> >>b>>к >=2· 154 + 70=378 МПа;
N>Н0ш>> >= 30·1802,4 = 7,76·106, N>Н0к >= 30 · 1542,4 = 5,3·106;
S>Н>> >– коэффициент безопасности (запас прочности), учитывается от термообработки и характера нагрузок, принимаем S>Н> = 1,1, [6];
К>Н>>L> – Коэффициент долговечности, который учитывает время службы и режим нагрузок передачи, определяется из соотношения N>Н0 >и дополнения (N>Σ>·К>НЕ>); К>НЕ> – коэффициент интенсивности режима нагрузки, из [6], табл. 1.1, для легкого режима принимаем К>НЕ> = 0,06.
N>Σ >- суммарное число циклов нагрузки зубьев за все время службы передачи:
,
где L>h> –время службы передачи, для односменной работы L>h>=1·104 час.
,
.
N>Σш >· К>НЕ >=1,96 · 108 · 0,06 = 1,17 · 106 < N>Н0ш >= 7,76 · 106,
N>Σк >· К>НЕ> = 0,49 · 108 · 0,06 =2,9 · 106 < N>Н0ш >= 5,3 ·106.
Так как в обоих случаях N>Н0 >>N>Σ> · К>НЕ >, то коэффициент долговечности
,
.
Мпа;
МПа
Допустимые напряжения на изгиб.
,
где σ>F>>lim>>b>> >– граница выносливости поверхности зубцов при изгибе, соответствует базовому числу циклов смены напряжений N>Fо >= 4 · 106, [6], (при твердости поверхности зубьев ≤350 НВ, σ>F>>lim>>b>> >= НВ + 260):
σ>F>>lim>>b>>ш >= 180 +260 = 440МПа, σ>F>>lim>>b>>к >= 154 + 260 = 414 МПа;
S>F> – коэффициент безопасности (запас прочности), из [2], принимаем S>F>> >= 1,8, K>FL>> >– коэффициент долговечности, который учитывает время службы и режим нагрузок передачи, определяется соотношением N>F0 >и (N>Σ >K>F>>Е>); K>F>>Е >– коэффициент интенсивности режима нагрузки, из [6], табл. 1.1, для легкого режима принимаем K>F>>Е >= 0,02.
N>Σ>>m>· K>F>>Е >= 1,05·108·0,02 = 2,1·106 < N>F0 >= 4·106,
N>Σк >· K>F>>Е >= 0,26·108·0,02 = 0,52·106 < N>F0> = 4·106.
Так как в обоих случаях N>F0 >> N>Σ> K>F>>Е>, то согласно [ ], коэффициент долговечности:
;
.
K>FC>> >- коэффициент реверсивности нагрузки, для нереверсивной передачи К>Н>>L> – 1,0, [6].
;

Допустимые максимальные контактные напряжения.
[σ>Н>]>max>> >= 2,8 σ>Т>.
[σ>Н>]>max>> ш >= 2,8·380 = 1064 МПа, [σ>Н>]>max>> к> =2,8·340=952 МПа.
Допустимые максимальные напряжения на изгиб.
[σ>F>]>max>> >= 0,8 σ>Т>.
[σ>F>]>max>>ш >= 0,8·380 = 304 МПа., [σ>F>]>max>>к> = 0,8·340 = 272 МПа.
3.3 Определение геометрических параметров
Межосевое расстояние.
Из условий контактной усталости поверхности зубьев:
,
где К>а
>–
коэффициент межосевого расстояния, из
[6], для косозубых передач К>а>
= 4300 Па1/3;
-
коэффициент ширины зубчатого венца по
межосевому расстоянию, из [6], для косозубой
передачи принимаем
ψ>ba> = 0,45; и = ид>34 >= 4;
К>Нβ >– коэффициент распределения нагрузки по ширине венца зубчатого колеса, из [6], табл.1.2, в зависимости от ψ>bd>> >= 0,5 ψ>ba> (и+1) = 0,5 · 0,45 · (4+1) = 1,13, для косозубой передачи К>Нβ >= 1,046; [σ>Н>] – наименьшее из двух значений (шестерни и колеса) допустимых контактных напряжений, МПа.
,

Определение модуля.
Первоначальное значение расчетного модуля зубьев определяется

где β – угол наклона зубьев, для косозубой передачи β = 20°;
Z>ш>> >– число зубьев шестерни, согласно [6] принимаем Z>ш >= 20;
Z>ш> – число зубьев колеса, Z>к>> >= Z>ш>и = 20·4 = 80> >.
Согласно [6], табл.1.3, принимаем m>п >= 5 мм.
- ширина: b>к >= ψ>d>>а >а>w >= 0,45 · 266 = 119,7 мм. Принимаем b>к >= 120 мм.
3.4 Проверочный расчет передачи
Расчет на контактную усталость.

где Z>Н >– коэффициент, учитывающий форму спряженных поверхностей зубьев: для косозубых - Z>Н >= 1,75, [6];
Z>М >= 275 · 103 Па1/2 - коэффициент учитывающий механические свойства материалов зубчатых колес, [6];
Z>Е >- коэффициент суммарной длинны контактный линий спряженных зубьев: для косозубых - Z>Е >= 0,8, [6];
К>Н >= К>На> К>Н β >К>Н>>V>> >– коэффициент нагрузки : К>На >– коэффициент распределения нагрузки между зубьями из [6], табл. 1.4, К>Н а >= 1,15; К>Н β >= 1,046, см. разд.3.3.1, К>Н>>V>> >– коэффициент динамической нагрузки, из [6], табл. 1.4, при
;
К>HV>=1.02;
К>Н>=1,15∙1,046∙1,02=1,22.

Так как σ>Н
>=
363 находится в пределах (0,9…1,0)[σ>Н>],
то расчет можем считать завершенным:
.
Расчет на контактную прочность.
,
где К>п>=2,2, [σ>Н>]>max> – наименьшее из двух значений (шестерни и колеса) допустимых максимальных контактных напряжений, МПа

Условие выполняется.
расчет на усталость при изгибе.
Определяем отдельно для шестерни и колеса по формуле
,
где - Y>F>>
>-
коэффициент формы зуба, из [6], табл. 1.7,
по эквивалентному числу зубьев
Z>V>>
>,
для косозубой передачи:
,
Y>Fш
>=3,92;
,Y>Fк
>=
3,6.
Y>E>> >- коэффициент перекрытия зубьев, согласно [6] принимаем Y>E>> >=1,0.
Y>β
>-
коэффициент наклона зубьев, согласно
[6] для косозубых передач принимается:
К>F >= К>Fа> К> Fβ >К>F>>V>- коэффициент нагрузки: К>Fа >– коэффициент распределения нагрузки между зубьями для косозубых - К>Fа >=1,0, [6], табл. 1,8; К> Fβ >–коэффициент
Геометрические размеры цилиндрической зубчатой передачи

Рис 3.2.
Геометрический расчет передачи (см. рис. 3.2).
Межосевое расстояние

Принимаем а>w >= 266 мм.
Уточняем угол наклона зубьев

Размеры шестерни:
- делительный
диаметр:

- диаметр вершин зубьев: d>аш> = d>ш >+ 2m>n> = 106,4+ 2 · 5= 116,4мм;
- диаметр впадин: d>ƒ>>ш> = d>ш >– 2,5m>n> = 106,4 – 2,5 · 5= 93,9мм;
- ширина: b>ш >= b>к> + 5 мм = 120 + 5 = 125 мм.
Размеры колеса:
-делительный
диаметр

- диаметр вершин зубьев: d>ак >= d>к >+ 2m>n> = 425,5 +2 · 5 = 696 мм;
- диаметр впадин: d>ƒ>>к >= d>к >– 2,5m>n> = 425,5 – 2,5 · 5 = 413 мм;
распределения нагрузки по ширине венца зубчатого колеса, из [6], табл. 1.9, в зависимости от ψ>ba> = 1, 13 (см. разд. 3.3.1.) для косозубой передачи К> Fβ >= 1,09; К>F>>V>- коэффициент динамической нагрузки, выбирается из табл. 1.10, [6], при К>F>>V>> >= 1,05; К>F >= 1,00 · 1,09 · 1,05 = 1,14.


Условия выполняются.
Расчет на прочность при изгибе.
Выполняется отдельно для шестерни и колеса при действии кратковременных максимальных нагрузок (в период пуска двигателя).
σ>F >>ma>>х >= σ>F >К>п >≤ [σ>F>]>max΄>
где К>п >– коэффициент перегрузки, из [2], табл. 1, с. 249 - К>п >=2,2.
σ>F >>ma>>х ш>= 114 · 2,2 = 250,8 МПа ≤ [σ>F>]>max>> ш >= 304 МПа,
σ>F >>ma>>х к >= 92 · 2,2 = 202,4 МПа ≤ [σ>F>]>max>> к >= 272 МПа.
Условия выполняются.
3.5 Определение сил в зацеплении (см. рис. 3.3)
- окружная
сила

- радиальная
сила

- осевая сила F>аш >= F>ак >= F>t>>к >tgβ = 8651· tg 19,95 0 = 3139 Н
Схема сил в зацеплении

Рис.3.3.
4. Расчёт цилиндрической косозубой передачи || ступени
4.1 Кинематическая схема передачи и исходные данные для расчета
Кинематическая схема передачи

Рис.4.1.
Исходные данные.
Таблица 4.1.
Исходные данные для расчета передачи
-
параметры
№ вала
N, кВт
ω, рад/с
M,Нм
ид34
идобщ
3
14,9
8,56
1740
4
47,68
4
14,3
2,14
6682
4.2 Выбор материала и определение допустимых напряжений
Материалы зубчатых колес.
Для уравновешивания долговечности шестерни и колеса, уменьшения вероятности заедания и лучшей приработки твердость зубьев шестерни необходимо выбирать большей, чем твердость колеса: НВ>ш >= НВ>к >+ (20…50).
Так как к габаритам передачи не накладываются жесткие условия, то для изготовления зубчатых колес, из [6], принимаем материалы для шестерни – сталь 50, для колеса – сталь 40. Параметры материалов зубчатых колес сводим в таблицу 3.2.
Таблица 4.2.
Материалы зубчатых колес
-
Материал
Термообработка
Предел теку-чести, σт, МПа
Твердость, НВ
Шестерня
Сталь 50
нормализация
380
180
Колесо
Сталь 40
нормализация
340
154
Допустимые контактные напряжения:
,
где σ>Н>>lim>> >– граница контактной долговечности поверхности зубцов, соответствует базовому числу циклов изменения напряжений N>Н0>> >= 30 НВ2,4, (при твердости поверхности зубьев ≤350 НВ, σ>Н>>lim>> >>b>> >= 2 НВ +70):
σ>Н>>l>>im>> >>b>>ш>> >= 2·180+70=430МПа, σ>Н>>lim>> >>b>>к >=2· 154 + 70=378 МПа;
N>Н0ш>> >= 30·1802,4 = 7,76·106, N>Н0к >= 30 · 1542,4 = 5,3·106;
K>FL>> >– коэффициент долговечности, который учитывает время службы и режим нагрузок передачи, определяется соотношением N>F0 >и (N>Σ >K>F>>Е>); K>F>>Е >– коэффициент интенсивности режима нагрузки, из [6], табл. 1.1, для легкого режима принимаем K>F>>Е >= 0,02.
N>Σ>>m>· K>F>>Е >= 1,05·108·0,02 = 2,1·106 < N>F0 >= 4·106,
N>Σк >· K>F>>Е >= 0,26·108·0,02 = 0,52·106 < N>F0> = 4·106.
Так как в обоих случаях N>F0 >> N>Σ> K>F>>Е>, то согласно [ ], коэффициент долговечности:
;
.
K>FC>> >- коэффициент реверсивности нагрузки, для нереверсивной передачи К>Н>>L> – 1,0, [6].
;

Допустимые максимальные контактные напряжения.
[σ>Н>]>max>> >= 2,8 σ>Т>.
[σ>Н>]>max>> ш >= 2,8·380 = 1064 МПа, [σ>Н>]>max>> к> =2,8·340=952 МПа.
Допустимые максимальные напряжения на изгиб.
[σ>F>]>max>> >= 0,8 σ>Т>.
[σ>F>]>max>>ш >= 0,8·380 = 304 МПа., [σ>F>]>max>>к> = 0,8·340 = 272 МПа.
4.3 Определение геометрических параметров
Межосевое расстояние.
Из условий контактной усталости поверхности зубьев:
,
где К>а
>–
коэффициент межосевого расстояния, из
[6], для косозубых передач К>а>
= 4300 Па1/3;
-
коэффициент ширины зубчатого венца по
межосевому расстоянию, из [6], для косозубой
передачи принимаем
ψ>ba> = 0,45; и = ид>34 >= 4;
К>Нβ >– коэффициент распределения нагрузки по ширине венца зубчатого колеса, из [6], табл.1.2, в зависимости от ψ>bd>> >= 0,5 ψ>ba> (и+1) = 0,5 · 0,45 · (4+1) = 1,13, для косозубой передачи К>Нβ >= 1,046; [σ>Н>] – наименьшее из двух значений (шестерни и колеса) допустимых контактных напряжений, МПа.
,

Определение модуля.
Первоначальное значение расчетного модуля зубьев определяется

S>Н>> >– коэффициент безопасности (запас прочности ), зависит от термообработки и характера нагрузок, принимаем S>Н> = 1,1, [6];
К>Н>>L> – Коэффициент долговечности, который учитывает время службы и режим нагрузок передачи, определяется из соотношения N>Н0 >и дополнения (N>Σ>·К>НЕ>); К>НЕ> – коэффициент интенсивности режима нагрузки, из [6], табл. 1.1, для легкого режима принимаем К>НЕ> = 0,06.
N>Σ >- суммарное число циклов нагрузки зубьев за все время службы передачи:
,
где L>h> –время службы передачи, для односменной работы L>h>=1·10 4 час.
,
.
N>Σш >· К>НЕ >=0,49 · 108 · 0,06 = 2,94 · 106 < N>Н0ш >= 7,76 · 106,
N>Σк >· К>НЕ> = 0,12 · 108 · 0,06 = 0,72 · 106 < N>Н0ш >= 5,3 ·106.
Так как в обоих случаях N>Н0 >>N>Σ> · К>НЕ >, то коэффициент долговечности
,
.
Мпа;
МПа
Допустимые напряжения на изгиб.
,
где σ>F>>lim>>b>> >– граница выносливости поверхности зубцов при изгибе, соответствует базовому числу циклов смены напряжений N>Fо >= 4 · 106, [6], (при твердости поверхности зубьев ≤350 НВ, σ>F>>lim>>b>> >= НВ + 260):
σ>F>>lim>>b>>ш >= 180 +260 = 440МПа, σ>F>>lim>>b>>к >= 154 + 260 = 414 МПа;
S>F> – коэффициент безопасности (запас прочности), из [2], принимаем S>F>> >= 1,8,
где β – угол наклона зубьев, для косозубой передачи β = 20°;
Z>ш>> >– число зубьев шестерни, согласно [6] принимаем Z>ш >= 20;
Z>ш> – число зубьев колеса, Z>к>> >= Z>ш>и = 20·4 = 80> >.
Согласно [6], табл.1.3, принимаем m>п >= 8,0 мм.
- ширина: b>к >= ψ>d>>а >а>w >= 0,45 · 425 = 191,25 мм. Принимаем b>к >= 220 мм.
4.4 Проверочный расчет передачи
Расчет на контактную усталость. распределения нагрузки по ширине венца зубчатого колеса, из [6], табл. 1.9, в зависимости от ψ>ba> = 1, 13 (см. разд. 3.3.1.) для косозубой передачи К> Fβ >= 1,09; К>F>>V>- коэффициент динамической нагрузки, выбирается из табл. 1.10, [6], при ν = 1,77 м/с, К>F>>V>> >= 1,05; К>F >= 1,00 · 1,09 · 1,05 = 1,14.


Условия выполняются.
Расчет на прочность при изгибе.
Выполняется отдельно для шестерни и колеса при действии кратковременных максимальных нагрузок (в период пуска двигателя).
σ>F >>ma>>х >= σ>F >К>п >≤ [σ>F>]>max΄>
где К>п >– коэффициент перегрузки, из [2], табл. 1, с. 249 - К>п >=2,0.
σ>F >>ma>>х ш>= 103 · 2,2 = 226,6 МПа ≤ [σ>F>]>max>> ш >= 304 МПа,
σ>F >>ma>>х к >= 84 · 2,2 = 184,8 МПа ≤ [σ>F>]>max>> к >= 272 МПа.
Условия выполняются.
4.5 Определение сил в зацеплении (см. рис. 3.3)
- окружная
сила

- радиальная
сила

- осевая сила F>аш >= F>ак >= F>t>>к >tgβ = 20470 · tg20° = 7450 Н
Схема сил в зацеплении

Рис.4.3.

где Z>Н >– коэффициент, учитывающий форму спряженных поверхностей зубьев: для косозубых - Z>Н >= 1,75, [6];
Z>М >= 275 · 103 Па1/2 - коэффициент учитывающий механические свойства материалов зубчатых колес, [6];
Z>Е >- коэффициент суммарной длинны контактный линий спряженных зубьев: для косозубых - Z>Е >= 0,8, [6];
К>Н >= К>На> К>Н β >К>Н>>V>> >– коэффициент нагрузки : К>На >– коэффициент распределения нагрузки между зубьями из [6], табл. 1.4, К>Н а >= 1,15; К>Н β >= 1,046, см. разд.3.3.1, К>Н>>V>> >– коэффициент динамической нагрузки, из [6], табл. 1.4, при
;
К>HV>=1.02;
К>Н>=1,15∙1,046∙1,02=1,22.

Так как σ>Н
>=
363 находится в пределах (0,9…1,0)[σ>Н>],
то расчет можем считать завершенным:
.
Расчет на контактную прочность.
,
где К>п>=2,2, [σ>Н>]>max> – наименьшее из двух значений (шестерни и колеса) допустимых максимальных контактных напряжений, МПа

Условие выполняется.
расчет на усталость при изгибе.
Определяем отдельно для шестерни и колеса по формуле
,
где - Y>F>>
>-
коэффициент формы зуба, из [6], табл. 1.7,
по эквивалентному числу зубьев
Z>V>>
>,
для косозубой передачи:
,
Y>Fш
>=3,92;
,Y>Fк
>=
3,6.
Y>E>> >- коэффициент перекрытия зубьев, согласно [6] принимаем Y>E>> >=1,0.
Y>β
>-
коэффициент наклона зубьев, согласно
[6] для косозубых передач принимается:
К>F >= К>Fа> К> Fβ >К>F>>V>- коэффициент нагрузки: К>Fа >– коэффициент распределения нагрузки между зубьями для косозубых - К>Fа >=1,0, [6], табл. 1,8; К> Fβ >–коэффициент
Геометрические размеры цилиндрической зубчатой передачи
Рис 4.2.
Геометрический расчет передачи (см. рис. 4.2).
Межосевое расстояние

Принимаем а>w >= 425 мм.
Уточняем угол наклона зубьев

Размеры шестерни:
- делительный
диаметр:

- диаметр вершин зубьев: d>аш> = d>ш >+ 2m>n> = 170 + 2 · 8,0 = 186мм;
- диаметр впадин: d>ƒ>>ш> = d>ш >– 2,5m>n> = 170 – 2,5 · 8,0 = 150 мм;
- ширина: b>ш> b>к> + 5 мм = 220 + 5 = 225 мм.
Размеры колеса:
-делительный
диаметр

- диаметр вершин зубьев: d>ак >= d>к >+ 2m>n> = 680 +2 · 8,0 = 696 мм;
- диаметр впадин: d>ƒ>>к >= d>к >– 2,5m>n> = 680 – 2,5 · 8,0 = 660 мм;
5. Условный расчет валов
При отсутствии данных о моменте изгиба, диаметр вала определяют приблизительно по известному крутящему моменту из условий прочности на кручение по заниженным значениям допустимых напряжений:

где i- номер вала, j- номер участка ступенчатого вала, Мi - крутящий момент на i-тому валу, принимаем из табл. 1.2. Согласно рекомендаций [4], с.53, принимаем пониженные допускаемые напряжения кручения, для валов редукторов общего назначения, [τ>к>] = 25 МПа.
5.1 Определение диаметров входного вала редуктора
Схема входного вала редуктора

Рис. 5.1.

Согласно [7], с. 6 полученный диаметр округляем до ближнего большего значения из стандартного ряда Ra40 ГОСТ6636-69.
Принимаем d>21 >= 50 мм.
Диаметры других участков вала выбираем из стандартного ряда Ra40 ГОСТ6636-69.
Принимаем d>22 >=60 мм> >d>23 >= 60 мм d>24 >= 65 мм. .2. Определение диаметров промежуточного вала редуктора
Схема промежуточного вала редуктора

Рис. 5.1.

6. Определение конструктивных размеров зубчатых колес
6.1 Размеры зубчатых колес цилиндрической передачи I ступени
Устанавливаем
способ изготовления шестерни и вала –
вместе или отдельно. Согласно рекомендаций
[1], если
-
отдельно,
– вместе, где d>fш
>-
диаметр впадин шестерни (d>fш
>=
200,7 мм,
см. разд.3.3.3.11), d>вш
>-
диаметр участка вала под шестерню (d>вш
>=
60 мм,
см.
разд. 5.2)
-выполняем
вместе.
6.2 Размеры зубчатых колес цилиндрической передачи II ступени
Устанавливаем
способ изготовления шестерни и вала –
вместе или отдельно. Согласно рекомендаций
[1], если
-
отдельно,
– вместе где d>fш
>–
диаметр впадин шестерни,,
d>fш
>=150
мм,
d>вш
>-
диаметр участка вала под шестерню d>вш>
=>
>d>24>
=75 мм.
-
выполняется
отдельно.
6.3 Определяем размеры цилиндрического колеса (рис.6.1.)
Схема колеса зубчатого

Рис.6.1.
Согласно [7], с.6 полученный диаметр округляем до ближайшего большего значения из стандартного ряда Ra40 ГОСТ6636-69.
Принимаем d>31 >= 70 мм.
Диаметры других участков вала выбираем из стандартного ряда Ra40 ГОСТ6636-69.
Принимаем d>32 >= 75 мм; d>33 >= 80 мм.
6.4 Определение диаметров выходного вала
Схема выходного вала редуктора

Рис. 5.2.

Согласно [7], с.6 полученный диаметр округляем до ближайшего большего значения из стандартного ряда Ra40 ГОСТ6636-69.
Принимаем d>41 >= 110 мм.
Диаметры других участков вала выбираем из стандартного ряда Ra40 ГОСТ6636-69.
Принимаем d>42 >= 115 мм; d>43 >= 120 мм; d>44 >= 130 мм. d>45 >= 140 мм.
Общая ширина зубчатого венца в=220 мм.
Диаметр ступицы d>с >= 1,6d>в >= 1,6 · 130 = 208 мм
Длина ступицы l>с> = (1,2…1,5) d>в >= 1,5 · 130 = 195 мм. Принимаем 220 мм
Толщина обода δ>0> = (2,5…4)m>n>> >4 · 8 = 32 мм
Толщина диска с = (0,2…0,4)b = 0,4·220 = 88 мм Принимаем 90 мм.
Диаметр отверстий в диске d>отв >= 0,25[d>об >–(d>в >+ 2 δ>ст>)],
где
, d>об
>=
d>f>>ш
>-
2
δ>0
>=
660 – 2 · 39 = 582 мм.
d>отв >= 0,25[582> >–(130> >+ 2 ·39)] = 93,5 мм, принимаем d>отв >= 95 мм.
Диаметр центров отверстий в диске
d>0 >= 0,5(d>в >2 δ>с >+ d>об>) = 0,5 · (130 +2 · 38 + 582) = 395 мм.
7. Конструктивные размеры корпуса и крышки редуктора
7.1 Определение конструктивных размеров корпуса и крышки редуктора, согласно табл. 4.2, 4.3, [1]
Толщина стенки корпуса редуктора:
δ = 0,025a>w> + 3 = 0,025 · 425 + 3 = 13,6 ≈ 14 мм,
где a>w>– межосевое расстояние зубчатых передач редуктора.
Толщина стенки крышки редуктора:
δ>1> = 0,02а>w> + 3 = 0,02 · 425 + 3 = 11,5 ≈ 12 мм.
Толщина верхнего фланца корпуса:
S = (1,5…1,75) · δ =(1,5…1,75) ∙ 14 = 21…24,5 = 24 мм.
Толщина нижнего фланца корпуса:
S>2> = 2,35 δ = 2,35 ∙ 14 = 32,9 ≈ 33мм.
Толщина фланца крышки редуктора:
S>1> = (1,5…1,75) · δ>1> =(1,5…1,75) · 12 = 18…21 = 20 мм.
Диаметр фундаментных болтов:
d>1 >= 0,072a>w> + 12 = 0,072 · 425 + 12 = 37,9 ≈ 39 мм,
Диаметр болтов, стягивающих корпус и крышку возле бобышек:
d>2 >= (0,7…0,75) · d>1> =(0,7…0,75) ∙ 39 = 27,3…29,25 = 27 мм.
Диаметр болтов, стягивающих фланцы корпуса и крышки редуктора:
d>3 >= (0,5…0,6) · d>1> =(0,5…0,6) ∙ 24 = 12…14,4 = 14мм.
Ширина опорной поверхности нижнего фланца корпуса:
m = k + 1,5 δ = 60 + 1,5 ∙ 14 = 81мм.
Толщина ребер корпуса:
с>1> = (0,8…1) · δ = (0,8…1) ·∙ 14 = 10,4…14 = 12мм.
7.2 Размеры необходимые для черчения
Минимальный зазор между колесом и корпусом:
b = 1,2 δ = 1,2 · 14 = 16,8 мм.
Расстояние от внутренней стенки до торца вращающейся детали:
е>1> = (1,0…1,2) ∙ δ = (1,0…1,2) ∙ 14 = 14…16,8 = 12мм.
Расстояние от внутренней стенки до радиального торца вращающейся детали:
е>2> = (0,5…1,0) ∙ δ = (0,5…1,0) ∙ 14 = 7,0…14 = 10мм.
Расстояние от окружности выступов наибольшего колеса до дна редуктора: b>0> = (0,5…10)m = (5…10) ∙ 8 = 50…80мм.
Размеры отверстий под подшипники редуктора принимаем в зависимости от размеров подшипника, согласно рекомендаций с. 141, [1].
Оставшиеся необходимые геометрические размеры корпуса и крышки принимаем конструктивно на основе рекомендаций с. 140-8. Эскизная компоновка редуктора
8. Выбор шпонок и их проверочный расчет
Выполняем проверочный расчет шпонки на смятие. Результаты расчетов сводим в таблицу 8.2.
Таблица 8.2.
Результаты проверочных расчетов шпонок на смятие
|
Номер вала и название шпонки |
|
[σсм] |
|
2– шпонка под ведомый шкив клиноременной передачи |
|
140 |
|
2- шпонка под шестерню цилиндрической передачи I ступени |
|
|
|
3 – шпонка под колесо цилиндрической передачи I ступени |
|
|
|
3 – шпонка под шестерню цилиндрической передачи II ступени |
|
|
|
4 – шпонка под колесо цилиндрической передачи II ступени |
|
|
|
4 – шпонка под зубчатую муфту |
|
Схема шпоночного соединения

Рис. 8.1.
Для передачи крутящего момента зубчатые колеса, шкивы, муфты соединяются с валами при помощи призматических шпонок.
Геометрические размеры поперечных сечений (b, h) призматических шпонок выбираем в зависимости от диаметров валов. Длины шпонок принимаем на 5…10 мм меньше длин ступиц в ряду стандартных значений, приведенных в табл.5.19, [1].
В качестве материала шпонок используем – Сталь 45, нормализованную [σ>зм>] = 140 МПа и [τ>зр>] = 100 МПа, с. 191, [1].
Размеры сечений шпонок и пазов по ГОСТ 10748-79 выбираем из табл. 5.19, [1] и сводим в таблицу 8.1
Таблица 81
Параметры и размеры шпоночных соединений
-
Номер вала и название шпонки
Диам. вала d1 мм
Мкр,
Нм
Размеры шпонки, мм
b
h
l
t1
t2
2– шпонка под ведомый шкив клиноременной передачи
50
458,5
18
11
80
7
4,4
2- шпонка под шестерню цилиндрической передачи I ступени
55
458,5
20
12
90
7,5
4,9
3 – шпонка под колесо цилиндрической передачи I ступени
75
1740
22
14
100
9
5,4
3 – шпонка под шестерню цилиндрической передачи II ступени
75
1740
22
14
100
9
5,4
4 – шпонка под колесо цилиндрической передачи II ступени
130
6542
36
20
180
12
8,4
4 – шпонка под зубчатую муфту
110
6542
32
18
150
11
7,4
При эскизном проектировании размещаем детали передач (шестерни и зубчатые колеса), валы, подшипники, складываем эскизную компоновку цилиндрического редуктора.
По определенном размерам зубчатых передач, валов, корпуса и крышки(см. разд. 3, 4, 5, 6,) строим на миллиметровой бумаге формата А1 эскиз коническо – цилиндрического редуктора, в масштабе 1:4. При оформлении эскиза редуктора вычерчиваем конструкцию колес и его корпуса. Подшипники и болтовые соединения вычерчиваем упрощенно.
Подшипники качения выбираются из [3], ориентируясь на диаметры валов и характер нагрузки в передачах. В нашем случае выбираем подшипники №7312, №7314, №7224. В зависимости от их номера, который вмещает сведения о типе и серии подшипника выписываем габаритные размеры, которые используем в эскизной компоновке.
Размеры крышек под подшипники редуктора принимаем в зависимости от размеров подшипников, согласно рекомендаций с. 14.1, [1].
Другие необходимые геометрические размеры принимаем конструктивно, на основе рекомендаций с. 140-143, [1].
Для расчетов промежуточного вала из компоновочного чертежа прямым измерением определяем расстояние между точками приложения сил: l>1 >= 108мм, l>2> = 184мм и l>3> = 156мм.
После согласования параметров редуктора, проверочных расчетов валов и подшипников качения, чертим общий вид 143, [1].проверочный расчет шпонок на срез. Результаты вносим в таблицу 8.3.
Таблица 8.3
Результаты проверочного расчета шпонок на срез
-
Номер вала и название шпонки

[σсм]
2– шпонка под ведомый шкив клиноременной передачи

80
2- шпонка под шестерню цилиндрической передачи I ступени

3 – шпонка под колесо цилиндрической передачи I ступени

3 – шпонка под шестерню цилиндрической передачи II ступени

4 – шпонка под колесо цилиндрической передачи II ступени

4 – шпонка под зубчатую
муфту

Условия прочности на деформации смятия и срез выполняются.
Порядок построения сил выполняем в следующей последовательности:
- вычерчиваем кинематическую схему привода;
- обозначаем опоры валов латинскими буквами А, В, С, D, E, F, обозначаем точки приложения сил К>1>, К>2>, К>3>, К>4>, приводим пространственную систему координат X, Y, Z к которой осуществляется привязка действующих сил;
- выполняем построения схемы сил в точках их приложения, способность и долговечность

9. Расчёт промежуточного вала редуктора на статическую способность и долговечность
9.1 Расчет вала на несущую способность
Силы, действующие на вал во время работы редуктора:
- силы, действующие на цилиндрическую шестерню II ступени: окружная сила F>t>>ш> = 20470 Н, Радиальная сила F>r>>ш >=7928 Н; Осевая сила F>a>>ш >=7450 Н.
- силы, действующие на цилиндрическое колесо I ступени F>tk>> >= 8651 Н; радиальная сила F>rk>> >= 3349 Н; осевая сила F>ак >= 3139 Н.
Вычерчиваем расчетную схему вала (рис.9.1) и определяем размеры между опорами и точками приложения сил (расстояние определяем по первой эскизной компоновке редуктора измерением, допустив, что силы приложенные по середине колеса и шестерни): l>1 >= 108 мм, l>2 >= 184 мм, l>3> = 156 мм.
Находим реакции в опорах от сил в вертикальной и горизонтальной плоскости:
- в вертикальной х0у
ΣМ>F>>(>>D>>) >=0.
.

R>DX>> >= R>CX>> >–F>r>>ш >+F>rk>> >= 7262 - 7928 + 3349 = 2683 Н> >
- в горизонтальной zOx
ΣМ>F>>(>>D>>) >=0
ΣМ>F>>(>>D>>) >= - F>t>>ш >∙(l>1>+l>2>)+ F>tk>> >∙l>1>+ R>c>> >>z>> >(l>1> + l>2> +l>3> ) = 0

R>DZ> = - R>c>> >>z> + F>t>>ш >+> >F>tk> = - 11256 + 20470 – 8651 = 562Н
Выполняем построения эпюр моментов изгиба в вертикальной и горизонтальной плоскостях, суммарного крутящего момента и изгиба.
Момент изгиба в вертикальной плоскости:
в m.K>3>: М>К3 >= R>DX>> >· l>1 >= 2683 · 0,108 = 290 Нм;
в m.K>4>: М>К4 >= R>CX>> >· l>3 >= 7262 · 0,156 = 1132,8 Нм;
Момент изгиба в горизонтальной плоскости
в m.K>4>: М>К4 >= R>Dz>> >· l>1 >= 562 · 0,108 = 61Нм;
Суммарный момент изгиба определяется по формуле:
в m.K>3>:
в m.K>4>:

Определяем приведенный (эквивалентный) момент в опасном сечении.
Исходя из анализа построенных эпюр моментов опасное сечение вала находится на шестерне цилиндрической передачи II ступени (точка К>4>).
Значение эквивалентного момента в m.K>4>:
.

– коэффициент, табл. 5.3., [1] для материала вала
– сталь 40. [σ>1>], σ>0 >- допустимые напряжения для материала вала соответственно при симметричном и при пульсирующем циклах нагрузки, табл. 5.3., [1].

Определяем диаметр вала в опасном сечении:

Полученный диаметр округляем до ближайшего большего значения из стандартного ряда R>а >40 ГОСТ 6636-69. С учетом шпоночного паза принимаем d>32 >= 75мм.
Диаметр вала в этом сечении, принятый в условном расчете
d>32 >= 75,0мм, т.е. условие выполняется.
9.2 Расчет вала на прочность
Для опасного сечения быстроходного вала, который имеет конструктивный концентратор напряжений – переход от меньшего диаметра к большему (между участками под подшипник и шестерню), определяем характеристики напряжений, [1], с.173- 185.
- границы выносливости:
для напряжений изгиба при симметричном цикле:
σ>-1 >= 043σ>В>> >=0,43 · 800 = 344 МПа, σ>m> = 0 МПа;
для напряжений кручения при пульсирующем цикле:
τ>-1> = 0,58 σ>-1 >= 0,58 · 344 = 199,52 МПа; τ>m >= τ>а >=2,79 МПа;
-амплитуды напряжений:
при симметричном цикле:

где М>З>>j>> >– суммарный момент изгиба в m. К>4>, Нм,

Рис. 11 .1.
>З>>j>> >– осевой момент в сечении опор j – того участка вала. Для сечения в m. К>4>, м3.

где d – диаметр вала под подшипник,
при пульсирующем цикле:

где W> к>>j>> >– полярный момент сечения опор j – того участка вала. Для сечения под шпонку, м3.

Выбираем коэффициенты:
- эффективные коэффициенты конструкционных напряжений при изгибе - К>σ> = 1,75, при кручении - К>τ >=1,50, табл. 5.11, [1].
- масштабные коэффициенты, учитывающие снижения границы выносливости с увеличением размеров вала: при изгибе - έ>σ >= 0,745; при кручении- έ>r>> >= 0,745, табл. 5.16, [1].
- коэффициенты учитывающие свойства материалов до асимметрии цикла напряжений:
при изгибе – ψ>σ>> >=0,02 + 2·10-4 · 800 = 0,18 МПа;
при кручении - ψ>τ>> >=0,5ψ>σ>> >= 0,5· 0,18 = 0,09 МПа.
Определяем коэффициент запаса прочности опасного сечения:

где Ѕ>σ >и Ѕ>τ >– коэффициенты запаса прочности при действии изгиба и кручения.
[Ѕ] –допустимое значение коэффициенты запаса прочности. Для редукторных валов [Ѕ] ≥2,5…3,0, с.185, [1].
,
,

Условие выполняется.
10. Расчет подшипников качения
Исходные данные для расчета:
Диаметры вала под подшипники – 70 мм
Реакции в опорах: R>сх >= 7262 Н, R>DX>> >=2683Н,
R>CZ>=11256, R>OZ>=562H
Осевые силы: F>фш >= 7450 Н, F>ок> = 3139Н.
Угловая скорость: ω>3 >=18,3 рад/с.

Pис. 12.1
10.1 Определение реакции в опорах
Определяем результативную радиальную реакцию в каждой опоре вала (для схемы нагрузки):
,
где R>пх >= R>nz>> >– радиальные реакции в опоре, в горизонтальной и вертикальной плоскостях.
Индекс «п»- опора.
;
.
Выбираем роликовые однорядные подшипники №7314 с такими основными параметрами:
d = 70 мм, D = 150 мм, B = 35 мм.
C = 168 кН – динамическая грузоподъемность;
С>0>> >= 137 кН – статическая грузоподъемность;
е = 1,5tga =1,5 tg140 = 0,37.
Результирующая осевая сила:
F>a> = F>аш> F>ак >= 7450 –3139= 1713 Н.
Определяем
по соотношению
коэффициент осевой нагрузки.
Определяем составляющие осевых реакций S>п> в подшипниках от радиальных реакций R>rn>:для радиально-упорных шариковых подшипников:
- для опоры А:
S>C>=eR>rC>=0.37∙13395=4956H;
для опоры В:
S>D>=eR>rD>=0.37∙2741=1014.0H.
Определение осевых реакций R>ап> подшипников.
Осевые реакции определяем исходя из схемы размещения подшипников, принимаем схему – «в распор»:

Рис.10.2.
-в т. D
ΣF=-S>C>+F>a>+S>D>=-4956+4311+1014=369H>0.
тогда
R>aD>=F>a>+S>C>=4311+4956=9267H
-в т. С
ΣF=-S>D>-F>a>+S>C>=-1014-4311+4956=-369H.>0
тогда
R>aC>=S>C>=4956H.
10.2 Определение коэффициентов
V-коэффициент оборота кольца, V=1,0 (вращается внутреннее кольцо);
реакции подшипников:
- для опоры С

- для опоры D

10.3 Определение эквивалентной нагрузки
P>en>=(X∙V∙R>rn>+Y∙R>an>)∙K>σ>K>T> :
- опора С: Р>еС>=(1∙1∙13395+0∙4956)∙1,3∙1,0=17413,5Н;
- опора D: P>eD>=(0.4∙1∙2741+1.88∙9267)∙1.3∙1.0=24074H.
10.4 Определяем долговечность подшипников
,
где п>i>- частота вращения i-того вала, об/мин,
.
р=10/3- для роликовых подшипников.
Опора С:
ч,
Опора D:
ч,
Срок работы привода L>h>=1∙104ч подшипники (опора С и опора D) обеспечивают.
10.5 Выбор муфты
Расчётный крутящий момент, который передаёт муфта в данном приводе определяется по формуле:
М>max>=K>P>M>н>=1,5∙6682=10023Нм,
где K>P>> >= 1,5 – коэффициент, который учитывает условия эксплуатации установки, принимаем по табл. 7.1. , [1].
М>н> – номинальный крутящий момент на валу.
Выбираем зубчатую муфту МЗ 6, табл. 17.6.,[9] с такими параметрами:
М=11800 Нм, d>в> = 105 мм, n>max>=2500 об/мин.
Геометрические размеры муфты, см. рис. 12.2.
B = 50 мм, D=320 мм, D>1>=230 мм, D>2>=140 мм, L=255 мм.
Размеры зацепления зубчатой муфты:
m =4,0 мм, z=48, b=30 мм.
Муфты зубчатые используют для соединения валов, которые передают большие крутящие моменты, где точное установление валов невозможно или возникают значительные осложнения. Зубчатые муфты отличаются компактностью и высокой выносливостью нагрузок.
Компенсирующая способность муфты достигается созданием зазоров между зубьями и приданием бочкообразной формы зубьям.
10.6 Проверочный расчёт зубчатой муфты

Рис. 10.5.
11. Выбор и проверочный расчёт опор скольжения
В качестве
опор конвейера принимаем подшипники
скольжения, разъёмные с двумя болтами
по ГОСТ 11607-65 с чугунными вкладышами с
СЧ 18 для которого определяем допустимые
значения параметров:
,
,
табл. 9.1, [8].
Конструктивные размеры корпуса выбранного подшипника определяем согласно С.594, [8] в зависимости от диаметра вала:
d>В>=110 мм, d>1>=32 мм, B=130 мм, b=110 мм, H=200 мм, h=110 мм, h>1>= 40 мм, L=370 мм, A=310 мм,
A>1>=190 мм, шпилька М24х100.
Схема подшипника скольжения

Рис. 11.1.
Проверяем выбранный подшипник по двум критериям:
- условие износа ( долговечность )
,
где F>0>=F>t>=28000 H – окружная сила, см. раздел 1.1.
- условие теплоустойчивости

где
-
скорость скольжения.
Оба условия выполняются, значит опоры скольжения удовлетворяют
При проверочном расчёте у зубчатых муфт рассчитывают рабочие поверхности зубов на износ (определяется граничное значение удельного давления на зубцы муфты).

где d>0> – диаметр делительного круга, м, d>0> = mz=4,0∙48=192 мм, b – длина зуба зубчатой втулки, м, [q] – допустимое значение удельного давления для материала зубов, МПа, табл. 17.6, [9].
Литература
Киркач Н.Ф., Баласанян Р.А.. Расчёт и проектирование деталей машин [Учеб. Пособие для техн. вузов]. – 3-е изд., перераб. и доп. – Х.: Основа,1991.- 276 с.: схем.
Расчёты деталей машин: Справ. Пособие / А.В. Кузьмин, И.М. Чернин, Б.С. Козинцов. – 3-е изд., перераб. и доп. – Мн.: Выс. шк., 1986. – 400 с.: ил.
Курсовое проектирование деталей машин: Справ. Пособие. Часть 1 / А.В. Кузьмин, Н.Н. Макейчик, В.Ф. Калачев и др.-Мн.: Выс. школа ,1982-208 с.,ил.
Курсовое проектирование деталей машин: Справ. Пособие. Часть 2 / А.В. Кузьмин, Н.Н. Макейчик, В.Ф. Калачев и др.-Мн.: Выс. школа ,1982-334 с.,ил.
Методичні вказівки для виконання курсового проекту з курсу „Деталі машин” (Розділ „Пасові передачі ”) для студентів спец. 31.11 заочної форми навчання / Гончарук О.М., Стрілець В,М., Шинкаренко І.Т., - Рівне, У||ВГ, 1990.-24 с.
Методические указания по выполнению курсового проекта по курсу «Детали машин» (Раздел «Расчёт закрытых зубчатых и червячных передач») для студентов специальности 1514 заочной формы обучения / Стрелец В.Н,, Шинкаренко И,Т.- Ровно, УИИВГ, 1988 – 41 с.
Методичні вказівки для виконання курсового проекту з курсу „Деталі машин” (Розділ „Розрахунки валів і підшипників кочення”) для студентів спец. 31.11 заочної форми навчання / Стрілець В,М., Шинкаренко І.Т., - Рівне, У||ВГ, 1990.-16 с.
С.А. Чернавский, Г.М. Ицкович и др.. Курсовое проектирование деталей машин, М: Машиностроение, 1979-351







