Разработка и конструирование редуктора
Расчетно-пояснительная записка
к курсовому проекту по конструированию
Дисциплина: «Детали машин»
Тема Курсового проекта
Разработка и конструирования «редуктора»
Содержание
1. Техническое задание на проектирование
2. Выбор электродвигателя и кинематический расчет привода
3. Расчет ременной передачи
4. Расчет закрытых цилиндрических зубчатых передач
5. Ориентировочный расчет вала
6. Проектировочный расчет валов на совместное действие изгиба и кручения
7. Разработка конструкции вала
8. Расчет валов на усталостную прочность
9. Расчет быстроходного вала на жесткость
10. Подбор подшипников
11. Смазочные устройства и утопления
Список литературы
1. Техническое задание на проектирование
N>э>=1,5 кВт, n>э>=960 об/мин, n>вых>=15, t=10000 часов.
2. Выбор электродвигателя и кинематический расчет привода
Подбор электродвигателя
По заданным значениям N>э>=1,5 кВт, n>э>=960 об/мин, n>вых>=15 об/мин из таблице выбираем двигатель серии АИР 90L6/925. В нашем случае асинхронная частота двигателя не совпадает с частотой, указанной в задании то мы берем стандартную частоту n>э>=925.
Кинематический расчет привода
Общее передаточное число привода определится по формуле:
.
Распределим
между
типами и ступенями передач
u>общ>=u>рем>·u>ред>
Положим
u>рем>=4,
тогда
.
Из рекомендаций по распределению
передаточных чисел в двухступенчатом
редукторе найдем передаточное число
тихоходного вала
,
тогда
.
Определим частоты вращения валов
об/мин,
об/мин,
об/мин.
Проверим расчетные данные по частоте выходы
.
Определим вращающие моменты на валах
Н·мм;
Н·мм;
Н·мм;
Н·мм.
Полученные данные сведены в табл. 1
Таблица 1
|
передат. число u |
частота вращения n об/мин |
вращающие моменты T Н·мм |
КПД механизма
|
|
|
электродвигатель |
925 |
15486 |
||
|
ремен. передача |
4 |
0,95 |
||
|
быстр. передача |
4,48 |
231,25 |
58553 |
0,98 |
|
пром. передача |
51,62 |
255786 |
||
|
тихох. передача |
3,46 |
14,92 |
862983 |
0,98 |
3. Расчет ременной передачи
Выбираем по заданной мощности и частоте вращения, используя номограмму (рис. 1) вид сечения ремня О.
Рис. 1
Определим диаметр ведущего шкива
.
Выбираем
из ближайшего стандартного
мм. Тогда диаметр ведомого шкива
определится с учетом проскальзывания
как
мм.
Уточним передаточное число ременной передачи и частоту вращения быстроходной передачи
;
об/мин.
Определим межосевое расстояние
мм
(
берется из таблицы в зависимости от
выбранного сечения ремня);
мм.
За межосевое расстояние принимаем промежуточное значение
мм.
Расчетная длинна ремня
.
Округляя до
ближайшего стандартного значения
,
получаем
мм. Уточним межосевое расстояние
,
где
,
тогда
.
Угол обхвата на малом шкиве

Вычислим окружную скорость ремня
м/с
м/c
Определим по таблице следующие коэффициенты
учитывает
влияние угла обхвата
мм
учитывает влияние длинны ремня
учитывает
влияние режима работы
учитывает
влияние числа ремней
Номинальная мощность, допускаемая для передачи одним ремнем
кВт,
здесь
кВт номинальная мощность, передаваемая
одним клиновым ремнем, определяется по
табличным данным табл. 2 (лит.: Демидович
В.М., Зайденштейн Г.И., Юрьева В.А.
Проектирование ременных передач на ЭВМ
с использованием языка “Бейсик”:
Методические указания к курсовому
проектированию по прикладной механике
и деталям машин. Казань: КАИ. 1987. – 40с.).
Таблица 2
|
Сечение и L>p>, мм |
d>1> |
i |
Частота вращения меньшего шкива, об/мин |
|||||||
|
400 |
800 |
950 |
1200 |
1450 |
2200 |
2400 |
2800 |
|||
|
О 1320 |
80 |
1,2 1,5
|
0,26 0,27 0,28 |
0,47 0,49 0,50 |
0,55 0,56 0,58 |
0,66 0,68 0,71 |
0,77 0,80 0,82 |
1,08 1,11 1,14 |
1,15 1,18 1,22 |
1,28 1,32 1,36 |
|
|
1,2 1,5
|
0,42 0,43 0,44 |
0,76 0,78 0,81 |
0,88 0,91 0,94 |
1,07 1,10 1,14 |
1,25 1,29 1,33 |
1,72 1,78 1,84 |
1,84 1,90 1,96 |
2,04 2,11 2,17 |
Определим количество ремней
.
Сила предварительного натяжения
Н,
где
–
коэффициент, учитывающий влияние
центробежных сил. Для нашего случая
Н·с2/м2.
Число пробегов определится как
с-1
c-1
Максимальное напряжение в ремне
,
где
.
Здесь
кг/м3
– плотность материала ремня,
Н/мм – модуль упругости.
Н/мм2
Н/мм2
Определим долговечность ремней
ч
ч.
Здесь
Н/мм2
– предел выносливости материала,
– число шкивов,
,
– коэффициент, учитывающий различную
величину напряжения изгиба на малом и
большом шкиве.
Усилие, действующее на вал от ременной передачи
Н.
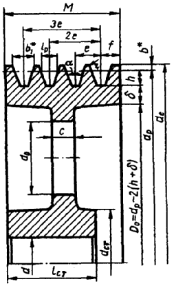
Основные размеры шкива (рис. 2)

Рис. 2
В соответствии
с числом ремней z
=4
ширина клинового ремня выбирается по
ГОСТ–20889–75 – ГОСТ–20897–75, т.е. M=52
мм.
Длинна ступицы может быть определена как
l>ст>=1,5·d>быстр>=1,5·30=45 мм
Размеры профиля канавок шкива для клинового ремня с выбранным сечением “О” приведены в табл. 3
Таблица 3
|
Сечение ремня |
l>p> |
b |
h |
e |
f |
|
|
|
d>p> |
b |
||||||
|
О |
8,5 |
2,5 |
7,5 |
12 |
8 |
80–100 |
10,1 |
Подбор материалов зубчатых колес
Таблица 4
|
передача |
марка стали |
механические свойства после обработки |
твердость поверхн. после закалки и низкого отпуска HB |
твердость поверхн. после закалки и низкого отпуска HRC |
температура отпуска
|
||
|
временное сопротивл.
|
предел текучести
|
||||||
|
быстрох. |
шестерня |
45 |
1190 |
1020 |
350 |
39 |
400 |
|
колесо |
35 |
970 |
560 |
335 |
38 |
200 |
|
|
тихоход. |
шестерня |
45 |
1637 |
1550 |
492 |
51 |
200 |
|
колесо |
40Х |
1376 |
1220 |
417 |
46 |
400 |
|
|
представленные выше стали все с объемной закалкой |
Допускаемые напряжения
Допускаемые контактные напряжения при расчете зубчатых передач на контактную прочность определяются по формуле
,
где
– базовый предел выносливости поверхности
зубьев по контактным напряжениям для
пульсирующего цикла вычислится как
,
.
Коэффициент долговечности
при переменной нагрузке определится
как
,
где базовое число
,
число циклов нагружения зубьев

Причем для
однородной структуры материала (в данном
случае объемная закалка) коэффициент
ограничивают в пределах 1
2,6.
В случае, когда расчетная
<1,
будем принимать
=1.
Допускаемые изгибные напряжения могут быть определены по формуле
,
где
– базовый предел выносливости материала
колеса по изгибным напряжениям для
пульсирующего цикла определится
следующим образом
,
при HB
350;
,
при HB>350.
;
.
Коэффициент долговечности
определится как
,
при HB
350;
,
при HB>350,
где базовое
число
.
Число циклов нагрузки
,
Где
,
при HB
350;
,
при HB>350.
Укажем на
некоторые ограничения на величину
:
1
2
при HB
350;
1
1,6
при HB>350.
В случае, когда расчетная
<1,
примем
=1.
Все расчетные данные занесем в табл. 5
Таблица 5
|
Быстроходная шестерня |
Быстроходное колесо |
Тихоходная шестерня |
Тихоходное колесо |
|
|
n |
231,25 |
51,62 |
51,62 |
14,92 |
|
HB |
350 |
335 |
492 |
417 |
|
HRC |
39 |
38 |
51 |
46 |
|
|
5,17·107 |
1,154·107 |
1,154·107 |
3,336·106 |
|
|
3,827·107 |
3,445·107 |
8,666·107 |
5,827·107 |
|
|
0,951 |
1,2 |
1,399 |
1,611 |
|
|
852 |
834 |
1068 |
978 |
|
|
774,545 |
909,793 |
1358,677 |
1432,167 |
|
|
4,489·107 |
1,002·107 |
9,541·106 |
2,758·107 |
|
|
0,668 |
0,858 |
0,908 |
1,042 |
|
|
630 |
603 |
600 |
600 |
|
|
370,588 |
354,706 |
352,941 |
367,829 |
4. Расчет закрытых цилиндрических зубчатых передач
Быстроходная передача.
Для определения межосевого расстояния прямозубых передач используется формула вида
мм.
Здесь
коэффициент динамической нагрузки для
предварительных расчетов примем
;
относительная ширина передачи из
нормального ряда чисел
;
допускаемые контактные напряжение
шестерни
,
т.к. оно меньше
колеса.
Зададим число
зубьев шестерни
.
Определим
следующим образом
.
Округлим
до ближайшего целого
.
Определим модуль зацепления
.
Уточним межосевое расстояние
мм.
Рассчитаем диаметры а) шестерни и б) колеса
а)
мм – делительный диаметр
мм – диаметр
вершин
мм – диаметр
впадин
б)
мм – делительный диаметр
мм – диаметр
вершин
мм – диаметр
впадин.
Определим ширину колеса
мм,
округляем
b>2>
до ближайшего целого
мм.
Ширина шестерни для компенсации неточностей сборки определится
мм.
Окружная скорость в зацеплении
м/c.
По данной
скорости в соответствии с табличными
данными уточним коэффициент
.
По значению
в соответствии с рис. 5 определим
,
тогда
.
В соответствии с уточненными данными произведем проверку контактных напряжений
Н/мм2,
,
недогрузка на 12% за счет увеличения модуля до ближайшего стандартного.
Проверим прочность зуба на изгиб

,
где
– коэффициент, учитывающий форму зуба;
,
,
тогда
.
Тихоходная передача.
Определим межосевое расстояние косозубых передач
мм.
Здесь
допускаемые контактные напряжение
шестерни
.
Зададим число
зубьев шестерни
.
Определим
следующим образом
.
Округлим
до ближайшего целого
.
Определим модуль зацепления

,
где
.
Уточним межосевое расстояние
мм.
Вследствие
того, что быстроходное колесо зацепляет
тихоходный вал на расстояние
,
где
– диаметр вершин быстроходного колеса,
– диаметр тихоходного вала (см. ниже
раздел “Ориентировочный
расчет вала”)
требуется увеличить межосевое расстояния
за счет увеличения модуля до
.
Тогда межосевое расстояние определится
как
мм.
Рассчитаем диаметры а) шестерни и б) колеса
а)
мм – делительный диаметр
мм – диаметр
вершин
мм – диаметр
впадин
б)
мм – делительный диаметр
мм – диаметр
вершин
мм – диаметр
впадин.
Определим ширину колеса


мм.
Ширина шестерни для компенсации неточностей сворки определится как
мм.
Окружная скорость в зацеплении
м/c.
По данной
скорости в соответствии с табличными
данными уточним коэффициент
.
По значению
в соответствии с рис. 5 определим
,
тогда
.
В соответствии с уточненными данными произведем проверку контактных напряжений
Н/мм2,
,
недогрузка на 37% за счет увеличения модуля до ближайшего стандартного.
Проверим прочность зуба на изгиб
,
где
,
– коэффициент, учитывающий форму зуба;
коэффициент, учитывающий участие в
зацеплении косозубой передачи
,
;
коэффициент, учитывающий наклон зубьев
;
,
,
тогда
.
5. Ориентировочный расчет вала
Ориентировочный диаметр вала определяется по формуле
,
– крутящий
момент, передаваемый валом, Н/мм;
– условное допускаемое напряжение на
валу.
Быстроходный вал
,
т.к. диаметр вала двигателя d>э>=24 мм, диаметр быстроходного вала d>быстр>=24,462, а для ременной передачи d>быстр>=1,2·d>э>=1,2·24=28,8 мм, значит
d
=30
мм.
Промежуточный вал

=40
мм.
Тихоходный вал

=55
мм.
Расчетные значения занесем в табл. 6.
Таблица 6
|
Вал электродвигателя |
Быстроходный вал |
Промежуточный вал |
Тихоходный вал |
|
|
T |
15486 |
58553 |
255786 |
862983 |
|
|
20 |
25 |
25 |
|
|
|
24,462 |
37,122 |
54,677 |
|
|
|
24 |
30 |
40 |
55 |
Эскизная компоновка редуктора
Определим основные параметры ступицы
для быстроходного колеса:
длинна – l>ст>=(0,8…1,5) ·d>пром>=0,8 ·40=32 мм
диаметр – l>ст>=(1,6…1,8) ·d>пром> =1,8 ·40=72 мм
для тихоходного колеса:
длинна – l>ст>=(0,8…1,5) ·d>тих>=0,8 ·55=44 мм
диаметр – l>ст>=(1,6…1,8) ·d>тих>=1,8 ·55=99 мм
Проведем обвод внутренней стенки на расстояние C>0>=20 мм от боковой и торцевой поверхности колес. Расстояние между торцевой поверхностью колес двухступенчатого редуктора определим по формуле: C=0,5·C>0>=0,5·20=10 мм.

Рис.3
Ширина фланца
(B>фл>)
равна ширине наибольшего подшипника
(B
)
+
(10…15)
мм, т.е.
B>фл>=B
+
(10…15) =29 + (10…15) =40 мм
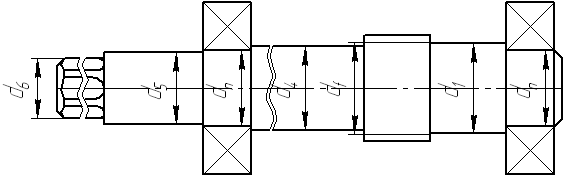
По диаметрам валов подбираем в первом приближении подшипники (рис. 3), основные параметры которых занесем в табл. 7
Таблица 7
|
серия |
d |
D |
B |
||
|
Быстр. вал |
ШПРО |
легкая |
30 |
62 |
16 |
|
Пром. вал |
РПК |
легкая |
40 |
80 |
20 |
|
Тихох. вал |
РПК |
средняя |
55 |
120 |
29 |
На входном участке быстроходного вала установлен шкив ременной передачи, где расстояние от середины подшипника до середины ступицы шкива принимается l>1>=2,1·d>быстр>=2,1·30=63 мм.
На тихоходном валу установлена муфта. Расстояние от середины подшипника до конца вала определяется как l>2>*=2,5· d>тих>=2,5·55= 137,5 мм. Причем l>2 >- расстояние от середины подшипника до середины муфты.
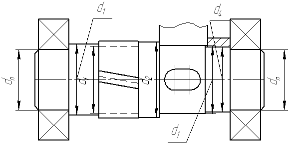
С учетом эскизной компоновки редуктора (рис. 4) внесем в табл. 8 следующие неизвестные параметры: l>i>, f>i>, k>i>, t>i>
Таблица 8
|
i= |
1 |
2 |
3 |
|
l>i> |
63 |
85 |
|
|
f>i> |
44 |
89 |
|
|
k>i> |
41 |
43 |
43 |
|
t>i> |
88,5 |
47,5 |

Рис. 4
6. Проектировочный расчет валов на совместное действие изгиба и кручения
Для цилиндрической передачи силы взаимодействия рассчитываются следующим образом:
– окружные
составляющие (индекс “1” для шестерни;
“2” для колеса)
– радиальные
составляющие (
–
угол зацепления; для передач без
смещения
;
– угол наклона линии зуба)
– осевые
составляющие
Изгибающие моменты рассчитываются как
,
,
где d>1> и d>2> – диаметры делительной окружности.
Усилие, действующее на вал от ременной передачи F>рем>=765,868 Н
Радиальная сила, действующая на вал со стороны муфты
F>М>=
=
=1468,829
Н
Полученные величины параметров занесем в табл. 9
Таблица 9
|
Быстроходная шестерня |
Быстроходное колесо |
Тихоходная шестерня |
Тихоходное колесо |
|
|
d |
35 |
157,5 |
50,771 |
177,77 |
|
|
20 |
20 |
20 |
20 |
|
|
0 |
0 |
10 |
10 |
|
F>t> |
3248,076 |
3248,076 |
9712,808 |
9712,808 |
|
F>r> |
1182,203 |
1182,203 |
3589,709 |
3589,709 |
|
F>a> |
0 |
0 |
1712,63 |
1712,63 |
|
M>a> |
0 |
0 |
43475,972 |
152167,187 |

Рис. 5
Быстроходный вал:
Вертикальная плоскость:

Эпюра M(x>i>), Нмм

Рис. 6
M>A>=F>t1>·f>2>+R>B>>в>·(f>1>+f>2>)=0
R>B>>в>=-2173,525
M>B>=–F>t1>·f>1>–R>A>>в>·(f>1>+f>2>)=0
R>A>>в>=-1074,552
Проверка:
Y=F>t>>1>+R>A>>в>+R>B>>в>
=0
Участок l>1>=63
m>x>>1>=M(x>1>)=0
Участок f>2>=89
m>x>>2>=
M(x>2>)
–
R>A>>в>·
x>2>=0
Участок f>3>=44
m>x>>3>=
–M(x>3>)+
R>B>>в>·x>3>
=0
Таблица 10
|
x>i> |
0 |
63 |
0 |
89 |
0 |
44 |
|
M(x>i>) |
0 |
0 |
0 |
-95635,085 |
0 |
-95635,085 |
Горизонтальная плоскость:

Эпюра M(x>i>), Нмм

Рис. 7
M>A>=F>r1>·f>2>+R>B>>г>·(f>1>+f>2>)+
F>r>·l>1>=0
R>B>>г>=-1153,878
M>B>=–
F>r1>·f>1>–R>A>>г>·(f>1>+f>2>)+
F>r>·(l>1>+f>1>+f>2>)=0
R>A>>г>=737,543
Проверка:
Y=–
F>r>+F>r>>1>+R>A>>г>+R>B>>г>
=0
Участок l>1>=63
m>x>>1>=M(x>1>)+
F>r>·
x>1>=0
Участок f>2>=89
m>x>>2>=
M(x>2>)
–
R>A>>г>·
x>2>+
F>r>·(
x>2>+f>1>)=0
Участок f>3>=44
m>x>>3>=
–M(x>3>)+
R>B>>г>·x>3>
=0
Таблица 11
|
x>i> |
0 |
63 |
0 |
89 |
0 |
44 |
|
M(x>i>) |
0 |
-48249,684 |
-48249,684 |
-50770,626 |
0 |
-50770,626 |
Опасное сечение под шестерней:
Суммарный изгибающий момент в опасном сечении
.
Приведенный момент определится как
,
где
– коэффициент приведения.
Из условий прочности на изгиб с кручением определяется расчетный диаметр вала в опасном сечении
мм.
Здесь
Н/мм2,
где
Н/мм2
(сталь 45).
Эпюра T, Нмм

Рис. 8
Промежуточный вал:
Вертикальная плоскость:

Эпюра M(x>i>), Нмм

Рис. 9
M>A>=
–
F>t3>·k>3>+R>B>>в>·(k>1>+k>2>+
k>3>)
– F>t2>·(
k>2>+k>3>)=0
R>B>>в>=5488,073
M>B>=F>t2>·k>1
>–
R>A>>в>·(k>1>+k>2>+
k>3>)+
F>t3>·(
k>2>+k>1>)=0
R>A>>в>=7472,811
Проверка:
Y=>
>–
F>t>>2
>–
F>t>>3>+R>A>>в>+R>B>>в>
=0
Участок k>3>=43
m>x>>1>=M(x>1>)
–
R>A>>в>·
x>1>=0
Участок k>2>=43
m>x2>=
M(x>2>)
–
R>A>>в>·(
x>2>+
k>3>)+
F>t3>·x>2>=0
Участок k>1>=41
m>x>>3>=
–M(x>3>)+
R>B>>в>·x>3>
=0
Таблица 12
|
x>i> |
0 |
43 |
0 |
53 |
0 |
41 |
|
M(x>i>) |
0 |
321330,876 |
321330,876 |
225011,003 |
0 |
225011,003 |
Горизонтальная плоскость:

Эпюра M(x>i>), Нмм

Рис. 10
M>A>=
F>r3>·k>3>+R>B>>г>·(k>1>+k>2>+
k>3>)
– F>r2>·(
k>2>+k>3>)
– M>a3>=0
R>B>>г>=-72,536
M>B>=F>r2>·k>1
>–
R>A>>г>·(k>1>+k>2>+
k>3>)
– F>r3>·(
k>2>+k>1>)
– M>a3>=0
R>A>>г>=-2334,97
Проверка:
Y=>
>–
F>r>>2
>+
F>r>>3>+R>A>>г>+R>B>>г>
=0
Участок k>3>=43
m>x>>1>=M(x>1>)
–
R>A>>г>·
x>1>=0
Участок k>2>=43
m>x2>=
M(x>2>)
–
R>A>>г>·(
x>2>+
k>3>)
–
F>r3>·x>2
>–
M>a3>=0
Участок k>3>=41
m>x>>3>=
–M(x>3>)+
R>B>>г>·x>3>
=0
Таблица 13
|
x>i> |
0 |
43 |
0 |
43 |
0 |
41 |
|
M(x>i>) |
0 |
-100403,708 |
- 56927,736 |
-2973,967 |
0 |
-2973,967 |
Опасное сечение под шестерней:
Суммарный изгибающий момент в опасном сечении
.
Приведенный момент определится как
,
где
– коэффициент приведения.
Из условий прочности на изгиб с кручением определяется расчетный диаметр вала в опасном сечении
мм.
Здесь
Н/мм2,
где
Н/мм2
(сталь 45).
Эпюра T, Нмм

Рис. 11
Тихоходный вал:
Вертикальная плоскость:

Эпюра M(x>i>), Нмм

Рис. 12
M>A>=F>t4>·t>2>+R>B>>в>·(t>1>+t>2>)=0
R>B>>в>=-3392,341
M>B>=–F>t1>·t>1>–R>A>>в>·(t>1>+t>2>)=0
R>A>>в>=-6320,467
Проверка:
Y=F>t>>4>+R>A>>в>+R>B>>в>
=0
Участок t>1>=47,5
m>x>>1>=
M(x>1>)
–
R>A>>в>·
x>1>=0
Участок t>2>=88,5
m>x>>2>=
–M(x>2>)+
R>B>>в>·x>2>
=0
Участок t>3>=85
m>x>>2>=
–M(x>3>)=0
Таблица 14
|
x>i> |
0 |
47,5 |
0 |
88,5 |
0 |
85 |
|
M(x>i>) |
0 |
-300222,184 |
0 |
-300222,184 |
0 |
0 |
Горизонтальная плоскость:

Эпюра M(x>i>), Нмм

Рис. 13
M>A>=
–
F>r4>·t>2>+R>B>>г>·(t>1>+t>2>)+M>a4>
–
F>М>
·(t>1>+t>2>+l>2>)=0
R>B>>г>=2521,729
M>B>=F>r4>·t>1>–R>A>>г>·(t>1>+t>2>)+
M>a4>
–
F>М>
·l>2>=0
R>A>>г>=2536,808
Проверка:
Y=–
F>r>>4>
+R>A>>г>+R>B>>г>
=0
Участок t>1>=63
m>x>>1>=
M(x>1>)
–
R>A>>г>·
x>1>=0
Участок t>2>=122,5
m>x>>2>=
–M(x>2>)+
R>B>>г>·x>2>
=0
Таблица 15
|
x>i> |
0 |
47,5 |
0 |
88,5 |
0 |
85 |
|
M(x>i>) |
0 |
120498,401 |
0 |
-31668,785 |
0 |
-124850,465 |
Опасное сечение под колесом:
Суммарный изгибающий момент в опасном сечении
.
Приведенный момент определится как
,
где
– коэффициент приведения.
Из условий прочности на изгиб с кручением определяется расчетный диаметр вала в опасном сечении
мм.
Здесь
Н/мм2,
где
Н/мм2
(сталь 45).
Эпюра T, Нмм

Рис. 14
7. Разработка конструкции вала
Быстроходный вал:
Расчетный
диаметр d>вр>=
мм.

Рис. 15
Примем d>3>=1,1·
d>вр>=1,1·
=
28,674,
что меньше d
=30
мм следовательно
=
d
=30
мм. Диаметр
по Ra40
мм. На диаметре d>4>
расположена распорная втулка, который
определится как
мм. Диаметр
выбирается как ближайшее меньше
стандартное значение
,
т.е.
мм.
мм.
мм.
мм. Проверка полученного диаметра d>6>
на кручения по условию
,
где
;
тогда
,
условие выполняется.
,
следовательно шестерня нарезается прямо на валу.
Подбор шлица
Выбираем
шлиц средней серии
.
l>p>=45
Проверочный расчет шлица на смятие
Н/мм2,
где
– средний диаметр;
;
z=8
– коэффициент учитывающий неравномерность
распределения нагрузки между зубьями;
– высота
зуба.
Промежуточный вал:
Расчетный
диаметр d>вр>=
мм.

Рис. 16
Примем d>3>=1,1·
d>вр>=1,1·
=43,262,
что округлим до ближайшего стандартного
значения по Ra40
мм.
,
следовательно шестерня нарезается
прямо на валу. Диаметр
по Ra40
мм. На диаметре d>4>
расположена распорная втулка, который
определится как
мм. Диаметр
выбирается как ближайшее меньшее
стандартное значение
,
т.е.
мм.
можно принять как
мм.
Подборка шпонки
По d=45 подбираем шпонку с параметрами b=14, h=9, t=5,5.
l>p>=l>ст>-(8…10)=24 мм.
Проверка шпоночного соединения на смятие
Н/мм2.
Тихоходный вал:
Расчетный
диаметр d>вр>=
мм.

Рис. 15
Примем
d>3>=1,1·d>вр>=1,1·
=56,093,
что округлим до ближайшего стандартного
значения по Ra40
мм. Диаметр
по Ra40
мм. На диаметре d>4>
расположена распорная втулка, который
определится как
мм. Диаметр
выбирается как ближайшее меньшее
стандартное значение
,
т.е.
мм.
можно принять как
мм.
мм. Выходной диаметр
мм.
Проверка полученного диаметра d>6> на кручения по условию
,
где
;
тогда
,
условие выполняется.
Подборка шпонки под колесо
По d=56 подбираем шпонку с параметрами b=16, h=10, t=6.
l>p>=l>ст>-(8…10)=36 мм.
Проверка шпоночного соединения на смятие
Н/мм2
Подборка шпонки под муфту
По d=45 подбираем шпонку с параметрами b=14, h=9, t=5,5.
l>p>=l>М >-(8…10)=76 мм.
Проверка шпоночного соединения на смятие
Н/мм2
Расчет валов на статическую прочность
;
,
где соответственно
и
– напряжения изгиба и кручения от
действия
и T.
;
,
причем
– осевой момент;
–
полярный момент.
Расчетные параметры занесем в табл. 16.
Таблица 16
|
Быстроходный вал |
Промежуточный вал |
Тихоходный вал |
|
|
T |
58553 |
255786 |
862983 |
|
d |
30 |
45 |
56 |
|
|
650 |
650 |
650 |
|
M>и> |
123094,191 |
422801,27 |
921625,131 |
|
W>и> |
2650,719 |
8946,176 |
17241,06 |
|
W>к> |
5301,438 |
17892,352 |
34482,121 |
|
|
46,438 |
47,261 |
53,455 |
|
|
11,045 |
14,296 |
25,027 |
|
|
50,224 |
53,354 |
68,822 |
|
|
12,942>1,5…1,8 |
12,183>1,5…1,8 |
9,445>1,5…1,8 |
8. Расчет валов на усталостную прочность
Расчет ведется в опасных сечениях:
,
где
– коэффициент запаса усталостной прочности по напряжениям изгиба;
– коэффициент запаса усталостной прочности по напряжениям кручения.
,
– пределы выносливости материала при
симметричном цикле изменения напряжений
по нормальным и касательным напряжениям
=380
МПа,
=230
МПа.
k>
>
и
k>
>
– эффективные коэффициенты концентрации
напряжений при изгибе и кручении.
k>d>> > и k>F> – масштабны фактор и фактор качества поверхности
>
>,
>
>
– коэффициенты, характеризующие
чувствительность материала вала к
асимметрии цикла.
,
– амплитуда и среднее значение цикла
изменения нормальных напряжений изгиба.
Для валов
.
Для быстроходного вала:

Для поперечных сечений валов, ослабленных шпоночными пазами, осевой момент сопротивления изгибу
.
Для промежуточного вала:

Для тихоходного вала:
.
,
–
амплитуда и
среднее значение цикла изменения
касательных напряжений от кручений.
Для валов
.
Для быстроходного вала:

Для поперечных сечений валов, ослабленных шпоночными пазами, полярный момент сопротивления изгибу
.
Для промежуточного вала:

Для тихоходного вала:
.
Полученные расчетные значения искомых параметров занесем в табл. 17
Таблицу 17
|
Быстроходный вал |
Промежуточный вал |
Тихоходный вал |
|
|
T |
58553 |
255786 |
862983 |
|
d |
30 |
45 |
56 |
|
|
650 |
650 |
650 |
|
|
380 |
380 |
380 |
|
|
230 |
230 |
230 |
|
k> |
2,03 |
2,03 |
2,03 |
|
k> |
1,64 |
1,64 |
1,64 |
|
k>d> |
0,825 |
0,775 |
0,7 |
|
k>F> |
0,9 |
0,9 |
0,9 |
|
|
0,15 |
0,15 |
0,15 |
|
|
0,05 |
0,05 |
0,05 |
|
M>и> |
123094,191 |
422801,27 |
921625,131 |
|
W>и> |
2650,719 |
– |
– |
|
W>инето> |
– |
7611,295 |
15098,203 |
|
W>к> |
5301,438 |
– |
– |
|
W>кнето> |
– |
16819,68 |
32339,264 |
|
|
49,833 |
55,549 |
61,042 |
|
|
0 |
0 |
0 |
|
|
11,045 |
15,208 |
26,685 |
|
|
0 |
0 |
0 |
|
S> |
2,789 |
2,35 |
1,932 |
|
S> |
9,428 |
6,432 |
3,311 |
|
S>[S] |
2,674>1,5 |
2,207>1,5 |
1,669>1,5 |
Валы удовлетворяют условию на усталостную прочность.
9. Расчет быстроходного вала на жесткость
E=2,15·105Н/мм2;
мм4,
тогда
(1/Н·мм2)
[
]=0,0016
рад; [
]=0,0002·l;
[
]=0,1·m
Вертикальная плоскость:
M>A>=F>t1>·f>2>+R>B>>в>·(f>1>+f>2>)=0
R>B>>в>=-2173,525
M>B>=–F>t1>·f>1>–R>A>>в>·(f>1>+f>2>)=0
R>A>>в>=-1074,552
Проверка:
Y=F>t>>1>+R>A>>в>+R>B>>в>
=0
Участок l>1>=63
EI
=EI
>0>+C=0
EI
=EI
>0>+C·
x>1>+D=0
Участок f>2>=89
EI
=EI
>0>
–
R>A>>в>·
+C=0
EI
=EI
>0>
–
R>A>>в>·
+C·
x>2>+D=0
Участок f>3>=44
EI
=–EI
>0>
+
R>B>>в>·
+C=0
EI
=–EI
>0>
+
R>B>>в>·
+C·
x>3>+D=0
В точке x>1>=63
и x>3>=0
значение
=0,
тогда параметры C
и D
определятся как

Подставив
параметры C
и D
в EI
и
EI
,
получим следующие выражения
Участок l>1>=63
EI
=EI
>0>
=0;
>0>(max)
=0<
[
]=0,0016
EI
=EI
>0>
=0;
>0>(max)
=0<
[
]=0,0003·l
=0,019
Участок f>2>=89
EI
=EI
>0>
–
(-1074,552)
·
=0;
=0,001<
[
]=0,0016
EI
=EI
>0>
–
(-1074,552)
·
=0;
=
0,0021<[
]=0,0003·l
=0,04
Участок f>3>=44
EI
=–EI
>0>
+
(-2173,525) ·
=0;
=0,001<
[
]=0,0016
EI
=–EI
>0>
+
(-2173,525) ·
=0;
=
0,0021<[
]=0,0003·l
=0,04
Горизонтальная плоскость:
M>A>=F>r1>·f>2>+R>B>>г>·(f>1>+f>2>)+
F>r>·l>1>=0
R>B>>г>=-1153,878
M>B>=–
F>r1>·f>1>–R>A>>г>·(f>1>+f>2>)+
F>r>·(l>1>+f>1>+f>2>)=0
R>A>>г>=737,543
Проверка:
Y=–
F>r>+F>r>>1>+R>A>>г>+R>B>>г>
=0
Участок l>1>=63
EI
=EI
>0>+
F>r>
·
+C=0
EI
=EI
>0>+
F>r>
·
+C· x>1>+D=0
Участок f>2>=89
EI
=EI
>0>
–
R>A>>г>
·
+
F>r>·(
x>2>+f>1>)
·x>2>+C=0
EI
=EI
>0>
–
R>A>>г>
·
+
F>r>·(
x>2>+
f>1>)
·
+C·
x>2>+D=0
Участок f>3>=44
EI
=–EI
>0>
+
R>B>>г>
·
+C=0
EI
=–EI
>0>
+
R>B>>г>
·
+C·
x>3>+D=0
В точке x>1>=63
и x>3>=0
значение
=0,
тогда параметры C
и D
определятся как

Подставив
параметры C
и D
в EI
и
EI
,
получим следующие выражения
Участок l>1>=63
EI
=EI
>0>+
765,868 ·
-
=0;
>0>(max)
=0,0002<
[
]=0,0016
EI
=EI
>0>+
765,868 ·
-
·
x>1>
=0;
>0>(max)
=0,002<
[
]=0,0003·l
=0,019
Участок f>2>=89
EI
=EI
>0>
–
737,543·
+
765,868 ·(
x>2>+63)
·x>2>
-
=0;
=0,00028<
[
]=0,0016
EI
=EI
>0>
–
737,543·
+
765,868 ·(
x>2>+
63)
·
-
·
x>2>
=0;
=
0,007<[
]=0,0003·l
=0,04
Участок f>3>=44
EI
=–EI
>0>
+
(-1153,878) ·
-
=0;
=0,00028<
[
]=0,0016
EI
=–EI
>0>
+
(-1153,878) ·
-
·
x>2>
=0;
=
0,007<[
]=0,0003·l
=0,04
Суммарный прогиб
<
[
]=0,1·m=0,175.
Вал удовлетворяет условиям на жесткость.
– допускаемый
угол закручивания
,
тогда
,
условие жесткости при кручении выполняется.
10. Подбор подшипников
Для всех валов подбираем радиально-упорные роликовые подшипники средней серии.
Быстроходный
вал:
по внутреннему диаметру d=30
подшипник 2007 106А. C>r>=35,8
кН.
C>or>=44,0
кН.
e=0,43.

Промежуточный
вал:
по внутреннему диаметру d=40
подшипник 2007108А. C>r>=52,8
кН.
C>or>=71,0
кН.
e=0,37.

Тихоходный
вал:
по внутреннему диаметру d=50
подшипник 2007 110А*. C>r>=60,5
кН.
C>or>=88,0
кН.
e=0,43.

При действии на радиальные и радиально-упорные подшипники одновременно радиальной F>r> и осевой F>a> нагрузок расчеты ведут по эквивалентной радиальной статической нагрузке Р>о>>r>, которая вызывает такие же контактные напряжения, как и действительная нагрузка:
Р>or> = max{Х>0>F>r> + Y>0>F>a ,> F>r>},
а для упорно-радиальных и упорных подшипников - по эквивалентной осевой статической нагрузке
Р>oa> = X>o> F>r> +Y>o>F>a>
где Х>0> - коэффициент статической радиальной нагрузки, Y>0> - коэффициент статической осевой нагрузки.
Ресурсы подшипников, выраженные в миллионах оборотов L или в часах L>h> (при постоянной частоте вращения), связаны между собой соотношением:
L>h>=106L/(60n),
для цилиндрических редукторов общего назначения рекомендуется: L>h>12500.
Для радиальных и радиально-упорных подшипников эквивалентная динамическая радиальная нагрузка
P=P>r>=(XVF>r>+YF>a>)К>Б>К>Т>,
где F>r> и F>a> - соответственно радиальная и осевая нагрузки; X и Y - коэффициенты радиальной и осевой динамической нагрузки; V - коэффициент вращения; V=1. K>Б> - коэффициент динамичности нагрузки; К>Т> - температурный коэффициент. Кратковременная перегрузка до 150 %, зубчатые передачи К>Б>=1,3.
Основные и расчетные параметры подшипников в соответствии с диаметром расчетного вала (из ГОСТ 27365-87 радиально-упорные роликовые подшипники средней серии для повышенной грузоподъемности и из ГОСТ 8338-75 шариковые радиальные однорядные) приведем в табл. 18
Таблица 18
|
обозначение |
Быстроходный вал |
Промежуточный вал |
Тихоходный вал |
|
подшипник |
205 |
7208А |
7310А |
|
d |
25 |
40 |
50 |
|
D |
52 |
80 |
110 |
|
B |
15 |
18 |
27 |
|
c |
– |
16 |
23 |
|
T |
– |
20 |
29,5 |
|
r |
1,5 |
2 |
3 |
|
r>1> |
– |
0,8 |
1 |
|
C>r>, кН |
14,0 |
58,3 |
117,0 |
|
C>or>, кН |
6,95 |
40,0 |
90,0 |
|
e |
0 |
0,37 |
0,35 |
|
К>Т> |
1 |
1 |
1 |
|
Fr, Н |
1551,726 |
5628,3 |
5225,733 |
|
Fa, Н |
0 |
403,095 |
807,844 |
|
X |
1 |
1 |
1 |
|
Y |
0 |
1,882 |
1,882 |
|
Р>oa> |
– |
6031,395 |
6033,577 |
|
P |
1706,899 |
8303,002 |
8769,924 |
|
p |
3 |
10/3 |
10/3 |
|
|
4,904 |
1,279·103 |
2,179·103 |
|
L>h>>[ L>h>] |
21229,437 |
4,128·106 |
2,434·106 |
11. Смазочные устройства и утопления
В корпус
редуктора заливают масло так, чтобы
венцы колес были в него погружены. При
их вращении масло увлекается зубьями,
разбрызгивается, попадает на внутренние
стенки корпуса, откуда стекает в его
нижнюю часть. картерную смазку применяют
при окружной скорости зубчатых колес
от 0,3 до 12,5 м/c.
Выбирается сорт масла И -50 А. Уровень
погружения в масло
мм. Подшипники смазываются тем же маслом,
что и детали передач. При работе передач
масло постепенно загрязняется продуктами
износа деталей. Поэтому его периодически
меняют.
Список литературы
Курмаз Л.В., Скойбеда А.Т. Детали машин. Проектирование: Справочное учебно-методическое пособие - 2-е изд., испр.: М.: Высш. шк., 2005.-309 с.: ил.
Иванов М.Н. Детали машин.-5-е изд., перераб.- М.: Высш. шк., 1991.-383 с.: ил.
Дунаев П.Ф., Леликов О.П. Детали машин. Курсовое проектирование.-2-е изд., перераб. и доп.- Высш. шк., 1990.-399 с., ил.
Шейнблит А.Е. Курсовое проектирование деталей машин. М.: Высш. шк.,1991. -432 с.: ил.
Кудрявцев В.Н., Державец Ю.А., Арефьев И.И., и др.. Курсовое проектирование деталей машин. Л.: Машиностроение, 1984. 400 с., ил.

3


0,3
,
МПа
,
МПа

1











