Разработка конического редуктора
Содержание
Введение
1. Специальная часть
1.1 Краткое описание редуктора
1.2 Выбор электродвигателя, кинематический и силовой расчет
1.3 Расчет зубчатой передачи
1.4 Проектный расчет ведущего вала
1.5 Проектный расчет ведомого вала
1.6 Конструктивные размеры колеса
1.7 Конструктивные размеры корпуса и крышки редуктора
1.8 Эскизная компоновка редуктора
1.9 Подбор шпонок и их проверочный расчёт
1.10 Проверочный расчет ведомого вала
1.11 Выбор и проверочный расчет подшипников ведомого вала
1.12 Выбор посадок
1.13 Смазка редуктора
1.14 Сборка редуктора
1.15 Краткие требования по охране труда и технике безопасности
Заключение
Введение
Настоящий курсовой проект выполнен на основе технического задания, которое включает кинематическую схему привода ковшового элеватора, а также необходимые технологические параметры:
тяговая сила цепи F = 2,5 кН,
скорость ленты υ = 2 м/с;
диаметр барабана D = 310 мм.
Новизна проекта заключается в том, что это первая самостоятельная конструкторская робота, закрепляющая навыки, полученные по дисциплине: «Детали машин», а также черчению, материаловедению, метрологии.
Объектом исследования является конический редуктор. Глубина проработки заключается в том, что расчет и проектирование основных деталей и узлов доводится до графического воплощения.
Актуализация проекта состоит в том, что умение расчета и проектирования деталей и узлов общего машиностроения востребованы в курсовых проектах по специальности, дипломном проекте, на производстве.
Основные этапы работы над проектом:
1. Кинематический и силовой расчет привода.
2. Проектные расчеты конической зубчатой передачи, волов, колеса, корпуса и крышки редуктора
3. Эскизная компоновка редуктора.
4. Выбор стандартных деталей и узлов.
5. Проверочный расчет деталей и узлов.
6. Выполнение сборочного чертежа редуктора и рабочих чертежей ведомого вала и конического колеса.
Теоретическая часть работы заключается в составлении краткого описания редуктора, разработке процесса его сборки по сборочному чертежу и назначения требований по технике безопасности и охране труда.
1. Специальная часть
1.1 Краткое описание редуктора
В настоящей курсовой работе спроектирован конический одноступенчатый редуктор. Он состоит из конической зубчатой передачи, заключенной в герметичный корпус. Шестерня изготовлена заодно с валом. Валы установлены в подшипники:
ведущий – роликовые конические однорядные подшипники 7209 – установлены врастяжку;
ведомый – роликовые конические однорядные подшипники 7210 – установлены враспор.
Температурный зазор регулируется с помощью набора металлических прокладок.
Подшипники смазываем пластичным смазочным материалом – пресс-солидолом марки С ГОСТ 4366–76, закладываемым в подшипниковые камеры при монтаже.
Смазывание зубчатого зацепления производится окунанием зубчатого колеса в масло, заливаемое внутрь корпуса до погружения колесо на всю длину зуба.
Контроль за уровнем мосла производим с помощью жезлового маслоуказателя. Для слива отработанного масла предусмотрено отверстие в нижней части корпуса.
1.2 Выбор электродвигателя, кинематический и силовой расчет
1) Определяем общий КПД передачи.
Из таблицы 2.2 [1] выписываем
η>кон> = 0,95 – 0,97 η>м> = 0,98 η>цеп> = 0,90 – 0,93
КПД подшипников учтено в КПД передач, общий КПД равен
η = η>кон> · η>м> · η>цеп> = 0,97 · 0,98 · 0,92 = 0,874
2) Определяем требуемую мощность электродвигателя.
Определяем мощность рабочей машины:
Р>рм> = F · V = 2,5 · 2 = 5 кВт
Требуемая мощность элеватора:
Р>эл.дв.тр>
=
кВт
3) Из таблицы К9 [1] выбираем двигатель, т. к. быстроходные двигатели имеют низкий ресурс и тихоходные имеют большие габариты, выбираем средне скоростной двигатель, имеющий ближайшую большую мощность:
Эл. двигатель 4АМ132М6УЗ
Р>дв.> = 7,5 кВт η>дв> = 870 об/мин
4) Определяем общее передаточное число передачи и передаточные числа ступеней, воспользуемся рекомендацией табл. 2.3 [1].
U>зуба> = 2…7,1 U>цепи >= 2…4
Определяем частоту вращения вала рабочей машины:
η>р.м>
=
об/мин
U>общ>
=

Назначаем U>зуб> = 3,15, тогда
U>цеп>
=
передаточное число ступеней удовлетворяет
рекомендациям [1].
5) Определяем угловые скорости валов
(р/с);
(р/с);
U>зуб>
=
=>
(р/с);
U>цеп>
=
=>
(р/с);
6) Определяем мощности по валам передач:
Р>дв.тр> = 5,72 (кВт);
Р>2> = Р>дв.тр> · η>м> = 5,72 · 0,98 = 5,6 (кВт);
Р>3> = Р>2> · η>кон> = 5,6 · 0,96 = 5,43 (кВт);
Р>4> = 5 (кВт);
7) Определяем моменты на валах передач:
М>1>
=
(Н·м);
М>2
>=
(Н·м);
М>3
>=
(Н·м);
М>4
>=
(Н·м);
1.3 Расчет зубчатой передачи
Из предыдущих расчетов вращающий момент на ведомом валу М>3> = 187,9 (Н ·м);
Передаточное число редуктора
U>зуб> = 3,15;
Угловая скорость ведомого вала
(р/с);
Нагрузка близка к постоянной, передача нереверсивная.
1. Так как нагрузка на ведомо валу достаточно велика, для получения компактного редуктора принимаем марку стали 35ХМ для шестерни и колеса, с одинаковой термообработкой улучшения с закалкой ТВЧ до твёрдости поверхностей зубьев 49…65 HRC, σ>Т> = 750 МПа при предлагаемом диаметре заготовки шестерни D < 200 мм и ширине заготовки колеса S < 125 мм.
Принимаем примерно средне значение твердости зубьев 51HRC.
2. Допускаемое контактное напряжение по формуле (9.37 [6])
[σ>н>] = (σ>ио >/[S>н>]) К>HL>
Для материала зубьев шестерни и колеса принимаем закалку при нагреве ТВЧ по всему контуру зубьев σ>н>>o> = 17 HRC + 200 (см. табл. 9.3 [6])
[S>H>] = 1,2; K>HL> = 1 (см. § 9.11 [6])
[σ>н>]=
(МПа);
3. Допустимое напряжение изгиба по формуле (9.42)
[σ>F>]= (σ>FO>/[S>F>] K>FC>> >· K>FL>>.>
Для материала зубьев шестерни и колеса: см. по табл. 9.3 [6].
σ>FO> = 650 МПа; [S>F>] = 175; K>FC> = 1 (см. § 9.1 [6])
[σ>F>] = (650/1,57) ·1 ·1 = 370 (МПа);
4. Коэффициент ширины зубчатого венца по формуле (9.77)
Ψ>d>
= 0,166

5. По табл. 9.5 [6] принимаем коэффициент неравномерности распределения нагрузки по ширине зубчатого венца К>НВ> = 1,4
Интерполирование
Ψ>d> К>НВ>
0,4 – 1,25
0,15
0,2 0,55 – Δ 0,2
0,6 1,45
0,2 – 0,2
Δ =

0,15 – Δ К>НВ> = 1,25+0,15 = 1,4
6. Внешний делительный диаметр колеса по формуле
d>e>>2>
= 165
мм
Принимаем стандартное значение
d>e>>2> = 180 мм и ширину зубчатого венца b = 26 мм (см. табл. 9.7 [6])
7. Расчетные коэффициенты
V>p> = 0,85 при Ψ>d> = 0,68
К>FB> = 1,64 (см. табл. 9.5 [6])
Ψ>d>> >К>FB>
0,4 – 1,44
0,15
0,2 0,55 – Δ 0,27
0,6 1,71,
0,2 – 0,27 Δ =

0,15 – Δ К>НВ> = 1,44 – 0,2025 = 1,64
8. Внешний окружной модуль по формуле (9.79 [6])
m>e>
≥
мм
9. Число зубьев колеса и шестерни
z>2> = d>e2> /m>e> = 180/2,72 = 66,2
z>1> = z>2> /u = 66,2/3,15 = 21
Принимаем: z>1> = 21; z>2> = 66.
10. Фактическое передаточное число
U>ф >= z>2>| z>1> = 66|21 = 3,14
Отклонение от заданного
ΔU
=
%<4%
11. Углы делительных конусов по формуле (9.49 [6])
tgδ>2> = U>ф> = 3,14; δ>2> = 72°
δ>1> = 90 – δ>2> = 90 – 72° = 18°
12. Основные геометрические размеры (см. формулы 9.50 … (9.56) [6]):
d>e1> = m>e> · z>1> = 2,72 ·21 = 57,12 (мм);
R>e>
= 0,5 me
(мм);
R = R>e> – 0,5в = 94,2 – 0,5 ·26 = 81,2 (мм);
Пригодность размера ширины зубчатого венца
в = 28 < 0,285 R>е> = 0,285 · 94,2 = 26,8 (мм);
Условие соблюдается
m = m>e> R/R>e> = 2,72 ·81,2/94,2 = 2,34 (мм);
d>1> = m z>1> = 2,34 ·21 = 49,14 (мм);
d>1>2= m z>2> = 2,34 ·66 = 154,44 (мм);
d>ае>>1> = d>e1> +2me cos δ>1 >= 57,12 + 2 ·2,72 · cos 18° = 62,3 (мм);
d>ае>>2> = d>e2> +2me cos δ>2>= 180 + 2 ·2,72 · cos 72° = 181,7 (мм);
13. Средняя скорость колес и степень точности
υ =
(м/с)
по табл. 9.1 принимаем 8 степень точности передачи.
14. Силы в зацеплении по формулам (9.57)… (9.59); окружная на колесе и шестерне:
F>t> = 2М>3>/d>2> = 2 · 187,9 ·103/154,44 = 2433,3 (Н);
радиальная на шестерни и осевая на колесе:
F>r>>1> = F>a>>2> = Ft · tg α ω·cos δ>1> = 2433,3·tg20°·cos 18° = 832,2 (Н);
осевая на шестерни и радиальная на колесе:
F>а1> = F>r>>2> = Ft · tg α ω·sin δ>1> = 2433,3·tg20°·sin 18° = 262,8 (Н);
15. Коэффициент динамической нагрузки
К>нυ >= 1,1 (см. табл. 9.6 [6])
К>НВ> = 1,4
16. Расчетное контактное напряжение по формуле (9.74 [6])
σ>н>
=
МПа
σ>Н> = 899 МПа = [σ>Н>] = 899 МПа
R
17. Эквивалентное число зубьев шестерни и колесо по формуле (9.46 [6])
z>υ>>1> = z>1>/cos σ>1 >= 21 / cos 18° = 22,1 (Н);
z>υ>>2> = z>2>/cos σ>2 >= 66 / cos 72° = 220 (Н);
Коэффициент формы зуба (см. § 9.10 [6])
Y>F>>1> = 3,977; Y>F>>2> = 3,6
Интерполируем:
z>υ>>1 >Y>F>>2>
22 – 3,98
0,1
2 22,1 – Δ 0,06
24 3,92
2
–
0,06 Δ
=

0,1 – Δ К>НВ> = 3,98 – 0,003 = 3,977
18. Принимаем коэффициенты
К>Fυ> = 1,2 (см. табл. 9.6 [6])
К>F>>В> = 1,64 (см. пункт 7) – остается без изменения
19. Расчетное напряжение изгиба в основании зубьев шестерни по формуле (9.78 [6])
σ>F>>1>
= Y>F>>1>
(МПа);
σ>F>>1> = 316,8 МПа < [σ>F>] = 370 МПа.
Расчетное напряжение изгиба в основании зубьев колеса
σ>F>>2> = Y>F>>1> Y>F>>2>/ Y>F>>1> = 316,8 · 3,6/3,9 = 286,76 (МПа);
σ>F>>2> = 286,76 МПа < [σ>F>] = 370 МПа.
Прочность зубьев на изгиб обеспечена.
1.4 Проектный расчет ведущего вала
Ведущий вал выполняем заодно с шестерней.
Из предыдущих расчетов известно:
М>2> = 61,5 (Н ·м); R>e> = 94,2 (мм)
в = 26 мм; m>e> = 2,72 (мм)
δ>1>° = 18°
1. Т.к. вал выполняем заодно с шестерней, то его материал сталь 35ХМ, тогда допустимое напряжение на кручение можно принять [τ] = 20 МПа.
Диаметр выходного участка:
d>в1>
=
(мм);
Принимаем dв>1> = 30 мм.
В кинематической схеме предусмотрено соединение ведущего вала редуктора и электродвигателя, выписываем из таблицы К10 [1] диаметр вала выбранного двигателя d>э> = 38 мм и проверяем соотношение.
dв>1> = 0,8 · d>э> = 0,8 · 38 = 30,4 (мм);
т. к. данное соотношение выполняется, принимаем dв>1> = 30 мм
2. Диаметр по монтажу: d>м1> = dв>1> + 5 мм = 30 + 5 = 35 (мм)
3. Диаметр цапфы: d>1> = d>м1> + 5 мм = 35 + 5 = 40 (мм)
4. Начинаем построение вала с прорисовки шестерни.
4.1 Под углом σ>1> = 18° откладываем расстояние:
R>e> = 94,2 (мм);
4.2 Откладываем ширину зубчатого венца:
в = 26 (мм);
4.3 Откладываем высоту головки зуба:
h>a> = m>e> = 2,72 (мм) и высоту ножки зуба
h>f> = 1,28 m>e> = 1,28 · 2,72 = 3,48 (мм);
4.4 Соединяем полученные точки с вершиной делительного конуса.
4.5 Строим буртик (d>δ>) для упора подшипника:
d>δ>>1> = d>n>>1> +10 = 40 + 10 = 50 (мм);
4.6 Определяем диаметр резьбы для гайки, крепящей подшипник:
d>р1> = d>м1> + 5 мм = 35 + 5 = 40 (мм);
Принимаем стандартное значение резьбы для гайки М36.

Рис. 1. Эскиз ведущего вала
1.5 Проектный расчет ведомого вала
Из предыдущих расчетов известно
М>3> = 187,9 (Н · м) – вращающий момент на ведомом валу редуктора.
1. Диаметр выходного участка определяем из условия прочности на кручение:
d>в1>
=
(мм)
Принимаем dв>2> = 40 мм.
2. Диаметр на манжету:
d>м2> = d>в2> + 5 = 40 + 5 = 45 (мм);
3. Диаметр цапфы:
d>n>>2> = d>м2> + 5 = 45 + 5 = 50 (мм);
4. Диаметр посадочной поверхности:
d>к2> = d>n>>2> + 5 = 50 + 5 = 55 (мм);
5. Диаметр буртика:
d> >>δ>>2> = d>к2> + 10 = 55 + 10 = 65 (мм);

Рис. 2. Эскиз ведомого вала
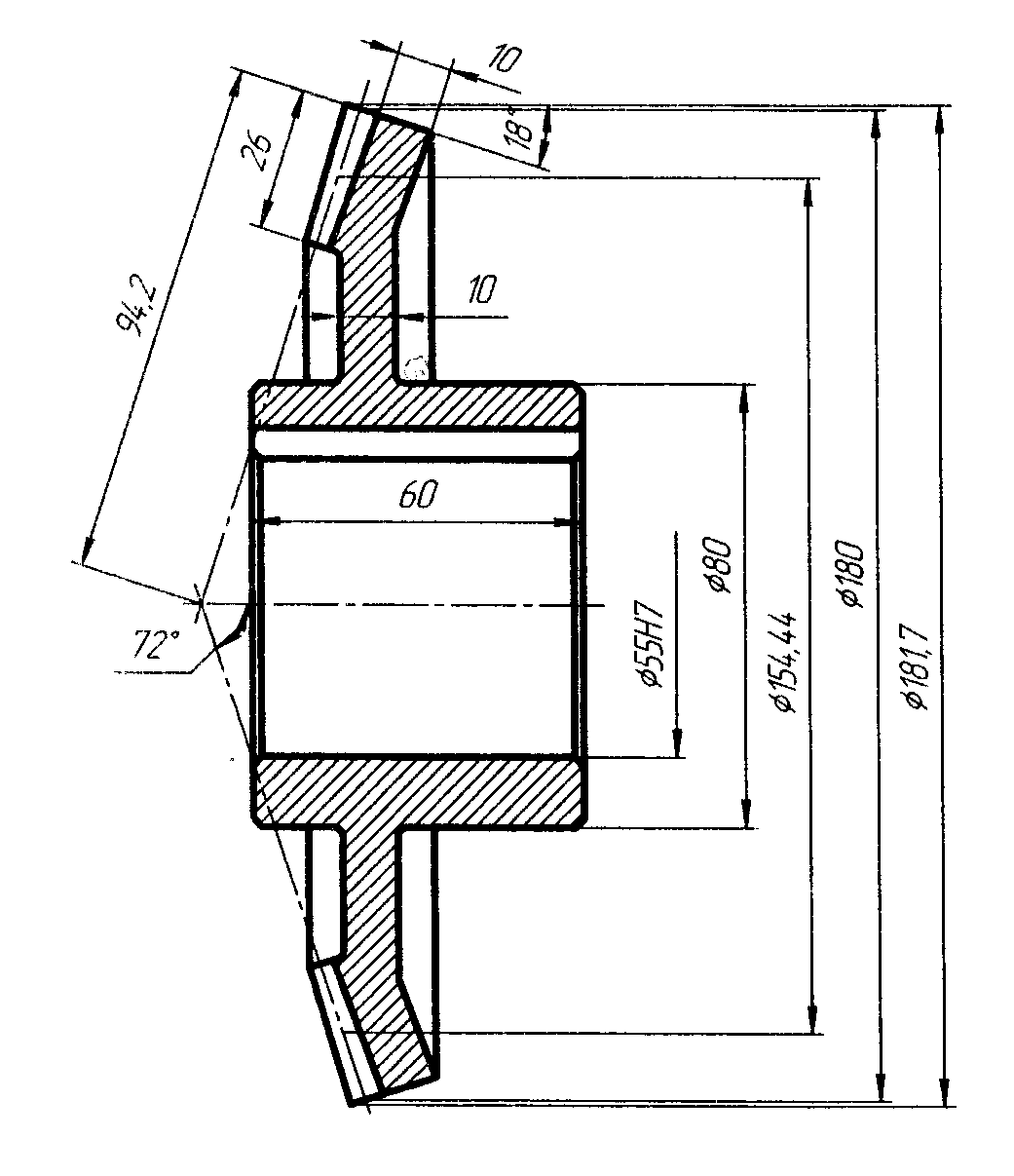
1.6 Конструктивные размеры колеса
Из предыдущих расчетов известно:
в = 26 мм; R>e> = 94,2 мм; d>к> = 55 мм; m = 2,34 мм;
d>ае2> = 181,7 мм; d>е2> = 180 мм; d>2> = 154,44 мм;
1. Находим диаметр ступицы стальных колес:
d>ст> = 1,45 d>в2> = 1,45 · 55 = 80 (мм);
2. Длина ступицы:
L>ст> = 1,1 · d>к> = 1,1 · 55 = 60 (мм);
3. Толщина обода конических колес:
δ>о> = 4 ·m = 4 · 2,34 = 9,36 (мм);
Принимаем δ>о> =10 (мм);
4. Толщина диска:
с = 0,1 R>e> = 0,1 · 94,2 = 9,42 (мм);
Принимаем с = 10 (мм);
5. Фаска:
n = 0,5 m>n> = 0,5 · 2,34 = 1,17 (мм);
Принимаем n = 1,6 (мм);

Рис. 3. Эскиз конического зубчатого колеса
1.7 Конструктивные размеры корпуса и крышки редуктора
Из предыдущих расчетов известно:
R>e> = 94,2 (мм) – внешнее конусное расстояние.
1. Толщина стенки конуса и крышки редуктора:
δ = 0,05 R>e> + 1 = 0,05 · 94,2 + 1 = 5,71 (мм); δ = 8 (мм);
δ = 0,04 R>e> + 1 = 0,04 · 94,2 + 1 = 4,77 (мм); δ>1> = 8 (мм);
2. Толщина верхнего пояса (фланца) корпуса:
в = 1,5 δ = 1,5 · 8 = 12 (мм);
3. Толщина нижнего пояса (фланца) крышки корпуса:
в>1> = 1,5 δ>1> = 1,5 · 8 = 12 (мм);
4. Толщина нижнего пояса корпуса без бобышки:
р = 2,35 δ = 2,35 · 8 = 18,8 (мм) ≈20 (мм);
5. Толщина ребер основания корпуса:
m = (0,85÷1) δ = 1 · 8 = 8 (мм);
6. Толщина ребер крышки:
m>1> = (0,85÷1) δ>1> = 1 · 8 = 8 (мм);
7. Диаметр фундаментных болтов:
d>1> = 0,072 R>e> +12 = 0,072 · 94,2 + 12 = 18,78 (мм);
Принимаем диаметр болтов М20.
8. Диаметр болтов:
8.1 У подшипников
d>2> = (0,7÷0,75) d>1> = 0,75 · 20 = 15 (мм);
Принимаем диаметр болтов М16.
8.2 Соединяющие основание корпуса с крышкой
d>3> = (0,5÷0,6) d>1> = 0,6 · 20 = 12 (мм);
Принимаем диаметр болтов М12.
9. Размеры, определяющие положение болтов d>2>:
е ≈ (1÷1,2) d>2> = 1 · 15 = 15 (мм);
q = 0,5 d>2> + d>4> = 0,5 · 15 + 6 = 13,5 (мм);
Крепление крышки подшипника:
d>4 >= 6 (мм) (по таблице 10.3 [2]);

Рис. 4. Эскиз корпуса и крышки редуктора
1.8 Эскизная компоновка редуктора
Эскизная компоновка редуктора служит для приближенного определения положения зубчатых колес относительно опор для последовательного определения опорных реакций и проверочного расчета вала, а также проверочного расчета подшипников.
С учетом типа редуктора предварительно назначаем роликовые конические однорядные подшипники. По диаметру цапфы (d>n>>2> = 50 мм). Выбираем по каталогу подшипники ведомого вала 7210.
Назначаем способ смазки: зацепление зубчатой пары – окунанием зубчатого венца в масло, подшипники смазываются автономно, пластичным смазочным материалом, камеры подшипников отделяем от внутренней полости корпуса мазеудерживающими кольцами.
Определяем размеры, необходимые для построения и определения положения реакций опор:
а =

а>б>
=
(мм);
а>r>
=
(мм);
f>1> = 35 (мм) – определяем конструктивно
l>1> = 2 · f>1> = 2 · 35 = 70 (мм);
Принимаем l>1> = 70 мм = 0,07 (м);
Расстояние между опорами ведомого вала:
l>2> = 0,19 (м).
1.9 Подбор шпонок и их проверочный расчёт
Шпоночные соединения в редукторе предусмотрены для передачи вращающего момента от полумуфты на ведущий вал, от колеса на ведомый вал и от ведомого вала на звездочку.
Все соединения осуществляем шпонками с исполнением 1.
Из предыдущих расчетов известно:
М>2> = 61,5 (Н ·м);
М>3> = 187,9 (Н ·м);
d>в1 >= 30 (мм)
d>в2> = 40 (мм)
Принимаем [σ]>см> = 110 МПа.
1. Соединение полумуфта – ведущий вал:
σ>см>
=

Здесь h = 7 мм; в = 8 мм; t>1> = 4 мм.
(табл. К 42 [1])
1.1 Вычисляем длину ступицы:
l>ст> = 1,5 d>в1> = 1,5 · 30 = 45 (мм).
1.2 Вычисляем длину шпонки:
l>ш> = l>ст> – 5 мм = 45 – 5 = 40 (мм).
1.3 Принимаем стандартное значение:
l>ш> = 40 мм.
1.4 Вычисляем рабочую длину шпонки:
l>р> = l>ш> – в = 40 – 8 = 32 (мм).
1.5 Вычисляем расчетное напряжение сжатия и сравниваем его с допускаемым:
σ>см>
=
МПа
σ>см> = 49,7 МПа < [σ]>см> = 110 МПа
Прочность соединения обеспечена.
2. Соединение звездочки с ведомым валом:
σ>см>
=

Здесь h = 8 мм; в = 12 мм; t>1> = 5 мм. (табл. К 42 [1])
2.1 Вычисляем длину ступицы:
l>ст> = 1,5 d>в2> = 1,5 · 40 = 60 (мм).
2.2 Вычисляем длину шпонки:
l>ш> = l>ст> – 5 мм = 60 – 5 = 55 (мм).
2.3 Принимаем стандартное значение:
l>ш> = 56 мм.
2.4 Вычисляем рабочую длину шпонки:
l>р> = l>ш> – в = 56 – 12 = 44 (мм).
2.5 Вычисляем расчетное напряжение сжатия и сравниваем его с допускаемым:
σ>см>
=
МПа
σ>см> = 84,7 МПа < [σ]>см> = 110 МПа.
1.10 Проверочный расчет ведомого вала
Из предыдущих расчетов известно:
М>3> = 187,9 (Н ·м) – момент на ведомом валу
F>t> = 2433,3 (Н) – окружная сила
F>a>> >= 832,2 (Н) – осевая сила
F>r> = 262,8 (Н) – радиальная сила
d>2> = 154,44 (мм) – диаметр делительной окружности.
На эскизной компоновке редуктора замеряем размеры
l>1> = 0,07 м; l>2> = 0,12 м.
Вычисляем консольную длину участка:
l>к> = 0,7 · d>в2> + (50 мм) = 0,7 ·40 + 50 = 0,078 м
Принимаем l>к> = 0,7 м.
Вычисляем консольную силу для зубчатого редуктора:
F>к>
= 125
(Н)
Материал Сталь 45 из табл. 3.2 [1], ТО – улучшение с закалкой ТВЧ 45 HRC.
σ>b> = 780 МПа; σ>-1> = 335 МПа; τ>0> = 370 МПа.
Способ обработки рабочих поверхностей – чистовая обточка, цапфы шлифуются.

Чертеж ведомого вала
1. Консольная сила прикладывается параллельно окружной и имеет противоположное ей направление.
Определяем осевой изгибающий момент:
Ма = Fa
(Н
·м)
2. Определяем реакции опор в вертикальной плоскости:
ΣМ(А) i = 0 1) – У>В> ·0,19 + F>r> · 0,07 – Ma = 0
ΣМ(B) i = 0 2) У>A> ·0,19 – F>r> · 0,12 – Ma = 0
=> 1) У>В>
=
(Н);
=> 2) У>А>
=
(Н);
Проверка:
ΣFyi = 0
У>А> + У>В> – F>r> = 0
503,8 – 262,8 – 241 = 0
0 = 0
Реакции найдены верно.
3. Строим эпюру изгибающих моментов М>х>:
;
(Н·м);
(Н·м);
;
4. Определяем реакции опор в горизонтальной плоскости
Σ
М(А)
i = 0 1) F>к>
·0,07 + F>t>
· 0,07 – X>B>
· 0,19 = 0
ΣМ(B) i = 0 2) F>k> ·0,26 + X>A> · 0,19 – F>t> · 0,12 = 0
=> 1) X>В>
=
(Н);
=> 2) X>А>
=
(Н);
Проверка:
ΣFxi = 0
F>k> + X>A> – F>t> + X>B> = 0
1713,5 – 808 – 2433,3+ 1527,8 = 0
0 = 0
Реакции найдены верно.
5. Строим эпюру изгибающих моментов М>у>:
;
(Н·м);
(Н·м);
;
6. Строим эпюру суммарных изгибающих моментов:
М>ис> = 0;
М>иА>
=
(Н·м);
М>иД>
=
(Н·м);
М>и'Д>
=
(Н·м);
М>иВ> = 0;
7. Строим эпюру крутящих моментов:
М>z> = M>3> = 187,9 (Н·м);
8. Опасным является сечение Д, т. к. М>иД> = М>max>>,>концентратор напряжений – шпоночный паз.
d>к2> = 55 (мм); в = 16 (мм); t>2> = 4,3 (мм) (табл. К 42 [1]);

Рис. 5. Эскиз шпоночного паза
9. Определяем геометрические характеристики сечения:
W>x>>
>= 0,1 d>к2>3
–
(мм3)
W>р
>= 0,2 d>к2>3
–
(мм3)
10. Определяем максимальное напряжение в опасном сечении:
σ>max>
=
(МПа);
τ>max>
=
(МПа).
11. Полагаем, что нормальные напряжения изменяются по симметричному циклу, а касательные по отнулевому циклу;
σ>а> = σ>max> =12,4 (МПа);
τ>а>
=
(МПа).
12. Из табл. 2.1–2.5 [3] выбираем коэффициенты влияния на предел выносливости.
Коэффициенты влияния абсолютных размеров поперечного сечения К>d>:
d>к2> К>dσ>
50 – 0,81
5
20 55 – Δ 0,05
70 0,76
20 – 0,05 Δ =

5 – Δ К>d>>σ> = 0,81 – 0,0125 = 0,797
d>к2> К>dτ>
50 – 0,7
5
20 55 – Δ 0,03
70 0,67
20 – 0,03 Δ =

5 – Δ К>d>>τ> = 0,7 – 0,0075 = 0,693
Эффективный коэффициент концентрации напряжений К>δ>(К>τ>):
К>δ >= 2,5; К>τ >=> >2,3.
Коэффициенты влияния качества обработки К>F>:
К>F> = 0,83.
Коэффициент влияния поверхности упрочнения К>υ>:
К>υ> = 2.
13. Вычисляем коэффициенты снижения предела выносливости:
(К>δ>)>Д>
=

(К>τ>)>Д>
=

14. Определяем пределы выносливости в данном сечении:
(δ>-1>)
Д
=
(МПа);
(τ>0>)
Д
=
(МПа);
15. Определяем запас усталостной прочности по нормальным и касательным напряжениям
S>σ>
=

S>τ>
=

16. Определяем общий запас усталостной прочности и сравниваем его с допускаемым:
Принимаем [S] = 2
S =
S
=

S = 16,9 > [S] = 2.
Запас усталостной прочности обеспечен.
1.11 Выбор и проверочный расчет подшипников ведомого вала
Тип подшипника назначается в зависимости от условий работы подшипникового узла, в частности, о наличия осевой силы. Подшипник выбирается по соответствующей таблице в зависимости от диаметра цапфы.
Расчет заключается в определении расчетной динамической грузоподъемности и сравнении ее с грузоподъемностью подшипника, взятой из таблицы С>r>> расч> ≤ С>r> – условия работоспособности подшипника.
Из предыдущих расчетов известно:
d>n>>2> = 50 мм – диаметр цапфы
F>a> = 832,2 (Н) – осевая сила
t = 80 °C в подшипниковом узле
ω>3> = 28,9 (р/с) – угловая скорость вала
L>H> – 12000 (час) – ресурс подшипника
Характер нагрузки – умеренные толчки.
У>А> = 503,8 (Н) – реакция опоры в вертикальной плоскости
У>В> = – 241 (Н) – реакция опоры в вертикальной плоскости
Х>А> = -808 (Н) – реакция опоры в горизонтальной плоскости
Х>В> = 1527,8 (Н) – реакция опоры в горизонтальной плоскости
Выбираем подшипник 7210 по табл. К 29 [1] (начиная с легкой серии)
1. Определяем суммарные реакции опор:
R>A>
=
(Н);
R>В>
=
(Н);
2. Выписываем из таблицы К 29 [1] характеристику подшипника.
С>r> = 52,9 (кН); С>or> = 40,6 (кН); e = 0,37; у = 1,6.
3. В соответствии с условиями работы принимаем расчетные коэффициенты.
V = 1 – коэффициент вращения, т. к. вращается внутреннее кольцо подшипника.
К>б> = 1,3 – коэффициент безопасности, учитывающий влияние характеристики нагрузки на долговечность подшипника.
К>Т> = 1 – коэффициент, учитывающий влияние температуры на долговечность подшипника.
3.1 Определим осевые составляющие от радиальных сил
R>S>>1> = 0,83 e R>A> = 0,83 · 0,37 · 952,2 = 294,4 (Н);
R>S>>2> = 0,83 e R>В> = 0,83 · 0,37 · 1546,7 = 475 (Н);
3.2 Определяем расчетные осевые силы.
R>S>>1> = 294,4 (Н) < R>S>>2> = 475 (Н)
F>A> = 832,2 (Н) > R>S>>2> – R>S>>1> = 475 – 294,4 = 180,6 (H);
R>А1> = R>S>>1> = 294,4 (Н);
R>A>>2> = R>A>>1 >+ F>A> = 294,4 + 832,2 = 1126,6 (Н).
3.3 Определяем соотношение R>A>/V·R
< e
= 0,37, то х = 1; у = 0
> e
= 0,37, то х = 0,4; у = 1,6.
4. Определяем эквивалентную динамическую нагрузку:
R>E>>1> = (XVR>A> + УR>a>>1>) K>T>K>б> = (1·1·952,2+0·294,4) ·1·1,3 = 1237,9 (Н);
R>E>>2> = (XVR>В> + УR>a>>2>) K>T>K>б> = (0,4·1·1546,7+1,6·1126,6) ·1·1,3 = 3147,6 (Н);
Дальнейший расчет ведем по наиболее нагруженной опоре.
5. Определяем расчетную динамическую грузоподъемность:
С>r>>
расч> = R>e>>2>
(кН)
Р = 3,33 – для роликовых подшипников
С>r>>
расч> =
3147,6
(кН).
6. Сравниваем расчетную динамическую грузоподъемность С>r>> расч> и базовую динамическую грузоподъемность С>r>:
С>r>> расч> = 15,42 (кН) < С>r>> >= 52,9 (кН).
Подшипник 7210 удовлетворяет заданному режиму работы.
1.12 Выбор посадок
Посадки назначаем в соответствии с указаниями, данными в табл. 10.13 [2].
Посадка зубчатого
конического колеса на вал
по ГОСТ 25347–82.
Посадка звездочки
цепной передачи на вал редуктора
.
Шейки валов под
подшипники выполняем с отклонением
вала К>6>.
Отклонения отверстий в корпусе под
наружное кольцо по H>7>.
Посадка распорных колец, сальников на
вал
.
Посадка стаканов
под подшипники качения в корпусе,
распорные втулки на вал
.
1.13 Смазка редуктора
Смазывание зубчатого зацепления производится окунанием зубчатого колеса в масло, заливаемое внутрь корпуса до погружения колеса на всю длину зуба.
По табл. 10.8 [2] устанавливаем вязкость масла. При контактных напряжениях σ>н> = 899 МПа и средней скорости V = 2 м/с вязкость масла должна быть приблизительно равна 60· 10-6 м2/с. По табл. 10.10 [2] принимаем масло индустриальное И 70А (по ГОСТ 20799–75). Подшипники смазывают пластичным материалом, закладываем в подшипниковые камеры, при монтаже. Сорт смазки выбираем по табл. 9.14 [2] – пресс-солидол марки С (по ГОСТ 43–66–76).
1.15 Краткие требования по охране труда и технике безопасности
Требования по технике безопасности:
а) Все вращающиеся детали должны быть закрыты защитными кожухами;
б) Корпус редуктора не должен иметь острых углов, кромок и должен быть оборудован монтажным устройством;
в) На ограждение необходимо поставить блокировку и предупредительный знак.

Требования по экологии:
а) Отработанное масло сливать в предназначенные для этого емкости;
б) Вышедшие из строя детали складировать в специальных помещениях.
Заключение
В курсовом проекте продумана конструкция конического редуктора, выполнены расчеты цепной передачи, валов, колеса, корпуса и крышки редуктора. По каталогам выбраны размеры шпоночных соединений ГОСТ 23360–78 для диаметров 30 и 40 и выбраны подшипники роликовые конические однорядные 7209 и 7210 ГОСТ 27365–87. Для деталей и узлов проведены необходимые проверочные расчеты.
Графическая часть (сборочный чертеж конического редуктора, чертеж колеса конического, чертеж ведомого вала) выполнена согласно требованиям ЕСКД. Продуманы требования по технике безопасности и охране труда; по сборочному чертежу описан процесс сборки редуктора.