Разработка технологического процесса изготовления детали "Основа излучателя"
1
Министерство общего и профессионального образования РФ
Саратовский Государственный Технический Университет
Кафедра «Приборостроение»
Пояснительная записка
к курсовой работе по дисциплине «Технология приборостроения» на тему «Разработка технологического процесса изготовления детали «Основа излучателя»
Выполнил:
Проверил:
доц. Орлов Б.С.
Саратов 2004
Содержание
Введение
Анализ эксплуатационных свойств детали и конструкторский контроль чертежа
Анализ технологичности конструкции
Обоснование и выбор заготовки
Разработка технологического процесса обработки детали
Обоснование последовательности обработки и выбранного оборудования
Расчет погрешностей базирования
Определение припусков и межоперационных размеров
Определение рациональных режимов резания и норм времени
Расчет точности обработки
Описание конструкции приспособлений
Заключение
Перечень использованной литературы
Аннотация
В данной пояснительной записке к курсовой работе на тему «Разработка технологического процесса изготовления детали «Основа излучателя» представлен технологический процесс, запроектированный исходя из анализа функциональных свойств детали, различных технологических факторов производства, произведен расчет точностных характеристик производства, а так же рассчитаны теоретически рациональные нормы времени обработки детали.
Основной целью данного курсовой работы является ознакомление с основными приемами расчета заготовки, проектирования технологического процесса изготовления детали, выбора оборудования и его режимов работы, технологической оснастки производства при изготовлении деталей данного вида.
Введение
Технология машиностроения – это наука об изготовлении машин требуемого качества в установленном производственной программой количестве и в заданные сроки при наименьших затратах. Предметом исследования и разработки в технологии машиностроения являются виды обработки, выбор заготовок, качество обрабатываемых поверхностей , точность обработки и припусков на нее, базирование заготовки, способы механической обработки поверхностей, конструирование приспособлений.
Особенностью приборостроения является то, что при малых габаритах деталей приборов имеют место сопрягаемые поверхности небольших диаметров, малые модули зубчатых зацеплений, мелкие резьбы. Малые габариты деталей определяют высокую точность изготовления.
Повышенные требования предъявляются к обеспечению в деталях точности формы – уменьшению конусности, бочкообразности, нецилиндричности, некруглости и т.п. и расположению поверхности в деталях – устранению непараллельности, перекоса осей, неперпендикулярности, несоосности, несимметричности, радиального биения. При обработке деталей малых размеров используют особые технологические приемы, назначают специфические операционные допуски, припуски и базы.
Анализ эксплуатационных свойств детали и конструкторский
контроль чертежа
Деталь, рассматриваемая в данной пояснительной записке, носит название «Основа излучателя». Она входит в состав скважинного прибора – «Кедр-АКЦ60-150», разработанный ЗАО «ГеоФизМаш» и который широко используется в газовой и нефтяной промышленности при исследованиях скважин.
Основа излучателя крепится внутри скважного прибора к поршню, фланцу и излучателю и служит основой для излучателя, а также защищает провода от повреждений. Масса всего прибора в целом невелика – основную часть его составляют электронные схемы и датчики. Поэтому нагрузка на деталь невелика. Деталь не претерпевает больших вращающих моментов, т.е. не вращается. Поверхность детали не изнашивается, требований к моментам трения, магнитным и электрическим параметрам нет.
Исходя из этих условий, материал, применяемый для изготовления основы излучателя, выбран правильно – среднеуглеродистая повышенной прочности сталь 45, имеющая состав:
Таблица 1. Химический состав (%) стали 45
|
С |
Si |
Mn |
|
0,42- 0,50 |
0,17- 0,37 |
0,50- 0,80 |
Таблица 2. Характеристики механических свойств стали 45
|
Предел прочности в, Кгс/мм2 |
Предел текучести т, Кгс/мм2 |
Удлинение 5, % |
Поперечное сужение , % |
|
61 |
36 |
16 |
40 |
Основа излучателя крепится в приборе при помощи резьбовых соединений (на чертеже – М16х1,5-7H, М30х1,5-8g, М34х1,5-8g) среднего класса точности, т.к. здесь выполняется силовая функция, но в тоже время для герметичного соединения необходимо, чтобы поверхности диаметрами 31,9-0.025 , 35-0.025 плотно прилегали к внутренним поверхностям излучателя и фланца. Поэтому здесь предъявляется требование соосности этих двух поверхностей. По той же причине эти поверхность имеют точный допуск, а также параметр шероховатости на диаметре 31,9 взят Ra 1,6. Для подведения электрического питания и различных сигналов к электронной начинке прибора в основе излучателя имеются сквозные отверстия. Конусообразное отверстие необходимо для выхода проводов, идущих по отверстиям 3 . Пазы, имеющиеся на 42, служат для того, чтобы деталь занимала постоянное положение относительно других деталей. Переход отверстия с 13 на 8 не контролируется и зависит от инструмента. Резьба М16х1,5-7H изначально на заводском чертеже предполагалась без канавки и фаски, что дает огромные трудности при сборке , поэтому канавка и фаска были сделаны: канавка 17 и фаска 1,5 х 45 о. Неуказанные предельные отклонения размеров заданы по 14 квалитету, а в приборостроении применяется максимально 12 квалитет. Неправильные обозначения допусков и обозначений типа база А и разрез А, база Б и отверстие Б исправлены в соответствии с ЕСКД. Шероховатости и допуски в целом устраивают.
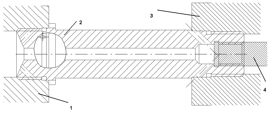
Схематично соединение основы излучателя и других деталей представлено на рис.1

Рис.1 Схема крепления основы излучателя.
На рис.1 изображены:
Фланец.
Основа излучателя.
Излучатель.
Поршень.
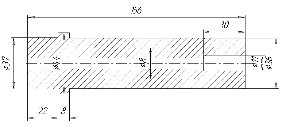
Деталь имеет форму ступенчатой втулки, поэтому для ее описания достаточно одной проекции, но из-за специфического отверстия необходим разрез, как и изображено на заводском чертеже. Так же все размеры, необходимые при производстве детали имеют место на чертеже.
Таким образом, заключаем, что в общем (кроме указанных случаев) заводской чертеж соответствует требованиям ЕСКД.
2. Анализ технологичности конструкции детали
Деталь, изготавливаемая на производстве должна иметь при этом минимальные трудовые и материальные затраты. Их можно в значительной мере сократить путем выбора оптимального технологического процесса, его оснащения и механизации, а так же применения оптимальных режимов обработки.
Как можно установить из анализа чертежа детали, она состоит из унифицированных элементов – цилиндров, имеет достаточно оптимальные с точки зрения обработки степени точности и шероховатости и позволяет применить типовой технологический процесс изготовления (ступенчатых втулок).
В качестве показателя технологичности изделия можно взять коэффициент использования материала КИМ, который можно определить по формуле (3.1)
100%
(3.1)
где: GД – масса детали.
GЗ – масса заготовки.
Рассчитаем массу заготовки. Для этого понадобятся следующие данные – объем детали V и плотность ее материала . Усредненную плотность возьмем из таб.13.2 [10] =7.85 г/см3.
Объем детали рассчитаем, мысленно разделив деталь на элементарные части:
Объем базового прутка:
=210587,24
мм3 (3.2)
Объем внешнего слоя, снимаемого при получении 5
=9101,59
мм3 (3.3)
Объем внешнего слоя, снимаемого при получении 4
=60137,28
мм3 (3.4)
Объем внешнего слоя, снимаемого при получении 1,9
=175,65
мм3 (3.5)
Объем внешнего слоя, снимаемого при получении 30
=2032,15
мм3 (3.6)
Объем внешнего слоя, снимаемого при получении 4
=921,27
мм3 (3.7)
Объем слоя, снимаемого при поручении фаски для захода резьбы
=58,76
мм3 (3.8)
Объем слоя, снимаемого при поручении фаски для захода резьбы 0
=51,69
мм3 (3.9)
Объем слоя, снимаемого при получении канавки 30
=765,37
мм3 (3.10)
Объем слоя, снимаемого при получении канавки 26
=804,49
мм3 (3.11)
Объем отверстия 8:
=6179,52
мм3 (3.12)
Объем примерный отверстия 4,2
=360,22
мм3 (3.13)
Объем примерный 2 отверстий 3
=183,78
мм3 (3.14)
Объем примерный отверстия 3
=81,29
мм3 (3.15)
Объем примерный отверстия 3
=245,24
мм3 (3.16)
Объем конусообразной выточки 31
=1761,25
мм3 (3.17)
Объем отверстия 13:
=3979,95
мм3 (3.18)
Объем слоя, снимаемого при поручении фаски для захода резьбы 16
=51,22
мм3 (3.19)
Объем слоя, при поручении фаски от сверления 14
=144,24
мм3 (3.20)
Объем слоя, снимаемого при получении канавки 17
=282,60
мм3 (3.21)
Результирующий объем
V=VПРУТКА-VОТВ1-VОТВ2-VОТВ3 -VОТВ4-VОТВ5-VОТВ6-VКАНАВКИ1 -VКАНАВКИ2- VКАНАВКИ3- VВН.СЛОЯ1- VВН.СЛОЯ2- VВН.СЛОЯ3- VВН.СЛОЯ4- VВН.СЛОЯ5-Vвыт-VФ1-VФ2-VФ3-VФ4=110855,71 мм3 (3.22)
Масса детали
GД=V=0.00785х110855,71=870,22 г =0.87 кг. (3.23)
Далее вычислим массу заготовки – прутка. Его размеры (с учетом припусков)
D=44 мм, L=154 мм.
Объем заготовки
=234346,99
мм3 (3.24)
Масса заготовки
GЗ=V=0.00785х234346,99 =1839,62 г =1.84 кг. (3.25)
Коэффициент использования материала
100%=47
%
Аналогичным образом найдем коэффициент использования материала для заготовки, получаемой литьем.
Объем такой заготовки вычислим исходя из рис.2.

Рис.2 Форма заготовки.
Разделив заготовку на части, находим общий объем
=22537,35
мм3 (3.26)
=11756,16
мм3 (3.27)
=88975,04
мм3 (3.28)
=27671,25
мм3 (3.29)
Масса заготовки
GЗ=(V1+V2+V3+V4)=(22537.35+11756.16+88975.04+27671.25)0.00785=1184.9 г =1.18 кг.
Коэффициент использования материала
100%=74
%
Таким образом, видим, что изготовление детали литьем технологичность выше, чем при изготовлении детали из прутка. Однако прежде чем делать дальнейшие выводы, следует сделать расчет стоимости производства для обоих случаев.
Обоснование и выбор заготовки
В этом разделе пояснительной записки проанализируем два метода получения заготовок детали, а именно – заготовка из сортового проката и заготовка, получаемая литьем (по выплавляемым моделям).
Расчет будем вести по экономической себестоимости изготовления детали, а точнее по разнице стоимости обоих способов получения заготовок.
Расчет заготовки, получаемой литьем по выплавляемым
моделям
Форма получаемой заготовки изображена на рис.2. Стоимость такого способа [1] Сл=2.0 руб/кг. Ранее найденная масса детали – 1.18 кг. Таким образом, стоимость заготовки составит
=2х1,18
=2,36 руб
3.2 Расчет заготовки из проката
Определим стоимость материала и работ по приведению заготовки к виду рис.2.
Методика и расчетные формулы приведены в [1]. Все рассчитанные числовые данные сведены в таблицу 3.
Таблица. 3.Расчетные данные для подсчета себестоимости заготовки из прутка.
|
Наименование обработки |
Время на обработку Т0, мин |
Разряд/ Стоимость коп/мин |
Коэффициент вида работ |
Стоимость обработки |
|
Отрезка |
0.00019 х442=0.368 |
2/ 0.73 |
1,35 |
0,73 |
|
Подрезание торцов |
2х 0.000037х442=0.143 |
2/0.73 |
1,35 |
0,28 |
|
Обтачивание поверхности |
0.00017х22х37=0.138 |
2/0.73 |
1,35 |
0,27 |
|
Обтачивание поверхности |
0.00017х96х36=0.59 |
2/0.73 |
1,35 |
1,16 |
|
Сверление |
0.00052х156х8=0.649 |
2/0.73 |
1,3 |
1,23 |
|
Развертывание |
0.00043х30х11=0.142 |
2/0.73 |
1,35 |
0.28 |
|
Стоимость материала |
8.1 коп/кг. |
|||
|
Итого |
Сз п= 3,95+8.1=12,05 |
Сравнивая Сз л и Сз п, приходим к выводу, что экономически более выгодно применять заготовки из сортового проката.
Разработка технологического процесса обработки детали
4.1 Обоснование последовательности обработки и выбранного
оборудования
Разработка маршрутного технологического процесса механической обработки заготовки является основой всего курсового проекта. Вследствие того, что тип производства – крупносерийный - технологический процесс следует проектировать, ориентируясь на использование переменно поточных линий, когда параллельно изготавливаются партии деталей, что позволяет использовать преимущества массового производства. Таким образом – нужно по возможности дифференцировать производственный процесс.
В соответствии с условием получения требуемой формы детали, а так же с учетом точности и шероховатости поверхностей, был спроектирован следующий технологический процесс.
Таблица 4. Маршрут операций.
|
Наименование операции |
Базовая поверхность |
Оборудование |
Наименование приспособления |
|
1. Заготовительная |
44, торцевая поверхность |
Отрезой круглопильный полуавтомат 8А631 |
3-х кулачковый патрон. |
|
2. Фрезерно-центровальная |
44 |
Фрезерно-центровальный полуавтомат МР-77 |
Зажимные тиски |
|
3. Токарная |
44, центровые отверстия |
Токарный многорезцовый полуавтомат 1П752МФ3 |
Центра |
|
4. Токарная |
30, центровые отверстия |
Токарный многорезцовый полуавтомат 1П752МФ3 |
Центра |
|
5. Токарная |
30, центровые отверстия |
Токарный станок 16К20 |
Центра |
|
6. Токарная |
30, центровые отверстия |
Токарный станок 16К20 |
Центра |
|
7. Токарная |
31,9, центровые отверстия |
Токарный станок 16К20 |
Центра |
|
8. Токарная |
31,9, центровые отверстия |
Токарный станок 16К20 |
Центра |
|
9. Токарно-револьверная |
42, левая торцевая поверхность |
Токарно-револьверный станок 1365 |
Цанговый патрон |
|
10. Токарная |
31,9, правая торцевая поверхность |
Токарный станок 16К20 |
Цанговый патрон |
|
11. Сверлильная |
34, правая торцевая поверхность |
Вертикально-сверлильный станок 2М112 |
Кондуктор |
|
12. Фрезерная |
31,9, правая торцевая поверхность, отверстие 4,2 |
Фрезерный широкоуниверсальный станок 6712В |
Цанговый патрон |
|
13. Сверлильная |
левая торцевая поверхность, поверхность паза, оправка |
Вертикально-сверлильный станок 2М112 |
Кондуктор |
|
14. Сверлильная |
левая торцевая поверхность, поверхность паза, оправка |
Вертикально-сверлильный станок 2М112 |
Кондуктор |
|
15. Сверлильная |
правая торцевая поверхность, поверхность паза, оправка |
Вертикально-сверлильный станок 2М112 |
Кондуктор |
|
16. Контрольная |
Микрометр ММ-2 |
Приспособление для измерения несоосности |
Воспользовавшись возможностями станков, составим переходы на операции:
На первой операции необходимо из ГОСТированного прутка изготовить заготовку основы излучателя .
Таблица 5. Переходы заготовительной операции (1).
|
Номер перехода |
Содержание перехода |
|
А |
Установить заготовку в 3-х кулачковый патрон и подать до упора |
|
1 |
Отрезать заготовку в размер 154. |
Затем необходимо фрезеровать торцы начисто и центровать заготовку для возможности последующего закрепления в центрах.
Таблица 6. Переходы фрезерно-центровальной операции (2).
|
Номер перехода |
Содержание перехода |
|
А |
Установить деталь в зажимные тиски. |
|
1 |
Фрезеровать торцы в размер 152. |
|
2 |
Центровать 4 с двух сторон. |
|
Б |
Снять деталь. |
Далее необходимо обработать все возможные внешние цилиндрические поверхности с одной стороны:
Таблица 7. Переходы токарной операции (3).
|
Номер перехода |
Содержание перехода |
|
А |
Установить деталь в центра с упором плавающего центра в торец. |
|
1 |
Обточить поверхность до 29,92, обточить поверхность до 32,5, обточить поверхность до 34 согласно чертежу. |
|
2 |
Проточить канавку шириной 3, обточить фаску 1,5х45 о согласно чертежу. |
|
Б |
Снять деталь. |
и с другой:
Таблица 8. Переходы токарной операции (4).
|
Номер перехода |
Содержание перехода |
|
А |
Установить деталь в центра с упором плавающего центра в правый торец. |
|
1 |
Обточить поверхность до 33,92, обточить поверхность до 42 согласно чертежу. |
|
2 |
Проточить канавку шириной 3, обточить фаску 1,5х45 о согласно чертежу. |
|
Б |
Снять деталь. |
На операциях 5,6,7,8 деталь проходит чистовую обработку и нарезается резьба внешних поверхностей.
Таблица 9. Переходы токарной операции (5).
|
Номер перехода |
Содержание перехода |
|
А |
Установить деталь в центра с упором плавающего центра в левый торец. |
|
1 |
Обточить поверхность до 31,9 согласно чертежу. |
|
Б |
Снять деталь. |
Таблица 10. Переходы токарной операции (6).
|
Номер перехода |
Содержание перехода |
|
А |
Установить деталь в центра с упором плавающего центра в левый торец. |
|
1 |
Нарезать резьбу М30х1,5-8q резцом согласно чертежу. |
|
Б |
Снять деталь. |
Таблица 11. Переходы токарной операции (7).
|
Номер перехода |
Содержание перехода |
|
А |
Установить деталь в центра с упором плавающего центра в правый торец. |
|
1 |
Обточить поверхность до 35 согласно чертежу. |
|
Б |
Снять деталь. |
Таблица 12. Переходы токарной операции (8).
|
Номер перехода |
Содержание перехода |
|
А |
Установить деталь в центра с упором плавающего центра в левый торец. |
|
1 |
Нарезать резьбу М34х1,5-8q резцом согласно чертежу. |
|
Б |
Снять деталь. |
Наконец переходим к осевым отверстиям и внутренним поверхностям (операции 9,10):
Таблица 13. Переходы токарно-револьверной операции (9).
|
Номер перехода |
Содержание перехода |
|
А |
Установить деталь в цанговый патрон с упором в левый торец. |
|
1 |
Сверлить отверстие 8 напроход. |
|
2 |
Расточить отверстие с 8 до 14,5 на глубину 30. |
|
3 |
Расточить канавку шириной 3 до 17, выдерживая 20. |
|
4 |
Расточить фаску 1,5х45 о. |
|
5 |
Нарезать резьбу М16х1,5-7Н лев. метчиком согласно чертежу. |
|
Б |
Снять деталь. |
Таблица 14. Переходы токарной операции (10).
|
Номер перехода |
Содержание перехода |
|
А |
Установить деталь в цанговый патрон с упором в правый торец. |
|
1 |
Расточить коническое отверстие с 31 до 8 под углом 65 о. |
|
Б |
Снять деталь. |
Требуется просверлить отверстия 4,2.
Таблица 15. Переходы сверлильной операции (11).
|
Номер перехода |
Содержание перехода |
|
А |
Установить деталь в кондуктор. |
|
1 |
Сверлить отверстие 4,2 сквозное согласно чертежу. |
|
Б |
Снять деталь. |
Необходимо фрезеровать пазы:
Таблица 16. Переходы фрезерной операции (12).
|
Номер перехода |
Содержание перехода |
|
А |
Установить деталь в цанговый патрон с упором в правый торец. |
|
1 |
Фрезеровать пазы шириной 6 в размер 35,5 согласно чертежу. |
|
Б |
Снять деталь. |
Затем требуется просверлить отверстия 4, 3, 5 на проход. Операции производятся с применением кондуктора, повышающего точность сверления.
Таблица 17. Переходы токарной операции (13).
|
Номер перехода |
Содержание перехода |
|
А |
Установить деталь в кондуктор. |
|
1 |
Сверлить отверстие 3 сквозное согласно чертежу. |
|
Б |
Переустановить деталь в кондукторе, повернув вокруг оси на 180 о. |
|
2 |
Сверлить отверстие 3 сквозное согласно чертежу. |
|
В |
Снять деталь. |
Таблица 18. Переходы сверлильной операции (14).
|
Номер перехода |
Содержание перехода |
|
А |
Установить деталь в кондуктор. |
|
1 |
Сверлить отверстие 5 сквозное согласно чертежу. |
|
Б |
Снять деталь. |
Таблица 19. Переходы сверлильной операции (15).
|
Номер перехода |
Содержание перехода |
|
А |
Установить деталь в кондуктор. |
|
1 |
Сверлить отверстие 3 сквозное согласно чертежу. |
|
Б |
Снять деталь. |
Последней операцией контролируется несоосность поверхностей М30 относительно 31,9. Для этого используется специальное приспособление.
Таблица20. Переходы контрольной операции (16).
|
Номер перехода |
Содержание перехода |
|
А |
Установить деталь в приспособление для измерения несосности. |
|
1 |
Вращая деталь на 360о , контролировать величину несоосности поверхностей М30 относительно 31,9. |
На этом разработку технологического процесса можно считать оконченной.
4.2 Расчет погрешностей базирования
При выборе технологических баз были приняты во внимание следующие принципы: принцип единства баз – когда конструкторская, технологическая и измерительная базы представляют одну и ту же поверхность детали, принцип постоянства баз – использование одной и той же технологической базы. Так же учтено то, что необработанные поверхности должны приниматься за базу только один раз на черновых операциях – черновые базы.
Приведенные условия по возможности были выполнены, однако есть такие операции, где их выполнение по различным причинам невозможно. В этом случае возникает погрешность базирования при изготовлении детали.
Погрешности обработки складываются из погрешности установки детали у , погрешности статической настройки системы СПИД – С.Н. и погрешности динамической настройки системы СПИД – Д.Н. . В свою очередь погрешность установки складывается из погрешности базирования и погрешности закрепления З.
Основной задачей при расчете точности является обеспечение допуска , заданного чертежом.
Оценка выбранного способа базирования заключается в определении фактической погрешности УФ при выбранной технологической базе и сравнении ее с допустимой погрешностью базирования, определяемой по неравенству (5.2.1) [1]
(5.2.1)
Очевидно, что
уф у. (5.2.2)
Рассчитаем погрешность базирования на токарную чистовую операцию (5)
Как видно из операционного эскиза на эту операцию (с.м. лист 2 приложения), технологическая база не совпадает с конструкторской базой для обрабатываемых поверхностей. Возникающие при обработке погрешности определяются допуском на размер, соединяющий конструкторскую и технологическую базы [1]:
10 = 152=0.1
25 = 152=0.1
Для оценки погрешности размера 35, составим размерную цепь [1]



152

А 10 25






А = АMAX-АMIN = 35,18 - 34,82 = 0,36 мм
где:
AMAX=10MAX + 25MAX =10,075 + 25,105=35,18 мм
AMIN=10MIN + 25MIN = 9,925+24,895=34,82 мм
Просчитаем допустимую погрешность базирования на размер 35 – А, 10 , 25:
=
=0.34
мм
=
=0.105
мм
=
=0.16
мм
Статические и динамические погрешности настройки станка взяты из таб. 11 (стр. 29) и таб. 24 (стр. 70) [3]
Как видим, неравенство (5.2.2) соблюдено. Допуск на размер 152 удовлетворяет условиям для получения точного размера 35 .
4.3 Определение припусков и межоперационных размеров
Заготовка, предназначенная для последующей механической обработки, изготовляется с припуском на размеры готовой детали, т.е. припуском на обработку. Припуском называется слой материала, удаляемый с поверхности заготовки в целях достижения заданных свойств обрабатываемой поверхности.
Минимальный симметричный припуск при обработке наружних и внутренних поверхностей вращения [1]
(5.3.1)
Минимальный симметричный припуск при обработке противолежащих плоских параллельных плоскостей у заготовок с одной установки определяется по выражению [1]
(5.3.2)
Минимальный асимметричный припуск [1]
(5.3.3)
где: Rzi-1 – высота микронеровностей поверхности по ГОСТ 2789-73, полученный на предшествующей операции.
Ti-1 – глубина дефектного поверхностного слоя, полученного на предшествующей операции.
i-1 – суммарное значение пространственных отклонений взаимосвязанных поверхностей, получившихся после выполнения предшествующей операции.
i – погрешность установки заготовки, возникающая на выполняемой операции.
Для установки в центрах формула примет вид :
(5.3.4)
Пространственные отклонения прутковых заготовок при обработке внешних поверхностей – изогнутость оси ко (кривизна) и погрешность зацентровки ц.
(5.3.5)
Общая кривизна заготовки определяется по формуле
ко = К L (5.3.6)
где К – удельная кривизна проката в мкм/мм, принимаемая из ГОСТ на сортамент. Из таб. 4 (стр. 180) [3] принимаем К=1.3 мкм/мм.
L – длина заготовки.
Рассчитаем припуск на один из точных поверхностей – диаметр 31,9-0.025 .
Общая кривизна заготовки
ко=1.3 х 152=197,6 мкм.
Так как обработка ведется в центрах, принимаем ц = 0,25 х 44 ,
где 44 – допуск на диаметр заготовки.
ц =0,25 х 700 = 175 мкм
Таким образом
=264 мкм.
После чернового обтачивания
ЧЕР=0.06 х ко=0.06 х 264=15,84 мкм.
После чистового обтачивания
ЧИС=0.04 х ЧЕР=0.04 х 15,84=0,64 мкм
Данные по качеству поверхности и точности после соответствующей обработки возьмем из таб. 5 (стр. 181) [3] и таб. 3.31 [7]. Расчет сведем в таблицу
Таблица 21. Таблица расчета припусков.
|
Наименование операции |
Rz |
T Мкм |
Квалитет |
Допуск мкм |
мкм |
2Zi min мкм |
|
Токарная черновая |
63 |
60 |
12 |
250 |
15,84 |
278 |
|
Токарная чистовая |
8 |
12 |
7 |
25 |
0,64 |
|
Отсюда определяем минимальный и максимальный диаметры для черновой обработки
DЧ min = D ЧИС + 2Zi =31,9+0,278=32,2 мм
DЧ max= DЧИС min+ЧИС= 32,2+0,25=32,5 мм
DЧ=32,5-0.3
Для остальных размеров величины припусков возьмем из справочных данных таб. 3.68 и 3.73 [4].
Таблица 22. Расчет межоперационных размеров поверхности 42.
-
Наименование операции
2Zi min
мкм
Допуск
мкм
Dmin
мм
D max
мм
DЧ
мм
Заготовительная
700
43,5
44,2
44 +0,2
-0,5
Токарная черновая
1500
100
41,9
42,0
Таблица 23. Расчет межоперационных размеров поверхности 35.
-
Наименование операции
2Zi min
мкм
Допуск
мкм
Dmin
мм
D max
мм
DЧ
мм
Токарная черновая
1500
300
35,6
35,3
35,6-0,3
Токарная чистовая
300
25
35,0
34,975
Таблица 24. Расчет межоперационных размеров размера 152.
-
Наименование операции
2Zi min
мкм
Допуск
Мкм
Dmin
мм
D max
мм
DЧ
мм
Заготовительная
1000
153,7
154,7
154 +0,7
-0,3
Токарная черновая
800
100
152,0
152,1
Таблица 25. Расчет межоперационных размеров размера М34
-
Наименование операции
2Zi min
мкм
Допуск
Мкм
Dmin
мм
DЧmax
мм
DЧ
мм
Токарная чистовая
170
33,75
33,92
Таблица 26. Расчет межоперационных размеров размера М30.
-
Наименование операции
2Zi min
мкм
Допуск
Мкм
Dmin
мм
DЧmax
мм
DЧ
мм
Токарная черновая
170
29,75
29,92
Таблица 27. Расчет межоперационных размеров размера М16.
-
Наименование операции
2Zi min
мкм
Допуск
Мкм
Dmin
мм
D max
мм
DЧ
мм
Токарная черновая
200
14,3
14,5
Рассчитанные величины межоперационных размеров проставляем на операционных зскизах.
4.4 Определение рациональных режимов резания и норм времени
Важным элементом настройки металлорежущих станков является установление рациональных режимов резания. В обычных условиях обработки режимы резания назначают исходя из задачи достижения высоко производительности при малых затратах на режущий инструмент. В случаях точной обработки заготовок, кроме требования высокой производительности и экономичности обработки выдвигается задача обеспечения требуемой точности.
При назначении элементов режимов резания учитывается характер обработки, тип и размеры инструмента, материал и состояние заготовки, тип и состояние оборудования.
В данной пояснительной записке проведем аналитический расчет режимов резания на токарную чистовую операцию (5). На две остальные (токарная чистовая (7) и сверлильная (11)) режимы определим из справочной литературы.
Аналитический расчет проводится по следующим формулам
Скорость резания (для точения)
(5.4.1)
Cvr – коэффициент, зависящий от условий работы и физико-механических свойств материала.
Т – стойкость инструмента, т.е. время нормальной работы (здесь берется значение 120мин.) [3]
t – глубина резания (обычно равняется величине припуска)
s – подача – выбирается из справочных данных максимально возможной, при которой обеспечивается заданная шероховатость обрабатываемой поверхности.
Kmv – коэффициент, зависящий от обрабатываемости материала.
Kuv - коэффициент, зависящий от инструментального материала.
Kпv – коэффициент, учитывающий влияние состояния поверхности на скорость резания.
Сила резания Pz
(5.4.2)
Коэффициенты Ki учитывают фактические условия резания (зависят от геометрии резца)
Эффективная мощность резания
(5.4.3)
Потребная мощность двигателя станка
(5.4.4)
- КПД станка (0.7-0.8)
Перед началом расчета укажем материал режущих инструментов для всех операций (Таблица 3.120 [4]) Стр 117
Таблица 28. Материал режущего инструмента.
|
Наименование операции |
Материал режущего инструмента |
|
Токарная чистовая (обтачивание) |
Т15К6 |
|
Сверлильная |
Т5К10 |
Выберем геометрию резца на рассчитываемой операции (Таб.19,20,23 стр. 189-192) – в зависимости от условий работы.
Таблица 29. Геометрические параметры режущего инструмента.
|
Наименование параметра |
Значение |
|
Задний угол , град. |
15 |
|
Передний угол , град. |
-15 |
|
Главный угол в плане , град. |
60 |
|
Вспомогательный угол в плане , град. |
10 |
|
Угол наклона главной режущей кромки , град. |
0 |
|
Радиус при вершине резца r, мм . |
1 |
|
Площадь закрепления в державке |
16х25 |
Теперь перейдем непосредственно к расчету режимов резания на токарную чистовую операцию.
Из справочных данных (Таб. 1,2,5, 6,9, 14,17,22, 23 стр 264-275 [3]) , рассчитанных припусков выбираем необходимые значения и по ним рассчитываем параметры режимов резания (по формулам (5.4.1) - (5.4.4).
Таблица 30. Расчет скорости резания.
|
Обрабатываемая поверхность |
Припуск t, мм |
Подача s, мм/об |
Kmv |
Kuv |
Kпv |
Cv |
x |
y |
m |
Скорость резания Vмм/мин. |
|
31,9 |
0, 3 |
0,2 |
0,7 |
0,8 |
0,9 |
420 |
0,15 |
0,20 |
0,20 |
134 |
Таблица 31. Расчет силы резания и потребной мощности станка (КПД станка 0.8).
|
Обрабатываемая поверхность |
Kmp |
Kp |
Kp |
Kp |
Krp |
Cp |
x |
y |
n |
Pz Н |
Nэфф КВт |
Nст КВт |
|
31,9 |
0,86 |
0,94 |
1,25 |
1 |
0,93 |
200 |
1 |
0,75 |
0 |
16,9 |
0,37 |
0,46 |
Как видно из таблицы, потребная мощность на операцию не превышает максимальной мощности станка (10 кВт).
Частота вращения детали
(5.4.5)
Выбранный станок 16К20 имеет следующие параметры:
Максимальная частота вращения шпинделя nmax=1600 об/мин
Минимальная частота вращения шпинделя nmin=12.5 об/мин.
Число ступеней частоты вращения шпинделя Zст=24.
Диапазон регулирования составит в этом случае
=nmax/ nmin=1600/12.5=128
По таблице 3.30 [7] находим ближайшее меньшее стандартное значение 101,72, что соответствует =1,26
Расчетный диапазон регулирования для расчетной частоты вращения шпинделя nРАСЧ.
(5.4.6)
Стандартная частота вращения шпинделя станка
(5.4.7)
Таблица 32. Расчет стандартной частоты вращения шпинделя.
|
Обрабатываемая поверхность |
nРАСЧ |
П расч |
П таб |
|
nСТ |
|
31.9 |
1337 |
101,72 |
101,72 |
1,26 |
1271 |
По паспортным данным на станок 16К20 частота вращения шпинделя на предпоследней ступени – 1250 об/мин. [14 стр.163]
Для станка 16К20
Количество ступеней подачи станка Zст.р=22
Максимальная подача sMIN=2,8 мм/об.
Минимальная подача sMAX=0,05 мм/об.
Расчетный диапазон регулирования подач станка
(5.4.8)
Подача станка
(5.4.9)
Таб.33. Расчет стандартной величины подачи.
-
Обрабатываемая поверхность
sРАСЧ
Прасч
Птаб
SСТ
31,9
0,2
4
4
1,26
0,2
По паспортным данным на станок 16К20 подача на один оборот шпинделя на девятой ступени – 0,2 мм/мин . [14 стр.163]
Определим правильность выбранных режимов резания путем проверки на жесткость.
Под действием силы резания – деталь прогибается. Вычислим прогиб детали. Деталь в станке имеет закрепление в центрах. Максимально возможный прогиб можно получить , если рассмотреть как консольное закрепление относительно большего расстояния до одного из центров , в нашем случае – это плавающий центр.
Формула для определения прогиба в этом случае имеет вид:
(5.4.10)
Здесь Py –сила резания в поперечном направлении, которая вызывает прогиб детали.
a– расстояние от плавающего центра до точки приложения силы.
b– расстояние от центра до точки приложения силы.
l- длина детали.
Е – модуль упругости при растяжении для стали.
J – момент инерции детали относительно оси, перпендикулярной оси детали и направлению приложения силы. ( Находится как сумма произведений элементарных площадок на квадрат расстояния до соответствующей оси).
Силу резания примем равной Pz (максимальное значение) – случай максимального затупления резца.
l= 0,152 м
Модуль Юнга Е = 2,1 х 1011 Па.
Чтобы упростить расчеты, момент инерции можно взять как минимальный через самую маленькую поперечную площадь. Относительно плавающего центра
(5.4.11)
где D=0,0319 м (обрабатываемая поверхность).
Результирующая величина прогиба составила f=0,0028 х 10-6 м. Т.е. величина прогиба в значительной степени меньше допуска на операцию (25 мкм=25 х 10-6 м), что означает правильность выбора режимов резания.
Для двух других операций – токарной чистовой (7) и сверлильной (11) режимы резания возьмем из табличных данных на основе требуемой точности и шероховатости (Таб. 14-20 (стр 268-272) [3].)
Таблица 34. Параметры режимов резания на токарную чистовую операцию (7).
|
Наименование перехода |
Величина подачи s, мм/об |
Скорость резания V, мм/мин |
|
Обработать 35 |
0,4 |
101 |
По паспортным данным на станок 16К20 частота вращения шпинделя на 18 - й ступени – 800 об/мин, подача на один оборот шпинделя на 13 - й ступени – 0,4 мм/мин. [14 Горбацевич стр.163]
Режимы резания берем исходя из аналогичных условий, из таблиц 25-27 (стр. 277-278) [3] и Таб. 23 (стр. 255) [2].
Таблица 35. Параметры режимов резания на сверлильную операцию (11).
|
Наименование перехода |
Величина подачи s, мм/об |
Скорость резания V, мм/мин |
|
Сверлить отверстие 4,2 |
0,15 |
22 |
По паспортным данным на станок 2М112 частота вращения шпинделя на последней ступени – 1600 об/мин, подача на один оборот шпинделя - 0,15 мм/мин. [14 стр.163]
Затем рассчитаем нормы времени на указанные операции.
Техническую норму времени определяют на основе технических возможностей технологической оснастки, режущего инструмента, станочного оборудования и правильной организации рабочего места. Норма времени является одним из основных факторов для оценки совершенства технологического процесса и выбора наиболее прогрессивного варианта обработки заготовки.
В серийном производстве общая норма времени (мин) на механическую обработку одной заготовки: [7]
Тшт=То+Тв+Тто+Топ (5.4.12)
Где То – технологическое (основное) время, мин.
Тв – вспомогательное время, мин
Тто – время на обслуживание рабочего времени, мин
Топ – время на отдых и естественные потребности, мин
Основное время То определяется в общем виде
(5.4.13)
где l1, l2 и l3 – соответственно – длина пути подвода, длина обработки по чертежу и длина пути врезания и перебега инструмента или детали, мм.
n, s – число об./мин, и подача мм/ход.
Вспомогательное время возьмем из справочных данных [14]. Данные сведем в таблицу
Таблица 36. Расчет вспомогательного времени.
|
Наименование операции |
Затраты времени, мин |
|
Токарная чистовая операция |
|
|
Вспомогательное время на контрольные измерения |
0,11 |
|
Вспомогательное время на установку, снятие и крепление детали |
0,07 |
|
Сверлильная операция |
|
|
Вспомогательное время на контрольные измерения |
0,11 |
|
Вспомогательное время на установку, снятие и крепление детали в кондукторе |
0,67 |
|
Вспомогательное время на установку и снятие кондуктора |
0,14 |
Расчет основного времени на операции сведем в таблицу.
Таблица 37. Расчет основного времени.
|
Наименование перехода |
l1 |
l2 |
l3 |
n |
S |
To |
|
|
Токарная чистовая (5) |
|||||||
|
Обточить поверхность 31,9 |
2 |
10 |
≈0 |
1250 |
0,2 |
0,048 |
|
|
Токарная чистовая (7) |
|||||||
|
Обточить поверхность 35 |
2 |
1,5 |
≈0 |
800 |
0,4 |
0,011 |
|
|
Сверлильная (12) |
|||||||
|
Сверлить отверстие 4,2 |
3 |
34 |
- |
1600 |
0,15 |
0,154 |
Тто и Топ берется в количестве 1,5% от оперативного и 3 % от основного времени соответственно для токарных, и 1% и 1% для сверлильной.
Таким образом, штучное время для каждой операции составило
Токарная чистовая операция (5) Тшт=0,24 мин.
Токарная чистовая операция (7) Тшт=0,20 мин.
Сверлильная (12) Тшт=1,074 мин.
Штучно - калькуляционное время :
Тш-к=Тпз/n+Тшт
где Тпз – подготовительно – заключительное время ( 9 мин. )[14]
n – количество деталей в настроечной партии (зададимся n=100).
Токарная чистовая операция (5) Тш-к=0,25 мин.
Токарная чистовая операция (7) Тш-к=0,21 мин.
Сверлильная (12) Тш-к=1,164 мин.
5. Расчет точности обработки
Технологическая система СПИД представляет собой упругую систему, деформации которой в процессе обработки обуславливают возникновение систематических и случайных погрешностей размеров и геометрической формы обрабатываемых заготовок. Вместе с тем эта технологическая система является замкнутой динамической, способной к возбуждению и поддержанию вибраций, порождающих погрешности формы обрабатываемых поверхностей и увеличивающих их шероховатость.
При механической обработке в условиях автоматического получения размеров, их погрешность является функцией погрешностей заготовки, статической настройки, упругих деформаций системы СПИД и т.д.
Оценить поле рассеивания погрешности выдерживания размера можно с помощью следующего выражения
( 6.1)
где
С =Сp Sy Vn Kmp (6.2)
Подставляя в формулу значения из пункта по расчету режимов резания, получаем
С=200х 0,20,75 х 1340=59,8 кг/мм
Куст, Кзаг, Кст, Кj – коэффициенты относительного рассеивания. Для распределения Гаусса принимаем их равными 1.
K{Азаг,Ауст} – корреляционный момент случайных величин Азаг и Ауст (принимаем равным 0,8).
Еуст – принимается равной погрешности базирования (100 мкм – см. расчет погрешности базирования)
заг – величина допуска на заготовку. Диаметр 31,9 обрабатывается после токарно-револьверной операции, допуск на которую составляет 300 мкм.
ст – погрешность статической настройки станка (из предыдущего пункта принимаем 4 мкм)
j – колебания радиальной жесткости. По таблице из [1] принимаем 300
j – радиальная жесткость. По таблице из [1] принимаем 1000 кг/мм.
tзад – глубина резания (берем из предыдущего пункта 0,3)
=0,056
=0,056
=0,944
=-0,000016
Подставляя эти данные в формулу (6.1), получаем
=21,8
мкм
Сравнивая полученную величину с допуском на размер 31,9 (25 мкм), видим, что необходимая точность при обработке диаметра 31,9 обеспечивается.
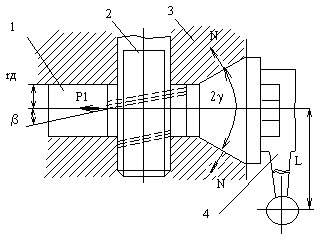
6. Описание конструкции приспособлений
Станочные приспособления расширяют технологические возможности металлорежущего оборудования, повышают производительность обработки заготовок, облегчают условия труда.
В задании к курсовому проекту было задано выбрать установочно-зажимное приспособление типа кондуктор для сверления двух отверстий диаметром 8 мм. Отверстия расположены друг против друга. Так же желательно, чтобы погрешность базирования была минимальна.
С учетом этих и некоторых других соображений, был спроектирован кондуктор.
В данном кондукторе применен замок конусного типа, который отличается достаточной надежностью и простотой конструкции. Силовое замыкание в таком замке осуществляется в результате сил трения, возникающих на конусной поверхности зубчатого валика1, затягиваемого в конусное отверстие корпуса 3 приспособления и приводящего в движение реечные скалки 2 с кондукторной плитой.
Для создания затягивающей силы, на оси валика при поворачивании его рукояткой 4, зубцы на валике и на рейке выполнены под углом Величина силы затягивания зависит от величины силы Р, приложенной к рукоятке, и от угла , а величина силы трения на сопряженных конусных поверхностях – от степени точности и шероховатости этих поверхностей. Угол , равный половине угла при вершине конусов, обычно не превышает 10о. Поэтому при сравнительно небольшой осевой силе на валике возникает большая сила трения на конических поверхностях, надежно удерживающей валик от проворачивания под действием силы W , возникающей на скалках при снятии силы Р с рукоятки и равной силе зажима обрабатываемой детали.

Рис.3. Схема конического замка.
Примечание. Количество зубьев и модуль валика выбраны таким образом, чтобы зажим происходил при повороте рукоятки на 35-40о.
Для того чтобы погрешность базирования равнялась нулю, базой примем торцевую поверхность диаметра 42. Ее упрем с помощью винтового зажима в край призмы, на которой лежит деталь.
Расчет зажимающего усилия конусного замка
Требуемое зажимающее усилие
(7.1)
где l – расстояние от оси колонки до зажима (l=33 мм)
l1 – длина направляющей части колонки (l1=60 мм)
f – 0.1 – коэффициент трения .
Q1 – фактическое осевое усилие на колонке кондуктора.
(7.2)
Qp – усилие, прикладываемое к рукоятке.
F – сила трения, противодействующая опусканию колонки.
(7.3)
- угол наклона зубьев колонки. (45о)
- угол трения на конусе (15о).
Рассчитаем зажимное усилие при следующих данных
Qp=140 Н, =8o.
Подставив все указанные величины в соответствующие формулы, окончательно получим
Q=151 Н.
Расчет точности сверления в кондукторе
Точность сверления в кондукторах обусловлена следующими основными факторами.
отклонением расстояния между центрами отверстий в кондукторной плите y.
Величиной зазора в посадочном отверстии сменной рабочей втулки Dвн-Dсм
Величиной зазора в направляющем отверстии втулки под сверло dвн-dсв.
Величиной зазора между направляющим пояском кондукторной плиты и базовым отверстием заготовки Dзг-Dк.
Эксцентриситетом рабочей втулки Ерб.
Глубиной сверления b.
Длиной направляющего отверстия рабочей втулки t.
Расстоянием между нижним торцом рабочей втулки и заготовкой h.
Расчет точности будем производить исходя из формулы

со следующими данными
Эксцентриситет рабочей втулки – 0.01 мм. [11]. Расстояние h – 1.5 мм. y’= 0.02
Dвн=16.2 мм. Dсм=16.1мм. dвн=8.1. dсв=8.0 мм.b=5 mm.
l=20 мм. F=0.8 . K=0.5 . m=0.4 . P=0.35 [11]
Lконд=8 мм.
Подставляя значения, получаем
0.0266yLизд 0.1677
Контрольно-измерительное приспособление
В соответствии и заданием и технологическим процессом, изготавливаемая деталь должна проверяться на несоосность поверхности резьбы – диаметр 16 относительно поверхности диаметра 31.9. Для этого было спроектировано приспособление. В корпусе бабки запрессована втулка – подшипник, в которой покоится шпиндель. Левый конец шпинделя имеет резьбу, которая по приведенному среднему диаметру равна или несколько меньше приведенного среднего диаметра соответствующего проходного калибра закрепляемой резьбы. Внутри шпинделя проходит шток, на котором закреплена резьбовая втулка, нарезанная с одной установки с резьбой на шпинделе и соединяющаяся с ней выступами кулачковой муфты.
На правом конце шпинделя находится маховичок, сидящий на шпонке и зажатый гайкой и контргайкой. На правом конце штока нарезана резьба и накручена фасонная гайка.
Перед надеванием изделия фасонная гайка отворачивается, вследствие чего резьба изделия свободно навинтится на резьбу шпинделя и втулки. Для закрепления резьбового изделия необходимо навинтить фасонную гайку на резьбовой конец штока, благодаря чему резьбы сближаются, сто равносильно изменению шага резьбы приспособления. Контролируемая деталь центрируется по резьбе и закрепляется. Для контроля необходимо повернуть маховик на 360о. Во время контроля производится непрерывный съем показаний с индикатора. При этом фиксируются наибольшее и наименьшее отклонения. Половина их разности и составляет величину несоосности([15])
Точность такого приспособления будет складываться геометрически из погрешности микрометра, погрешности изготовления резьбы и погрешности подшипника.
Предельная погрешность микрометра мк=0.004 ([6])
Погрешность резьбового соединения р=0.004. ([10])
Погрешность подшипника п =0.004 ([10])
Таким образом, погрешность измерения составит =0.007.
Данная погрешность удовлетворяет необходимым требованиям.
Заключение
Проведенная работа по проектированию технологического процесса изготовления детали заглушка показывает, что это достаточно трудоемкий процесс, требующий обстоятельного и глубокого изучения всех его касающихся деталей. Вместе с тем, этот процесс носит большей частью теоретический характер и требует его применения на настоящем производстве для окончательной доработки и отшлифовки. Тем не менее, в такой отрасли, как «Приборостроение» необходимо предварительное проектирование для достижения приемлемой степени точности. Поэтому данный курсовой проект имеет крайне важное значение в плане получения навыков проектирования техпроцессов.
Перечень использованной литературы
Технология приборостроения. Методические указания к курсовому проекту. Саратов. 1984.
Справочник металлиста под ред. А.Н. Малова. Т1-5. М. Машиностроение. 1977
Справочник технолога-машиностроителя. В 2-х томах. Под ред. А.Г. Косиловой и Р.К. Мещерякова. – М.: Машиностроение, 1985. 656 с.
Балабанов А.Н. Краткий справочник технолога-машиностроителя. –М.: Изд-во стандартов, 1992. –464 с.
Маталин А.А. Технология машиностроения. – Л.: Машиностроение. Ленингр. Отд-ние, 1985. –496 с.
Справочник технолога-приборостроителя: в 2-х т. 2-е изд. Перераб. И доп. / Под ред. П.В. Сыроватченко.-М.: Машиностроение, 1980.
Добрыднев И.С. Курсовое проектирование по предмету «Технология машиностроения» –М.: Машиностроение, 1985. 184с.
Ковшов А.Н. Технология машиностроения .-М.: Машиностроение, 1987.-320с.
Гаврилов А.Н. Основы технологии приборостроения. М., «Высшая школа». 1976. 328 с.
Гжиров Р.И. Краткий справочник конструктора: Справочник –Л: Машиностроение, Ленингр. Отд-ние, 1984. –464 с.
Горошкин А.К. Приспособления для металлорежущих станков: Справочник. – 7-е изд., перераб. И доп. – М.: Машиностроение.: 1979. –303 с.
Болотин Х.Л., Костромин Ф.П. Станочные приспособления. Изд. 5-у переработ. и доп. М., «Машиностроение», 1973, 344 с.
Толченов Т.Н. Техническое нормирование станочных и слесарно-сборочных работ. М., Машгиз. 1956.
Горбацевич А.Ф. Курсовое проектирование по технологии машиностроения. Минск., Высшая школа. 1983
Пискорский Г.А., Рабинович А.Н. Приборы для контроля цилиндрических резьб. М., Машгиз. 1960