Расчет гидравлического привода технологического оборудования
КУРСОВАЯ РАБОТА
по гидроприводу
Расчетно-пояснительная записка
В данной курсовой работе выполняется типовой расчет гидравлического привода технологического оборудования.
ПРИВОД, ГИДРОЦИЛИНДР, ПОТЕРИ, РАСХОД, ДАВЛЕНИЕ, СКОРОСТЬ, НАСОС ПЕРЕМЕННОЙ ПРОИЗВОДИТЕЛЬНОСТИ, РЕВЕРС.
Курсовой работа состоит из расчетно-пояснительной записки и графической части (приложение 1).
Расчетно-пояснительной записка состоит из 24 листа, 1 таблицы, 2 рисунков, 3 приложений.
Типовые циклы работы гидроприводов технологического оборудования:
Вариант №1: 1-5-8-5-8-…-1
Наименования элементов цикла Вариант №1:
1—исходное положение «Стоп»;
5—рабочая подача;
8—реверс;
1—исходное положение «Стоп».
Рекомендуемый набор элементов гидропривода:
Вариант №1: 2,8(В),13,14,26,38,38,39,40.
Исходные данные для расчета гидропривода:
|
Нагрузка на рабочем органе машины R, Н |
Максимальная рабочая подача V, м/с |
Диаметр поршня гидроцилиндра D, м |
Диаметр штока d, м |
Максимально допустимая температура масла в баке tM, 0С |
|
25000 |
0.06 |
0,125 |
0,05 |
45 |
Содержание
Введение
1. Выбор рабочей жидкости
2. Определение потерь давления на участках гидросистемы
3. Определение максимального давления жидкости на выходе из насоса
4. Определение минимально необходимой производительности насоса
5. Выбор приводного электродвигателя насосной станции
6. Тепловой расчет гидросистемы
7. Выбор фильтров
Список используемой литературы
Приложение 1 (перечень элементов принципиальной гидросхемы)
Приложение 2 (переключения управляющих электромагнитов)
Введение
Типовое проектирование выполняется с целью создания гидроприводов и систем гидроавтоматики из нормализованной аппаратуры. При этом обычно ограничиваются стадией эскизного проектирования, который, в частности, включает в себя: разработку принципиальной схемы и схемы соединений привода; предварительный расчет основных параметров гидропривода; предварительный выбор нормализованной аппаратуры и устройств гидропривода; выбор рабочей жидкости; расчет и выбор гидролиний; определение потерь давления на участках гидросистемы; определение максимального давления жидкости на выходе из насоса; определение производительности насоса; выбор электродвигателя привода насоса; тепловой расчет гидросистемы; проверочный расчет гидропривода.
Перечень параметров, подлежащих расчету, и необходимая точность их определения устанавливаются конкретно для каждой проектируемой гидросистемы. В последнее время разработка станочных гидроприводов все чаще выполняется с применением систем автоматизированного проектирования, обеспечивающих не только определение, но и оптимизацию параметров привода.
1.Выбор рабочей жидкости
В гидравлических системах рабочая жидкость выполняет несколько функций. Онa служит дня передачи энергии от насоса к потребителю (двигателю), смазки поверхностей трения внутри гидравлических устройств, предотвращения коррозии и, в результате непрерывной циркуляции, в значительной степени способствует отводу тепла от источников его выделения.
В качестве рабочих жидкостей в промышленных гидроприводах преимущественно используют минеральные масла на нефтяной основе.
Основным параметром, по которому производится выбор рабочей жидкости для проектируемой гидросистемы, является вязкость. Выбор оптимальной вязкости масла представляет известные трудности, так как при этом приходится учитывать противоречивые требования. При недостаточной вязкости жидкости не удерживается на нагруженных несущих поверхностях гидромашин и устройств, в результате чего может возникнуть их преждевременный износ. Кроме того, малая вязкость жидкости способствует увеличению внутренних утечек в системе и ускорению окисления масла. При слишком большой вязкости рабочей жидкости увеличивается мощность, необходимая на преодоление трения, ухудшается всасывающая способность насосов, возможно нарушение теплового режима работы системы и возникновение кавитации, ухудшается фильтрация.
В промышленных гидроприводах эксплуатируют масла с кинематической вязкостью (10–60)∙10-6 м2/с в диапазоне температур (30–60) 0С. Рекомендуется при рабочем давлении жидкости р≤6,3 МПа. При этом ориентировочное значения р определяется по зависимости (1) [2]:

Исходя из выше сказанного выбираем по [3] масло марки ИГП–18. кинематическая вязкость при температуре 50 0С υ=(16,5-20,5) м2/с; плотностью ρ=880 кг/м3.
2.Определение потерь давления на участках гидросистемы
Потери давления делятся на два вида: потери давленая по длине, возникающие преимущественно на прямолинейных участках гидролиний в обусловленные действием сил гидравлического трения, и потери на местных сопротивлениях, причиной которых является деформация потока жидкости при прохождении через аппараты, устройства и соединительную арматуру. Потери давления зависят, при прочих равных условиях, от режимов движения жидкости, а также от размеров и шероховатости внутренних поверхностей трубопроводов. Наибольшее влияние на величину потерь давления оказывает скорость течения жидкости.
Максимальную скорость течения жидкости в гидролиниях ограничивают величиной 10-15 м/с. Превышение указанных пределов приводит к существенному увеличению потерь давления и может вызвать образование местных зон пониженного давления (кавитации). Необоснованное занижение скорости течения жидкости приводит к увеличению диаметров трубопроводов и, следовательно, в увеличения массы и габаритов всего привода.
При типовых расчетах рекомендуется скорость масла выбирать в следующих пределах: для всасывающих гидролиний, по который масло. движется к насосу V>M> = 0,5-1,5 м/с;
для нагнетательных (напорных) гидролиний, соединяющих насос с гидродвигателем в зависимости от рабочего давления при р≤2,5 МПа скорость V>M> ≤3 м/с.
для сливных гидролиний, по которым отработанная жидкость возвращается в бак V>M> =1–2 м/с.
для местных сопротивлений, имеющихся на соответствующем участке гидросистемы, скорость течения масла при расчетах увеличивается на 30–50% по сравнению со скоростью в прямолинейных гидролиниях.
Максимальный расход масла ориентировочно определяется исходя из заданных скоростных характеристик привода и геометрических параметров двигателей:
для системы с гидроцилиндром по формуле (4) [2]:

Внутренний диаметр трубопровода может быть найден из условия неразрывности потока жидкости по формуле (6) [2]:

где Q–максимально возможный расход масла на данном участке гидросистемы;
F–площадь проходного сечения;
d- внутренний диаметр трубопровода.
Значения диаметров всасывающего, напорного и сливного трубопроводов необходимо округлить до ближайшего значения из нормального ряда
Внутренние диаметры трубопроводов:
-для всасывающей гидролинии

-для нагнетательной гидролинии

-для сливной гидролинии

Из таблицы 2 [2] выбираем больший диаметр на различных участках гидросистемы:
-для всасывающей гидролинии d=0.025 м
-для нагнетательной гидролинии d=0.02 м
-для сливной гидролинии d=0.02 м
Действительные максимальные
скорости на различных участках
гидросистемы по формуле (7) [2]:

-для всасывающей гидролинии

-для нагнетательной гидролинии

-для сливной гидролинии

Наибольшее влияние на технические параметры привода потери давления оказывают при обеспечении рабочей подачи, когда преодолевается максимальная нагрузка. Именно для этого элемента цикла и выполняется дальнейший расчет.
Режим течения на отдельных
участках гидросистемы определяется
безразмерным числом Рейнольдса
Re.Для
трубопроводов круглого сечения
определяется по формуле (8) [2]:

где V>M>– скорость течения масла на рассматриваемом участке гидросистемы при обеспечении рабочей подачи выходного звена привода
d– номинальный внутренний диаметр трубопровода рассматриваемого участка гидросистемы;
υ– кинематическая вязкость жидкости.
-для всасывающей гидролинии

-для нагнетательной гидролинии

-для сливной гидролинии

Различают два режима течения жидкости: ламинарный, при котором частицы жидкости движутся параллельно стенкам трубопровода, и турбулентный, когда движение частиц приобретает беспорядочный характер. Переход от ламинарного режима к турбулентному происходит при определенных условиях, характеризуемых критическим числом Рейнольдса Re>кр>: поток ламинарный если, Re>кр>>Re, поток турбулентный, если Re>кр><Re. Для круглых гладких труб Re>кр>=2300.
Предпочтительным является ламинарный режим течения жидкости, при котором потери давления минимальны. Следует избегать режимов близких к Re>кр>, так как при длительной работе оборудования может возникнуть пульсация давления, нарушение стабильности расходов на отдельных участках системы, повышенный нагрев жидкости и другие нежелательные явления.
Так как
<Re>кр>=2300,
следовательно жидкость течет в ламинарном
режиме.
Потери по длине в трубах круглого сечения как при ламинарном, так и при турбулентном режимах течения масла определяют по общей формуле (9) [2]:

где λ– коэффициент гидравлического трения;
l и d– длина и диаметр трубопровода рассматриваемого участка гидросистемы;
V>M>– скорость течения масла на рассматриваемом участке гидросистемы при ее работе в режиме рабочей подачи;
ρ– плотность масла.
Длины участков трубопроводов определяются в каждом конкретном случае исходя из габаритов проектируемого технического оборудования, места расположения насосной станции и рабочих органов машины, способов монтажа гидрооборудования и других условий. Для технологического оборудования малых и средних типоразмеров можно принять длины участков в следующих пределах: всасывающий трубопровод- до 1 метра, напорный и сливной до 5 метров.
Для ламинарного режима движения
жидкости коэффициент гидравлического
трения может быть определен по следующей
зависимости:

где k=75 – для жестких трубопроводов.
Потери давления по длине в трубопроводах:
-для всасывающей гидролинии

-для нагнетательной гидролинии

-для сливной гидролинии
Потери
давления в различных местных сопротивлениях
на участке гидросистемы определяют по
формуле
где V>M>– скорость масла в местных сопротивлениях рассматриваемого участка системы;
ξ– коэффициенты сопротивления для ряда последовательно расположенных местных сопротивлений.
Виды и количество местных сопротивлений определяются по принципиальной гидравлической схеме привода, при этом учитывается влияние только тех сопротивлений, через которые поток жидкости проходит при обеспечении рабочей подачи подвижного органа машины.
Коэффициенты ξ для конкретных местных сопротивлений определяются обычно экспериментально и их значения можно найти в справочниках.
Потери давления в различных местных сопротивлениях:
-для всасывающей гидролинии

-для нагнетательной гидролинии

-для сливной гидролинии

Потери давления в гидроаппаратуре:
Фильтр всасывания:

Фильтр сливной:

Гидроклапан давления с обратным
клапаном:

Распределитель:

Суммарные потери при движении жидкости по участку гидросистемы складываются из потерь давления по длине гидролинии и потерь на местных сопротивлениях:
и определяются отдельно для всасывающей, напорной и сливной линий проектируемой гидросистемы.
-для всасывающей гидролинии

-для нагнетательной гидролинии

-для сливной гидролинии

Опыт проектирования показывает, что в общем, объеме потери на местных сопротивлениях являются преобладающими. Это объясняется стремлением к наибольшей компактности промышленных гидроприводов и вследствие этого широким использованием аппаратуры стыкового исполнения и модульного монтажа, не требующих протяженных соединительных гидролиний.
3. Определение максимального давления жидкости на выходе из насоса
Давление в напорной полости гидроцилиндра, определяется из уравнения равенства сил на поршне по формуле (14) [2:
Максимальное давление жидкости на выходе из насоса должно обеспечить необходимое для преодоления максимальной нагрузки на рабочем органе станка давление Р>1> в напорной полости гидродвигателя и скомпенсировать суммарные потери давления ΣΔр в напорной гидролинии, которое определяется по формуле (16) [2]:
4. Определение минимально необходимой производительности насоса
В системах с дроссельным способом регулирования скорости двигателей производительность насоса, а следовательно, и мощность, потребляемая им, постоянны. Характерным для этого способа является превышение производительности насоса над максимально необходимым расходом масла через гидродвигатель. При таком условии избыточная часть жидкости отводится от насоса через предохранительный клапан в бак. Минимальная величина расхода Q>кл> жидкости через клапан принимается в пределах (5-8)∙10-5 м/с.
При работе насоса, с ростом давления Р>н>, его производительность Q>н> убывает в связи с увеличением внутренних утечек через зазоры в сопряжениях трущихся пар насоса. Уменьшение Q>н> с ростом давления характеризуется объемным КПД η>он>, который для наиболее распространенных в промышленных гидроприводах пластинчатых нерегулируемых насосов равен 0,8–0,9.
Расход жидкости, создаваемый
насосов в напорной гидролинии системы,
на своем пути к гидродвигателю уменьшается
в следствие утечек в аппаратах
:





Суммарные утечки в аппаратах:

При объемном способе регулирования необходимая производительность насоса может быть определена по формуле (20) [2]:
где Q>max>–расход жидкости через двигатель, необходимый для обеспечения максимальной заданной скорости рабочего органа машины,
η>он>=0,85–объемный КПД насоса,
η>од>=0,95–объемный КПД гидродвигателя.
Выбор конкретной модели насоса производится по справочной литературе [3]. Определяющими параметрами при выборе насоса являются минимально необходима производительность и максимальное давление жидкости на выходе из насоса. Выбираем насос марки Г12–54АМ, его характеристики даны в таблице 1.
Таблица 1
|
Рабочий объем, см3 |
Номинальный подача, л/мин |
Давление на выходе из насоса, МПа |
Мощность номинальная, кВт |
Номинальная частота вращения, мин-1 |
КПД |
|
45 |
58 |
6,3 |
8,1 |
1500 |
0,74 |
5. Выбор приводного электродвигателя насосной станции
В промышленных гидросистемах в качестве приводных двигателей для насосов обычно используют трехфазные асинхронные электродвигатели серии 4А [1].
Электродвигатель для продолжительного режима работы следует выбирать по номинальному режиму, определяемому подачей насоса при максимальном давлении нагнетания насоса, что соответствует элементу «Рабочая подача» цикла.
Необходимую мощность электродвигателя определяют по формуле (21) [2]:
где η>Н> и η>э> – соответственно КПД насоса и электродвигателя, причем КПД электродвигателя для данного расчета можно ориентировочно принимать в пределах 0,8-0,9;
к– коэффициент запаса, обычно 1–1,1.
По вычисленному значению N>э>
выбираем ближайший больший по мощности
стандартный электродвигатель марки
,
у которого мощность N=11кВт
и частота вращения n=1500
об/мин. При этом номинальная частота
вращения вала электродвигателя должна
соответствовать номинальной частоте
вращения ротора выбранного насоса.
Работа рассматриваемой принципиальной гидросхемы на различных переходах цикла может быть описана следующими уравнениями гидравлических цепей
Исходное положение «стоп»: Б-Ф1-Н-КП-Б
Рабочая подача: Б-Ф1-Н-М-Р1(I)-КД-Ц-Р1(I)-Ф2-Б
Реверс: Р1(I)→ Р1(II)
Рабочая подача: Б-Ф1-Н-М-Р1(II)-Ц-КД-Р1(I)-Ф2-Б
Реверс: Р1(II)→ Р1(I)
6. Тепловой расчет гидросистемы
В процессе работы станка часть мощности приводного электродвигателя в конечном итоге затрачивается на перемещение рабочих органов и преодоление полезной нагрузки, а остальная мощность расходуется на преодоление различного рода сопротивлений в гидроприводе и механизмах машин, и превращается в теплоту, поглощаемую преимущественно маслом, что вызывает его нагрев и нежелательное уменьшение вязкости.
Потери мощности в гидроприводе, являющиеся причиной разогрева масла, могут быть определены по формуле (22) [2]:
где η>с>=0,7– КПД гидросистемы.
Ограничение нагрева масла в гидроприводе может быть достигнуто: рациональным построением гидросхем машин, предусматривающим выбор насосов минимально необходимой производительности с обеспечением их разгрузки на бак при перерывах в работе гидропривода; выбором достаточных объемов масла в гидробаках; введением принудительного охлаждения гидробаков с помощью теплообменников.
С некоторыми допущениями считают, что полученная маслом теплота отдается в окружающую среду через поверхности масляного бака, тогда необходимая площадь поверхности бака определяется по формуле (23) [2]:
где
–коэффициент
теплопередачи от стенок бака окружающему
воздуху;
Δt=30 Сº–превышение установившейся температуры масла в баке над температурой окружающей среды.
Для улучшения теплопередачи рекомендуется выполнять наружные стенки бака с ребрами, значительно увеличивающими площадь F.
Необходимый для поддержания устойчивого теплового баланса объем V масла в баке определяется по формуле (25) [2]:
где k=6,9– коэффициент, зависящий от отношения сторон гидробака.
При проектировании промышленных гидроприводов рекомендуется объем V масла в баке ориентировочно определять из условия обеспечения 2-3-минутного расхода насоса по формуле (26) [2]:
Принимаем объем бака V=180 л.
принимаем размеры бака 1,5х0,5х1 м.
7. Выбор фильтров
При соблюдении необходимых требований к чистоте гидросистемы удается повысить надежность гидроприводов и уменьшить эксплуатационные расходы в среднем на 50%. Повышение тонкости фильтрации рабочей жидкости в гидросистеме с 25 до 5 мкм увеличивает ресурс насосов в 10 раз и гидроаппаратуры — в 5— 7 раз. Однако фильтрация (или другие средства очистки) обеспечивает наибольший эффект лишь при комплексном соблюдении требований по типам применяемых масел, правилам их хранения и транспортирования, качеству очистки и герметизации гидросистем, регламента их эксплуатации.
Решение о замене масла должно приниматься на основе анализа его физико-механических характеристик и степени загрязненности механическими примесями. В соответствии с регламентами обслуживания анализ масла рекомендуется проводить через каждые 720—960 ч работы оборудования. Для предварительной оценки может применяться метод, при котором на белую бумагу с хорошим влагопоглощением наносится несколько капель масла из работающего гидропривода. При свежем масле образуется светлое желтое пятно, а по мере загрязнения масла цвет пятна становится более темным, причем па бумаге хорошо видны частицы грязи.
В зависимости от условий эксплуатации и качества масла его долговечность колеблется в пределах 0,5—20 тыс. ч|. Перегрев масла сверх 60 СС и присутствие влаги активизируют окислительные процессы, в результате которых выделяются смолы и лаки, вызывающие засорение малых отверстий и залипание подвижных частей гидроагрегатов. Отработанное масло может использоваться повторно, если после регенерации количество влаги и механических примесей находится в пределах, допустимых для свежего масла, изменение вязкости при 50 С не превышает -+2,4 мм2/с, кислотного числа - +10 % и зольности -+0,01%.
Фильтры обеспечивают в процессе эксплуатации гидропривода необходимую чистоту масла, работая в режимах полнопоточной фильтрации во всасывающей, напорной или сливной линиях гидросистемы.
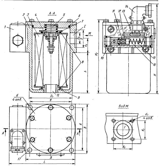
Фильтры приемные
типа ФВСМ имеют корпус 1, в котором
установлен сетчатый фильтрующий элемент
2 с
перепускным клапаном 3.
Вблизи от
входного отверстия расположены магнитные
уловители 8.
В корпусе
индикаторного устройства установлена
подпружиненная мембрана 4,
связанная
со штоком 6.
Последний
взаимодействует с подпружиненным
плунжером 5,
в котором
установлен магнит 9,
воздействующий
на магнитоуправляемые контакты (герконы)
10. Полость
над мембраной соединена с атмосферой,
а полость под мембраной — через канал
7 с выходным отверстием 11 фильтра. По
мере увеличения загрязненности
фильтроэлемента возрастает разрежение
в отверстии 11, в результате чего мембрана
4 вместе
со штоком 6
атмосферным
давлением смещается вправо. При этом
шток освобождает плунжер 5,
который
пружиной смещается на одну ступеньку
вниз. Одновременно магнит 9
воздействует
на геркон 10,
выдающий
электрический сигнал о первой стадии
загрязнения фильтроэлемента. Если
фильтроэлемент не очищен и продолжает
загрязняться, освобождается вторая
ступенька плунжера 5, и в систему
управления выдается аварийный сигнал
(вторым герконом). Одновременно открывается
перепускной клапан 3.
О степени
загрязненности фильтроэлемента можно
судить и визуально по положению выходящего
наружу конца плунжера 5. Для очистки
фильтроэлемент промывается в керосине
и продувается сжатым воздухом; необходимо
также очистить уловители 8.
После
сборки плунжер 5
следует
вручную поднять в крайнее верхнее
положение. Выбираем фильтр марки
.

Рис. 1 Конструкция фильтров типа ФВСМ
Сливные фильтры позволяют обеспечить тонкую фильтрацию рабочей жидкости; они достаточно компактны, могут встраиваться в баки, однако в ряде случаев создают нежелательное повышение давления подпора в сливной линии. При применении сливных фильтров возрастают требования к герметичности баков. Хорошее качество фильтрации может быть достигнуто при сочетании приемного (80 или 160 мкм) и сливного (10 или 25 мкм) фильтров.
Выбираем фильтр
марки
.
Фильтры сливные типа ФС устанавливаются в расточке крышки гидробака и крепятся четырьмя болтами. В корпусе 2 фильтра, закрытом крышкой 6, установлен фильтроэлемент 3, который пружиной 5 поджимается к седлам 7 и 9 через уплотнительные кольца 8. На седле 7 смонтирован перепускной клапан 4. В корпусе / установлено индикаторное устройство, содержащее нагруженный усилием пружины 15 плунжер 12 с вмонтированным в него магнитом 11, геркон 13 и штепсельный разъем 14. Полость 10 соединена с внутренней полостью / фильтра, а полость 16 — с атмосферой через отверстие 17, поэтому по мере загрязнения фильтроэлемента возрастает усилие, стремящееся сдвинуть плунжер 12 вправо. Когда степень загрязненности фильтроэлемента достигает предельного уровня, плунжер 12 резко смещается вправо, так как после его отхода от конусного седла значительно увеличивается площадь торцовой поверхности, на которую действует входное давление. Одновременно в результате взаимодействия магнита // с герконом 13 в систему управления выдается сигнал о необходимости замены фильтроэлемента. Если нижний торец выходного отверстия // фильтра располагается выше уровня масла в резервуаре, в это отверстие устанавливается сливной трубопровод.

Рис.2 Конструкция сливных фильтров типа ФС Приложение 1
Список используемой литературы
Анурьев В.И. Справочник конструктора-машиностроителя: В3-х т. 5-е изд., перераб. и доп.- М.: Машиностроение, 1978.- Т. 3.- 557 с.
Гидравлические приводы технологического оборудования машиностроительных производств. Методические указания к расчетно-графической курсовой работе. Симанин Н.А. –Пенз. политехн. ин-т, 1992.
Свешников В.К., Усов А.А. Станочные гидроприводы: Справочник.- М.: Машиностроение, 1988.-512 с.
Симанин Н.А. Основы расчета и проектирования станочных гидроприводов и систем цикловой гидроавтоматики: Учеб. Пособие. –Пенз. политехн. ин-т, 1992.-88с.
Приложение 1
Перечень элементов принципиальной гидросхемы
-
Позиционное обозначение
Наименование
Количество
Примеча ние
Б
Гидробак
1
V=180 дм3
Р1
Гидрораспределитель ВЕ16.574Д.41/.В220-50 ГОСТ 24679-81
1
МН
Манометр МПТ-100/1-ВУ-100-2,5 ГОСТ 8625-77
1
Ф1
Фильтр напорный
ТУ2-053-1529-80Е1
Ф2
Фильтр сливной
ТУ2-053-1641-83Е1
КД
Клапан давления с обратным клапаном ПБГ 66-34М-УХЛ4 ТУ2-053-1627-83Е
1
КП
Клапан предохранительный 20-10-1-132 ТУ2-053-1748-85
1
Н
Насос Г12-54АМ ГОСТ 13167-82
1
ЭД
Двигатель трехфазный асинхронный короткозамкнутый 4А132S4УЗ ГОСТ 19523-74
1
Приложение 2
Переключения управляющих электромагнитов
-
Элементы цикла работы гидропривода
ЭМ1
ЭМ2
ЭМ3
Исходное положение «Стоп»
+
–
–
Рабочая подача
+
–
+
Реверс
–
+
+
Рабочая подача
–
+
+
Реверс
+
–
+