Расчет двухкорпусной вакуум-выпарной установки с термокомпрессором для изготовления сгущенного молока с разработкой выпарного аппарата
БРЯНСКАЯ ГОСУДАРСВЕННАЯ СЕЛЬСКОХОЗЯЙСТВЕННАЯ АКАДЕМИЯ
Инженерно-технологический факультет
Кафедра технологического оборудования в животноводстве и перерабатывающих производств
КУРСОВАЯ РАБОТА
по дисциплине: «Процессы и аппараты пищевых производств»
на тему: «Расчет двухкорпусной вакуум-выпарной установки с термокомпрессором для изготовления сгущенного молока с разработкой выпарного аппарата»
Выполнил:
студент группы
Проверил:
доцент
Брянск – 2008
Содержание
Введение
Основы теории выпаривания
Особенности процессов многократного выпаривания
Технологическая схема производства сгущенного молока
Расчет двухкорпусной вакуум-выпарной установки
Список используемой литературы
Введение
Производство молочных консервов в России непрерывно растет. Стойкие и транспортабельные, они дают возможность потреблять молоко в тех регионах, в которых отсутствует молочное скотоводство. Для туристов и экипажей кораблей эти продукты просто незаменимы. Все более широкое применение они находят в домашнем применении. В дальнейшем потребление молочных консервов будет увеличиваться, так как расширяется их ассортимент.
За 2007 г. производство молочных консервов в целом по России выросло на 7,1% по сравнению с предыдущим 2006 г. и составило 581,0 туб [1]. Можно выделить округа, где произошло увеличение выработки молочных консервов по отношению к прошлому году: Центральный – объем производства вырос на 12%; Южный – на 31%; Сибирский – на 2%. Однако на фоне общего роста производства молочных консервов существуют округа, где объем их выпуска за данный период снизился. К ним относятся: Северо-Западный, Приволжский, Уральский.
В табл. 1 представлено соотношение объемов производства молочных консервов за 2007 г. по отношению к предыдущему году в разрезе федеральных округов.
Таблица 1.1. Производство молочных консервов за 2006, 2007 гг.
|
Федеральный округ |
Производство молочных консервов, туб |
Изменение, % |
|
|
2007г |
2006г |
||
|
Россия (всего) |
581,0 |
542,4 |
107,1 |
|
Центральный |
343,9 |
307,0 |
112,0 |
|
Северо-Западный |
23,1 |
28,7 |
80,5 |
|
Южный |
42,6 |
35,3 |
131,0 |
|
Приволжский |
19,9 |
23,3 |
85,5 |
|
Уральский |
71,8 |
73,5 |
97,7 |
|
Уральский |
76,1 |
74,6 |
102,0 |
Анализ данных устанавливает, что на долю Центрального, Сибирского и Уральского федеральных округов приходится 84,5% от общероссийского производства молочных консервов. Долгое время многие специалисты считали данный рынок недостаточно перспективным, т.к. по оценкам некоторых экспертов, значительная доля (до 40%) приходилась на заказ со стороны силовых структур государства. На сегодняшний день к одним из основных потребителей сгущенного молока относят различных производителей других пищевых продуктов. Его используют в кондитерской промышленности для производства ириса, молочных (типа «Коровки»), сбивных, помадных и ликёрных конфет, ассорти, начинок для конфет; в производстве мороженого; в хлебопекарной промышленности – для производства тортов, пирожных, рулетов, кремов. Что же касается непосредственно населения, то по данным исследования, проверенного компанией «Эрконпродукт», сгущённое молоко как особый вид сладкого продукта потребляют около 45% россиян с периодичностью от одного до нескольких раз в месяц в зависимости от исследуемой местности.
Средняя российская цена на сгущённое молоко за банку массой 400 г в 2006г. колебалась в пределах 12 – 17 руб. (по данным системы ММЦ).
По оценкам различных экспертов 50 – 70% рынка сгущённого молока заняты консервами, изготовленными не по ГОСТу, а в соответствии с ТУ – с добавлением в продукт растительных жиров. Основных причин в производстве сгущённого молока с растительными жирами две: Первая – недостаток молочного сырья. Другая существенная причина – использование растительных ингредиентов ведёт к снижению себестоимости, что составляет по оценкам экспертов, не менее 35 – 40% [3].Резкое ухудшение экологической обстановки во всём мире, связанное с техническим прогрессом, а также недостаток или избыток отдельных компонентов пищи привели к появлению новых и резкому увеличению числа известных болезней, связанных с неправильным питанием.
Для сохранения здоровья человека продукты питания должны обеспечивать улучшение обмена веществ, повышение сопротивляемости организма к неблагоприятным воздействиям внешней среды. В связи с этим актуальной является разработка специализированных продуктов сбалансированного состава, обладающих лечебно-профилактическим действием с учётом физиологических потребностей различных возрастных групп населения. Создание продуктов «здорового» питания, имеющих сбалансированный состав, может быть реализовано за счёт их многокомпонентности, в частности путём комбинирования сырья животного растительного происхождения . Использование сухого молочного сырья и растительных жиров при производстве сгущённого молока с сахаром также решает такие проблемы, как дефицит молочного сырья и снижение себестоимости продукта Сухое молоко, жиры и специальные смеси, используемые в качестве ингредиентов при производстве рекомбинированных молочных консервов, должны быть хорошего качества и обладать необходимыми функциональными характеристиками, обеспечивающими готовый продукт определёнными свойствами.
Сгущенные молочные консервы вырабатывают по традиционной технологии в соответствии с ГОСТом 2903-78 и по различным ТУ.
Традиционная технология сгущенного молока с сахаром. Сгущенные молочные консервы вырабатывают двух видов: с сахаром и без него (стерилизованные). Сгущенные молочные консервы с сахаром имеют однородную по всей массе консистенцию без ощутимых органолептически кристаллов лактозы, белый с кремовым оттенком цвет (для нежирных консервов допускается голубоватый оттенок, а для консервов с наполнителем - темно-коричневый). Эти консервы обладают сладким вкусом с выраженным оттенком пастеризованного молока или сливок, а консервы с наполнителями - хорошо выраженными вкусом и запахом натурального кофе или какао. В настоящее время изготовляют большой ассортимент сгущенных консервов с сахаром, нежирных и с массовой долей влаги от 26 до 30 %, сухих веществ от 26 до 36, жира от 5 до 19 и сахарозы от 37 до 44 %, кислотностью от 37 до 60 Т. В готовых консервах общее количество бактерий в 1 г допускается не более 50 000 (для молока сгущенного с сахаром, нежирного и пахты) и 35 000 (для сгущенных консервов с сахаром, кофе и какао), бактерии группы кишечной палочки в 0,1 г продукта и патогенные микроорганизмы не допускаются. Предприятия отрасли выпускают следующие виды консервов: цельное сгущенное молоко с сахаром, сгущенные сливки с сахаром; нежирное сгущенное молоко с сахаром; сгущенную пахту с сахаром; натуральный кофе со сгущенным молоком и сахаром, какао со сгущенным молоком и сахаром, какао со сгущенными сливками и сахаром и другие с различными оригинальными названиями. Сгущенные молочные консервы с сахаром вырабатывают по одной технологической схеме. Режимные параметры зависят от конкретного вида консервов. Технологический процесс производства сгущенных консервов с сахаром состоит из следующих основных операций: приемка и подготовка сырья и компонентов, нормализация, пастеризация, гомогенизация, приготовление и добавление сахарного сиропа, сгущение, охлаждение сгущенного продукта, фасование, упаковывание (закатывание) и хранение.
1. Основы теории выпаривания
Выпариванием называется концентрирование растворов практически нелетучих или малолетучих веществ в жидких летучих растворителях.
Выпариванию подвергают растворы твердых веществ (водные растворы щелочей, солей и др.), а также высококипящие жидкости, обладающие при температуре выпаривания весьма малым давлением пара, - некоторые минеральные и органические кислоты, многоатомные спирты и др. Выпаривание иногда применяют также для выделения растворителя в чистом виде: при опреснении морской воды выпариванием образующийся из нее водяной пар конденсируют и воду используют для питьевых или технических целей.
При выпаривании обычно осуществляется частичное удаление растворителя из всего объема раствора при его температуре кипения. Поэтому выпаривание принципиально отличается от испарения, которое, как известно, происходит с поверхности раствора при любых температурах ниже температуры кипения. В ряде случаев выпаренный раствор подвергают последующей кристаллизации в выпарных аппаратах, специально приспособленных для этих целей. Получение высококонцентрированных растворов, практически сухих и кристаллических продуктов облегчает и удешевляет их перевозку и хранение. Тепло для выпаривания можно подводить любыми теплоносителями, применяемыми при нагревании. Однако в подавляющем большинстве случаев в качестве греющего агента при выпаривании используют водяной пар, который называют греющим или первичным.
Первичным служит либо пар, получаемый из парогенератора, либо отработанный пар, или пар промежуточного отбора паровых турбин. Пар, образующийся при выпаривании кипящего раствора, называется вторичным.
Тёпло необходимое для выпаривания раствора, обычно подводится через стенку, отделяющую теплоноситель от раствора. В некоторых производствах концентрирование растворов осуществляют при непосредственном соприкосновении выпариваемого раствора с топочными газами или другими газообразными теплоносителями.
Процессы выпаривания проводят под вакуумом, при повышенном и атмосферном давлениях.
Выбор давления, связан со свойствами выпариваемого раствора и возможностью использования тепла вторичного пара.
Выпаривание под вакуумом имеет определённые преимущества перед выпариванием при атмосферном давлении, несмотря на то, что теплота испарения раствора несколько возрастает с понижением: давления и соответственно увеличивается расход пара на выпаривание 1 кг растворителя (воды).
При выпаривании под вакуумом становится возможным проводить процесс при более низких температурах, что важно в случае концентрирования растворов веществ, склонных к разложению при повышенных температурах. Кроме того, при разрежении увеличивается полезная разность температур между греющим агентом и раствором, что позволяет уменьшить поверхность нагрева аппарата (при прочих равных условиях). В случае одинаковой полезной разности температур при выпаривании под вакуумом можно использовать греющий агент более низких pa6очих параметров (температура и давление). Вследствие этого выпаривание под вакуумом широко применяют для концентрирования высококипящих растворов, например растворов щелочей, а также для концентрирования растворов с использованием теплоносителя (пара) невысоких параметров.
Примёнение вакуума дает возможность использовать в качестве греющего агента, кроме первичного пара, вторичный пар самой выпарной установки, что снижает расход первичного греющего пара. Вместе с тем при применении вакуума удорожается выпарная установка, поскольку требуются дополнительные затраты на устройства для создания вакуума (конденсаторы, ловушки, вакуум- насосы), а также увеличиваются эксплуатационные расходы.
При выпаривании под давлением выше атмосферного также можно использовать вторичный пар, как для выпаривания, так и для других нужд, не связанных с процессом выпаривания.
Вторичный пар, отбираемый на сторону, называют экстрапаром. Отбор экстрапара при выпаривании под избыточным давлением позволяет лучше использовать тепло, чем при выпаривании под вакуумом. Однако выпаривание под избыточным давлением сопряжено с повышением температуры кипения раствора. Поэтому данный способ применяется лишь для выпаривания термически стойких веществ. Кроме того, для выпаривания под давлением необходимы греющие агенты с более высокой температурой.
При выпаривании под атмосферным давлением вторичный пар не используется и обычно удаляется в атмосферу. Такой способ выпаривания является наиболее простым, но наименее экономичным.
Из имеющихся выпарных аппаратов наибольшее распространение в пищевых производствах получили трубные выпарные аппараты с естественной и принудительной циркуляцией при площади поверхности нагрева 10..1800 м2. В зависимости от расположения греющей камеры аппараты бывают с сосной греющей камерой или вынесенной. Кроме перечисленных аппаратов применяют различные конструкции пленочных аппаратов. При выборе конструкции выпарного аппарата учитывают теплофизических свойств раствора, склонность к кристаллизации, чувствительность к высоким температурам, полезную разность температур в каждом корпусе, площадь поверхности теплообменного аппарата, технологические особенности. Выпарные аппараты изготовляют из углеродистой стали, коррозиестойкой и двухслойной стали.
Выпарные аппараты с естественной циркуляцией просты по конструкции и применяются для выпаривания растворов невысокой вязкости, не склонных к кристаллизации. Эти аппараты бывают с сосной и вынесенной греющими камерами. Естественная циркуляция возникает в замкнутой системе, состоящей из необогреваемой циркуляционной трубы и кипятильных труб. Выпарные аппараты с естественной циркуляцией характеризуется простотой конструкции и легкодоступны для ремонта и очистки.
Выпарные аппараты с принудительной циркуляцией раствора позволяют повысить интенсивность циркуляции раствора и коэффициент теплопередачи. Циркуляция жидкости производится пропеллерными или центробежными насосом. Преимущества аппаратов с принудительной циркуляцией: высокие коэффициенты теплопередачи, а следовательно, и значительно меньшие площади поверхности теплопередачи, а также отсутствие загрязнений поверхности теплопередачи. Недостаток- затраты энергии на работу насоса.
Пленочные выпарные аппараты применяют при концентрировании растворов, чувствительных к высоким температурам. Пленочные аппараты бывают с восходящей пленкой и сосной или выносной греющей камерой и падающей пленкой и сосной или выносной греющей камерой. Недостаток –неустойчивость работы при колебаниях давления греющего пара. При нарушении режима работы аппарат можно перевести на работу с циркуляцией раствора, как в аппаратах с принудительной циркуляцией.
Роторно-пленочные выпарные аппараты применяют при концентрировании пищевых растворов, а также суспензий.
Барботажные выпарные аппараты. Выпаривание некоторых сильно агрессивных и высококипящих растворов, например растворов серной, соляной, фосфорной кислот, растворов мирабилита, хлористого магния и других, производят при непосредственном соприкосновении раствора с нагретыми инертными газами. Для таких растворов передача через стенку тепла, необходимого для выпаривания, оказывается практически неосуществимой из-за трудностей, связанных с выбором конструкционного материала, который должен сочетать хорошую теплопроводность с коррозионной и термической стойкостью.
Выпаривание при непосредственном соприкосновении раствора и теплоносителя осуществляют обычно с помощью топочных газов или нагретого воздуха в аппаратах с металлическим кожухом, футерованным изнутри коррозионно-стойкими материалами, например диабазовой и керамической плиткой, кислотоупорным и шамотным кирпичом и т.д. Барботажные трубы, по которым поступают в раствор газы, изготавливаются из термосилида, графита и других коррозионностойких материалов.
2. Особенности процессов многократного выпаривания и применение термокомпрессоров в выпарных установках
Многократное выпаривание проводят в ряде последовательно установленных выпарных аппаратов. Такие установки называют многокорпусными. С целью экономии греющего пара в установках многократного выпаривания в качестве греющего пара во всех корпусах, кроме первого, используется пар из предъидущего корпуса. Удельный расход греющего насыщенного водяного пара составляет: для однокорпусной установки 1, 1... 1,2 кг пара на 1 кг выпаренной воды; для двухкорпусной установки около 0,55, для трехкорпусной — около 0,4, для четырехкорпусной установки около 0,3 кг пара на 1 кг выпаренной воды. Многократное выпаривание можно осуществить при использовании греющего пара высокого давления либо при применении вакуума в выпарной установке. Давление в корпусах установки должно поддерживаться таким образом, чтобы температура поступающего в корпус пара была выше, чем температура кипения раствора в этом корпусе. Оптимальное давление греющего пара в последнем корпусе определяется технико-экономическим расчетом. Выпаривание под избыточным давлением связано с повышением температуры кипения раствора. Поэтому требуется греющий пар более высокого давления. Этот способ выпаривания применяют при концентрировании термически стойких растворов. При выпаривании под избыточным давлением требуется автоматическое регулирование пара и плотности упаренного раствора, но установка в целом несколько упрощается, так как отпадает необходимость в постоянно действующем конденсаторе. Многокорпусные выпарные установки делятся по взаимному направлению движения греющего пара и выпариваемого раствора на прямоточные, противоточные и комбинированные. Экономия первичного пара (и соответственно топлива) может быть достигнута также в однокорпусных выпарных установках с тепловым насосом. В таких установках вторичный пар на выходе из аппарата сжимается с помощью теплового насоса (например,термокомпрессора) до давления, соответствующего температуре первичного пара, после чего он вновь возвращается в аппарат для выпаривания раствора.
В химической промышленности применяются в основном непрерывно действующие выпарные установки. Лишь в производствах малого масштаба, а также при выпаривании растворов до высоких конечных концентраций иногда используют выпарные аппараты периодического действия.
Концентрация раствора в таком аппарате приближается к конечной лишь в конечный период процесса. Поэтому средний коэффициент теплопередачи здесь может быть несколько выше, чем в непрерывно действующем аппарате, где концентрация раствора ближе к конечной в течение всего процесса выпаривания.
Современные выпарные установки имеют очень большие поверхности нагрева (иногда превышающие 2000 м2 в каждом корпусе) и являются крупными потребителями тепла.

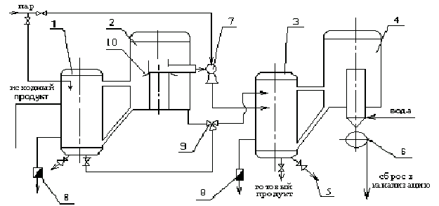
Рисунок 1 – Двухкорпусная вакуум-выпарная установка: 1 – калоризатор 1-ой ступени; 2 – сепаратор 1-ой ступени; 3 – калоризатор 2-ой ступени; 4 – сепаратор 2-ой ступени; 5 – пробоотборный кран; 6 –водокольцевой насос; 7 – инжектор; 8 – конденсатоотводчики; 9 –трехпозиционный кран; 10 – зонт
На рис.1 показана схема прямоточной многокорпусной выпарной установки. Исходный раствор в количестве Gн кг/ч с концентрацией хн мас. % из хранилища насосом подается в теплообменник, где подогревается до температуры кипения и поступает на выпаривание в первый корпус, в котором концентрируется до заданной концентрации хк1 При этом из первого аппарата удаляется W1 кг/ч вторичного пара. Далее раствор поступает в последующие корпуса установки, где концентрируется во втором корпусе до концентрации хк2, в третьем до хк3 и так до конечной заданной концентрации.
Соответственно из корпусов удаляется вторичного пара W2, W3 ,.. – Wn,кг/ч где п - число корпусов. Из последнего корпуса вторичный пар поступает в барометрический конденсатор. Как видно из схемы, выпариваемый раствор и вторичный пар движутся в одном направлении.
3. Технологическая схема производства сгущенного молока
Технологическая схема производства сгущенного молока приведена на листе графической части № 1.
Технологический процесс производства сгущенных консервов с сахаром состоит их следующих основных операций: приемка и подготовка сырья и компонентов, нормализация, пастеризация, гомогенизация, приготовление и добавление сахарного сиропа, сгущение, охлаждение сгущенного продукта, фасование, упаковывание и хранение. Приемку молочного сырья и его подготовку проводят, так же как и при выработке других молочных продуктов. Компоненты готового продукта по рецептуре подготавливают согласно действующей документации. После подготовки молоко нормализуют с учетом содержания в готовом продукте жира, сухого молочного остатка, СОМО. Нормализованную молочную смесь пастеризуют при температуре 85-90°С или 105-112°С без выдержки. В нормализованное молоко перед пастеризацией можно вносить 25% водный раствор соли-стабилизатора в количестве 0,008-0,01% массы молока . После пастеризации молоко рекомендуется охладить до 70-75 °С и направить на сгущение. Выдержка молока при температуре пастеризации обеспечивает получение готового продукта повышенной вязкости.
Перед сгущением допускается гомогенизация молока. Ее применяют в зимнее время, а также для консервов вязкостью менее 2.5 Па*с. Гомогенизацию проводят при температуре 60-70°С и рабочем давлении 8-10МПа.
Сахарный сироп готовят путем растворения необходимого количества сахара в питьевой воде температурой 60-70 °С. После смешивания сахара с водой смесь доводят до кипения и очищают. Сахарны е сиропы рекомендуется готовить с концентрацией сахара 65-70%. С целью предотвращения расщепления сахарозы, а также засахаривания и загустения сироп нельзя выдерживать с молоком более 20 мин. от начала кипения до начала его смешивания с молоком. Температура сиропа при смешивания должна быть 90-95°С.
Сахарный сироп может поступать в вакуум-выпарную установку в смеси с молоком или поэтапно: сироп-молоко-сироп. Перед поступлением в выпарной аппарат молочную смесь с сахаром фильтруют. Сгущение проводят при температуре кипения: в двухкорпусной установке 70-80°С в первом корпусе и 50-52°С во втором корпусе. Продолжительность сгущения продукта в вакуум-выпарном аппарате должна быть минимальной. Для установления готовности отбирают пробу, охлаждают до 18-20°С и определяется плотность, массовую долю сухого вещества и органолептические показатели. Плотность сгущенного молока при температуре 50°С равна 1280-1320 кг/м3.Массовая доля сухих веществ по рефрактометру при 20°С составляет 73.8-74%. Консистенция пробы продукта при 50°С должна быть слабовязкой. Продукт должен легко стекать со шпателя или ареометра при извлечении его из цилиндра, в котором определили плотность пробы. Сгущенный продукт из вакуум-выпарной установки направляют на охлаждение. Для этой цели применяют охладители-кристаллизаторы. Продукт охлаждают до температуры 18-20°С в течении 40-60 мин.
При охлаждении молока начинается кристаллизация лактозы. Этот процесс неуправляем, и результат его является образование крупных кристаллов. Для получения продукта высокого качества необходимо, чтобы размеры кристаллов лактозы не превышали 10мкм. Если образуется кристаллы большего размера, то консистенция сгущенного продукта становится мучнистой. Для интенсификации кристаллизации и образования мелких кристаллов лактозы в сгущенный продукт вносят затравку- сухую мелкокристаллическую лактозу с размером кристаллов 2-3 мкм. Количество затравки соответствует 0,2% массы продукта. Лактозу перед внесением прогревают при 105°С не менее 1ч. После внесения лактозы в сгущенное молоко увеличивается число зародышей кристаллизации, которые способствуют образованию мелких кристаллов. В качестве затравки можно использовать сгущенное молоко предыдущей выработки. Его количество должно составлять не менее 10%. Температура кристаллизации лактозы 25-35°С. О правильно проведенной кристаллизации лактозы судят по ее размерам . Согласно ГОСТ 2903 однородность консистенции продукта определяют по средним размерам и распределению кристаллов по группам, а их количество – подсчетом под микроскопом с применением окуляров – микрометров. Величину кристалла измеряют по длине грани. Все кристаллы делят не 4 группы. По средней величине кристаллов в каждой и их количеству вычисляют средний размер кристаллов в сгущенном молоке с сахаром. При определении размеров кристаллов молочного сахара измеряют не менее 100 кристаллов. В зависимости от размеров кристаллов выделяют следующие консистенции продукта: до 10 мкм- консистенция, однородная по всей массе; от 11 до 15 мкм – мучнистая; от 16 до25 – песчанистая; более 25 – хрустящая на зубах. Из охлажденного сгущенного молока отбирают также пробы для определения физико-химических и биохимических показателей. Если эти показатели соответствуют нормативной документации, то продукт направляют на фасование и закатывание. Готовый продукт фасуют и закатывают в жестяные банки № 1, 7,13, металлические трубы № 13, а также фанерно-штампованные или деревянные заливные бочки и металлические фляги. Если продукт не соответствует по содержанию воды и жира требованиям ГОСТа и технических условий, его нормализуют после сгущения водой, обезжиренным молоком или сливками. Вода должна быть кипяченой и очищенной.
4. Расчет двухкорпусной вакуум-выпарной установки
Расчет двухкорпусной вакуум-выпарной установки с термокомпрессором для изготовления сгущенного молока с разработкой выпарного аппарата.
Исходные данные:
Производительность
по испаренной влаге: W=2000
;
Давление рабочего пара: P=0,75МПа;
Температура кипения молока:
в первом корпусе – tk1=70°C;
во втором корпусе – tk2=52°C;
Температура греющего пара первого корпуса – tгр1=86°С;
Концентрация сухого вещества в исходном продукте – Хн=12%
в конечном продукте – Хк=35%
Составляем уравнения материального баланса
По всему веществу
Gн-W= Gk
Gн-W1= G1
G1- W2= Gk
По влаге
W= W1+ W2
Из этих уравнений находим количество молока поступающего на сгущение

Где Gн- количество молока поступающего на сгущение кг/ч,
Хн- концентрация сухого вещества в исходном продукте,%
Хк- в конечном продукте,%
Количество конечного продукта
Gk= Gн- W=3045-2000=1045 кг/ч;
Определим количество выпаренной влаги в каждом корпусе:
Для этого воспользуемся отношением выпаренной влаги в первом корпусе к количеству выпаренной влаги во втором корпусе:
I:II =1:1,1
=958

О
пределяем
конечные концентрации раствора по
корпусам:
Тепловой баланс по 1му корпусу
Q1=Dгр(in1-ik1)=W1·r1-G0·Cm1(t0-tk1)+QПОТ (6)
Q2 = Dгр2 (in2- ik2)= W2·r2-G1·Cm2(tк1-tk2)+QПОТ2 (7)
t0-температура молока в 1ом корпусе
tк1-температура кипения молока в 1ом корпусе
tk2-температура кипения во втором корпусе
r1, r2-теплота парообразования при соответствующем давлении в 1и 2 корпусах.
Dгр-расход греющего пара в первом корпусе, кг/ч
Dгр2- расход греющего пара во втором корпусе, кг/ч
QПОТ , QПОТ2-потери теплоты в первом и втором корпусе,кДж
Cm-теплоемкость молока
Cm=41,87W+(13,73+0,113(Т-273)) (8)
Уравнение теплопередачи для корпусов
Q1/3,6=К1F1Δt1 (9)
Q2/3,6= К2F2Δt2 (10)
Δt1=tгр- tk1 =86-70=16°С (11)
Δt2= tгр2- tk2 (12)
tгр2= tk1-Δtфх- Δtн (13)
tвп= tk2-Δtфх- Δtн (14)
Δt1 , Δt2-полезная разность температур, °С
К1, К2-коэффициенты теплопередачи для корпусов, Вт/м2∙К
tk1, tk2-температура кипения молока в первом и втором корпусе, °С
Анализ нагрузки корпусов
Распределение выпариваемой влаги по корпусам и полезной разности температур производят на основании решения системы уравнений с учетом отбора экстра пара на дополнительные нужды. Решение этой задачи ведется методом последовательных приближений. В качестве 1го приближения обычно считают, что количество выпариваемой влаги равно количеству греющего пара. В этом случае можем записать:
W1= Dгр=a(D0+E1)=a D0(1+u) (15)
W2= W1- E1- E111=C W1- u D0 (16)
u= E1/ D0-коэффициент инжекции (=0,8..1)
а = коэффициент учитывающий долю отбираемого экстрапара(=0,9)
с = коэффициент учитывающий отбор экстрапара, направляемого во 2ой В.А.
В (16) подставим вместо
W2= W- W1
W- W1= C W1- u D0
W1(С+1)= W+u D0 (17)
Из (15) получим
D0= W1/а(1+ u),
подставим в (17) и получим
W1(С+1)= W+ u W1/ а(1+ u) (18)
После преобразований получим
W1= [W· а(1+ u)]/ а(1+ c) (1+ u)- u=[2000·0.9(1+0,9)] /0,9(1+0,95)(1+0,9) -0,9=1405 кг/ч (19)
Тогда W2 =2000-1405=595 кг/ч
Концентрация после первого корпуса
Х1= G0Х0/ G0- W1=3045·13/(3045-1405)=23,9 %
При условии равенства площадей F1=F2
Δt2= W2К1Δt1/ W1 К2=16·1500·0,298/0,702·1200 =9°С
tгр2= tk2+Δt2=52+9=61°С
Устанавливаем давление в корпусах
1корпус
tгр1=86°C
p=0,6·105 Па
Калоризатор tк=84°С iк=350 кДж/кг
r=2293кДж/кг i=2653 кДж/кг
tвп1= tгр2=61°С
p=0,21·105 Па r=2354 кДж/кг i=2611 кДж/кг
Калоризатор tк=59°С iк=247 кДж/кг
2 корпус
tвп2=49°С p=1,04·104 Па r=2386 кДж/кг i=2589 кДж/кг
Определяем удельную теплоемкость молока
См1=[41,87·1405+(13,73+0,113·68)]·0.06=3,5 кДж/кг·К
См2=[41,87·595+(13,73+0,113·50)]·0,14=3,4 кДж/кг·К
Определяем теплоту
Q1=1405·2354-3045·3,5(86-70)=3136850 кДж
Q2=595·2386-1640·3,4(67-52)=1336030 кДж
Существующие вакуум-выпарные установки имеют одинаковые поверхности нагрева испарителей и размеры корпусов, поэтому F1= F2. Равенство поверхности дает возможность определить поверхность нагрева одного корпуса установки, а второй изготавливать таким же. При этом лучше определять поверхность нагрева первого корпуса.
Определяем площадь поверхности теплопередачи калоризаторов
F1=3136850/1500·3,6·16=36,3 м2
F2=1336030/1200·3,6·9=35,3 м2
Расход греющего пара в 1м корпусе
Dгр= Q1/0,97(in1-ik1)= 3136850/0,97(2611-350)=1430 кг/ч
Расход рабочего(острого) пара
D0= Dгр/ а(1+ u)=1430/0,9(1+0,9)= 836 кг/ч
Основные размеры испарителя и пароотделителя
Поверхность нагрева испарителя образуется кипятильными трубками в теплообменнике.
Принимают диаметр кипятильных трубок d=0,032м, l=2.5м.
Число трубок в испарителе
n= F/π· d ·l=36,3/(3,14·0,032·2,5)=146
Вакуум-выпарные установки имеют обычно две циркуляционные трубы, площадь трубы, площадь сечения которых принимается за 10% светового сечения кипятильных труб.
Площадь поперечного сечения циркуляционные труб
fц=0.1 F=0,1·3,14·0,0322·187/4=0,15м2
Диаметр циркуляционные труб
Dц=
=
= 0,31м
Определение размеров пароотделителя
Объем пароотделителя определяется по формуле
V=Vвт·W/A=13·2000/6000=4,3 м3
Где Vвт- удельный объем вторичного пара, м3/кг.
А- допускаемое напряжение объема по испаренной влаге,
Объем пароотделителя цилиндрического м3/( м3·ч) (А= 4000…12000 м3/( м3·ч)
V= (π D2/4)·H
D- Диаметр пароотделителя, м;
H- высота пароотделителя, м; (Н=1,2D)
D=
=
= 1,65 м
Н=1,2·1,65 = 1,98м
Расчет трубчатого теплообменника
Принимают диаметр кипятильных трубок d=0,032м, l=2.5м.
Определяем число ходов в аппарате
i= L1/L=5/2.5=2
Где i-число ходов в аппарате,
L1-Общая длина аппарата, м
L-длина кипятильных труб, м
Размещаем трубы по сторонам правильных шестиугольников (по вершинам равносторонних треугольников). На диагонали наибольшего из них расположится труб:
nд=
n- число трубок в испарителе;
Количество труб на стороне наибольшего шестиугольника
nс=0,5(nд+1)=0,5∙(14+1)=7.5
Где nд- количество трубок на диагонали шестиугольников
Принимаем nс=8
Определяем шаг труб в кипятильнике
D =1.25∙ d=1.25∙32∙10-3=40∙10-3м = 40мм,
Где d- диаметр кипятильных труб
Определяем ширину простенка
Lн=( L- d)=40-32=8мм.
Внутренний диаметр кожуха аппарата
Dв = L (nд-1)+ d +2( L- d)=40(14-1)+32+2(40-32)=568
Корпус аппарата будет изготовляться сварным. Наружный диаметр примем равным 630 мм (по сортаменту). Коэффициент прочности сварных швов примем равным β =0,7
Список используемой литературы
1. Храмцов А. Г., Нестеренко П. Г., Чеботарев Е. А. Производство сгущенных концентратов молочной сыворотки: Учебное пособие. – Ставрополь: Институт развития образования, 1998. – 80 с.
2. Касаткин А.Г. Основные процессы и аппараты химической технологии. - М.: Химия, 1971. - 784 с.
3. Павлов К.Ф., Романов П.Г., Носков А.А. Примеры задачи по курсу процессов и аппаратов химической технологии. - М., Химия ,1987. - 552 с.
4. Дытнерский Ю.М. Основные процессы и аппараты химической технологии: Пособие по проектированию. - М.: Химия,1983. - 261с.
5. Аболмаков Г.Ф. Примеры и задачи по курсу технологического оборудования молочной промышленности. - М.-Л., Машиностроение,1966. - 284 с.
6. Баранцев В.И. Процессы и аппараты пищевых производств.- -М.: Легкая и пищевая промышленность,
7.Бредихин С.А., Космодемьянский Ю.В., Юрин В.Н. Технология и техника молока.-М.: Колос, 2003г.
8. Г.Н.Крусь., А.Г.Храмцов., З.В.Волокитина., С.В.Карпычев. Технология молока и молочных продуктов .М.:«КолосС».
9.Кавецкий Г.Д., Васильев Б.В. Процессы и аппараты пищевой технологии.-М.: Колос, 2000г.
10.Зимняков В.М., Назаров И.В., Щербина С.В. Практикум по основам расчета и конструирования машин и аппаратов перерабатывающих производств.- М.: Пенза, 2003г.
11. Антипов С.Т., И.Т.Кретов., А.Н.Остриков., В.А.Панфилов., О.А.Ураков. Машины и аппараты пищевых производств в двух книгах. М.: «Высшая школа», 2001.
12. Селягин В.Е., Процессы и аппараты пищевых производств. Расчет вакуум-выпарной установки.- М.: МГЗИПП. 1997г.