Расчет идеального цикла газотурбинного двигателя
Расчётно-пояснительная записка к курсовой работе
«Расчет идеального цикла ГТД»
Самара 2010
Задание
Рассчитать идеальный цикл ГТД тягой R при полёте с числом М за время τ (час) по заданной высоте Н при температуре Т>3> газа перед турбиной. Исходные данные приведены в табл. 1, 2, 3, 4, 5. Масса воздуха G = 1 кг. Топливо – керосин Т-2 с начальной температурой T>T> = 300 K.
Таблица 1 – Исходные данные
|
Высота полёта H, м |
Число М |
Время , ч |
Температура Т>3>, К |
Тяга R, Н |
|
10000 |
1,3 |
4 |
1350 |
4550 |
Таблица 2 – Данные МСА
|
Н, м |
Т>0>, К |
p>0>, Н/м2 |
кг/м3 |
µ105,
Нс/м3 |
|
10000 |
223,3 |
26500 |
0,414 |
1,45 |
Таблица 3 – Состав топлива
|
Марка керосина |
Химическая формула |
Содержание серы и влаги, % |
Плотность при 20ºС |
Низшая удельная теплота сгорания топлива Н>u>, кДж/кг |
|
Т-2 |
С>1,1>H>2,15> |
0,005 |
0,755 |
43130 |
Таблица 4 – Объёмный состав воздушной смеси
|
Компонент |
N>2> |
O>2> |
CO>2> |
H>2>O |
|
|
0,7729 |
0,2015 |
0,0083 |
0,0173 |
Таблица 5 – Молярная масса компонентов воздушной смеси
|
Компонент |
кг/кмоль |
|
N>2> |
28 |
|
O>2> |
32 |
|
CO>2> |
44 |
|
H>2>O |
18 |
Реферат
Определены следующие параметры, характеризующие воздух в точке 0 цикла ГТД: молекулярные массы, количество вещества, мольные и массовые доли, удельные газовые постоянные, изобарные и изохорные теплоёмкости компонентов воздуха, поступающего в диффузор, показатель адиабаты.
Рассчитано оптимальное значение степени сжатия воздуха в компрессоре, обеспечивающее максимально полезную работу цикла для заданного значения температуры Т>3>.
Вычислен коэффициент избытка воздуха в камере сгорания.
Найдены значения масс, количества вещества, мольных и массовых долей компонентов рабочего тела, как смеси продуктов сгорания и избыточного воздуха. Рассчитано количество топлива, сгорающего в 1 кг воздуха. Определена масса рабочей смеси, удельная изобарная и изохорная теплоёмкости, газовая постоянная и показатель адиабаты, характеризующие смесь при температуре Т>3>. Результаты расчётов сведены в таблицы.
Рассчитаны
параметры состояния в характерных и
нескольких промежуточных точках
идеализированного цикла ГТД, определены
изменения внутренней энергии, энтальпии,
энтропии, теплоты, удельные работы
процессов и за цикл. Изображён идеальный
цикл в p-v
и T-S-координатах. Определены погрешности
рассчитанных
и
.
Рассчитаны энергетические характеристики
ГТД.
Введение
Авиационный газотурбинный двигатель является сложной технической системой с высокими удельными параметрами. Конструкция доводилась до совершенства на основе большого объёма экспериментальных исследований, накопленной статистики. Технические достижения в области конструкции, материалов, технологии, различных методов повышения нагрузочной способности, усталостной прочности нашли в современном двигателе самое непосредственное воплощение. В мировой практике разработаны и освоены в производстве двигатели новых поколений, где в конструкцию привнесены качественные изменения, приведшие к существенному повышению удельных эксплуатационных параметров. Продолжающие находиться в эксплуатации и выпускаться, проверенные временем и доведённые на основе анализа результатов практического использования до высокого уровня совершенства ряд моделей ГТД сформировали большой объём практической информации.
Циклы ГТД подразделяются на две основные группы: с подводом тепла при p = const и с подводом тепла при v = const.
1. Описание работы двигателя
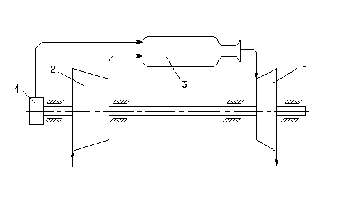
Принципиальная схема ГТД со сгоранием топлива при p = const показана на рисунке 1. Принцип его работы следующий: при полёте самолёта набегающий поток воздуха поступает в диффузор и там сжимается. Затем попадает в компрессор 2, где опять подвергается сжатию. Далее сжатый воздух поступает в камеру сгорания 3, где происходит сгорание топливно-воздушной смеси и, следовательно, осуществляется подвод тепла. Привод компрессора осуществляется от газовой турбины 4. Пройдя через газовую турбину, продукты сгорания расширяются в реактивном сопле до атмосферного давления, и, после истечения, изобарно охлаждаются в атмосфере. Поскольку адиабатно сжимаемый в компрессоре воздух и образовавшиеся продукты сгорания, расширяющиеся на лопатках турбины и в сопловом аппарате, имеют различный состав, параметры состояния рабочего тела в различных точках термодинамического цикла должны рассчитываться с учётом этой особенности. Расход воздуха на горение и количество продуктов сгорания определяются уравнениями химических реакций окисления элементов горючего с учётом содержания их в топливе.

Рисунок 1 –
Принципиальная схема ГТД с подводом
тепла при
p = const: 1 – топливный насос;
2 – компрессор; 3 – камера сгорания; 4 –
газовая турбина
2. Расчёт состава рабочего тела
2.1 Предварительный расчёт состава воздуха
Расчёт количества вещества, массовых и мольных долей компонентов и теплоёмкостей производится для воздуха, потребляемого двигателем самолёта на высоте полёта Н=10000 м.
Рассчитаем массовые доли по формуле:

Обозначим
как
– молекулярная масса смеси:

Тогда:




Рассчитаем количество вещества:





Найдём удельную газовую постоянную для каждого компонента по формуле:
(3),
где R=8,314





Удельные изобарные теплоёмкости компонентов:




Удельные изохорные теплоёмкости компонентов найдём по формуле:
(4)




Для газовой смеси определим удельную изобарную теплоёмкость:

И удельную изохорную теплоёмкость:

Показатель адиабаты:

Удельную газовую постоянную:

2.2 Определение оптимальной степени сжатия в компрессоре ГТД
Для заданного числа
М полёта оптимальное значение можно
получить аналитически из условия, что
при его значении полезная работа цикла
ГТД наибольшая. Решение сводится к
отысканию максимума функции
.
Этот максимум в идеальном цикле достигается при значении
(5).
Подставив исходные и рассчитанные в разделе 1.1 значения в формулу (5), получим:

2.3 Определение коэффициента избытка воздуха
Основано на обеспечении заданной температуры перед турбиной.
Для расчёта примем
соотношение
для данного вида топлива
:

Для топлива керосин
Т-2 с химической формулой
:

Коэффициент избытка воздуха определяется по формуле:
(6), где:


Тогда:

2.4 Расчёт состава продуктов сгорания и рабочей смеси
Массы продуктов сгорания:




Количества вещества продуктов сгорания:




Мольные доли компонентов:
(7)





Массовые доли компонентов:
(8)





Количество топлива, сгорающего в 1 кг воздуха:

Масса рабочей смеси:

Удельные теплоёмкости рабочей смеси:


Газовая постоянная:

Показатель адиабаты:

Результаты расчётов сведём в таблицы 6 и 7.
Таблица 6 – Состав рабочего тела цикла ГТД
|
Характеристика |
Компонент |
||||
|
N>2> |
O>2> |
CO>2> |
H>2>O |
||
|
|
0,297 |
0,260 |
0,189 |
0,462 |
|
|
|
Воздух |
1,039 |
0,915 |
0,815 |
1,859 |
|
|
Воздух |
0,742 |
0,655 |
0,626 |
1,397 |
|
|
28 |
32 |
44 |
18 |
|
|
G>,> кг |
Воздух |
0,752 |
0,224 |
0,013 |
0,011 |
|
Пр. сгор. |
0,752 |
0,2116 |
0,0244 |
0,0133 |
|
|
M, кмоль |
Воздух |
0,0268 |
0,007 |
0,000295 |
0,00061 |
|
Пр. сгор. |
0,027 |
0,0066 |
0,000555 |
0,000642 |
|
|
g |
Воздух |
0,752 |
0,224 |
0,013 |
0,011 |
|
Пр. сгор. |
0,751 |
0,2113 |
0,0244 |
0,0133 |
|
|
r |
Воздух |
0,7729 |
0,2015 |
0,0083 |
0,0173 |
|
Пр. сгор. |
0,7759 |
0,1896 |
0,0159 |
0,0184 |
Таблица 7 – Характеристики рабочего тела в цикле ГТД
|
Рабочее тело |
Характеристика |
||||
|
|
|
|
|
G, кг |
|
|
Воздух |
1,015 |
0,727 |
0,288 |
1,396 |
1 |
|
Продукты сгорания |
1,018 |
0,729 |
0,289 |
1,396 |
1,0013 |
3. Расчет основных параметров состояния рабочего тела в узловых точках цикла ГТД
Прежде чем перейти к расчёту основных термодинамических параметров состояния рабочего тела в узловых точках цикла ГТД, рассчитаем плотность воздуха, поступающего в диффузор, при известных p>0, >R и Т>0>:

Точка 1. Процесс 0–1 – адиабатное сжатие воздуха в диффузоре:




Точка 2. Процесс 1–2 – адиабатное сжатие воздуха в компрессоре:



Точка 3. Процесс 2–3 – изобарный подвод тепла в камере сгорания:
,
– степень повышения температуры


Точка 4. Процесс 3–4 – адиабатное расширение продуктов сгорания в турбине:



Точка 5. Процесс 4–5
– адиабатное расширение в реактивном
сопле ГТД до давления окружающей среды
:


4. Расчет калорических величин цикла ГТД
4.1 Определение изменений калорических величин в процессах цикла
Внутренняя энергия в процессе:
(9)







Энтальпия:
(10)







Энтропия для изобарного процесса вычисляется по формуле:
(11)




4.2 Расчёт теплоты процессов и тепла за цикл
Подводимую и отводимую удельные теплоты в изобарном процессе рассчитаем по формуле:
(12)



Таким образом,
.
Вычислим
:
.
4.3 Расчёт работы процесса и работы за цикл
– работа сжатия газа в диффузоре
– работа сжатия газа в компрессоре
– работа газа в турбине
– работа реактивного сопла
Рассчитаем
:

Результаты расчётов представлены в таблице 8.
Таблица 8 – Основные параметры состояния рабочего тела в узловых точках цикла, изменение калорических параметров в процессах и за весь цикл идеального ГТД
|
Значения |
Точки |
Для цикла |
|||||
|
0 |
1 |
2 |
3 |
4 |
5 |
||
|
|
0,265 |
0,736 |
5,89 |
5,89 |
2,94 |
0,265 |
- |
|
|
2,427 |
1,17 |
0,265 |
0,66 |
1,084 |
6,053 |
- |
|
|
223,3 |
299 |
542 |
1350 |
1107 |
557 |
- |
|
Значения |
Процесс |
Для цикла |
|||||
|
0–1 |
1–2 |
2–3 |
3–4 |
4–5 |
5–0 |
||
|
|
55 |
177 |
589 |
-177 |
-401 |
-243 |
0 |
|
|
77 |
247 |
822 |
-247 |
-560 |
-339 |
0 |
|
|
0 |
0 |
0,9 |
0 |
0 |
-0,9 |
0 |
|
|
0 |
0 |
822 |
0 |
0 |
-339 |
483 |
|
|
-77 |
-247 |
0 |
247 |
560 |
0 |
483 |
5. Расчет параметров состояния рабочего тела в промежуточных точках процессов сжатия и расширения
5.1 Расчёт для процессов, изображаемых в p-v-координатах
Определение значений параметров p и v в промежуточных точках процессов 1–2, 3–4 и 4–5 позволяет построить достаточно точные графики. Поскольку процессы 1–2 и 3–4–5 адиабатные, то для любой пары точек на них справедливы соотношения:


Отсюда, задаваясь
значениями параметров
и используя известные величины
,
найдём параметры промежуточных точек:







Значения точек сведём в таблицу 9.
Промежуточные точки процессов также, как и характерные, откладываем на графике p-v и через них проводим плавную кривую процесса.
5.2 Расчёт для процессов, изображаемых в T-S-координатах
Для построения цикла
ГТД в T-S
координатах необходимо интервалы
изменения температур от
до
и
до
разбить на три примерно равные части.
Для значений температур процессов
,
,
,
вычисляем соответствующие изменения
энтропии рабочего тела в процессах 2–3
и 0–5 по соотношениям:


Вычислим параметры промежуточных точек для построения графика цикла ГТД в TS координатах:








Значения полученных точек отразим в таблице 9.
Полученные изменения энтропии откладываем в принятом масштабе на T-S диаграмме и по выбранным значениям Т находим координаты промежуточных точек процесса, через которые проводим плавную кривую.
Таблица 9 – Параметры состояния рабочего тела в промежуточных точках процессов и изменение энтропии
|
Параметр |
Точки |
||||||
|
a |
b |
c |
d |
e |
f |
g |
|
|
|
1,06 |
1,51 |
2,42 |
4,50 |
1,25 |
0,71 |
0,47 |
|
|
0,9 |
0,7 |
0,5 |
0,8 |
2 |
3 |
4 |
|
Параметр |
a |
b |
c |
d |
|||
|
T, K |
811 |
1081 |
446 |
335 |
|||
|
Параметр |
Процесс |
||||||
|
2-a |
2-b |
0-c |
0-d |
||||
|
|
0,410 |
0,703 |
0,702 |
0,412 |
6. Расчет энергетических характеристик ГТД
Вычислим скорости
набегающего потока С>0>
и скорость истечения газа из реактивного
сопла С>5>,
а также удельную тягу двигателя R>уд>,
секундный расход воздуха G>возд>,
массу двигателя G>дв>,
суммарную массу топлива
,
термический КПД
и термический КПД цикла Карно
,
действующего в том же интервале
максимальной и минимальной температур.
Скорость набегающего потока:

Скорость истечения рабочего тела из сопла двигателя:

Удельная тяга двигателя:

Расход воздуха:

Масса двигателя:

Суммарная масса топлива за время полёта:

Термический коэффициент полезного действия ГТД:

Термический коэффициент полезного действия ГТД по циклу Карно:

Таблица 10 – Энергетические характеристики идеального ГТД
|
> |
|
|
C>0>, м/с |
C>5>, м/с |
|
|
8 |
483 |
18 |
390 |
1058 |
|
|
G>дв>, кг |
|
|
|
G>возд>, кг/с |
R>уд>, м/с |
|
122,5 |
352,5 |
59 |
83 |
6,80 |
669 |
Список использованных источников
Мухачев Г.А., Щукин В.Е. Термодинамика и теплопередача. М.: Высшая школа, 1991 г. – 400 с.
Кирилин В.А., Сычев В.В., Шейндлин А.Е. Техническая термодинамика. М: Энергоатомиздат, 1983 г. – 416 с.
Сборник задач по технической термодинамике и теплопередаче / Под редакцией Б.Н. Юдаева. М.: Высшая школа, 1968 г. – 372 с.
Требования к оформлению учебных текстовых документов: Метод. указания/ Сост. В.Н. Белозерцев, В.В. Бирюк, А.П. Толстоногов/ Куйбышев. авиац. ин-т. Куйбышев, 1988. – 29 с.
Белозерцев В.Н., Бирюк В.В., Толстоногов А.П. Методические указания по оформлению пояснительной записки к курсовой работе (проекту)/ Куйбышев. авиац. ин-т. Куйбышев, 1987. – 16 с.
Меркулов А.П. Техническая термодинамика: Конспект лекций/ Куйбышев. авиац. ин-т. Куйбышев, 1990. – 235 с.
Толстоногов А.П. Техническая термодинамика: Конспект лекций/ Куйбышев. авиац. ин-т. Куйбышев, 1990. – 100 с.
















>

