Расчет камеры для холодильной обработки мяса
Содержание
Введение
1. Анализ современных объектов аналогичного назначения
1.1 Общие сведения об охлаждении и замораживании пищевых сред
1.2 Назначение и классификация оборудования для охлаждения и замораживания
1.2.1 Классификация оборудования
1.2.2 Конструкции холодильников и камерного оборудования
1.3 Патентная проработка проекта
1.3.1 Камера холодильной обработки мяса с системой увлажнения воздуха
1.3.2 Конструкции камерных приборов охлаждения
1.4 Формулирование идеи реконструкции и обоснование технического решения
2 Расчетная часть
2.1 Расчет теплоизоляции пола камеры замораживания
2.2 Расчет конденсации влаги на стеновых панелях
2.3 Определение толщины теплоизоляции всасывающего трубопровода холодильной установки
2.4 Определение площади теплопередающей поверхности охлаждающих батарей
2.5 Расчет необходимого количества воздухоохладителей коридора
2.6 Расчет массового расхода приточного воздуха в камере замораживания
2.7 Расчет воздушной завесы для двери холодильной камеры
3 Ремонт монтаж и эксплуатация холодильного оборудования и трубопроводов
3.1 Монтаж холодильного оборудования и трубопроводов
3.2 Испытание трубопроводов
3.3 Порядок монтажа элементов холодильной проводки
3.4 Установка трубопровода и арматуры
4 Безопасность и экологичность проекта
4.1 Безопасность жизнедеятельности в производственной среде
4.1.1 Опасные и вредные производственные факторы (ОВПФ)
4.1.2 Физически опасные и вредные производственные
факторы
4.1.3 Оценка химически опасных и вредных производственных факторов
4.2 Безопасность при чрезвычайных ситуациях
Заключение
Список используемых источников
Введение
Наряду с ростом холодильных емкостей постоянно развиваются холодильное машиностроение и приборостроение. Холодильные машины выпускают преимущественно в виде автоматизированных агрегатов. Большое внимание уделяется конструированию и изготовлению мелких автоматизированных холодильных машин, что позволяет оснастить холодом значительное количество предприятий торговли и общественного питания
Холод применяется во многих отраслях промышленности: в химической, горнорудной, металлургической и др. Особенно большое применение получил холод в пищевой промышленности для хранения скоропортящихся продуктов, а также в технологическом процессе производства пищевых продуктов при их термической обработке и транспортировке железнодорожным и другим транспортом.
Для сохранения и переработки все возрастающего количества пищевых продуктов необходимо значительное повышение объемов и темпов строительства холодильников и холодильного оборудования, а также техническое совершенствование существующих холодильных предприятий.
Использование холода, особенно искусственного, значительно улучшает санитарно-гигиеническое состояние продуктов во время технологических процессов производства, хранения и торговли ими в течение всего года.
Холод на мясоптицеперерабатывающих предприятиях применяют в следующих процессах:
охлаждение мяса, субпродуктов, жира и других продуктов убоя скота;
хранение охлажденных продуктов;
замораживание мяса, мякотных и костных мясоблоков, субпродуктов, мясных полуфабрикатов, фабрикатов и эндокринно-ферментного сырья, готовых мясных блюд при температурах от - 30 до - 40° С;
хранение замороженных продуктов;
охлаждение мясных продуктов при производстве колбас, копченостей, перетопке жиров, выработке фасованной продукции и полуфабрикатов;
вытопка жиров - при кристаллизации для выделения олеомаргаринов, стеарина;
выработка смазочных масел из технических жиров;
охлаждение рассола для посола шкур;
сублимационная сушка медицинских препаратов;
изготовление льда, используемого в производстве колбасных и других изделий;
кондиционирование воздуха в производственных помещениях для создания определенных технологических режимов и комфортных условий работы.
Мясо и продукты убоя скота подразделяются на парные - не отдавшие еще своей животной теплоты; остывшие в естественных условиях при температуре окружающего воздуха выше 0°С; охлажденные - температура в толще около 0 0С, но не выше 4 °С; мороженые - температура в толще ниже -6 °С.
В птицеперерабатывающей промышленности холод используется для охлаждения, замораживания и хранения тушек кроликов, птицы и дичи, а также при хранении яиц и меланжа.
1. Анализ современных объектов аналогичного назначения
1.1 Общие сведения об охлаждении и замораживании пищевых сред
Охлаждение — процесс понижения температуры пищевых продуктов (но не ниже криоскопической) с целью задержания биохимических процессов и развития микроорганизмов.
Это один из основных способов холодильного консервирования продуктов без изменения их структурного состояния.
По принципу переноса теплоты способы охлаждения подразделяются на три группы:
путем конвекции (охлаждение продуктов в воздухе, упакованных в непроницаемые искусственные или естественные оболочки, а также в жидких средах);
в результате фазовых превращений (интенсивное испарение части содержащейся в продукте воды при его вакуумировании);
смешанным теплообменом (передача теплоты осуществляется конвекцией, радиацией и за счет теплообмена при испарении влаги с поверхности продукта).
Замораживание — процесс понижения температуры ниже криоскопической на 10.. .30 °С, сопровождаемый переходом почти всего количества содержащейся в нем воды в лед. Способы замораживания (контактные и бесконтактные) подразделяются на три группы:
замораживание в кипящем хладагенте;
замораживание в жидкостях как промежуточных хладоносителях;
замораживание в воздухе как промежуточном хладоносителе.
1.2 Назначение и классификация оборудования для охлаждения и замораживания
1.2.1 Классификация оборудования
В основу классификации аппаратов для охлаждения и замораживания пищевых сред положены следующие признаки: назначение цикла холодильной установки, способы получения холода, число ступеней охлаждения, вид и число рабочих веществ, температурный уровень охлаждения, полезная холодопроизводительность и др.
Представленная на рис. 1 (см. прилож.) система и классификация использует наиболее существенный технологический признак холодильной обработки пищевых продуктов, который во многом определяет их качество.
Обычно охладительные установки и охладители классифицируют на: непрерывного и периодического действия, открытые и закрытые, плоские и круглые, трубчатые и пластинчатые, однорядные и многорядные (пакетные), односекционные и многосекционные, прямоточные и противоточные. Среди аппаратов для охлаждения пищевых сред наибольшее распространение получили охладители открытого (оросительные и резервуарные) и закрытого (трубчатые и пластинчатые) типов. Для охлаждения мяса, мясопродуктов, птицы, рыбы, масла, сыра, фруктов и овощей используются камеры или туннели. Камеры охлаждения могут быть цикличного (периодического) или непрерывного действия. Они представляют собой теплоизолированные помещения, оборудованные подвесными конвейерами, приборами охлаждения и системами воздухораспределения. Туннель представляют собой теплоизолированные помещения, по ширине которых вдоль туннеля расположены три (четыре) подвесных пути, а воздух охлаждают с помощью воздухоохладителей различного типа. Камеры замораживания могут быть с естественной и принудительной циркуляцией воздуха, тупиковыми и проходными, периодического и непрерывного действия. Они оснащаются подвесными путями или стоечными поддонами. В камерах с естественной циркуляцией устанавливают пристенные и потолочные охлаждающие батареи, а с принудительной циркуляцией воздуха — воздухоохладители и специальные системы воздухораспределения. Морозильные аппараты бывают воздушными, плиточными и контактными. Воздушные морозильные аппараты представляют собой теплоизолированные туннели, внутри которых размещены охлаждающие батареи, вентиляторы и транспортирующие средства. Плиточные морозильные аппараты предназначены для замораживания упакованных продуктов (рыбного филе, мяса в блоках, плодоовощных наборов и др.) и имеют систему непосредственного охлаждения. Замораживание в контактных аппаратах проводят методом орошения или погружения. Фризеры бывают периодического и непрерывного действия, а эскимогенераторы карусельного типа. Льдогенераторы служат для приготовления снежного и чешуйчатого льда, причем снежный лед получают в льдогенераторах вертикального и горизонтального типов. По назначению различают бытовые холодильники, морозильники и холодильники-морозильники. В зависимости от способа получения холода бытовые холодильники могут быть компрессионными, абсорбционными и термоэлектрическими. В зависимости от способа их установки — напольными типа шкафа, напольными типа стола и блочно-встраиваемыми. В зависимости от числа камер — одно-, двух- и трехкамерными. Установки криогенного замораживания подразделяют на рефрижераторные, ожижительные и газоразделительные. Рефрижераторные установки предназначены для охлаждения и термостатирования, ожижительные — для перевода вещества в жидкое состояние, а газораспределительные—для разделения газовых смесей на составные компоненты.
1.2.2 Конструкции холодильников и камерного оборудования
Холодильник — это промышленное специально оборудованное здание с холодильной компрессорной установкой, обеспечивающей в здании температурно-влажностный режим, соответствующий технологическим нормам хранения или производства пищевых продуктов.
В холодильниках поддерживают пониженную температуру воздуха (-12° ÷ -30°С) и повышенную относительную влажность — 80-95%.
Для создания и поддержания таких параметров воздуха здания холодильников сооружают без окон, они имеют мощную тепловую изоляцию кровли, наружных и внутренних ограждений, дверей, оснащаются оборудованием для охлаждения помещений и устройствами для предотвращения промерзания грунта в основании здания.
Различают следующие типы холодильников:
Заготовительные холодильники предназначены для первоначальной холодильной обработки, кратковременного хранения и подготовки заготовляемых продуктов к транспортировке на торговые предприятия или распределительные холодильники.
Производственные холодильники являются составной частью пищевых предприятий и осуществляют холодоснабжение технологических процессов производства. Их используют для охлаждения, замораживания и хранения сырья и готовой продукции. Примером может служить холодильник мясокомбината (рис . 1.1) .
Распределительные холодильники предназначены для создания и хранения резервных, сезонных, текущих и страховых запасов скоро портящегося сырья и готовой продукции, обеспечивающих ритмичность производства пищевых отраслей и равномерное снабжение пищевыми продуктами населения в течение года.

1 - переходная галлерея с туннелем предохлаждения (температура воздуха t>В> =-20ºС, скорость движения 6 м/с ); 2 – туннель предохлаждения перед охлаждением; 3 - туннель предохлаждения перед замораживанием; 4 - камера замораживания; 5 - камера программированного охлаждения; 6 - камера хранения охлажденного мяса; 7 – разгрузочный коридор; 8 – камера хранения мороженого мяса; 9 – экспедиция; 10 – железнодорожная платформа; 11 - авторефрижераторная платформа; 12 – машинное отделение.
Рисунок 1.1 - План холодильника мясокомбината
Базисные холодильники предназначены для длительного хранения резервов скоропортящихся продуктов (госрезервы).
Холодильники продовольственных баз предназначены для обслуживания торговой сети небольших городов. На эти холодильники поступают пищевые продукты с производственных и распределительных холодильников.
Перевалочные холодильники предназначены для кратковременного хранения грузов при передаче их с одного вида транспорта на другой, например, с железнодорожного транспорта на автомобильный и наоборот.
Холодильники предприятий розничной торговли и общественного питания предназначены для краткосрочного хранения запасов продуктов, которые реализуются предприятиями в течение нескольких дней.
Холодильники смешанного назначения могут выполнять функции перечисленных выше видов.
По грузовместимости холодильники подразделяют на малые (до 500 т), средние (до 5000 т) и крупные (свыше 5000 т). Грузовместимость (емкость) холодильников выражают в тоннах условного груза. За условный груз принимается мясо в полутушах, имеющее при укладке на пол в штабель объемную массу 0,35 т/м2 или при размещении на подвесных путях загрузку 0,25 т на 1 м пути (исключая распределительные пути и стрелки). Конструкции здания холодильника подразделяют на несущие и ограждающие. Схемы данных конструкций приведены на рисунке 1.2 . Ограждающие конструкции защищают помещения здания от воздействия внешней среды (стены и покрытия) или условий соседних помещений (межэтажные перекрытия в многоэтажных холодильниках, полы, внутренние стены). Несущие конструкции воспринимают вес ограждающих конструкций, содержимого холодильника ( если груз подвешен на подвесных путях ), а также оборудования для транспортировки и холодильной обработки грузов .В одноэтажных холодильниках несущие конструкции монтируют из сборных железобетонных элементов-колонн, балок и плит покрытия. Сетка колонн 6x12 м. Стены самонесущие. Нагрузка на пол до 4000 кг/м2.

а - стена: 1 - цементно-известковая штукатурка по металлической сетке; 2 - теплоизоляция; 3 - пароизоляция; 4 - битумная грунтовка; 5 - цементная штукатурка; 6 - кирпичная стена; 7 - штукатурка цементным раствором ;
б - стуктура стены холодильника: l - перегородка кирпичная с плиточной теплоизоляцией; 2 - кирпичная кладка; 3 - цементно-известковая штукатурка по сетке; 4 - пароизоляция; 5 - плиточная изоляция; 6 - штукатурка; 7 - антисептированные рейки, покрытые битумом ;
в - покрытие одноэтажного холодильника: 1 - кровельный ковер из рулонных материалов; 2 - защитный слой из окатанного гравия; 3 - пять слоев гидроизола или рубероида на горячей битумной мастике; 4 - холодная битумная грунтовка; 5 - армобетонная стяжка; 6 - керамзитовый гравий слоем от 100 до 330 мм; 7 - пенополистирол ПС-БС; 8 - пароизоляция; 9 - железобетонная конструкция покрытия; 10 - металлические стойки .
Рисунок 1.2 – Строительно–изоляционные конструкции холодильников
В наружных стенах зданий можно выделить три основных слоя. Средний слой — тепловая изоляция из теплоизоляционных материалов. Наружный слой — несущий, выполняется из кирпича или железобетонных панелей . Между наружным слоем и тепловой изоляцией осуществляется пароизоляция, защищающая тепловую изоляцию от увлажнения.
Третий слой — внутренний — оштукатурен и предназначен для защиты теплоизоляции от разрушения при грузовых работах на холодильнике.
В последнее время строят одноэтажные холодильники из облегченных конструкций. Элементы наружных стен и покрытия монтируют из облегченных трехслойных панелей "сэндвич" (рис 1.3). В этом случае большие холодильные камеры могут быть без внутренних колонн. Здания холодильников такого типа бывают двух видов; с внутренним или наружным каркасом.
1
- профилированный лист из стали или
алюминия (δ>ал>=3 мм); 2 - теплоизоляция
(пенополиуретан); 3 - гнутый профиль из
стали или алюминия; 4 - полиэтиленовый
колпак на эпоксидной смоле; 5 - уплотняющий
профиль из эластичного пенополиуретана;
6 - бакелизированная фанера; 7 -
герметизирующая мастика; 8 - участок
теплоизоляции, пропитанный синтетическими
смолами .
Рисунок 1.3 - Конструкция наружной стены из панелей «сэндвич»
Данная строительная конструкция холодильника и, в частности, его теплоограждающая конструкция являются на сегодняшний день самой передовой среди существующих в данной области.

Рисунок 1.4 - Схема строительной конструкции холодильника из панелей «сэндвич»
В отличие от существующих зданий холодильников, каркасы которых выполняются из сборных железобетонных конструкций с многослойными ограждающими стенами из кирпича или железобетонных панелей с тепловой изоляцией, каркас холодильных модулей выполняется из металлических рам, профильного железа и трубных стоек, а стены — из теплоизолированных пенополиуретаном панелей типа "сэндвич". Такая конструкция модуля позволяет транспортировать его в разобранном виде по железной дороге и автомобильным транспортом (рис.1.4).
Холодильник имеет каркас из колонн 6 и балок 10. Сетка колонн имеет размеры 6×6 (36) м. С помощью крепежных элементов к колоннам крепятся изолирующие стеновые панели «сэндвич» 7, а на балки укладываются потолочные панели 8. Верх холодильника покрывается кровлей 9, имеющей дополнительную теплоизоляцию для защиты потолочных панелей от нагревания прямым солнечным излучением. Колонны ставятся на специальные фасонные опоры и скрепляются с опорной поверхностью анкерными болтами.
Изолирующие панели типа «сэндвич» изготавливаются из двух аллюминиевых или стальных листов 14 и 15 толщиной 1 мм [λ >ал >= 210 Вт/(м×К)], между которыми нагнетается жидкий пенополиуретан, который при застывании превращается в жесткую пену 11 с очень низкой теплопроводностью [λ>из>=0,035.:.0,04 Вт/(м×К)]. Толщина готовой панели бычно составляет 150 – 200 мм. Металлические листы штампуются таким образом, что изолирующий слой пенополиуретана полностью изолируется от окружающей атмосферы, то есть находится в герметичной полости панели. В результате получается полная и надежная пароизоляция пенополиуретана от влаги, содержащейся в воздухе.
На стыках между панелями устанавливаются прокладки 12 из каучуковой ленты, а внешняя поверхность стыка замазывается герметизирующей смесью 13.
Данная конструкция легка в монтаже. Холодильники с применением новой строительной технологии монтируются в течение нескольких месяцев. Стоимость строительства этим методом на 40-50 % ниже стоимости строительства традиционными методами. Кроме того, теплоизоляционные панели неприхотливы к условиям эксплуатации и не требуют ухода и технического обслуживания.
Покрытия холодильников состоят из несущих конструкций (балок, ферм, плит), теплоизоляции и плоской кровли — гидроизоляции и основания под нее.
Для гидроизоляции наклеивают на горячей битумной мастике на основание 4-5 слоев рубероида. Для повышения отражающей способности кровли на ее поверхность укладывают более светлый материал. В России разработан и выпускается теплоотражательный материал ДМПС (дублированный металлизированной пленкой спецматериал), имеющий степень черноты не более 0,06.
При замерзании грунта создается вертикальная выталкивающая сила, воздействующая на здание. Это приводит к деформации полов и конструкций здания и даже к его разрушению. Грунт в основании холодильника защищают от промерзания путем подвода тепла к основанию здания одним из трех способов: теплым воздухом, нагретой жидкостью и электрообогревом. Пол холодильника имеет следующее устройство: на укатанном слое грунта делается бетонная стяжка 1, в которую закладываются металлические или асбестовые трубы 2, назначение которых – обогрев строительной конструкции пола для защиты грунта от промерзания. Для обогрева применяются маслообразные жидкости или горячий воздух из калорифера. На бетонную стяжку укладывается слой гидроизоляции 3 для защиты камеры от влаги. Далее создается термоизоляция 3 – самая ответственная часть пола, подлежащая расчету. Обычно в качестве термоизоляции используют пенобетон. На термоизоляцию наносится слой 5 сверхпрочного бетона или асфальт (чистый пол).
По воздушной системе обогрева грунта летом вентилятором прогоняется теплый наружный воздух, а зимой — подогретый (рис.1.5, а).
При жидкостном обогреве в железобетонную плиту основания, расположенную под полом, закладывают систему трубопроводов (рис. 1.5, б), по которой с помощью насоса циркулирует жидкость (этиленгликоль, смазочное масло), подогреваемая в теплообменниках паром, электроэнергией и т.д. Электрический обогрев осуществляется электронагревателями, к которым электрический ток подводится через трансформаторы, понижающие напряжение до 36 В.
Стальные стержни (арматурная проволока) укладывают в бетонные плиты основания. Особое внимание уделяют гидроизоляции всей конструкции пола, которую выполняют в виде двух слоев гидроизола на горячей битумной мастике.
В зоне расположения устройств для обогрева грунта необходимо поддерживать температуру 2°С.

а - шанцевые; б - с подогревом электротоком или горючим маслом; 1 - асфальт слоем 40 мм; 2 - бетонное основание толщиной 120 мм; 3 - керамзитовый щебень слоем 400-700 мм; 4 - керамзитовый щебень слоем 100 мм; 5 - гидроизоляция; 6 — асбоцементные трубы диаметром 300 мм; 7 - грунтовая засыпка; 8 - электронагреватели или трубы с горячим маслом; 9 - уплотненный грунт.
Рисунок 1.5 - Конструкции полов холодильников
Если несущие колонны металлические, то их крепление осуществляется анкерными болтами (рис.1.6).
Межкамерные перегородки сооружают из блоков строематериалов с хорошими теплоизоляционными свойствами (пенобетон, пеностекло) или двуслойными - кирпичная стенка (бетонные панели) и эффективная изоляция с защитой от увлажнения пароизоляцией и оштукатуриванием внешних поверхностей.
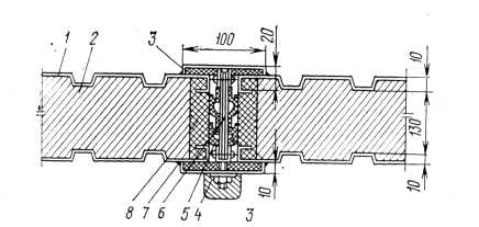
В холодильниках устанавливают специальные изолированные двери. Конструкция крепления откатной двери представлена на рисунке 1.7.

Рисунок 1.6 - Крепеж металлических колонн анкерными болтами
Для уменьшения притока теплого воздуха в охлаждаемые помещения при открывании дверей их оснащают воздушными завесами (рис. 1.8) или брезентовыми шторами.

Рисунок 1.7 – Крепление откатной двери холодильника

Рисунок 1.8 – Схема воздушной завесы
Камеры холодильников в зависимости от назначения классифицируются:
1) по назначению: (камеры охлаждения продуктов , камеры хранения охлажденных продуктов, камеры замораживания, камеры хранения замороженных продуктов);
2) по характеру действия (камеры непрерывного и периодического действия );
3) по конструкции (камеры проходного и тупикового типа);
4) по способу хранения груза (камеры хранения груза штабелированием или на подвесных путях);
5) по способу циркуляции воздуха (с естественной или принудительной циркуляцией воздуха).
Камеры охлаждения (рис. 1.9) с поперечным движением воздуха или с дутьем воздуха сверху вниз предназначены для охлаждения мяса и могут быть циклического (периодического) или непрерывного действия.
Вместимость камер циклического действия рассчитывают не более чем на полусменную производительность цеха первичной переработки скота, а непрерывного — на всю выработку мяса в смену.
Камера охлаждения с поперечным движением воздуха (рис. 1.9, а) состоит из воздухоохладителя 1, перегородок 2, охлаждаемых полутуш мяса 3, перемещаемых с помощью подвесного пути 4 (стрелки показывают направление движения воздуха).
Камера охлаждения с дутьем воздуха сверху вниз (рис. 1.9, б) включает в себя воздухоохладитель 1, вентилятор 2, ложный потолок 4 и охлаждаемые туши 5, перемещаемые с помощью подвесного пути 3. На подвесных путях камер охлаждения туши размещают с интервалами на рамах в 30...50 мм.
На участке подвесного пути длиной 1 м размещают 2...3 говяжьих или 3...4 свиных полутуши. Крупные туши размешают в зоне с наиболее низкой температурой и наиболее интенсивным движением воздуха.
Камеры замораживания (рис. 1.10) обеспечивают замораживание мяса и мясопродуктов и состоят из батарей и воздухоохладителей и могут быть с вынужденным или естественным движением воздуха.

Рисунок 1.9 - Схема камеры охлаждения мяса :
а) с поперечным движением воздуха; б) с дутьем воздуха сверху вниз
Оборудование камеры замораживания туннельного типа с поперечными движением воздуха (рис. 1.10, а) состоит из потолочных воздухоохладителей с направляющими аппаратами 6, расположенных над ложным потолком 3 и подвесными путями 5, укрепленными на подвесках 2. Охлажденный в воздухоохладителях воздух через нагнетательные отверстия 4 в ложном потолке омывает полутуши мяса, и отепленный воздух через всасывающее отверстие вновь направляется на охлаждение в воздухоохладитель.
В морозильной камере туннельного типа с межрядными батареями (рис. 1.10, б) размещено четыре туннеля, в каждом из которых имеется один подвесной путь для подвешивания и передвижения мяса. Вдоль стен каждого туннеля установлены пристенные оребренные батареи 6. Нагнетаемый вентилятором 3 воздух по каналу, образованному ложным потолком и перекрытием камеры, через нагнетательное отверстие 1 направляется в первый туннель, в котором, двигаясь сверху вниз, омывает замораживаемые полутуши.

Рисунок 1.10 – Схема камеры замораживания мяса :
а) с поперечным движением воздуха; б) c межрядными батареями
Через отверстие 5 в нижней части перегородки 2 первого туннеля воздух попадает во второй туннель, в котором он циркулирует уже снизу вверх. Далее воздух через отверстие перегородки переходит в третий туннель, опускается вниз и направляется в четвертый туннель, из которого засасывается вентиляторами через всасывающее отверстие 4, и снова направляется в первый туннель. Приближение в таких камерах теплоотводящих приборов поверхности продукта дает возможность использовать не только конвективный, но и радиационный теплообмен, что сокращает продолжительность замораживания и уменьшает усушку.
Камеры замораживания с ложным потолком (рис.1.11) имеют воздухоохладитель с всасывающим отверстием около пола камеры. Охлажденный воздух выбрасывается вентилятором 1 в пространство между перекрытием и ложным потолком. В грузовой объем воздух поступает через щелевые сопла 2 по обе стороны ниток подвесных путей 3.

Рисунок 1.11 – Камера замораживания с ложным потолком
К камерным приборам охлаждения относятся воздухоохладители и пристенные батареи.
Воздухоохладители бывают постаментные и подвесные и компонуются из секций-модулей. Распространены воздухоохладители из оребренных труб или пластин с каналами, внутри которых кипит хладагент или циркулирует хладоноситель. Воздух продувается с помощью вентилятора. Разность температур воздуха и поверхности охлаждения может достигать 12°С.
Для охлаждения камер длительного хранения мороженых грузов используют панельные батареи, представляющие собой стальные листы, к которым приваривают цельнотянутые трубы. Пристенные и потолочные батареи (рис. 1.12) могут применяться как отдельно от воздухоохладителей (тихое охлаждение), так и совместно с ними. Наружная поверхность труб может быть гладкой или оребренной.

1 – труба; 2 – лента; 3 – уголок; 4 – хомутик; 5 – калач
Рисунок 1.12 – Пристенная батарея
1.3 Патентная проработка проекта
1.3.1 Камера холодильной обработки мяса с системой увлажнения воздуха
Целью изобретения является снижение усушки.
Камера для холодильной обработки мясных туш (рисунок 1.13) содержит теплоизолированный корпус 1 с дверями 2, 3 для загрузки и выгрузки туш, систему циркуляции воздуха, включающую расположенные вдоль корпуса воздухоохладители 4 с нагнетательными патрубками 5, подвесные пути 6 для размещения мясных туш. Система циркуляции воздуха снабжена линией подвода увлажненного воздуха, содержащей всасывающий раструб 7 с вентилятором 8, размещенный над дверью 2 для загрузки и распределительный коллектор 9 с отводными трубками 10, подсоединенными к нагнетательным патрубкам воздухоохладителей 4.

Рисунок 1.13 - Камера холодильной обработки с увлажнением воздуха
При эксплуатации камеры через загрузочную дверь 2 по подвесному пути 6 парные мясные туши поступают в полость корпуса 1. Воздух с помощью вентиляторов подается в батареи воздухоохладителей 4. После охлаждения поступает в грузовой объем, омывает поверхность мясных туш и охлаждает их. В процессе загрузки камеры происходит воздухообмен между полостью корпуса 1 и смежным помещением, из которого производится загрузка мясных туш. Теплый и влажный воздух проникает в корпус через верхнюю часть загрузочной двери 2 и поднимается в раструб 7. Из раструба 7 с помощью вентилятора 8 по коллектору 9 влажный и теплый воздух подается в нагнетательные патрубки 5, где смешивается с холодным и сухим воздухом из воздухоохладителей 4. Это приводит к увеличению влажности охлаждающего воздуху, поступающего в полость корпуса 1 (грузовой объем) и омывающего поверхность охлаждаемых мясных туш, и, соответственно, к снижению интенсивности усушки.
Данное устройство позволяет снизить усушку на 10- 15%.
Камера для холодильной обработки мясных туш, содержащая теплоизолированный корпус с дверью для загрузки мясных туш, подвесные пути, систему циркуляции воздуха, включающую расположенные вдоль корпуса воздухоохладители, отличается тем, что, с целью снижения усушки, система циркуляции воздуха снабжена линией подвода увлажненного воздуха, содержащей всасывающий раструб с вентилятором, размещенный над дверью для загрузки, и распределительный коллектор с отводными трубками, подсоединенными к нагнетательным патрубкам воздухоохладителя [Приложение Б а.с. № SU 1763824 А1].
1.3.2 Конструкции камерных приборов охлаждения
Изобретение относится к камерным пристенным и потолочным батареям.
Цель изобретения - снижение энергозатрат и сокращение времени оттаивания.
Поставленная цель достигается тем, что в охлаждающей батарее, содержащей теплообменные элементы в виде труб для циркуляции хладагента , имеющих наружное продольное оребрение, ребра выполнены из трех продольных полос, при этом первое ребро установлено в верхней части трубы в вертикальной плоскости , а два других ребра расположены по обе стороны на равном расстоянии oт первого и закреплены на нижней части трубы под углом 10 - 90 к горизонтальной оси поперечного сечения трубы.
Выполнение наружного оребрения в виде трех ребер, представляющих собой продольные полосы, позволяет разделить намораживаемый лед на три не связанных между собой цилиндра. В связи с этим для сбора льда необходимо подпустить только такое количество теплоты, которое необходимо для подтаивания ледяного слоя в зоне контакта последнего с наружной поверхностью труб высотой, равной высоте микровыступов поверхности труб. При образовании жидкой фазы адгезия льда с поверхностью труб и ребер полностью нарушается и части цилиндра под действием силы тяжести соскальзывает с труб.
Установка первого ребра в верхней части в вертикальной плоскости, размещение двух других по обе стороны от первого и закрепление их на нижнем полуцилиндре трубы под углом 10-90° к горизонтальной оси поперечного сечения трубы позволяют наиболее эффективно использовать силу тяжести при удалении частей цилиндров льда.
В случае выполнении ребер с углом более 90° боковые ребра оказываются полностью покрытыми слоем льда и не могут разделять оседающий иней на раздельные части. Кроме того, боковые ребра препятствуют удалению нижней части цилиндров льда. При выполнении ребер с углом меньше 10° затрудняется удаление боковых частей цилиндров льда, так как значительно возрастает сила трения. В этом случае резко ухудшается эффект соскальзывания инея боковых частей цилиндров. Наиболее целесообразно использовать предлагаемое устройство в качестве потолочной батареи. В этом случае основная масса инея нарастает на нижней части батареи и боковые ребра перехватывают своей нижней частью поток массы водяного пара. Следовательно, на боковых и верхней частях трубы оседает минимальное количество инея.
Охлаждающая батарея (рисунок 1.14) содержит трубы 1 для циркуляции хладагента, имеющие наружные продольные ребра 2 - 4, выполненные в виде полос, ребра 2 установлены в верхней части трубы 1 в вертикальной плоскости, а ребра 3 и 4 расположены по обе стороны на равном расстоянии от ребра 2 и закреплены на нижней части трубы 1 под углом α=10 - 90° к горизонтальной оси поперечного сечения трубы 1.

Рисунок 1.14 – Сечения предлагаемых конструкций
При расположении ребер 3 и 4 на нижней части трубы под углом 90° к горизонтальной оси 5 поперечного сечения трубы 1 расстояние между ребрами 3 и 4 нецелесообразно выполнять менее 0,3 наружного диаметра трубы, так как при таком расстоянии возможно быстрое зарастание инеем межреберного пространства, что значительно снижает эффективность работы охлаждающей батареи.
Использование предлагаемой охлаждающей батареи позволяет снизить по сравнению с известными устройствами энергозатраты в режиме оттаивания в 3,0-3,5 раза, сократить длительность процесса в 4,0-5,0 и снизить металлоемкость в 1,4 – 1,8 раз [Приложение В а.с. № SU 1719824 A1].
1.4 Формулирование идеи реконструкции и обоснование технического решения
На основании анализа конструкции камеры охлаждения, технологии мясоперерабатывающего производства и оборудования, входящего в его состав, а также в результате патентной проработки проекта в курсовом проекте предлагается:
В камере холодильной обработки мясных туш, содержащей теплоизолированный корпус с дверью для загрузки мясных туш, подвесные пути, систему циркуляции воздуха, включающую расположенные вдоль корпуса воздухоохладители установить на систему циркуляции воздуха линию подвода увлажненного воздуха, содержащую всасывающий раструб с вентилятором, размещенный над дверью загрузки, и распределительный коллектор с отводными трубками, подсоединенными к нагнетательным патрубкам воздухоохладителя, что приведет к снижению интенсивности усушки мясных туш, меньшим потерям продукта и облегчению проведения последующих операций переработки мяса.
В камеру холодильной обработки мясных туш установить систему охлаждающих батарей, элемент которой выполнен в виде трубы для циркуляции хладагента, имеющей наружное продольное оребрение, причем, ребра выполнены из трех продольных полос: первое установлено в верхней части трубы в вертикальной плоскости, а два других ребра расположены по обе стороны на равном расстоянии от первого и закреплены на нижней части трубы под углом 50˚ к горизонтальной оси поперечного сечения трубы, что приведет к снижению энергозатрат, сокращению времени оттаивания батарей, снижению металлоемкости, интенсификации охлаждения воздуха в камере, что в конечном итоге скажется на производительности рассматриваемой холодильной камеры.
2 Расчетная часть
2.1 Расчет теплоизоляции пола камеры замораживания
Теплоизоляционная конструкция обогреваемого пола приведена на рисунке 2.1. Теплоизоляционный материал - пенобетон [λ>из> = 0,19 Вт/(м·К)]. Учитывать сопротивление только слоев, расположенных выше обогревающих устройств, т.е сопротивление половины толщины бетонной подготовки.

Рисунок 2.1 - Конструкция пола камеры замораживания
Толщина слоя теплоизоляции
(2.1)
где λ>из>=0,19 Вт/(м·К) – коэффициент теплопроводности пенобетона;
κ = 0,17 Вт/(м2·К) – коэффициент теплопередачи пола при t>В>=-35°С;
α>в> =10,44 Вт/(м2·К) – коэффициент теплоотдачи от пола к воздуху;
δ>ас>=60 мм – толщина слоя чистого пола (асфальт);
λ>ас>=0,8 Вт/(м·К) – коэффициент теплопроводности чистого пола;
λ>жб>=1,5 Вт/(м·К) – коэффициент теплопроводности бетонной
подготовки;
δ>жб>=120 мм – толщина слоя бетонной подготовки;
δ>б>=100 мм – толщина слоя бетонной подготовки с электронагревателями;
λ>б>=1,5 Вт/(м·К) – коэффициент теплопроводности бетонной
подготовки.

2.2 Расчет конденсации влаги на стеновых панелях
Необходимо определить, возможна ли конденсация влаги на внутренней поверхности наружной стены холодильника, расположенного в ЦЧР и изготовленного из панелей типа «сэндвич» (рисунок 2.2) для условий холодного периода года в камере хранения охлажденных грузов.
Чтобы не допустить конденсацию влаги на панели (со стороны камеры) в холодный период года, необходимо выполнить условие
; (2.2)
где k>p> — коэффициент теплопередачи, рассчитанный из условия невыпадения влаги на теплой поверхности ограждения, Вт/(м2·К);
t>в> =0 °С — температура воздуха в камере охлаждения;
t>Р> = -1,3 °С — температура точки росы при t>B>> >= 0 °C и φ>в>=90 %;
= - 40 °С — расчетная температура наружного
воздуха для холодного периода Воронежской
области;
m =1 - массивность ограждения для холодильных камер;
α>в> = 9,28 Вт/ (м2 ∙ К) – коэффициент теплоотдачи воздуха;

1 — профилированный лист из стали или алюминия (δ>ал>=3 мм); 2 — теплоизоляция (пенополиуретан); 3 —гнутый профиль из стали или алюминия; 4 — полиэтиленовый колпак на эпоксидной смоле; 5 — уплотняющий профиль из эластичного пенополиуретана; 6 — бакели-зированная фанера; 7 — герметизирующая мастика; 8 — участок теплоизоляции, пропитанный синтетическими смолами
Рисунок 2.2 - Конструкция наружной стены из панелей «сэндвич».
Тогда
Вт/(м2·К)
Действительный коэффициент теплопередачи
;
(2.3)
где α>н>=23,3 Вт/ (м2·К) – коэффициент теплоотдачи наружного воздуха;
α>в> = 9,28 Вт/ (м2 • К) – коэффициент теплоотдачи воздуха;
λ>ал>=210 Вт/(м·К) – коэффициент теплопроводности аллюминия;
δ>ал>=0,003 м – толщина аллюминиевого листа;
λ>из>=0,14 Вт/(м·К) – коэффициент теплопроводности пенополиуретана;
δ>из>=0,15 м – толщина слоя пенополиуретана;
Вт/ (м2·К)
В итоге получаем соотношение κ>д >=0,26 Вт/ (м2·К) < κ>р> = 0,268 Вт/(м2·К). Следовательно, условие невыпадения влаги на поверхности ограждения соблюдается.
Таким образом, в холодильной камере конденсация водяных паров из воздуха на внутренней поверхности наружной стены не возникает, если температура наружного воздуха t>н.р >≥ - 40°С , а параметры внутреннего воздуха соответствуют заданным.
2.3 Определение толщины теплоизоляции всасывающего трубопровода холодильной установки
Трубопровод диаметром d>TP>> >= 108×4 мм изолирован скорлупами СК-5 из пенополистирола
Минимальную толщину теплоизоляции холодильных трубопроводов, обеспечивающую предотвращение конденсации водяных паров из окружающего воздуха, определяют из уравнения

(2.4)
где t>н >= 10 °С – температура воздуха в помещении, по которому проходит трубопровод;
t>0>= - 45 °С – температура холодильного агента, проходящего по трубопроводу;
t>p>=5,4 °C — температура точки росы окружающего воздуха (при t>н >= 10 °С и φ>Н> = 75 %);
α>н>=7 Вт/(м2·К) - коэффициент теплоотдачи от окружающего воздуха к наружной поверхности трубопровода;
D>из> = 0,26 м - наружный диаметр теплоизоляции трубопровода;
λ>из >= 0,035 Вт/(м·К) – коэффициент теплопроводности пенополистирола;
d>TP>> >= 0/108 м – диаметр трубопровода.
Условие невыпадения влаги из воздуха на наружной поверхности трубопровода записываем в следующем виде:

11,95 < 28,84
Результаты расчета показывают, что необходимое условие, при котором левая часть неравенства должна быть меньше правой, соблюдается. Таким образом, при заданных исходных параметрах конденсация водяных паров из воздуха на поверхности трубопровода не возникает.
2.4 Определение площади теплопередающей поверхности охлаждающих батарей
Пристенные батареи установлены в камере охлаждения мясных туш, выполнены из гладкостенных труб диаметром D>H>=57×3,5 мм с продольным звездообразным оребрением (рисунок 2.3) и имеют по высоте 9 труб с шагом S = 310 мм. Способ подачи холодильного агента (аммиака) - насосный с нижней подачей. Параметры воздуха в камере: t>B>> >= -20°С; φ>в >= 95%. Тепловая нагрузка Q>об >= 26 кВт.

Рисунок 2.3 -Труба с продольным звездообразным оребрением
Площадь теплопередающей поверхности F>пр> (в м2) пристенных батарей определяем по формуле
(2.5)
где F>1> – площадь одной оребренной батарей, м2;
n>1> – количество батарей (труб), n>1>=9;
n>2> – количество пристенных батарей в камере, n>2>=4.
Для труб со звездообразным продольным оребрением площадь наружной поверхности
(2.6)
где F>реб> – площадь поверхности ребер на одной батареи, м2;
F>тр> – площадь поверхности трубы батареи, м2;
(2.7)
где (D-D>н>) – меньший линейный размер ребра, м;
(l>1>+2∙l>2>) – суммарная длина одного ребра, м.
(2.8)
где L>тр> – длина трубы, м.




Тепловая нагрузка на пристенные батареи Q>пр>, кВт
Q>пр> = к>пр>·F>пр>·Δt ; (2.9)
где к>пр> - коэффициент теплопередачи пристенных батарей, Вт/(м2 К);
Δt =8 °C - разность между температурами воздуха и хладагента, °С.
к>пр> = ( α>р> + α>к>·ξ ) · e>т> ·χ (2.10)
где α>Р> - коэффициент теплоотдачи радиацией и конвекцией, Вт/(м2·К);
α>к> - коэффициенты теплоотдачи конвекцией, Вт/(м2·К);
ξ = 1,125 - коэффициент влаговыпадения;
е>Т> = 0,8...0,9 - коэффициент, учитывающий термическое сопротивление теплопередаче загрязнений на внутренней поверхности труб (масло и др.) и на наружной (снеговая шуба);
χ - коэффициент, учитывающий количество и способ размещения охлаждающих труб по высоте.
Коэффициент теплоотдачи α>р> радиацией определяем по формуле
,
(2.11)
где С>о>=5,76 Вт/(м2·К4) - коэффициент излучения абсолютно черного тела;
ε>п> - приведенная степень черноты системы ;
ψ — коэффициент облученности.
Для приближенных расчетов ε>п> можно использовать упрощенную зависимость
ε>п> =ε>1>·ε>2> , (2.12)
где ε>1> = 0,96 – степень черноты батареи , покрытой снегом;
ε>2>=0,91 - степени черноты поверхности стены .
Тогда
ε>п> =0,96·0,91=0,874
Коэффициент облученности ψ принимаем по таблицам. При отношений S/D>H>= 310/57 = 3,15 коэффициент ψ = 0,87 для однорядной пристенной батареи.
Подставляем известные данные и рассчитываем коэффициент теплоотдачи α>р>
Вт/(м·К)
Коэффициент теплоотдачи α>к> конвекцией при свободном движении находим с помощью обобщенной зависимости
Nu = 0,54·(Gr·Pr)0,25, (2.13)
откуда
;
(2.14)
где Nu, Gr, Рr - соответственно число Нуссельта, Грасгофа и Прандтля;
λ>B> =2,25·10-2 Вт/(м·К) - коэффициент теплопроводности воздуха;
β>в> =0,004 1/°С - коэффициент объемного расширения воздуха;
g = 9,81 м/с2- ускорение свободного падения;
D>н> = 0,057 м - диаметр трубы, м;
ν>B> = 11,36·10-6 м2/с - коэффициент кинематической вязкости воздуха;
Δt>ст> - разность между температурами воздуха и наружной поверхности батарей, °С.
Δt>ст> = t>в> - t>ст> (2.15)
При определении разности Δt>ст> предварительно находим температуру кипения t>0> холодильного агента и температуру наружной поверхности t>CT> охлаждающих труб. При учитываем следующие соотношения:
t>B> – t>0> = 8 °С, (2.16)
t>ст >= t>0 >+ 2 (2.17)
где t>0 >- температура кипения хладагента в батареях;
t>B> - температура воздуха в камере;
t>ст >– температура внешней поверхности охлаждающих труб;
t>0 >=-20-8 = -28 °С;
t>ст >= -28+2 = -26 °С;
Тогда
Δt>ст> = -20 - (-26) = 6 °С
Входящие в уравнение α>к> значения β>В >, λ>В> ,ν>В> , Рr определяем с учетом средней температуры воздуха t>m>
(2.18)

При этом
(2.19)
1 / ºC
Значения λ>в> , ν>B> и Рr принимаем равными соответствующим значениям для сухого воздуха при t>m>=-23 °С и находим по таблицам.
При известных данных
Вт/(м·К)
Коэффициент влаговыпадения ξ определяем по уравнению
; (2.20)
где d>B> = 0,6·10-3 кг/кг - влагосодержание воздуха при температуре t>В> и относительной влажности φ>в>;
= 0,34∙10 -3 кг/кг - влагосодержание
насыщенного воздуха при температуре
поверхности t>СТ
> охлаждающих труб;
Коэффициент χ находим из рисунка 2.4: χ>пр> = 0,95.

Рисунок 2.4 - Коэффициент χ для учета влияния количества и способа расположения труб по высоте.
При известных данных коэффициент теплопередачи составляет:
к>пр >= (2,74+4,72·1,125)·0,9·0,95 =6,883 Вт/(м·К);
Получаем, что
Q>np> = 6,883∙80,4∙8 = 27,17 кВт.
Расчетная тепловая нагрузка батарей превышает заданную на 4,5%.
Охлаждающие батареи размещаем вблизи поверхности перегородки, разделяющей камеру и коридор, что позволит локализовать наружные теплопритоки, проникающие в камеру.
Для определения вместимости батарей предварительно находим внутренний объем труб
V=L·υ>TP>> >; (2.21)
где V - внутренний объем труб охлаждающих батарей, м3;
υ>тр> - внутренний объем 1 м трубы, м3/м.
Внутренний объем 1 м труб охлаждающих батарей, не имеющих внутреннего оребрения,
υ>TP>> >=3,14·D2 / 4 (2.22)
где D — внутренний диаметр трубы, м (D = 57 - 2×3,5 = 50 мм).
Находим, что
υ>тр>=3,14∙0,052/4=1,96·10-3 м3/м,
V = 132,48·1,96·10-3 = 0,26 м3
Норма заполнения охлаждающих батарей жидким холодильным агентом в насосных схемах с нижней подачей η>3>=0,7. Плотность холодильного агента р>а >= 0,66 т/м3. Следовательно, вместимость батарей по холодильному агенту
G>A>=V·η>3>·ρ>a>> > (2.23)
G>A>= 0,26∙0,7∙0,66 = 0,12 т.
Определяем металлоемкость охлаждающих батарей
G>M> = G>np> + G>no>>т> = L·m>Т>, (2.24)
где G>M> , G>np> , G>no>>т> – соответственно металлоемкость всех батарей, кг;
L – суммарная длина всех труб батарей, м;
m>Т> - масса 1 м трубы охлаждающей батареи, кг/м (для гладкостенной трубы с продольным звездообразным оребрением D>н>= 57×3,5 мм m>т>=8.3 кг/м).
L=L>тр>∙n>1>∙n>2> ; (2.25)
L=3,68∙9∙4=132,48 м.
Таким образом,
G>M>> >= 132,48·8,3 = 1100 кг.
2.5 Расчет необходимого количества воздухоохладителей коридора
Определить необходимую площадь теплопередающей поверхности подвесных воздухоохладителей типа ВОП , устанавливаемых в разгрузочном коридоре холодильника мясокомбината , и вместимость воздухоохладителей по холодильному агенту, если тепловая нагрузка Q>об >= 32 кВт, коэффициент теплопередачи воздухоохладителей k = 12 Вт/(м2·К).
Принимаем разность Δt = 9°C и определяем необходимую площадь теплопередающей поверхности
(2.26)

Так как площадь теплопередачи F>0> одного воздухоохладителя ВОП-150 составляет 150 м2, устанавливаем два воздухоохладителя ВОП-150 или их импортные аналоги . Вместимость воздухоохладителей по холодильному агенту определяем по формуле
G>a>=V>a>>1>×n>во>×ρ>a> , (2.27)
G>a>=V>a>>1>×n>во>×ρ>a> = 30×4×0,66 = 79,2 кг ,
где V>a>>1> = 30 л- вместимость по холодильному агенту одного воздухоохладителя.
2.6 Расчет массового расхода приточного воздуха в камере замораживания
Необходимо рассчитать массовый расход приточного воздуха и осевую скорость его движения в указанной зоне для камеры замораживания мясных полутуш, если воздух подается через сопла, выполненные в ложном потолке , расположенном ниже балок подвесных путей (рисунок 2.5) .
Задаемся следующими размерами: ширина сопла b>c>=2 b>0 >= 0,1 м ; длина сопла l>с> = 0,1 м; расстояние между соплами l>c>´=0,5 м.

а — расположение сопл в ложном потолке (ниже балок подвесных путей); б — структура струи; в — размеры сопла
Рисунок 2.5 - Схема подачи воздуха через сопла ложного потолка
Рассчитываем расстояние h>0> от начального сечения до полюса воздушной струи:
h>o>=b>o>·0,41/а>т> ; (2.28)
где b>o> = 0,05 м – внутренний радиус сопла;
а>т >= 0,4 - коэффициент турбулентности для сопла со встроенным турбулизатором при полученном отношении b>c>/l>c>=0.1/0.1= 1:
h>o>> >= 0,4 - b>o>·0,41/а>т> = 0,05·0,41/0,4 = 0,051 м ;
Тангенс угла расширения струи
tg α = b>о>> >/ h>о> ; (2.29)
tg α = a>T >/ 0,41=0,4/0,41 = 0,97
При расположении ложного потолка ниже балок подвесных путей расстояние х от ложного потолка до плоскости размещения бедренных частей мясных полутуш равно 1 м.
Ширина воздушной струи на расстоянии х от сопла
h = 2·(x+h>0>)·tgα (2.30)
где х =1м – расстояние от ложного потолка до плоскости размещения бедренных частей мясных полутуш
h = 2·( l+0;051 )·0,97 = 1.9 м
При h = 1,9 м вся поверхность полутуши будет находиться в зоне обдува, так как ширина полутуши в наиболее утолщенной (бедренной) части значительно меньше, чем ширина воздушной струи.
Определяем осевую скорость движения воздушной струи:
на выходе из сопла
(2.31)
где ω>рек>=3 м/с - рекомендуемая скорость движения воздуха на уровне размещения бедренных частей полутуш;
м / c
на расстоянии х = 1 м
;
(2.32)
м/с
Для определения расхода приточного воздуха предварительно определяем рабочую длину подвесных путей (по чертежам):
L> п.п> = 16×6×2 = 192 м
Масимально возможная масса продукта, загружаемого в камеру
G>пр> = L> п.п> × q>i> (2.33)
где q>i>=250 кг/м — норма загрузки 1 м подвесного пути;
G>пр> = 192×250 = 48 т
Объемный расход приточного воздуха
V>B> = b>C> × l>C> × n>C> × ω>0 > (2.34)
где n>С> – количество сопел , шт.
(2.35)
где l>с> = 0,1 м - длина сопла;
l>c>´=0,5 м - расстояние между соплами;
шт
V>B> = 0,1×0,1×320×10.6 = 33.9 м3/с .
Объемный расход воздуха, движущегося на расстоянии x =1 м
(2.36)
м3/с
При известных значениях V>B> и V>B>>.х> массовый расход воздуха составляет
G>B>= 33,9 ×1,496 = 50,71 кг/с;
где 1,496 —плотность воздуха при температуре, равной - 37°С, кг/м3 .
Принимаем, что температура приточного воздуха, выходящего из щелей ложного потолка, на 2°С ниже температуры воздуха на уровне бедренных частей полутуш, тогда
G>B>>.х >= 118 × 1,484 = 175 кг/с
где 1,484 кг/м3 - плотность воздуха при температуре, равной - 35 °С,
2.7 Расчет воздушной завесы для двери холодильной камеры
Проведем расчет воздушной завесы для двери камеры хранения мороженых туш, выходящей в коридор. Температура воздуха в камере t>кам>=-20°С (плотность воздуха ρ>в> = 1,35 кг/м3), температура воздуха в коридоре t>кор> = 0°C (плотность воздуха ρ>в> =1,29 кг/м3) . Размер дверного проема - 1,7×2,2 м. Воздух для создания завесы забирается из коридора. Угол между направлением оси струи воздуха, выходящей из плоского сопла завесы, и плоскостью двери принимаем равным 30°.
Отношение площади отверстия сопла завесы к площади дверного проема обычно находится в соотношении
(2.37)
Так как завесы холодильных камер не
несут тепловой нагрузки, то можно для
их дверей брать минимальное отношение,
т. е.
.
Для максимального уменьшения количества холодного воздуха, вытекающего из камеры через открытую дверь при действии завесы, целесообразно принять отношение
(2.38)
Так как V>пр> =V>з> +V>к> т. е. через дверь проходит весь воздух, выходящий из щелевого сопла V>3>, и воздух, прорываюшийся из камеры V>к>, то равенство q=1 означает, что V>К> , т.е.количество воздуха, прорывающегося из камеры, будет близко к нулю.
Коэффициент расхода воздуха через дверь при работе завесы по уравнению Эльтермана :
(2.39)
где D – коэффициент , определяемый по формуле
(2.40)
где q - отношение количества воздуха , подаваемого в завесу , к количеству воздуха , проходящего через двери;
μ>0> - коэффициент расхода воздуха через дверной проем при бездействии завесы (для дверей холодильных камер μ>0>=0,8 );
F>Д> - площадь дверного проема;
F>щ>— площадь щели, через которую выходит струя воздушной завесы;
α – угол между направлением выхода струи завесы и плоскостью дверного проема;
γ>з> – плотность воздуха , подаваемого в завесу;
γ>см> – плотность смеси воздуха камеры и завесы;
В связи с тем что воздух из камеры протекает через дверь в малом количестве, можно с достаточной для расчета точностью считать
γ>з>= γ>см>= γ>н > (2.41)
Таким образом


Количество воздуха, которое будет проходить через дверь при работе завесы, можно найти, предполагая, что высота нейтральной зоны h>н.з.> равна высоте дверного проема Н:
(2.42)
где b = 1.7 м – ширина дверного проема;
H = 2,2 м – высота дверного проема;
μ = 0,176 – коэффициент расхода воздуха через дверной проем;
g = 9.81 м/с2 – ускорение свободного падения;
м3/с
Поскольку V>ПР> =V>З>, то через щелевое сопло должно проходить также V>З> = 0,62 м3/сек воздуха.
Площадь отверстия щелевого сопла
(2.43)
м2
Если считать длину щелевого сопла равной ширине дверного проема 1,7м, то ширина сопла, т.е l>щ> = b =1,7 м , то ширина сопла
(2.44)
м
Скорость выхода воздуха из сопла
(2.45)
м/с
Путь, пройденный струей до входа ее в дверной проем определяем по формуле
(2.46)
м
Температура смеси струи воздушной завесы определяется по формуле
; (2.47)
В этом выражении коэффициент β вычисляется по формуле
(2.48)

Тогда
ºС
Сравним теплопритоки в камеру при работе воздушной завесы и при ее отсутствии .
Количество тепла, проникающее в камеру при работе завесы составит
(2.49)
кДж·ч
Количество воздуха V>0>, проникающее через открытую дверь камеры при бездействии завесы (или при ее отсутствии), может быть определено по формуле Тамма
(2.50)
м3/с
В этом случае количество тепла, проникающего в камеру, составит:
кДж·ч
Таким образом, наличие воздушной завесы уменьшает теплопритоки в камеру через дверной проем почти в два раза.
3 Ремонт монтаж и эксплуатация холодильного оборудования и трубопроводов
3.1 Монтаж холодильного оборудования и трубопроводов
Монтаж холодильного оборудования и трубопроводов должен производиться с соблюдением требований СНиП. III-А. II-70 "Техника безопасности в строительстве", "Типовой инструкции по организации безопасного проведения огневых работ на взрывоопасных и взрывопожароопасных объектах", "Правил пожарной безопасности при проведении сварочных и других огневых работ на объектах народного хозяйства" и настоящего раздела Правил.
Допуск рабочих к монтажу холодильного оборудования без вводного инструктажа по технике безопасности и инструктажа на рабочем месте категорически запрещается.
При производстве сварочных работ и резке материалов должны быть выполнены соответствующие требования: ГОСТ 12.2.007.8-75 "ССБТ. Устройства электросварочные и для плазменной обработки. Требования безопасности", ГОСТ-12.3.003-75 "ССБТ. Работы электросварочные. Общие требования безопасности", "Правил технической эксплуатации электроустановок потребителей" глава Э III-"Электрическая сварка", ГОСТ 12.2.008-75 "ССБТ. Оборудование и аппаратура для газопламенной обработки металлов и термического напыления покрытий. Требования безопасности".
К сварке аммиачных трубопроводов должны допускаться сварщики, имеющие удостоверение об аттестации в соответствии с "Правилами аттестации сварщиков", утвержденными Госгортехнадзором.
При выполнении сварочных работ на аппаратах /сосудах/ надлежит руководствоваться ТУ на изготовление сосудов и "Правилами устройства и безопасной эксплуатации сосудов, работающих под давлением". При выборе электродов необходимо руководствоваться действующими нормативами.
Запрещается производить какие бы то ни было работы на оборудовании или его деталях /или под ними/ в то время, когда они находятся в приподнятом положении и поддерживаются лебедками, домкратами и другими подъемными механизмами.
Присоединение нагнетательных труб к магистралям должно производиться с загибом труб по ходу движения паров аммиака. При монтаже запрещается допускать "мешки" на всасывающих и нагнетательных трубопроводах.
Фланцевые, сварные и другие соединения аммиачных трубопроводов не должны размещаться в стенах, перекрытиях и неудобных для ремонта местах.
Запорную арматуру надлежит устанавливать по направлению движения аммиака с поступлением его под клапан.
Для электромагнитных вентилей и вентилей с приводом направление движения аммиака должно соответствовать указанному в инструкции завода-изготовителя.
Заполнение системы аммиаком после монтажа установки разрешается производить только при наличии актов о продувке и испытании системы на прочность и плотность /включая вакуумирование/.
Запрещается выполнение работ по монтажу холодильной установки без утвержденного проекта. Не допускается выполнение монтажных работ с отступлением от проекта без согласования с проектной организацией.
Сварочные работы на трубопроводах действующих холодильных установок разрешается производить только на отключенных и освобожденных от аммиака /с продувкой воздухом/ аппаратах и участках трубопроводов по согласованию с представителем пожарного надзора и при наличии письменного допуска. При этом должны быть приняты меры для предохранения всех смежных аппаратов от повреждений: разъединение фланцев, постановка заглушек, отделяющих аппараты, пломбирование вентилей в закрытом состоянии. Эти работы следует производить при открытых окнах и дверях или при непрерывной работе аварийной вентиляции.
При монтаже трубопроводов необходимо применять штампованные переходы. Использование сварных лепестковых переходов запрещается. Допускается применение переходов с одним продольным швом.
Приспособления, предназначенные для обеспечения удобства монтажных работ и безопасности работающих /лестницы, стремянки, леса, подмости и др./, должны удовлетворять требованиям ГОСТ 12.2.012-75 "CCБT. Приспособления по обеспечению безопасного производства работ. Общие требования".
3.2 Испытание трубопроводов
Система трубопроводов после монтажа должна быть тщательно продута от песка и окалины и испытана на прочность пробным избыточным давлением воздуха /при отключенных компрессорах и приборах контроля и автоматики/. Величина давления для сторон нагнетания и всасывания должна соответствовать пробному давлению испытания на прочность аппаратов /сосудов/. Под пробным давлением система должна быть выдержана в течение 5 мин.
Давление воздуха в системе нужно поднимать постепенно с осмотром трубопроводов и аппаратов /сосудов/ при достижении 0,3 и 0,6 давления испытания с прекращением подъема давления на время осмотра. После этого вся смонтированная система трубопроводов и аппаратов /сосудов/ перед заполнением аммиаком должна быть подвергнута пневматическому испытанию на плотность /герметичность/ сварных и разъемных соединений раздельно по сторонам высокого и низкого давлений в соответствии с табл.1.
Испытание на плотность должно проводиться после выравнивания в течение нескольких часов /но не менее трех/ температур внутренней и окружающей сред. При этом давление испытания на плотность должно выдерживаться не менее 12 ч, после чего давление должно оставаться постоянным.
Подвергшаяся ремонту в процессе эксплуатации система трубопроводов или ее часть также должны быть испытаны на прочность и плотность. По окончании пневматического испытания проводится вакуумирование системы, которую необходимо оставить под вакуумом в течение 18 ч при давлении 0,005 МПа /40 ост.мм рт.ст./.
Давление фиксируется в течение этого времени через каждый час. допускается повышение давления до 50% в первые 6 ч. В остальное время вакуум должен оставаться постоянным.
При проведении пневматического испытания аппаратов /сосудов/ и системы трубопроводов необходимо соблюдать меры предосторожности: на трубопроводе от источника давления снаружи должны быть вентиль и манометр; в испытуемой системе /аппарате, сосуде/ должно быть не менее одного предохранительного клапана, оттариронанного на начало открывания на 0,1 МПа /1 кгс/см2/ выше соответствующего пробного давления.
Таблица № 1 Давления испытания аппаратов /сосудов/
|
Давление испытания /избыточное/ аппаратов /сосудов/, МПа /кгс/см2/ |
||
|
Аппараты/сосуды/ |
пробное на прочность |
рабочее на плотность |
|
Стороны нагнетания |
1,8; /18/ |
1,5; /15/ |
|
Стороны всасывания |
1,2; /12/ |
1,0; /10/ |
На время проведения пневматических испытаний на прочность внутри и снаружи помещений должна устанавливаться /в соответствии с действующими строительными нормами и правилами техники безопасности в строительстве/ охраняемая зона. При этом люди должны быть удалены в безопасные места.
Отключение от системы компрессоров должно выполняться с помощью металлических заглушек с прокладками, имеющими хвостовики, выступающие за пределы фланцев на 20 мм.
При пневматическом испытании системы запрещается добавлять в нее аммиак и использовать для создания давления /или вакуума/ аммиачный компрессор в качестве воздушного.
3.3 Порядок монтажа элементов холодильной проводки
Холодильное оборудование устанавливается по чертежу диспозиции оборудования следующим порядком:
Установка электрического щита управления на уже встроенный канал
Для установки сосудов в машинном помещении является нужным что стена со стороны входных дверей будет открытой. Первым делом устанавливается отделитель жидкости ОТ-42 на уже предварительно подготовленный носитель, затем сепаратор жидкости ОТ-30°С и выполняется его закладка фундамента, затем барабанный испаритель, отделитель жидкости системы -10°С, сепараторы масла для компрессоров /5 шт./ и выполняется их закладка фундамента, как и установка воздушного сепаратора.
Под платформой в машинном помещении устанавливается оборудование следующим порядком:
- бак рассола /предварительно изолирован/
- аммиачные насосы для системы -42°С
- аммиачные насосы для системы -30°С
- насосы для рассола
- аммиачные насосы для системы -10°С
Установка аммиачных компрессорных агрегатов на отлитых фундаментах с нужными отверстиями, для закладки фундамента устанавливаются компрессорные агрегаты имея ввиду следующий порядок:
- компрессор системы -42°С = 30 кВт
- компрессор системы -42°С = 22 кВт
- компрессор системы -30°С = 22 кВт
- компрессор системы -ТО°С = 75 кВт /шт.2/
После выполняется центрирование и закладка фундамента.
Установка конденсатора и сосудов высокого давления
устанавливаются конденсаторы на подготовленную станину на платформе
устанавливаются водяные насосы и проводится закладка фундамента
под платформой устанавливается ресивер на подготовленную станину
устанавливается дефростадионный сосуд на станину устанавливается центральный сепаратор масла и выполняется закладка фундамента.
3.4 Установка трубопровода и арматуры
После установки оборудования в машинном помещении выполняется сварка аммиачных клапанов, предварительно демонтируется клапанная тарелка.
Потом выполняется монтаж трубопровода до выхода в техническом коридоре.
Выводится трубопровод в направлении выхода для конденсаторов и сосудов высокого давления.
После комплектного скрепления оборудования в машинном помещении начинает установка трассы трубопровода в техническом коридоре по технической документации.
Затем начинает формирование клапанных групп для каждой камеры отдельно и является нужным извлечь клапанные тарелки от проходных клапанов и автоматики.
Выполняется скрепление клапанных групп с испарителями и магистральным трубопроводом.
После выполнения скрепления арматуры, монтируются снова клапанные тарелки на клапанах.
Устанавливается трасса нагнетательного трубопровода, балансированных проводов до эвапоративных конденсаторов.
Устанавливаются клапаны на конденсаторе и выполняется крепление с трубопроводами.
Вводится трубопровод от конденсатора до ресивера и дефростационного сосуда.
Устанавливается арматура на ресивере и дефростационном сосуде скрепляется с трубопроводом.
Устанавливается арматура на центральный сепаратор масла и скрепляется с трубопроводами.
На конце комплектно сварной проводки устанавливаются регуляторы уровня, уровнеуказательные стекла, прессостаты и манометры, как не повредились бы в течение монтажа.
Выполняется монтаж и скрепление вентиляции.
Испытание проводки, продувка, покраска и заполнение.
После успешно сделанной работы с испытанием выполняется изоляция проводки.
Выполняется покраска трубопровода, сосудов и клапанов и маркировка.
После выполненной работы исполняется заполнение проводки холодильным рабочим телом.
По отношению к составу монтажной группы, комплектный монтаж до выполненной пробной работы возможно выполнить в сроке из 90 дней.
Подключение оборудования к электрической проводке, водопроводу и канализации является предметом обработки других выполнителей работы.
4 Безопасность и экологичность проекта
4.1 Безопасность жизнедеятельности в производственной среде
4.1.1 Опасные и вредные производственные факторы (ОВПФ)
В данном разделе ставится задача комплексного рассмотрения всех факторов, влияющих на производственный процесс, которые могут привести к созданию неблагоприятной обстановки. Выявление мероприятий, способствующих предупреждению воздействия опасных производственных факторов на человека, снижение антропогенного воздействия на природу, а также учет всех мер по повышению безопасности и снижению несчастных случаев.
Используя выполненный ранее анализ работы оборудования и производственного травматизма, технологического процесса, были выявлены следующие наиболее существенные опасные и вредные производственные факторы: физические, химические.
4.1.2 Физически опасные и вредные производственные факторы
К физически опасным и вредным производственным факторам относятся:
а) перемещающиеся в пространстве механизмы и машины такие, как перемещающиеся по подвесным полутуши. Безопасность может быть обеспечена только за счёт проведения инструктажа персонала и личной ответственности каждого сотрудника в его выполнении.
б) воздухоохладители холодильной камеры снабжены электроприводом, это обуславливает опасные напряжения электрического тока, необходимо принимать во внимание частоту переменного тока и характеристики сети.
При эксплуатации электрооборудования может произойти поражение электрическим током промышленной частоты от электропроводки, от концевых выключателей, при соприкосновении с корпусом, если неисправно заземление. Поражение также может произойти при ремонте оборудования в результате случайного включения или при несоблюдении мер безопасности. Меры во избежание поражения электрическим током: ремонт и смотр проводить при снятом напряжении; двигатели и корпуса оборудования надежно заземлить; периодически проводить осмотр оборудования и проверять его сопротивление между заземляющим болтом и доступной прикосновению металлической частью агрегата.
в) повышенный уровень шума и
вибрации возникает при работе вращающихся
и плохо закрепленных частей оборудования.
Допустимый уровень шума не должен
превышать 85 дБ на частоте 100 Гц. Для
защиты от вибрации в местах ее
возникновения, т.е. между оборудованием
и полом установить виброизоляторы,
гасящие вредные колебания.
г) освещение должно быть рациональным и создавать благоприятные условия труда, предупреждающие зрительное и общее утомление, повышающие производительность труда и качество выпускаемой продукции. При проектировании необходимо учитывать нормы искусственной освещенности для производственных помещений, так как естественное освещение отсутствует.
д) в связи с проведением демонтажных и монтажных работ на высоте, работ по обслуживанию подвесных путей существует опасность падения персонала с высоты. Во избежание несчастных случаев рекомендуется использовать специализированные подъёмники или соответственно оборудованные помосты
4.1.3 Оценка химически опасных и вредных производственных факторов
Охлаждаемые мясные полутуши токсическими свойствами не обладают, побочных токсических веществ, образующихся в технологическом процессе не образуется. На производстве применяют следующие токсичные вещества: аммиак, хлорная известь, кальцинированная сода, нитрит натрия. Эти вещества могут быть опасными как в чрезвычайной ситуации (авария на аммиачной холодильной установке), так и при несоблюдении рецептуры или плохой очистке сточных вод. Аммиак, используемый в качестве хладагента в воздухоохладителях и пристенных батареях, при утечки через неплотности соединения трубопроводов может вызвать отравляющее удушье, поэтому необходимо периодически осуществлять планово-предупредительные работы.
4.2 Безопасность при чрезвычайных ситуациях
В охлаждающей камере установлены несколько линий подвода и отвода аммиака к пристенным батареям и воздухоохладителям. В любой линии установлены вентили подачи и отсоса хладагента, поэтому существует определенный порядок закрытия-открытия вентилей при запуске и остановке оборудования, во избежание несчастных случаев посторонними лицам нельзя произвольно открывать вентили, а для предупреждения этого следует вешать плакаты с предупредительной и запрещающей надписью.
В обязанности персонала по защите от аварий, вызванных нарушением работы аммиачной системы предусматривается только одно. Мероприятия соблюдения режима оттаивания аммиачных батарей.
При возникновении аварии необходимо вызвать газоспасательную и пожарную части. Параллельно применяют меры для вывода людей из рабочих помещений в укрытие и убежище. При необходимости, для предотвращения осложнений аварии, отключают аппараты данного технологического процесса. При сигнале об аварии работающие обязаны немедленно воспользоваться средствами индивидуальной защиты и покинуть рабочее место, двигаясь по заранее установленному маршруту. К эвакуационным выходам.
Заключение
В результате проведенной работы было рассмотрено камерное оборудование для охлаждения и заморозки пищевых продуктов, проведен анализ работы камеры для холодильной обработки мясных туш, предложена модернизация, существенно повышающая производительность и эффективность работы холодильной камеры, за счет использования пристенных батарей, при соответствующем снижении энергозатрат и потерь продукта при его усушке посредством включения линии подвода увлажненного воздуха в систему его циркуляции, произведены расчет холодильной камеры включающий в себя:
Расчет теплоизоляции холодильной камеры;
Расчет конденсации влаги на стеновых панелях;
Расчет толщины теплоизоляции всасывающего трубопровода холодильной установки;
Определение площади теплопередающей поверхности охлаждающих батарей;
Расчет необходимого количества воздухоохладителей коридора;
Расчет массового расхода приточного воздуха в камере замораживания;
Расчет воздушной завесы для двери холодильной камеры
Так же были изложены краткие сведения по ремонту монтажу и эксплуатации холодильного оборудования и трубопроводов.
Список используемых источников
Пособие для машинистов холодильных установок. Серебряный И. М. «Техника», 1974, 240 с.
Основы холодильной техники и ее применение в пищевой промышленности. Матвеенко И.В., Плешков А.И. Учебное пособие. 2-е изд., перераб. и доп. Воронеж, Изд-во ВГУ, 1979, 172 с.
Фалеев Г.А. "Оборудование предприятий мясной промышленности''.
Холодильные машины и установки. Мальгина Е.В., Мальгин Ю.В. изд. «Пищевая промышленность», 1973 г., 609с.
Покровский Н.К. " Холодильные машины и установки".
Пелеев, А.И. Технологическое оборудование предприятий мясной промышленности [Текст], Учебник для механ. спец. вузов. 2-е изд., перераб. и доп. - М.:Пищепромиздат,1963. – 685 с.: ил.
Гальперин, Д.М. Монтаж технологического оборудования предприятий мясной и молочной промышленности [Текст] - М.: Стройиздат,1979. – 252с.
Машины и аппараты пищевых производств. В 2кн. Кн. 2: Учеб. для вузов/ С.Т. Антипов, И.Т. Кретов, А.Н. Остриков и др.; Под ред. акад. РАСХН В.А. Панфилова. – М.: Высш. шк., 2001. – 680 с.
Руководство к выполнению дипломного проекта: Учеб. пособие/ С,Т, Антипов, В.Я. Валуйский, В.Е. Добромиров, И.Т. Кретов; Воронеж. гос. технол. акад. Воронеж, 2004. 160 с.
Илюхин В.В., Тамбовцев И.М. Монтаж, наладка, диагностика и ремонт оборудования предприятий мясной промышленности. – СПб.: ГИОРД, 2005. – 456 с.