Расчет кожухотрубчатого двухходового воздухоподогревателя парового котла
Аннотация
Пояснительная записка представляет собой отчет о выполнении курсовой работы на тему: «Расчет кожухотрубчатого двухходового воздухоподогревателя парового котла».
Описанная в работе методика и формулы дают возможность формализованным путём с достаточной для инженерных целей точностью рассчитать размеры аппарата и выбрать их общую компоновку. Здесь рассматривается определение диаметра корпуса аппарата, количества и длины трубок, выбор размещения трубок в трубных плитах и расположение перегородок в трубном и межтрубном пространствах, определение диаметра патрубков для рабочих сред.
Для составления пояснительной записки в данной курсовой работе использовались: текстовый процессор Microsoft Word, табличный процессор Excel.
Введение
Широкое применение в технике водяного пара общеизвестно. Он применяется как рабочее тело на электрических станциях и как теплоноситель для технологических (выпаривание, сушка, нагрев и т.п.) и отопительных целей. Получение пара из воды осуществляется в котельных агрегатах – парогенераторах, паровых котлах.
Ведущее место в теплоэнергетике принадлежит паротехнике. Основным типом мощной тепловой электростанции является станция, работающая по паровому циклу и оборудованная котельными и турбинными агрегатами. Назначение котельных агрегатов заключается в надежном и экономичном производстве определенного количества пара заданных параметров.
Размеры, сложность и разнообразие оборудования, габариты здания, стоимость и сложность эксплуатации определяют важное место котельных установок на мощных электростанциях. Поэтому прогресс крупной энергетики самым тесным образом связан с развитием энергетического парогенераторостроения.
Котельные установки (меньшего масштаба) весьма распространены в различных отраслях промышленности – на промышленных теплоэлектростанциях, предназначенных для комбинирования выработки тепла и электрической энергии, как установки, вырабатывающие пар для производственных и отопительных целей, и т.п.
Современный котельный агрегат представляет собой крупное инженерное сооружение, сложный комплекс технических устройств и механизмов, работа которых для обеспечения надежности и экономичности работы агрегата должна быть весьма четкой и строго согласованной.
Целью выполнения курсовой работы является расчет тепломассообменных аппаратов при решении задач в сфере профессиональной деятельности.
1. Описание работы и конструкции паровых котлов
В этой главе подробно рассмотрены: котельный агрегат и его элементы, назначения парового котла и всех его составляющих, а также работа котельного агрегата и всех его элементов.
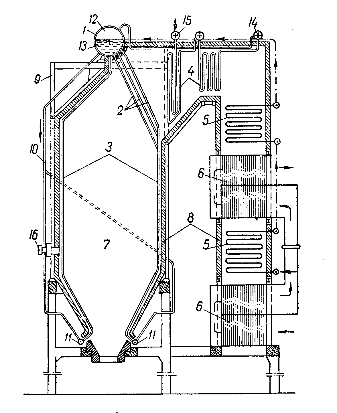
Котельный агрегат; его схема и элементы [1]
Котельный агрегат (рис. 1.) состоит из следующих элементов: собственно парового котла 1, 2, 3, пароперегревателя 4, водяного экономайзера 5, воздухоподогревателя 6, топочного устройства 7, обмуровки 8, каркаса 9, арматуры, гарнитуры и соединительных коммуникаций (труб и каналов).

Рис. 1 - Схема котельного агрегата
Назначением парового котла (в узком смысле слова, как элемента котлоагрегата) является превращение поступающей в него воды в насыщенный пар заданного давления. Собственно паровой котел состоит из разреженного пучка труб – фестона 2, системы экранных труб 3 и барабана 1.
Размещенные у стен топки экранные трубы 3 расположены вертикально. Из барабана 1 по опускным трубам 10 к нижним коллекторам экранных труб 11 подводится вода. Топочные экраны воспринимают большое количество тепла от заполняющих топочное пространство 7, интенсивно излучающих, раскаленных продуктов сгорания топлива. Вследствие этого в экранных трубах часть воды превращается в пар. Пароводяная смесь движется снизу вверх и отводится в барабан котла 1. Здесь пар отделяется от воды и поступает в паровое пространство 12, а вода из водяного пространства 13 поступает в опускные трубы 10.
Так осуществляется непрерывное движение воды по замкнутому пути, называемое естественной циркуляцией воды и происходящее вследствие разности удельных весов пароводяной смеси (в экранных трубах) и воды (в опускных трубах).
В экранах образуется основное количество пара, производимого котлом. Они служат также для предохранения стен топки от воздействия топочных газов, имеющих высокую температуру, и для предотвращения ошлакования топки.
Фестонные трубы 2 являются продолжением экранных труб, размещенных у задней стенки топки. Они образуются путем разводки труб заднего однорядного экрана в несколько рядов. Таким образом, создается пучок труб, которому тепло передается излучением и конвекцией, и продукты сгорания охлаждаются до заданной температуры перед пароперегревателем. Кроме того, фестон служит для защиты пароперегревателя от излучения заполняющих топку продуктов сгорания.
В барабане котла 1, как правило, устанавливаются сепарирующие устройства, служащие для отделения воды от пара и обеспечивающие получение практически сухого насыщенного пара.
Важным элементом котельного агрегата является пароперегреватель 4. Он предназначен для перегрева до заданной температуры полученного в котле насыщенного пара. Пароперегреватель состоит из группы параллельно включенных изогнутых труб-змеевиков, присоединенных к коллекторам. Насыщенный пар из парового пространства барабана котла по соединительным трубам поступает во входной коллектор пароперегревателя 14, далее движется по змеевикам, где перегревается до заданной температуры, а затем поступает в выходной коллектор 15 и оттуда направляется к потребителю.
Основное значение водяного экономайзера 5 заключается в подогреве питательной воды за счет тепла продуктов сгорания топлива. Конструкция экономайзера аналогична конструкции пароперегревателя. Вода подается питательным насосом во входной (нижний) коллектор экономайзера, проходит по змеевикам, поступает в выходной коллектор, а оттуда – в барабан котла. В крупных агрегатах, как правило, применяются двухступенчатые экономайзеры, как показано на рис 1.
Воздухоподогреватель 6 служит для подогрева поступающего в топку воздуха за счет тепла дымовых газов. Газы движутся сверху вниз внутри труб, омываемых снаружи поперечным потоком воздуха.
В топочном устройстве 7 осуществляется сжигание твердого топлива в виде пыли. Смесь топлива и воздуха поступает в топку из горелок 16, в топочной камере происходит воспламенение и горение топлива. Топочное устройство должно обеспечивать:
а) высокую степень полноты сжигания топлива при минимальном количестве избыточного воздуха;
б) охлаждение продуктов сгорания топлива до заданной условиями проектирования температуры.
Обмуровку 8 составляют стены и перекрытия котельного агрегата, выполненные из кирпича или из специальных плит и щитов. Она отделяет от наружного пространства топку и последующие газоходы агрегата – каналы, в которых размещены поверхности нагрева и по которым движутся дымовые газы. Внутренняя часть обмуровки топки, выполняемая из огнеупорных материалов, называется футеровкой. Обмуровка должна обладать хорошими теплоизоляционными свойствами для обеспечения невысокой температуры ее наружной поверхности и небольших потерь тепла в окружающую среду, а также должна быть плотной, обеспечивающей минимальные присосы внешнего воздуха в работающие под разряжением газоходы.
Каркас 9 служит для крепления и поддержания всех частей котельного агрегата и его обмуровки. Он выполняется в виде металлической конструкции из колонн и балок и опирается на фундамент.
Для возможности эксплуатации котельного агрегата необходим ряд приспособлений и устройств, носящих название арматуры и гарнитуры. К обязательной арматуре относятся: манометр, водоуказательные приборы, предохранительные клапаны, питательные, автоматические обратные, паровые, спускные и продувочные клапаны. Гарнитура агрегата – это преимущественно чугунные детали: дверки, крышки люков, гляделки в обмуровке, заслонки для регулирования тяги, а также обдувочные устройства, служащие для очистки поверхности нагрева от отложений летучей золы.
Соединительные коммуникации агрегата состоят из труб, подводящих воду к экранам и отводящих из экранов пароводяную смесь, из соединительных труб между экономайзером и барабаном котла и между котлом и пароперегревателем, из воздухопроводов – каналов для подвода воздуха и других более мелких внутренних коммуникаций.
На рис. 1 приведена П-образная компоновка агрегата. Она характеризуется наличием дух вертикальных шахт – топочной и конвективной и расположенного вверху соединительного газохода. Образующиеся в топке продукты горения движутся в топочном пространстве снизу вверх, омывают фестон, направляются в соединительный газоход, где расположен пароперегреватель, затем поворачивают на 90º, поступают конвективную шахту и движутся в ней сверху вниз, омывая последовательно поверхности нагрева водяного экономайзера и воздухоподогревателя. Охлажденные продукты горения отсасываются дымососом и через дымовую трубу удаляются в атмосферу. В случае надобности дымовые газы предварительно очищаются в специальных устройствах от летучей золы.
Воздухоподогреватели [1]
Воздухоподогреватель - теплообменный аппарат для нагревания проходящего через него воздуха. Его широко применяют в котельных установках тепловых электростанций и промышленных предприятиях, в печных агрегатах промышленности (например, металлургической, нефтеперерабатывающей), в системах воздушного отопления, приточной вентиляции и кондиционирования воздуха.
В качестве теплоносителя используют горячие газообразные продукты сгорания (в котельных и печных установках), водяной пар, горячую воду или электроэнергию (в системах отопления и вентиляции).
По принципу действия воздухоподогреватели разделяют на рекуперативные и регенеративные. В рекуперативных воздухоподогревателях теплообмен между теплоносителем и нагреваемым воздухом происходит непрерывно через разделяющие их стенки поверхностей нагрева, в регенеративных - осуществляется попеременно нагреванием и охлаждением насадок (металлических или керамических) неподвижных или вращающихся поверхностей нагрева воздухоподогревателя. На тепловых электростанциях применяются главным образом трубчатые (стальные и чугунные) рекуперативные воздухоподогреватели, реже - вращающиеся регенеративные. В металлургической промышленности широко распространены регенеративные Воздухоподогреватели периодического действия с керамической насадкой. Современные металлические воздухоподогреватели позволяют нагревать воздух до 450-600°С, воздухоподогреватели с керамической насадкой - до 900-1200°С.

Рис. 2 - Схема воздухоподогревателя
2. Составление модели расчета воздухоподогревателя
В данном разделе рассматривается формулировка задачи для расчета кожухотрубчатого двухходового воздухоподогревателя парового котла; представляются исходные данные и необходимые расчетные формулы.
2.1 Содержательная формулировка задачи
Задачей расчета теплообменного аппарата является определение основных размеров аппаратов и выбор их общей компоновки. Здесь рассматривается определение диаметра корпуса аппарата, количества и длины трубок, выбор размещения трубок в трубных плитах и расположение перегородок в трубном и межтрубном пространствах, определение диаметра патрубков для рабочих сред.
2.2 Исходные данные
Исходные данные к проекту: Дымовые
газы(13% СО
,11%
Н
О),в
количестве 19,6 кг/с движутся по стальным
трубам диаметром 53/50 мм со скоростью 14
м/с.Температура газов на входе в
воздухоподогреватель - 380
.Воздух
в количестве 21.5 кг/сек нагревается от
30
до 260
и движется поперёк трубного пучка со
скоростью 8 м/с.Трубы расположены в
шахматном порядке.
2.3 Расчетные формулы
Ниже подробно рассмотрены основные расчетные формулы для решения поставленной выше задачи.
2.3.1 Расчет проточной части трубного пространства
Основную группу теплообменных аппаратов, применяемых в промышленности, составляют поверхностные теплообменники, в которых тепло от горячего теплоносителя передается холодному теплоносителю через разделяющую их стенку.
Так как имеет место сложный теплообмен излучением и конвекцией, то основное уравнение теплопередачи будет иметь вид:
(1)
где Q – тепловой поток (расход передаваемой теплоты), Вт,
K – суммарный коэффициент теплопередачи, Вт/(м2·К),
F - площадь поверхности теплопередачи, м2,
Δt>ср> – средняя разность температур горячего и холодного теплоносителя, К.
Суммарный коэффициент теплоотдачи определяется следующим образом:
(2)
Коэффициент теплоотдачи для воды, передаваемой тепло конвекцией, равен:
(3)
где Nu – критерий Нуссельта, характеризующий интенсивность перехода тепла на границе поток – стенка;
λ – коэффициент теплопроводности теплоносителя;
d – диаметр трубки.
Коэффициент Нуссельта для воды (при Re > 10000) найдем из соотношения:
(4)
где Re – критерий Рейнольдса, характеризующий соотношение сил инерции и трения в потоке:
(5)
Pr и Pr>ст> – критерий Прандтля, характеризующий отношение вязкостных и температуропроводных свойств теплоносителя и стенки трубопровода.
Коэффициент теплоотдачи для дымовых газов, передаваемых тепло излучением, равен:
(6)
где
=
5,67 Вт / м2·К4
- коэффициент излучения абсолютно
черного тела,
ε’ – степень черноты поверхности теплообменника;
ε>г> – степень черноты дымовых газов;
T>г> и T>в> – средние температуры по Кельвину газов и воды соответственно.
Степень черноты дымовых газов найдем по соотношению [3]:
(7)
где
- степени черноты углекислого газа и
паров воды соответственно. Эти величины
определяются по справочникам с учетом
парциального давления газа и средней
длины пути луча, который определяется
по формуле:
(8)
где d>н >и d>в> – наружный и внутренний диаметры трубки соответственно;
s>1 >и s>2 >– шаги размещения трубок поперек и вдоль тока среды соответственно.
Степень черноты поверхности теплообменника равна
(9)
где
- степень черноты стенки трубки.
Термическое сопротивление стальной стенки и загрязнений равно:
(10)
где r>загр1> и r>загр2> – тепловая проводимость загрязнений стенок;
δ – толщина стенки;
λ>ст> – коэффициент теплопроводности стенки.
Тогда коэффициент теплопередачи будет равен:
(11)
Средняя разность температур Δt>ср> определяется следующим образом [2]:
(12)
где Δt>б >и Δt>м> – большая и меньшая разности температур на концах теплообменника соответственно.
Если отношение
,
то с достаточной точностью вместо
уравнения (12) можно применять следующее
уравнение:
(13)
Следует отметить, что из уравнения (12) вытекает: если Δt>б> =0 или Δt>м> =0, то и Δt>ср> =0; если Δt>б> = Δt>м>, то Δt>ср> = Δt>б> = Δt>м>.
Если температура одного из теплоносителей в процессе теплопередачи не меняется вдоль поверхности (конденсация насыщенного пара, кипение жидкости), то среднюю разность температур Δt>ср> также определяют по уравнениям (12) и (13).
Формулы (12) и (13) применимы при условии, что в теплообменнике значение коэффициента теплопередачи К и произведение массового расхода на удельную теплоемкость G·с для каждого из теплоносителей можно считать постоянным вдоль всей поверхности теплообмена.
В тех случаях, когда вдоль поверхности теплообмена значительно меняется величина коэффициента теплопередачи К (или произведение массового расхода на удельную теплоемкость G·с), применение средней логарифмической разности температур [уравнение (12)] становится недопустимым. В этих случаях дифференциальное уравнение теплопередачи решают методом графического интегрирования.
Среднюю температуру воды найдем по формуле:
(14)
где t>в нач> и t>в кон> - начальная и конечная температуры воды соответственно.
Среднюю температуру дымовых газов найдем по формуле:
(15)
Средний расход тепла, передаваемого от дымовых газов к воде, найдем по формуле:
(16)
где G>в> - весовой расход воды в теплообменнике;
c>в> – средняя удельная теплоемкость воды;
t>в нач> и t>в кон> - начальная и конечная температуры воды соответственно.
Площадь поверхности теплообмена аппарата находится из соотношения (1):
(17)
Расчетная длина трубок определяется по выражению:
(18)
Из уравнения непрерывности потока:
(19)
легко определяется площадь сечения трубок одного хода:
(20)
где G – весовой расход рабочей среды, кг / с;
w - скорость движения, м / с;
γ – удельный вес среды, кг / м3.
Площадь сечения определяется также соотношением
откуда находим количество трубок одного змеевика
(21)
где d>в> – внутренний диаметр трубок.
Если по формуле (17) длина трубок окажется больше, чем 6 – 7 м, то следует принять несколько параллельно работающих змеевиков. Число ходов при этом составит:
(22)
где L – рабочая длина трубок.
Общее количество трубок принятой длины L составит:
(23)
Это количество трубок необходимо разместить в трубной плите и соответственно с принятым размещением определить диаметр корпуса аппарата.
2.3.2 Выбор и размещение трубок в трубных плитах
Выбор размещения трубок в трубных плитах должен производиться с учетом таких требований:
достижение максимальной компактности устройства, приводящей к уменьшению диаметров трубных плит и корпуса аппарата, а также к уменьшению сечения межтрубного пространства, что увеличивает скорость движущейся в нем рабочей среды и повышает коэффициент теплопередачи;
обеспечение достаточной прочности трубных плит и условий прочного и плотного крепления трубок в плитах;
придание конструкции аппарата максимальной «технологичности» в смысле облегчения условий изготовления и ремонта аппарата.
Соблюдение этих важных требований связано с выбором геометрической конфигурации размещения трубок в плитах и шага размещения.
По геометрической конфигурации различают следующие способы размещения трубок:
по вершинам правильных многоугольников;
по концентрическим окружностям.
Преимущественно распространение на практике получил первый из этих способов, причем здесь в свою очередь различают размещение труб по вершинам равносторонних треугольников (по сторонам правильных шестиугольников) и по вершинам и сторонам квадратов.
Если a – количество трубок, расположенных по стороне наибольшего шестиугольника, то общее количество трубок в пучке b будет равно:
(24)
При этом количество трубок, расположенных по диагонали наибольшего шестиугольника равно
(25)
Объединив соотношения (24) и (25) можно получить:
(26)
В круглых плитах цилиндрических аппаратов при расположении трубок по периметрам правильных шестиугольников часть плит оказывается неиспользованной.
Количество трубок, размещенных дополнительно на указанных сегментах, определяется в зависимости от числа дополнительных рядов на сегменте (параллельных сторонам шестиугольников) и числом труб в каждом из этих рядов. Данные о количестве дополнительных трубок, располагаемых на сегментах трубных плит, приведены в справочной литературе.
2.3.3 Определение внутреннего диаметра корпуса аппарата
Внутренний диаметр корпуса
теплообменного аппарата определяется
в зависимости от активной площади
трубной плиты Ф,
заключенной в этом корпусе.
(27)
откуда
(28)
Активная площадь трубной плиты слагается из полезной площади Ф>п>, приходящейся на размещенные в плите трубки, и свободной площади Ф>с>, не заполненной трубками:
(29)
Полезная площадь трубной плиты прямо пропорциональна числу трубок аппарата:
(30)
где Ф>тр> – площадь плиты, необходимая для размещения одной трубки, включая и межтрубное пространство.
Величина площади Ф>тр> при размещении трубок по вершинам правильных многоугольников определяется соотношением
(31)
где t – шаг размещения трубок;
α – угол, образуемый центральными линиями трубных рядов.
Нетрудно заключить, что при размещении трубок по вершинам равносторонних треугольников (шахматное расположение) α = 60º и sinα = 0,866; при размещении трубок по вершинам квадратов (коридорное расположение) α = 90º и sinα = 1.
Свободная площадь трубной плиты определяется ее конструктивным оформлением. К ней относятся площадь по периферии трубного пучка, полосы для помещения перегородок в камерах аппаратов. Она составляет приблизительно 10 – 50 % от полезной площади трубной плиты Ф>п>.
Таким образом, можно написать:
(32)
или также
(33)
где ψ – коэффициент заполнения трубной плиты.
При размещении трубок по шестиугольникам можно принимать ψ = 0,6 – 0,8.
Подставляя выражение (33) в формулу (28) получим расчетное соотношение для определения внутреннего диаметра корпуса аппарата:
(34)
где
;
d>н> – наружный диаметр трубки.
Если принять во внимание, что поверхность теплообмена аппарата
и пренебречь небольшой разницей между значениями расчетного и наружного диаметров трубки d>р> и d>н>, то получим:
(35)
Окончательно величина диаметра корпуса уточняется при изображении на чертеже размещения трубок и трубной плиты с учетом всех конструктивных особенностей данного аппарата.
2.3.4 Расчет проточной части межтрубного пространства
При движении в межтрубном пространстве однофазной среды исходным соотношением является по аналогии с расчетом трубного пространства уравнение непрерывности потока:
(36)
откуда легко определяется площадь сечения трубок одного хода:
(37)
где G – весовой расход рабочей среды,
w - скорость движения,
γ – удельный вес среды.
Величина площади сечения
определяется условиями размещения
трубного пучка. При этом можно получить
следующее соотношение:
(38)
Если сопоставить эту величину
с площадью сечения трубного пространства
,
то при средних значениях
получаем:

В случае поперечного потока среды в межтрубном пространстве полную площадь Ф>св> можно отнести к диаметральному продольному сечению, причем здесь
(39)
где L – рабочая длина трубок.
Далее находим:
(40)
где b – число трубок по диагонали периферийного шестиугольника.
В случае поперечного движения среды степень заполнения сечения трубками
(41)
Обычно в теплообменных аппаратах
.
Число ходов определяется на основании соотношения:
(42)
либо также
(43)
При этом количество перегородок
(44)
В большой группе парожидкостных теплообменных аппаратов, где в межтрубное пространство поступает газ, установки перегородок в межтрубном пространстве обычно не требуется.
Расчет аппарата для конкретных данных
В этой главе подробно рассмотрен расчет воздухоподогревателя для исходных данных.
3.1 Расчет проточной части трубного пространства
В трубном пространстве движется вода.
Примем конечную температуру охлаждения дымовых газов 300 ºС. Тогда температурная схема будет иметь вид:

Так как отношение
,
то среднюю разность температур найдем
по формуле (12):
Среднюю температуру воздуха найдем по формуле (14):

Среднюю температуру дымовых газов найдем по формуле (15):
Тогда средний расход передаваемого тепла будет равен:
где средняя удельная теплоемкость воздуха с>в> = 1,02 кДж / кг · К при t =145 ºC [5].
Суммарный коэффициент теплоотдачи определяем по формуле (2). Для этого найдем все входящие в него составляющие по формулам (3) - (11):
Для воздуха [5] ρ = 827,3 кг / м3 ; μ = 119,7 ·10-6 Па · с; λ = 0,629 Вт /м·К; Pr = 0,888.

Степень черноты дымовых газов найдем по соотношению (7). Для этого необходимо найти степени черноты углекислого газа и паров воды.
Длина пути луча равна

здесь s>1 >= 2,4d>н >и s>2> = 2,3d>н >рекомендованы нормалями Главхиммаша при диаметре трубок d = 53 / 50мм.
Далее находим

Тогда по номограммам [3] этим значениям соответствует:

Значит, согласно уравнению (7) степень черноты дымовых газов будет равна
Степень черноты поверхности
теплообменника найдем по соотношению
(9). Из [2] для окисленной стали среднее
значение степени черноты
.

Приняв температуру стенки равной температуре остывших газов, можно записать:

Тогда коэффициент теплоотдачи для дымовых газов, передаваемых тепло излучением, будет равен

Найдем конвективную составляющую коэффициента теплоотдачи газа.
Для дымовых газов [5] ρ = 0,384 кг / м3 ; μ = 39,3 ·10-6 Па · с; λ = 7,84 · 10-2 Вт /м·К; Pr = 0,614.

Тогда найдем суммарный коэффициент теплоотдачи для дымовых газов

Термическое сопротивление стальной стенки и загрязнений равно:

где из [2] для стальной стенки
;
.
Значит, коэффициент теплопередачи будет равен:

Площадь поверхности теплообмена аппарата будет равна:
Принимаем площадь поверхности теплообмена аппарата равную 1000 м2.
Тогда количество тепла, переданного конвекцией и излучением, найдем по уравнению (1):

Площадь сечения трубок трубного пространства определим по формуле (20):
Число трубок по формуле (21) составит:
Принимаем число трубок в соответствии с рекомендациями нормалей Главхиммаша равное n = 174.
Расчетная длина трубок в соответствии с (18) равна:
4. Проверочный расчет
Для поддержания теплового баланса в системе необходимо выполнение следующего равенства:
Получаем

Погрешность вычислений составляет

Значит, конечной температурой дымовых газов при расчете воздухопод
5. Результаты расчета
Задавшись выше целью работы, были решены следующие задачи:
Рассчитана проточная часть трубного пространства.
Приняв конечную температуру дымовых газов 300 ºС, получили:
а) среднюю разность температур
;
б) среднюю температуру воздуха
;
в) среднюю температуру дымовых
газов
;
г) средний расход передаваемого
тепла
;
д) площадь поверхности теплообмена
аппарата
;
е) площадь сечения трубок трубного
пространства
;
ж) число трубок трубного пространства n = 174;
з) длина трубок трубного
пространства
2) Рассчитана теплопередача лучеиспусканием.
а) Суммарный коэффициент
теплоотдачи лучеиспусканием и конвекцией
для дымовых газов
;
б) Количество тепла, переходящего
от более нагретого тела к менее нагретому
посредством лучеиспускания и конвекции
равно
.
3) Расчет воздухоподогревателя
вычислен с погрешностью
.
6. Анализ результатов счета
Проверочный расчет показал, что в системе соблюден тепловой баланс. А значит, с учетом погрешности, расчет выполнен верно.