Расчет металлорежущих инструментов (червячной фрезы, комбинированного сверла и шлицевой протяжки)
МИНИСТЕРСТВО ОБРАЗОВАНИЯ И НАУКИ УКРАИНЫ
ДОНЕЦКИЙ НАЦИОНАЛЬНЫЙ ТЕХНИЧЕСКИЙ УНИВЕРСИТЕТ
Механический факультет
Кафедра «Металлорежущие станки и инструмент»
КУРСОВОЙ ПРОЕКТ
По дисциплине: «Металлорежущий инструмент»
На тему: «Расчет металлорежущих инструментов»
ПК 04.28.09.00.00.000
Исполнитель
Студент гр. МВС 02а И.В. Туманов
Консультант И.А. Малышко
Нормоконтролер И.В. Киселева
ДОНЕЦК 2005
ЗАДАНИЕ
Спроектировать следующий режущий инструмент и технологическое оснащение:
1. Фреза червячная для обработки зубчатых колес m=8, z>1>=40, z>2>=80; степень точности 8-D.
2. Сверло комбинированое для обработки отверстий.
d>1>=20 мм. d>2>=22 мм. l>1>=40 мм. l>2>=60мм.
3. Протяжку для оброботки шлицевой втулки b-10102108H1216D9, l=110мм, Ra=2,5мкм;
Патрон для закрепления сверла на агрегатном станке.
Материал заготовки – сталь 3.
РЕФЕРАТ
Курсовой проект: 26 стр., 6 рис., 5 приложений, 4 источников.
Объект исследования: протяжка шлицевая, сверло комбинированное и фреза червячная для обработки зубчатых колес.
Цель работы: спроектировать указанные инструменты для обработки деталей с заданными размерами и параметрами.
В курсовом проекте приведены расчеты всех параметров и размеров указанных инструментов, выбраны материалы для изготовления инструмента и станки, на которых будет вестись обработка.
Разработаны рабочие чертежи рассчитанных инструментов.
ПРОТЯЖКА, СВЕРЛО, ЗАГОТОВКА, КАНАВКА, ФРЕЗА, ХВОСТОВИК, МОДУЛЬ.
СОДЕРЖАНИЕ
ВВЕДЕНИЕ
1 РАСЧЕТ ЧЕРВЯЧНОЙ ФРЕЗЫ
1.1 Расчет червячных фрез содержит определение размеров профиля фрезы в
1.2 Определение конструктивных размеров фрезы
2 РАСЧЕТ КОМБИНИРОВАННОГО СВЕРЛА
2.1 Предельные размеры диаметров отверстия
2.2 Коэффициент глубины сверления и расчетные диаметры
2.3 Размеры ленточки сверла
2.4 Геометрические параметры режущей части сверла
2.5 Параметры стружечной канавки
2.6 Осевая сила и крутящий момент
2.7 Площадь поперечного сечения сверла
2.8 Диаметр сердцевины
2.9 Длина сверла
3. РАСЧЕТ ШЛИЦЕВОЙ ПРОТЯЖКИ
3.1 Исходные данные
3.2 Выбор схемы резания
3.3 Выбор угла фаски
3.4 Шаг черновых зубьев
3.5 Максимально допустимая сила резания
3.6 Максимальная глубина стружечной канавки по допустимому усилию
3.7 Подача черновых секций
3.8 Количество зубьев в черновых секциях
3.9 Сила протягивания на черновых зубьях
3.10 Распределение припуска
3.11 Подъем на зуб
3.12 Шаг переходных, чистовых и калибрующих зубьев
3.13 Диаметр зубьев
3.14 Количество черновых секций
3.15 Количество зубьев
3.16 Длина режущих и калибрующих частей
3.17 Общая длина протяжки
3.18 Геометрия зубьев
4 ПАТРОН ДЛЯ КРЕПЛЕНИЯ СВЕРЛА НА АГРЕГАТНОМ СТАНКЕ
ЗАКЛЮЧЕНИЕ
СПИСОК ИСПОЛЬЗОВАНОЙ ЛИТЕРАТУРЫ
ПРИЛОЖЕНИЕ А – Чертеж червячной фрезы.
ПРИЛОЖЕНИЕ Б – Чертеж комбинированного сверла.
ПРИЛОЖЕНИЕ В – Чертеж шлицевой протяжки.
ПРИЛОЖЕНИЕ Г – Чертеж патрона для крепления сверла на агрегатном станке.
ПРИЛОЖЕНИЕ Д – Спецификация на патрон.
ВВЕДЕНИЕ
Целью данного курсового проекта является расчет и проектирование металлорежущих инструментов: протяжка шлицевая, сверло комбинированное и фреза червячная для обработки зубчатых колес.
Протягивание является одним из наиболее высокопроизводительных процессов обработки деталей резанием. Высокая производительность процесса протягивания объясняется тем, что одновременно находится в работе несколько зубьев инструмента с большой суммарной длиной режущих кромок. Протягивание позволяет получать поверхности высокой точности (6-го – 8-го квалитетов точности) и низкой шероховатости (Ra=0.63-0.25 мкм).
Наиболее широкое применение получили протяжки для обработки шлицевых отверстий. При центрировании шлицевой втулки на валу, по внутреннему диаметру, для обеспечения более высокой точности центрирования необходимо потягивать одной протяжкой внутренний диаметр, шлицевые канавки и фаски.
Комбинированные сверла используют при обработки ступенчатых отверстий, невысокой точности, небольших и средних диаметров, в крупносерийном и массовом производстве.
Червячные фрезы применяют для обработки прямозубых, косозубых и шевронных цилиндрических зубчатых колес, а также для нарезания зубьев червячных колес с различными видами зацепления. Червячная фреза как инструмент получается из червяка путем прорезания канавок, образующих переднюю поверхность зубьев для создания задних углов по всему контуру.
1 РАСЧЕТ ЧЕРВЯЧНОЙ ФРЕЗЫ
Заданием предусмотрено проектирование червячной фрезы по следующим исходными данными:
m=8, z>1>=40, z>2>=80; степень точности 8-D.
Материал детали – сталь 3.
Согласно рекомендациям, которые приведено в [1, стр.18] фреза выполнена цельной. Материал изготовления должен иметь не менее, чем 3% ванадия, и не более чем 5% кобальта. Твердость рабочей части 63...67 HRC>э>. Поэтому изберем быстрорежущую сталь Р6М5.
1.1 Расчет червячных фрез содержит определение размеров профиля фрезы в нормальном к виткам фрезы сечении.
Расчетный профильный угол исходного профиля в нормальном сечении

Модуль нормальный
мм.
Шаг по нормали
мм.
Расчетная толщина
зуба по нормали
,
где S>д1 >– толщина зуба по нормали к делительной окружности
мм
=0,097 мм [3, стр. 336, табл. 5,17]-
гарантированный боковой зазор.
мм
Высота зуба фрезы

где
мм. - высота зуба колеса,
мм – радиальный зазор,
мм.
Радиусы закруглений на головке и ножке зуба
Для фрез с модулем более чем 4 рекомендовано выполнять канавки для обеспечения возможности шлифования у основания зубьев.
Ширина канавки b=0,75 мм.
Глубина канавки h=1 мм.
Радиус канавки
мм.
[1, стр. 21]
1.2 Определение конструктивных размеров фрезы
При отсутствии специальных требований наружные диаметры фрез рекомендовано выбирать по требованиям действующих стандартов.
Наружный диаметр
фрезы
мм.
Диаметр посадочного
отверстия
мм.
Длина фрезы
мм.
[1,стр.33, табл.4]
Число зубьев для чистовых фрез определяется по зависимости:
,
где
,
,
.
Примем 11 зубьев фрезы.
Передний угол на
вершине зуба
,
Задний угол на вершине
зуба
.
Примем
.

Рисунок 1.1 – Геометрия режущей части
Задний угол на боковой режущей кромке в сечении, перпендикулярном к ней, определяют по формуле:
,
где Rx – радиус окружности расположения произвольной точки, для которой определяется значение бокового заднего угла. Rx=80-18=72 мм.

Величина затылования К подсчитывается по зависимости:
мм.
Округляем до 7 мм.
Величина дополнительного затылования [1,стр.22]:
мм.
Глубина канавки Н для фрезы со шлифованным профилем:
мм.
Радиус закругления основания канавки
мм.
Примем 2.5 мм.
Угол профиля канавки
[1,стр.23].
Диаметр делительной окружности:
мм.
Угол подъема витков фрезы на начальной окружности определяют по формуле:
,
где а – число заходов фрезы; а=1 [1,стр.23].
.
Шаг по оси между двумя витками фрезы:
мм.
Ход витков по оси фрезы
мм.
Стружечные канавки выполняются винтовыми. Направление витков стружечных канавок противоположно направлению витков фрезы.
Осевой шаг винтовой стружечной канавки:
мм.
Угол установки фрезы на станке для нарезания прямозубого колеса равняется углу подъема витков фрезы.
.
Расчетные профильные углы фрезы в нормальном сечении:

Расчетные профильные углы фрезы в осевом сечении:
,


Расчетная длина фрезы:

где х = 3 [1,стр.24, табл.2,1]
l>1>=4,5 мм [1,стр.24] - длина буртика.
мм.

Рисунок 1.2 – Конструктивные параметры фрезы
2 РАСЧЕТ КОМБИНИРОВАННОГО СВЕРЛА
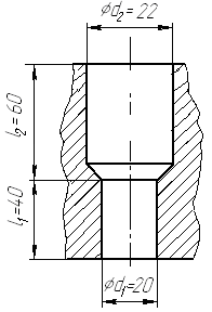
Исходные данные для расчета комбинированного сверла:
диаметр меньшего отверстия D>1>=20+0,21 мм;
диаметр большего отверстия D>2>=22+0,21 мм;
длина l>1>=40 мм;
длина l>2>=60 мм;
шероховатость обработанных поверхностей Ra=2,5;
квалитет обработанных отверстий H12;
обрабатываемый материал – сталь 3.

Рисунок 2.1 – Эскиз обработанной поверхности
По марке обрабатываемого материала определяем группу обрабатываемого материала [2, с. 17, табл. 3], принимаем код материала 1.
Для обработки заданного отверстия принимаем радиально-сверлильный станок модели 2М55, у которого мощность главного движения 5,5 кВт, допускаемое усилие механической подачи 20 МН, направление вращения правое.
Материал сверла быстрорежущая сталь марки Р6М5 ГОСТ 19265-79.
2.1 Предельные размеры диаметров отверстия
;
;
мм;
мм;
мм;
мм;
Допуски на диаметр
отверстия равны:
мм,
мм.
2.2 Коэффициент глубины сверления и расчетные диаметры
;
;
.
При
,
;
мм;
мм.
Полученные значения округляем, назначаем допуск на наружный диаметр сверла. [4, с. 199, табл. 42].
мм;
мм.
2.3 Размеры ленточки сверла
Ширина ленточки:
;
мм;
мм;
Высота ленточки:
;
мм;
мм;

Рисунок 2.2 Размеры ленточки сверла
2.4 Геометрические параметры режущей части сверла
Главный угол в плане для сверла выбирается в зависимости от свойств обрабатываемого материала из [2, с. 20, табл. 4].
;
;
.
Значения заднего угла:
;
;
;
Угол наклона перемычки ψ является произвольной величиной, которая получается при заточке.
2.5 Параметры стружечной канавки
Угол наклона стружечной канавки:
;
;
;
Центральный угол
канавки выбирается в зависимости от
свойств обрабатываемого материала. При
обработки стали 40ХН,
,
[2, с. 21].
Шаг стружечной канавки:
;
мм;
мм;
Ширина пера определяется зависимостью:
;
мм;
мм;
2.6 Осевая сила и крутящий момент
Осевая сила при сверлении определяется по формуле:
;
По [4, с. 430, 434, табл. 21, 27, 28] принимаем значения коэффициентов уравнения.
;
;
;
мм/об;
;
Н;
Осевая сила при рассверливании:
;
По [4, с. 430, 434, табл. 21, 27, 28] принимаем значения коэффициентов уравнения.
;
мм;
;
;
мм/об;
;
;
Н;
Общее осевое усилие, действующее на комбинированное сверло, складывается из усилий на его ступенях.
;
Н;
Крутящий момент при сверлении определяется по формуле:
;
По [4, с. 430, 434, табл. 21, 27, 28] принимаем значения коэффициентов уравнения.
;
;
мм/об;
;
;
Нм;
Крутящий момент при рассверливании:
;
По [4, с. 430, 434, табл. 21, 27, 28] принимаем значения коэффициентов уравнения.
;
;
мм/об;
;
;
;
;
Нм;
Общий крутящий момент, действующий на комбинированное сверло, складывается из моментов на его ступенях.
;
Нм;
Критическая сжимающая сила.
Это осевая нагрузка, которую стержень выдерживает без потери устойчивости:
2.7 Площадь поперечного сечения сверла
Увеличение площади поперечного сечения сверла способствует повышению прочности и жесткости сверла, до определенного момента увеличивается, и стойкость. Дальнейший рост сечения ухудшает отвод стружки.
Оптимальную и максимально допустимую площадь поперечного сечения определяют по формулам:


Для первой ступени:
мм2;
мм2.
Для второй ступени:
мм2;
мм2.
2.8 Диаметр сердцевины
Диаметр сердцевины сверла выбирается в зависимости от размеров сверла.
;
мм;
мм;
Диаметр сердцевины к хвостовику увеличивается. Это увеличение составляет 1,4-1,8 мм на каждые 100 мм рабочей части сверла.
2.9 Длина сверла
Длина первой ступени:

Где l>К> – длина заборного конуса;
l>П> – длина перебега;
l>ЗАТ> – запас на переточку;
l>Ф> – глубина фаски
;
мм;
мм;
;
мм;
;
мм;
мм;
Длина конечной ступени:
;
где l>г> – длина канавки для выхода фрезы
;
мм;
мм;
мм;
Принимаем длину
последней ступени
мм.
Длина и параметры хвостовика сверла:
Форма хвостовика определяется как формой посадочного отверстия станка, так и его диаметром.
Средний диаметр конического хвостовика определяется по формуле:
;
где:
- коэффициент трения стали о сталь;
-
половина угла конуса Морзе;
- отклонение угла конуса.
Тогда:
.
Максимальный диаметр конуса Морзе:
мм.
Выбираем стандартное значение:
для конуса Морзе №2.
Длина сверла состоит из суммы длин всех ступеней, шейки и длины хвостовика:
,
где
мм
– длина хвостовика сверла.
мм
– длина шейки сверла.
Тогда общая длина сверла:
мм.
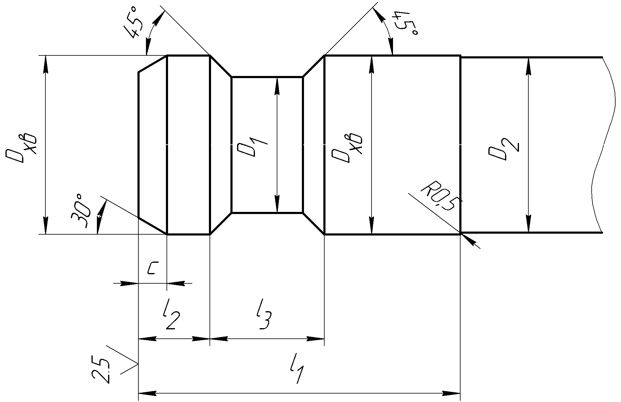
3 РАСЧЕТ ШЛИЦЕВОЙ ПРОТЯЖКИ
3.1 Исходные данные
При выборе заготовки для последующего протягивания определяют диаметр и точность предварительно изготовленного отверстия. При центрировании по ширине шлица предварительно обработанное отверстие не обрабатывается.
- диаметр отверстия
до протягивания
мм
[3, с.253, табл.4.75];
- наружный диаметр
шлицев
мм;
- внутренний диаметр
шлицев
мм;
- число шлицев
;
- ширина шлица
мм;
- материал детали сталь 40ХН твердость 180-350 НВ;
- длина протягивания
мм;
- шероховатость
мкм;
- максимальный диаметр
отверстия
мм.
3.2 Выбор схемы резания
На основании анализа конструкций протяжек по схемам резания, представленного [3, с.6, табл. 1], установлено, что протяжка с групповой схемой резания будет обеспечивать следующие преимущества:
- уменьшается длина протяжки;
- повышается производительность процесса протягивания4
- уменьшается расход инструментального материала;
- уменьшается суммарное усилие протягивания;
- повышается стойкость протяжки;
- снижается себестоимость обработки изделия;
3.3 Выбор угла фаски
По [3, с.24] принимаем угол фаски =45;
3.4 Шаг черновых зубьев
Шаг черновых зубьев определяется по формуле:
,
где L-длина протягивания;
мм;
Полученное значение
округляем до ближайшего стандартного,
выбранного из [3, с.14, табл.6]. Выписываем
размеры профиля зубьев протяжки:
мм,
мм,
мм,
мм,
мм2,
мм2.
значение углов резания примем по [3,
с.16, табл.8]. Передние углы для всех зубьев
,
значение задних углов для черновых и
переходных зубьев
,
чистовых
,
калибрующих
основные геометрические параметры
представлены на рисунке 3.2.

Рисунок 3.1 Размеры профиля зубьев протяжек
3.5 Максимально допустимая сила резания
Сила резания, допускаемая прочностью хвостовика в опасном сечении, выбирается из [3, с. 13, табл. 5]. Диаметр хвостовика D>хв> принимается равным ближайшему меньшему значению по отношению к D>0>. Но необходимо ограничить диаметр размером Ø50мм, поскольку прочность на разрыв такого хвостовика соответствует максимально-возможной величине тягового усилия.
D>хв>=50мм; D>1>=36мм; D>2>=49мм; l>1>=90мм; l>2>=20мм; l>3>=32мм; c=8мм; [σ>р>] = 400МПа; P>хв>=453200H.
Основные размеры хвостовика представлены на рисунке 3.3.

Рисунок 3.2 основные размеры хвостовика
Сила резания, допускаемая прочностью опасного сечения по впадине первого зуба, определяется из выражения:
P>оп
>=
,
где D>оп> – диаметр опасного сечения;
[σ>р>] – допускаемое напряжение на растяжение;
D>оп >= D>0> – 2h;
D>оп >= 102 – 2×9 = 84мм;
P>оп
>=
=2200000Н.
Расчетное тяговое усилие станка 7Б520 [3, с. 13, табл. 7]:
P>ст >=k×Q,
где k–КПД станка (k=0,9);
Q–тяговое усилие станка (Q=200000Н);
Н;
За величину максимально допустимой силы резания P>доп> принимаем наименьшее из полученных значений.
Н.
3.6 Максимальная глубина стружечной канавки по допустимому усилию
h>[>>σ>>]>=
;
h>[>>σ>>]>=
мм.
Величина h принятая по таблице меньше h>[>>σ>>]>. Коэффициент заполнения стружечных канавок для стали K=3.
3.7 Подача черновых секций
;
мм;
Полученное значение
округляем до стандартного S>z>>ч>=0,2мм.
Фактический коэффициент заполнения
стружечной канавки
:
;
3.8 Количество зубьев в черновых секциях
В случае срезания стружки по групповой схеме резания фасочные зубья группируются в двузубые секции, аналогично шлицевым зубьям, причем первые зубья в каждой секции имеют на боковых сторонах выкружки для разделения стружки по ширине, а вторые выполняются без выкружек, заниженные по диаметру на 0,02–0,04мм.
Таким образом, количество зубьев в черновых секциях принимаем для фасочной части Z>чсф >=2, шлицевой Z>чсш >=2.
3.9 Сила протягивания на черновых зубьях
На фасочной части:
;
Значение коэффициентов выбираем из [3, с. 17-18, табл. 9-10]:
;
;
;
;
.
;
;
Н;
На шлицевой части:
;
Н.
Р>ф>>Р>доп >- поэтому принимаем для расчета протяжной станок модели 7А540, [3, с. 13, табл. 7], с номинальным тяговым усилием 400000 Н. С учетом КПД,
Р>ст >=360000 Н.
3.10 Распределение припуска
Общий припуск на протягивание:
;
где
мм.
[3, с. 18, табл. 11];
мм;
На фасочную часть:
;
где d>фп>–диаметр последнего фасочного зуба;
;
мм;
мм;
Первый фасочный зуб соответствует диаметру предварительно подготовленного отверстия.
Припуск на переходные зубья в шлицевой части А>опш>, число переходных секций i>пш> принимаем по [3, с. 20, табл. 12б], а на чистовые зубья из [3, с. 20, 12а].
мм;
мм;
,
принимаем
;
мм;
На шлицевую часть:
мм;
3.11 Подъем на зуб
В фасочной части на
каждую двузубую секцию
мм,
в шлицевой части для черновых секций
мм,
переходных
мм.
3.12 Шаг переходных, чистовых и калибрующих зубьев
В виду того, что при
переточке чистовые зубья станут черновыми
и во избежание поломки инструмента. Для
всех зубьев примем одинаковый шаг:
мм.
3.13 Диаметр зубьев
Фасочные зубья:
первый
мм;
последний
мм.
Шлицевые зубья:
первый
мм;
последний
мм.
3.14 Количество черновых секций
В фасочной части:
;
;
В шлицевой части:
;
.
3.15 Количество зубьев
В фасочной части:
;
.
В шлицевой части:
;
;
;
.
Количество чистовых и калибрующих зубьев на шлицевой части выбираем из [3, с. 20, табл. 12а].
Z>чтш>=4; Z>кш>=3.
Подъём на зуб в
чистовой секции:
мм.
3.16 Длина режущих и калибрующих частей
Фасочная:
длина режущей части
;
мм.
калибрующих зубьев в фасочной части нет.
Шлицевая:
длина черновой и переходной режущих частей
;
мм.
длина чистовой и калибрующей режущих частей
;
мм.
3.17 Общая длина протяжки
Общая длина комбинированной протяжки равна сумме длин составных частей.
;
где
- длина хвостовика, передней и задней
направляющей;
Длина передней
направляющей выбирается в зависимости
от отношения длины протягивания
к диаметру протяжки
:
,
следовательно,
мм;
Длина задней направляющей части:
;
мм;
Длина переходного конуса:
мм,
принимаем
мм;
Длина переходной шейки:
мм;
где:
,
где:
,
мм;
мм.
Увеличение шага
между фасочной и шлицевой частями:
мм;
;
мм.
Полученная длина протяжки не превышает величины, допускаемой технологическими возможностями её изготовления [3, с. 24, табл. 14], поэтому протяжку выполняем цельной.
3.18 Геометрия зубьев
На вершинах калибрующих
зубьев выполняется цилиндрическая
ленточка
мм.
Вспомогательный угол в плане на шлицевых
зубьях
с
лентой по боковой поверхности
мм
выполняется на тех зубьях, высота
шлицевых выступов которых не менее
мм.
На первых зубьях черновых и переходных
секций выполняются выкружки. Радиус
выкружек определяется графически, при
этом их глубина должна быть не менее
мм.
4 ПАТРОН ДЛЯ КРЕПЛЕНИЯ СВЕРЛА НА АГРЕГАТНОМ СТАНКЕ
На агрегатных станках хвостовой инструмент с конусными и цилиндрическими хвостовиками закрепляют в шпинделях одношпиндельных или мрогошпиндельных насадок с помощью переходных втулок, которые в свою очередь, крепятся в шпинделе двумя винтами. Крутящий момент передается шпонкой, врезанной во втулку. На выходе втулки есть упорно-регулировочные гайки, с помощью которых режущий инструмент может высовываться на необходимую величину. Контровка гайки выполняется винтом, закрепляющим настроенное положение нажимом на поверхность трапециидальной резьбы через медную прокладку. Посадочные размеры втулок стандартизованы и согласованы с базовыми размерами шпинделей.
Для извлечения инструменту втулки та концы шпинделей насадок имеют отверстия под выбивной клин.
Проведем проверочный расчет шпонки на смятие:
,
де Т- суммарный крутящий момент на сверле, Н·м;
d- диаметр вала, мм;
h- высота шпонки, мм;
l>p>- рабочая длина шпонки, мм;
МПа – максимально – допустимое
напряжение смятия [5,с.36].
МПа.
Таким образом шпонка выдержит напряжения смятия, а также имеет запас прочности.
ЗАКЛЮЧЕНИЕ
В ходе работы произведён расчёт и проектирование заданных режущих инструментов: червячной фрезы, комбинированного сверла и шлицевой протяжки, а также спроектирован патрон для крепления сверла на агрегатном станке. Разработаны рабочие чертежи, приведенные в приложении с указанием предельных отклонений размеров деталей и шероховатостей на поверхности инструмента. Также приведен чертеж патрона для комбинированного сверла.
СПИСОК ИСПОЛЬЗОВАНОЙ ЛИТЕРАТУРЫ
1.– Методические указания к курсовому проекту по дисциплине «Режущий инструмент» для студентов специальностей 7.090203 «Металлорежущие станки и системы» и 7.090201 «Технология машиностроения»/ Сост.: И.В.Киселева, В.П.Цокур, О.А.Попенко. – Донецк : ДонГТУ, 1999. – 20 с.
2.– Методические указания к выполнению контрольных работ по курсу «Проектирование и производство металлорежущих инструментов»/ Сост.: И.А. Малышко, С.Л. Толстов. -Донецк: ДПИ,1991.-39с.
3.– Методические указания по расчёту комбинированных протяжек/ Сост.: И.А. Малышко, С.Е.Носенко.- Донецк: ДПИ,1986.-32с.
4.– Справочник технолога машиностроителя. В двух томах. Изд. 3, переработанное. Том 2. Под ред. Заслуженного деятеля науки и техники РСФСР д-ра техн. наук поф. А. Н. Малова. М., «Машиностроение», 1972, стр. 568.ццц