Расчет на прочность при напряжениях, циклически изменяющихся во времени
БЕЛОРУССКИЙ ГОСУДАРСТВЕННЫЙ УНИВЕРСИТЕТ ИНФОРМАТИКИ И РАДИОЭЛНЕКТРОНИКИ
Кафедра инженерной графики
РЕФЕРАТ
на тему:
«РАСЧЕТ НА ПРОЧНОСТЬ ПРИ НАПРЯЖЕНИЯХ, ЦИКЛИЧЕСКИ ИЗМЕНЯЮЩИХСЯ ВО ВРЕМЕНИ»
МИНСК, 2008
ОСНОВНЫЕ ОПРЕДЕЛЕНИЯ
Многие детали машин за время своей службы многократно подвергаются действию периодически изменяющихся во времени нагрузок (напряжений).
Например, ось вагона, работающая на изгиб и вращающаяся вместе с колесами, испытывает циклически изменяющиеся напряжения, хотя внешние силы сохраняют свою величину и направление. Волокна оси оказываются то в растянутой зоне, то в сжатой.
Весьма характерно, что при действии повторно-переменных нагрузок разрушение происходит в результате постепенного развития трещины, называемой обычно трещиной усталости. Термин усталость обязан своим происхождением ошибочному предположению первых исследователей этого явления о том, что под действием переменных напряжений изменяется структура металла.
В настоящее время установлено, что структура металла при действии периодических нагрузок не меняется. Природа усталостного разрушения обусловлена особенностями молекулярного и кристаллического строения вещества. По-видимому, она кроется в неоднородности строения материалов. Отдельные кристаллиты металла обладают различной прочностью в разных направлениях. Поэтому при определенных напряжениях в отдельных кристаллитах возникают пластические деформации.
При повторных разгрузках и нагрузках появляется наклеп и повышается хрупкость материала. В конце концов при большом числе повторений нагрузки способность материала к упрочнению исчерпывается и возникает микротрещина на одной из плоскостей скольжения кристаллитов. Возникшая трещина сама становится сильным концентратором напряжений и с учетом увеличивающегося ослабления сечения становится местом окончательного разрушения.
В сечении, где происходит разрушение, можно ясно различить две зоны: зону с гладкой, притертой поверхностью (зона постепенного развития трещины) и зону с шероховатой поверхностью (зона окончательного разрушения вследствие ослабления сечения).
На рис. 12.1 показана фотография сечения разрушившегося рельса. Вокруг внутренней трещины, которая осталась в рельсе после его прокатки, видна гладкая притертая поверхность, образовавшаяся в результате постепенного развития трещины, далее идет шероховатая поверхность сечения, где произошло окончательное разрушение рельса
вследствие
большого ослабления его сечения.
Существенно влияют на возникновение и развитие трещин усталости дефекты внутреннего строения материала (внутренние трещины, шлаковые включения и т. п.) и дефекты обработки поверхности детали (царапины, следы от резца или шлифовального камня и т. п.). Накопление необратимых механических изменений в материале при приложении циклических нагрузок называют усталостью, а разрушение в результате постепенного развития трещины — усталостным разрушением.
Исследования показывают, что поломки частей машин в подавляющем большинстве случаев происходят из-за трещин усталости.
В общем случае нагрузки и напряжения могут изменяться во времени по очень сложным законам. Переменные напряжения могут иметь установившийся и неустановившийся режимы.

При неустановившемся режиме закон изменения напряжений во времени может быть любым.
При установившемся режиме изменение напряжений во времени носит повторяющийся (периодический) характер. Через определенный промежуток (период) времени происходит точное повторение напряжений.
Совокупность всех значений напряжений за время одного периода называют циклом. Можно также сказать, что циклом называется однократная смена напряжений.
На рис. 12.2, а и б приведены кривые изменения во времени нормальных и касательных напряжений в коленчатом валу дизеля за один оборот. Напряжения, как видим, изменяются по очень сложному закону, но имеют периодический (циклический) характер.
Влияние
формы кривой изменения напряжений на
усталостную прочность деталей изучено
недостаточно, но имеющиеся данные
позволяют все же считать, что это влияние
невелико, а решающую роль играют значения
максимального и минимального напряжения
цикла и их отношение. Поэтому в дальнейшем
будем предполагать, что изменение
напряжений во времени происходит по
закону, близкому к синусоиде (рис. 12.3,
а).
Цикл переменных напряжений характеризуется:
максимальным по алгебраической
величине напряжением
;
минимальным напряжением

средним напряжением
(1)
Среднее напряжение цикла — постоянная во времени (статическая) составляющая цикла (положительная или отрицательная);
4) амплитуда цикла
(2)
Амплитуда напряжений цикла — наибольшее (положительное) значение переменной составляющей цикла напряжений;
5) коэффициентом асимметрии цикла
(3)
Циклы, имеющие одинаковые значения R, называют подобными.
Из формул (1), (2), а также из рис. 12.3 видно, что

В случае, если
и
,
то имеем симметричный цикл напряжений
(рис. 12.3, б). При этом

Цикл напряжений, показанный на рис. 12.3, в, называется отнулевым, или пульсирующим. Для этого случая

Постоянное статическое напряжение (рис. 12.3, г) можно рассматривать как частный случай переменного цикла с характеристиками

Любой асимметричный цикл переменных напряжений можно представить как сумму симметричного цикла с максимальным напряжением, равным амплитуде заданного цикла, и постоянного напряжения, равного среднему напряжению заданного цикла (см. рис. 12.3, а).
В случае переменных касательных напряжений остаются в силе все приведенные здесь термины и соотношения, с заменой δ на τ.
КРИВАЯ УСТАЛОСТИ ПРИ СИММЕТРИЧНОМ ЦИКЛЕ. ПРЕДЕЛ ВЫНОСЛИВОСТИ
Для
расчетов на прочность при действии
повторно-переменных напряжений необходимо
знать механические характеристики
материала. Они определяются путем
испытания образцов на специальных
машинах.
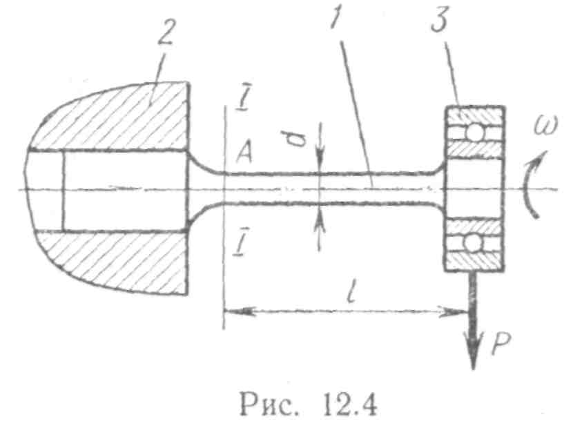
Наиболее простым и распространенным является испытание образцов при симметричном цикле напряжений. Принципиальная схема машины для испытания образцов на изгиб показана на рис. 12.4. Образец 1 закрепляется в патроне 2 шпинделя машины, вращающегося с некоторой угловой скоростью. На конце образца посажен подшипник 3, через который передается сила Р постоянного направления. Легко видеть, что при этом образец будет подвергаться действию изгиба с симметричным циклом. Действительно, в сечении /—/ образца в наиболее опасной точке А действует растягивающее напряжение о, так как консоль изгибается выпуклостью вверх. Однако после того как образец повернется на половину оборота, точка А окажется внизу, в сжатой зоне, и напряжение в ней станет равным — δ. После следующей половины оборота образца точка А окажется снова наверху и т . д. При переходе через нейтральную ось напряжение в точке А будет равно нулю.
Испытание ведут в следующей
последовательности. Берут 10 одинаковых
образцов обычно диаметром 6
10 мм с полированной
поверхностью. Первый образец нагружают
до значительного напряжения δ1для того,
чтобы он разрушился при сравнительно
небольшом числе N1
оборотов (циклов). При этом
имеется в виду наибольшее напряжение
цикла для наиболее напряженной точки
сечения. При изгибе, как известно,
наибольшее напряжение возникает в
крайних точках сечения и определяется
по формуле

Результаты испытании наносят
на диаграмму, которая строится в
координатах
(рис. 12.5).
После испытания первого образца на диаграмме появляется точка А, координаты которой N1 и δ1max (или просто δ1).
Затем испытывают второй образец, создавая в нем несколько меньшее напряжение δ2. Естественно, что он разрушится при большем числе циклов N2.На диаграмму наносят точку В с координатами N2 и δ2 и т. д.
Испытав все образцы и соединив точки А, В, С и т. д. плавной линией, получим некоторую кривую АВСД, которая называется кривой усталости (или кривой Вёлера).
Эта
кривая характерна тем, что, начиная с
некоторого напряжения, она идет
практически горизонтально (участок
CD).
Это означает, что при
определенном напряжении δ-1 образец
может, не разрушаясь, выдержать бесконечно
большое число циклов.
Наибольшее значение максимального по величине напряжения цикла, которому материал может сопротивляться без разрушения неограниченно долго, называется пределом выносливости (пределом усталости) и обозначатеся δ-1.
Практически, как показывает опыт, образец из углеродистой стали, выдержавший 107 циклов (это число называется базой испытаний), может выдержать их неограниченно много.
Поэтому после прохождения 107 циклов для стальных образцов опыты прекращают.
Напряжение δ-1, соответствующее N = 107, принимается за предел выносливости.
Для цветных металлов и для закаленных сталей не удается установить такое число циклов, выдержав которое, образец не разрушился бы в дальнейшем. Для этих случаев введено понятие предела ограниченной выносливости, как наибольшего по величине максимального напряжения цикла, при котором образец способен выдержать определенное число циклов (обычно N = 108).
Аналогичным образом, но на других машинах проводят испытания и находят пределы выносливости при действии осевых сил δ-1, при кручении (τ-1) и при сложных деформациях.
В настоящее время для многих материалов пределы выносливости найдены и приводятся в справочниках. Из этих данных видно, что для большинства металлов предел выносливости при симметричном цикле меньше предела текучести.
Многие детали машин за время
своей службы испытывают только
ограниченное число перемен напряжений.
В этих случаях расчет ведут
по более высокому пределу ограниченной
выносливости, при которой материал
выдерживает заданное число циклов. Его
величина определяется по кривой
усталости для заданного числа циклов.
ДИАГРАММЫ ПРЕДЕЛЬНЫХ НАПРЯЖЕНИЙ
Для определения предела выносливости при действии напряжений с асимметричными циклами строятся диаграммы различных типов. Наиболее распространенными из них являются:
диаграмма предельных напряжений, в координатах δmax — δm (диаграмма Смита);
диаграмма предельных амплитуд, в координатах δа — δт (диаграмма Хэя).

Вначале на ось δтах наносится точка С, ордината которой представляет собой предел выносливости при симметричном цикле δ-1 (при симметричном цикле среднее напряжение равно нулю). Затем экспериментально определяют предел выносливости для какой-нибудь асимметричной нагрузки, например для отнулевой, у которой максимальное напряжение всегда в два раза больше среднего. На диаграмму нанесем точку Р, ордината которой представляет собой предел выносливости для отнулевого цикла δ0. Для многих материалов значения δ-1 и δ0 определены и приводятся в справочниках.
Аналогично опытным путем определяют предел выносливости для асимметричных циклов с другими параметрами.
Результаты наносят на диаграмму в виде точек А, В и т. д., ординаты которых есть пределы выносливости для соответствующих циклов напряжений. Точка D, лежащая одновременно и на биссектрисе OD, характеризует предельное напряжение (предел прочности) для постоянной нагрузки, у которой δmах = δт.
Так как для пластичных материалов опасным напряжением является также предел текучести о*.,, то на диаграмме наносится горизонтальная линия KL, ордината которой равна δт. (Для пластичных материалов, диаграмма растяжения которых не имеет площадки текучести, роль δт играет условный предел текучести δ0,2.) Следовательно, диаграмма предельных напряжений окончательно будет иметь вПД CAPKL.
Обычно эту диаграмму упрощают, заменяя ее двумя прямыми СМ и ML, причем прямую СМ проводят через точку С (соответствующую симметричному циклу) и точку Р (соответствующую отнулевому циклу).
Указанный способ схематизации диаграммы предельных напряжений предложен С. В. Серенсеном и Р. С. Кинасошвили.
В этом случае в пределах прямой СМ предельное напряжение цикла (предел' выносливости) будет выражаться уравнением
(6)
или
(7) где
(8)
Коэффициент
характеризует чувствительность материала
к асимметрии цикла.
При расчетах на выносливость
часто пользуются также диаграммой
предельных амплитуд, которая строится
в координатах
—
(диаграмма Хэя). Для этого по вертикальной
оси откладывают амплитудное напряжение,
по горизонтальной оси — среднее (рис.
12.7).
Точка А диаграммы соответствует пределу выносливости при симметричном цикле, так как при таком цикле δт = 0.
Точка В соответствует пределу прочности при постоянном напряжении, так как при этом δа = 0.
Точка С соответствует пределу выносливости при пульсирующем цикле, так как при таком цикле δа = δт.
Другие точки диаграммы соответствуют пределам выносливости для циклов с различным соотношением δа и δm.
Сумма координат любой точки предельной кривой АСВ дает величину предела выносливости при данном среднем напряжении цикла

Для пластичных материалов предельное напряжение не должно превосходить предела текучести

П
оэтому
на диаграмму предельных напряжений
наносим прямую DE,
построенную по уравнению

Окончательная диаграмма предельных напряжений имеет вид AKD.
На практике обычно пользуются приближенной диаграммой δа—δт, построенной по трем точкам А, С и D и состоящей из двух прямолинейных участков AL и LD (способ Серенсена — Кинасо-швили). Точка L получается в результате пересечения двух прямых: прямой DE и прямой АС. Расчеты по диаграмме Смита и Хэя при одинаковых способах аппроксимации приводят к одним и тем же результатам.
ФАКТОРЫ, ВЛИЯЮЩИЕ НА ВЕЛИЧИНУ ПРЕДЕЛА ВЫНОСЛИВОСТИ
Опыты показывают, что на величину предела выносливости существенно влияют следующие факторы: концентрация напряжений, размеры детали, состояние поверхности, характер технологической обработки и др.
Рассмотрим их более подробно.
А. Влияние концентрации напряжений
Резкие изменения формы детали, отверстия, выточки, надрезы и т. п. значительно снижают предел выносливости по сравнению с пределом выносливости для гладких цилиндрических образцов.
Это снижение учитывается эффективным коэффициентом концентрации напряжений, который определяется экспериментальным путем.
Для этого берут две серии одинаковых образцов (по 10 образцов в каждой), но первые без концентрации напряжений, а вторые — с концентрацией и определяют пределы выносливости при симметричном цикле для образцов без концентрации напряжений δг и для образцов с концентрацией напряжений δ-1к
Отношение
(9)
определит
величину эффективного (действительного)
коэффициента концентрации напряжений.
Опыты показывают, что этот коэффициент
отличается от теоретического αδ0,
так как первый зависит не
только от формы детали, но и от материала.
Значения k0
приводятся в справочниках.
Для примера на рис. 12.8 приведены значения
эффективных коэффициентов концентрации
при изгибе для ступенчатых валов с
отношением
,
с переходом по круговой галтели
радиуса r.
Эти данные получены при
испытании образцов d
= 30
50
мм для сталей с
пределом прочности
в
= 50 кГ/мм2 и 120
кГ/мм2. Там же для
сравнения приведен график теоретического
коэффициента концентрации аδ
(пунктиром).
На рис. 12.9 даны значения коэффициентов концентрации при кручении ат и kт, a на рис. 12.10—для растяжения сжатия.

Для определения эффективных
коэффициентов концентрации при других
отношениях
следует пользоваться формулой
(10)
где (ko)0
— эффективный коэффициент
концентрации, соответствующий
отношению
;
— поправочный коэффициент,
определяемый по рис. 12.11, при этом кривая
1 дает значение
при изгибе, кривая 2 —
при кручении.
Б. Влияние абсолютных размеров детали
Опыты показывают, что
чем больше абсолютные размеры детали,
тем меньше предел выносливости. Отношение
предела выносливости детали размером
d к
пределу выносливости лабораторного
образца подобной конфигурации, имеющего
малые размеры (d0
= 6
12
мм), называют
коэффициентом влияния абсолютных
размеров сечения (или масштабным
фактором):
—
для нормальных напряжений;
— для
касательных напряжений.
К
оэффициенты
влияния абсолютных размеров сечения
могут определяться и на образцах с
концентрацией напряжений. В этом случае


При этом как деталь размером d, так и образец размера d0 должны иметь геометрически подобную конфигурацию.
На рис. 12.12 приведен график
значений
.
Кривая 1 соответствует мягким углеродистым
сталям с пределом прочности
=
40
50
кГ/мм2, кривая 2
— высокопрочным легированным
сталям с пределом прочности
— 120
140
кГ/мм2:
При промежуточных значениях предела прочности следует производить интерполяцию между кривыми.
Из-за отсутствия достаточного
количества экспериментальных данных
о коэффициентах
(при кручении) можно приближенно
принимать, что
«
.
Следует отметить, что
экспериментальных данных для определения
и
еще
недостаточно.
В. Влияние качества поверхности и упрочнения поверхностного слоя
Опыты показывают, что плохая обработка поверхности детали снижает предел выносливости. Влияние качества поверхности связано с изменением микрогеометрии и состоянием металла в поверхностном слое, что в свою очередь зависит от способа механической обработки.
Для
оценки влияния качества поверхности
на предел выносливости вводится
коэффициент {5, равный отношению предела
выносливости детали с данной обработкой
поверхности (а-]п) к пределу выносливости
тщательно полированного образца (о
Л)

На рис. 12.13 приведен график значений β в зависимости от предела прочности σв стали и вида обработки поверхности. При этом кривые соответствуют следующим видам обработки поверхности: 1 — полирование, 2 — шлифование, 3 — тонкая обточка, 4 — грубая обточка, 5 — наличие окалины.
Различные способы поверхностного упрочнения (наклеп, цементация, азотирование, поверхностная закалка токами высокой частоты и т. п.) сильно повышают значения коэффициента качества поверхности β, и он может достигать значений, больших единицы: 1,5 — 2 и даже более вместо 9,6—0,8 для деталей без упрочнения. Таким образом, путем поверхностного упрочнения деталей можно в 2—3 раза повысить усталостную прочность деталей машин.
Подробные данные о величине β в зависимости от способа упрочнения поверхностного слоя приводятся в справочниках, например в «Справочнике машиностроителя», т. 3.
ОПРЕДЕЛЕНИЕ КОЭФФИЦИЕНТА ЗАПАСА ПРОЧНОСТИ ПРИ СИММЕТРИЧНОМ ЦИКЛЕ
С учетом совместного влияния перечисленных выше факторов предел выносливости реальной детали будет меньше предела выносливости лабораторного образца. Он вычисляется по формуле
(11)
Зная максимальное напряжение симметричного цикла, при котором должна работать данная деталь, можно найти запас прочности по усталости
(12)
Аналогично определяется коэффициент запаса прочности и при кручении
(13)
При сложном напряженном состоянии коэффициент запаса прочности вычисляется обычно по формуле (9.43)

где nσ и пτ определяются по формулам (12) и (13).
ОПРЕДЕЛЕНИЕ КОЭФФИЦИЕНТА ЗАПАСА ПРОЧНОСТИ ПРИ НЕСИММЕТРИЧНОМ ЦИКЛЕ НАПРЯЖЕНИИ
Для расчетов при несимметричном цикле напряжений принимают упрощенную диаграмму CML предельных напряжений образца (рис. 12.6 и 12.14).
Учитывая концентрацию напряжений, влияние абсолютных размеров, состояние поверхности, строят диаграмму предельных напряжений детали. При этом в соответствии с данными опытов влияние перечисленных факторов
о
тносят
только к переменной составляющей цикла,
т. е. к амплитуде σа. Предельная амплитуда
I
напряжений для образца, согласно формуле
(7), равна
(14)
Предельная амплитуда напряжений для детали, согласно сказанному выше, равна
(15)
Уравнение линии предельных напряжений EN (см. рис. 12.14) \ для детали получит вид
(16)
Здесь штрихами обозначены текущие координаты.
Вычислим теперь коэффициент
запаса прочности детали при действии
переменных напряжений
и
(точка R
диаграммы — см. рис. 12.14).
Предположим, что при увеличении
нагрузки на деталь отношение
.
Такое нагружение называется простым.
В этом случае предельной точкой,
соответствующей разрушению, будет
являться точка S.
Коэффициент запаса прочности будет равен отношению отрезков SS' к RR':
(17)
Величину
(ординату точки S)
найдем в результате совместного
решения уравнений линии EN
и линии OS.
Уравнение линии OS
имеет вид
(18)
Штрихами обозначены текущие координаты.
Приравняв правые части формул (16) и (18), получим

откуда

Подставив значение
в формулу (16) или (18), найдем
ординату точки S
(19)
Следовательно, на основании формулы (17) получается следующая окончательная зависимость для определения коэффициента запаса прочности
(20)
Аналогично при кручении
(21)
При сложном напряженном состоянии, возникающем, например, при кручении с изгибом, коэффициент запаса прочности вычисляется по формуле (9.43)

а значения пσ и пт в этом случае вычисляются по формулам (20) и (21).
Кроме коэффициента запаса прочности по сопротивлению усталости необходимо вычислять коэффициент запаса по сопротивлению пластическим деформациям, так как точка 5 может оказаться выше линии ML. Коэффициент запаса прочности по сопротивлению пластическим деформациям вычисляется по формулам:
(22)
(23)
Расчетным (действительным) является меньший из коэффициентов запаса, вычисляемых по формуле (20) или (22), либо при кручении соответственно по формуле (21) или (23). В случае расчета на изгиб с кручением в формулу для определения общего коэффициента запаса прочности п следует подставлять меньшие из значений пσ и пт, вычисляемые, как указано выше.
ПРАКТИЧЕСКИЕ МЕРЫ ПОВЫШЕНИЯ УСТАЛОСТНОЙ ПРОЧНОСТИ
При конструировании деталей, работающих в условиях возникновения переменных напряжений, рекомендуется принимать следующие меры для повышения усталостной прочности.
Применять возможно более однородные материалы, с мелкозернистой структурой, свободные от внутренних очагов концентрации (трещин, газовых пузырьков, неметаллических включений и т.д.).
Придавать деталям такие очертания, при которых была бы уменьшена концентрация напряжений. Не следует допускать переходов от
о
дного
размера сечения к другому без переходных
кривых. В некоторых случаях рекомендуется
применять специальные разгружающие
надрезы—деконцентраторы напряжений.
Так, например, если у места резкого
перехода сделать плавную выкружку в
более толстой части детали (рис. 12.15), то
величина местных напряжений резко
снизится.
Тщательно обрабатывать поверхность детали, вплоть до полировки, устраняя малейшие царапины, так как они могут явиться началом будущей усталостной трещины.
Применять специальные методы повышения выносливости (поверхностное упрочнение, тренировка деталей кратковременными повышенными нагрузками и т. д.).
Только произведя поверхностное упрочнение путем наклепа, можно повысить срок службы деталей машин в 2—3 раза при незначительных дополнительных расходах. Это равносильно тому, что выпуск машин может быть удвоен и утроен.
Из этого примера видно, какой огромный экономический эффект можно получить при правильном конструировании и технологической обработке деталей машин.
ЛИТЕРАТУРА
|
1 |
Феодосьев В.И. Сопротивление материалов. |
2002 |
|
2 |
Беляев Н.М. Сопротивление материалов. |
1999 |
|
3 |
Красковский Е.Я., Дружинин Ю.А., Филатова Е.М. Расчет и конструирование механизмов приборов и вычислительных систем. |
1991 |
|
4 |
Работнов Ю.Н. Механика деформируемого твердого тела. |
2004 |
|
5 |
Степин П.А. Сопротивление материалов. |
1990 |