Расчёт редуктора (работа 3)
Курсовая работа
Дисциплина Детали машин
Тема «Расчёт редуктора»
Содержание
Введение
Кинематическая схема и исходные данные
Кинематический расчет и выбор электродвигателя
Расчет зубчатых колес редуктора
Предварительный расчет валов редуктора и выбор подшипников
нструктивные размеры шестерни и колеса
Конструктивные размеры корпуса редуктора
Первый этап компоновки редуктора
Проверка долговечности подшипника
Второй этап компоновки. Проверка прочности шпоночных соединений
Уточненный расчет валов
Вычерчивание редуктора
Посадки шестерни, зубчатого колеса, подшипника
Выбор сорта масла
Сборка редуктора
Введение
Редуктором называют механизм, состоящий из зубчатых или червячных передач, выполненный в виде отдельного агрегата и служащий для передачи вращения от вала двигателя к валу рабочей машины. Кинематическая схема привода может включать, помимо редуктора, открытые зубчатые передачи, цепные или ременные передачи. Указанные механизмы являются наиболее распространенной тематикой курсового проектирования.
Назначение редуктора – понижение угловой скорости и соответственно повышение вращающего момента ведомого вала по сравнению с ведущим. Механизмы для повышения угловой скорости, выполненные в виде отдельных агрегатов, называют ускорителями или мультипликаторами.
Редуктор состоит из корпуса (литого чугунного или сварного стального), в котором помещают элементы передачи – зубчатые колеса, валы, подшипники и т. д. В отдельных случаях в корпусе редуктора размещают также устройства для смазывания зацеплений и подшипников (например, внутри корпуса редуктора может быть помещен шестеренный масляный насос) или устройства для охлаждения (например, змеевик с охлаждающей водой в корпусе червячного редуктора).
Редуктор проектируют либо для привода определенной машины, либо по заданной нагрузке (моменту на выходном валу) и передаточному числу без указания конкретного назначения. Второй случай характерен для специализированных заводов, на которых организовано серийное производство редукторов.
Кинематические схемы и общие виды наиболее распространенных типов редукторов представлены на рис. 2.1-2.20 [Л.1]. На кинематических схемах буквой Б обозначен входной (быстроходный) вал редуктора, буквой Т – выходной (тихоходный).
Редукторы классифицируют по следующим основным признакам: типу передачи (зубчатые, червячные или зубчато-червячные); числу ступеней (одноступенчатые, двухступенчатые и т. д.); типу – зубчатых колес (цилиндрические, конические, коническо-цилиндрические и т. д.); относительному расположению валов редуктора в пространстве (горизонтальные, вертикальные); особенностям кинематической схемы (развернутая, соосная, с раздвоенной ступенью и т. д.).
Возможности получения больших передаточных чисел при малых габаритах обеспечивают планетарные и волновые редукторы.
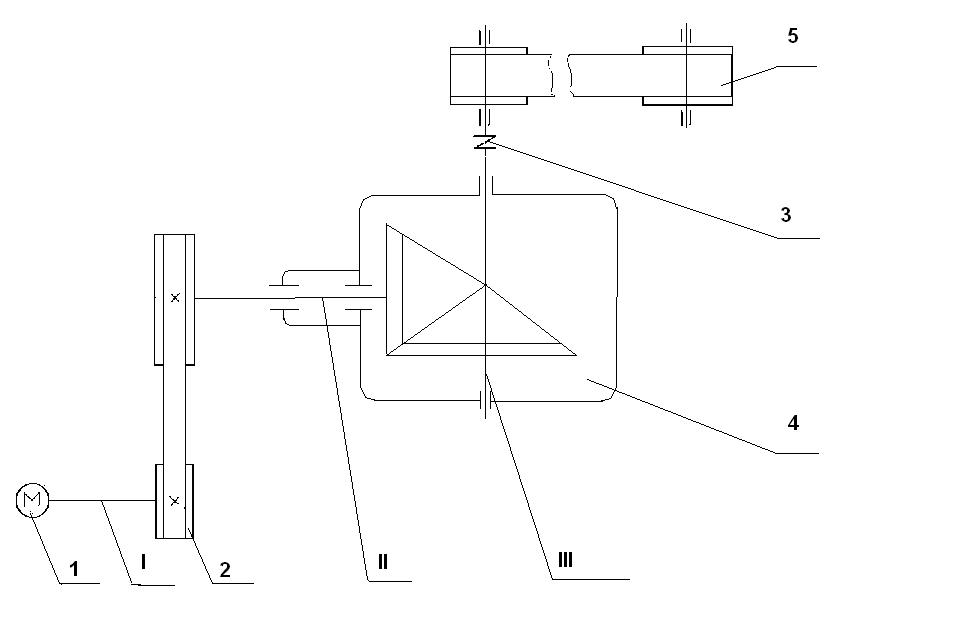
1. Кинематическая схема редуктора
Исходные данные:
Мощность на ведущем валу
транспортера
;
Угловая скорость вала редуктора
;
Передаточное число редуктора
;
Отклонение от передаточного
числа
;
Время работы редуктора
.

1 – электромотор;
2 – ременная передача;
3 – муфта упругая втулочно-пальцевая;
4 – редуктор;
5 – ленточный транспортёр;
I – вал электромотора;
II – ведущий вал редуктора;
III – ведомый вал редуктора.
2. Кинематический расчет и выбор электродвигателя
2.1 По табл. 1.1 коэффициент полезного действия пары цилиндрических зубчатых колес η>1> = 0,98; коэффициент, учитывающий потери пары подшипников качения, η>2> = 0,99; КПД клиноременной передачи η>3> = 0,95; КПД плоскоременной передачи в опорах приводного барабана, η>4> = 0,99
2.2 Общий КПД привода
η = η>1> η2 η>3> η>4> = 0,98∙0,992∙0,95∙0,99= 0,90
2.3 Требуемая мощность электродвигателя
P>тр>
=
=
=1,88 кВт.
где P>III>-мощность выходного вала привода,
-общий КПД привода.
2.4 По ГОСТ 19523-81 (см. табл. П1 приложениях [Л.1]) по требуемой мощности Р>дв> = 1,88кВт выбираем электродвигатель трехфазный асинхронный короткозамкнутый серии 4А закрытый, обдуваемый, с синхронной частотой вращения 750 об/мин 4А112МА8с параметрами Р>дв> = 2,2кВт и скольжением 6,0%.
Номинальная частота вращения
n>дв>>.=>n>c>1-s
где n>c>-синхронная частота вращения,
s- скольжение
n>дв>
=

2.5 Угловая скорость
ω>I>
=
=
= 73,79рад/с.
2.6 Частота вращения
n>III>=
=
=
114,64об/мин
2.7 Передаточное отношение
U>об>=
i =
=
= 6,1
где >I>-угловая скорость двигателя,
>III>-угловая скорость выходного привода
2.8 Намечаем для редуктора u =1,6; тогда для клиноременной передачи
i>p>
=
=
=3,81– что находиться в пределах
рекомендуемого
2.9 Крутящий момент, создаваемый на каждом валу.
кНм.
Крутящий момент на 1-м валу М>I>=0,025кНм.
P>II>=P>I>>p>=1,880,95=1,786 Нм.
>
>
радс
>
>>
>кНм.
Крутящий момент на 2-м валу М>II>=0,092 кНм.
кНм.
Крутящий момент на 3-м валу М>III>=0,14 кНм.
2.10 Выполним проверку


Определим частоту вращения на 2-м валу
обмин.
Частоты вращения и угловые скорости валов
|
Вал I |
n>I>=705 обмин |
>I>=73,79 рад/с |
М>I>=0,025 кНм |
|
Вал II |
n>II>=184,9 обмин |
>II>=19,36 рад/с |
М>II>=0,092 кНм |
|
Вал III |
n>III>>=>114,64 об/мин |
>III>=12 рад/с |
М>III>=0,14 кНм |
3. Расчет зубчатых колес редуктора
Выбираем материалы для зубчатых колес такие же, как в § 12.1 [Л.1].
Для шестерни сталь 45, термообработка – улучшение, твердость НВ 260; для колеса сталь 45, термообработка – улучшение, твердость НВ 230.
Допускаемое контактное напряжение для прямозубых колес из указанных материалов определим с помощью формулы 3.9, [1], стр.33:

где >H>> >>limb> – предел контактной выносливости;
b – база нагружения;
K>HV> – коэффициент долговечности;
S>H> - коэффициент безопасности.
Значение >H>> >>limb>> >выбираем из [1] табл.3.2, стр.34.
Для шестерни:
>H>> >>limb>=2HB>1>+70=2260+70=590 МПа;
Для колеса
>H>> >>limb>=2HB>2>+70=2230+70=530 МПа.
Для шестерни
=
МПа;
Для колеса
=
МПа.
Допускаемое контактное напряжение
принимаю
=
442 МПа.
Принимаю коэффициент ширины венца ψ>bRe> = 0,285 (по ГОСТ 12289-76).
Коэффициент К>нβ>, учитывающий неравномерность распределения нагрузки по ширине венца, примем по табл. 3.1 [Л.1]. Несмотря на симметричное расположение колес относительно опор, примем значение этого коэффициента, как в случае несимметричного расположения колес, так как со стороны клиноременной передачи действует сила давления на ведущий вал, вызывающая его деформацию и ухудшающая контакт зубьев: К>нβ> = 1,25.
Внешний делительный диаметр колеса находим по формуле 3.9 1 стр.49

В этой формуле для прямозубых передач К>d>= 99;
Передаточное число U=1,16;
М>III>-крутящий момент на 3-м валу.
мм
Принимаем по ГОСТ 12289-76 ближайшее стандартное значение d>e>>2>=180 мм
Примем число зубьев шестерни z>1>=32
3.1 Число зубьев колеса
z>2>=z>1>U=321,6=51
3.2 Внешний окружной модуль
мм
3.3 Уточняем значение
>
>мм
3.4 Углы делительных конусов
ctq>1>=U=1,6 >1>= 320
>2>=900->1>=900-320=580
3.5 Внешнее конусное расстояние
мм
3.6 Длина зуба
мм
3.7 Внешний делительный диаметр
мм
3.8 Средний делительный диаметр шестерни
мм
3.9 Внешние диаметры шестерни и колеса (по вершинам зубьев)
мм
мм
3.9 Средний окружной модуль
мм
3.10 Коэффициент ширины шестерни по среднему диаметру

3.11Средняя окружная скорость
м/с
Для конических передач обычно назначают 7-ю степень точности.
3.12 Для проверки контактных напряжений определяем коэффициент нагрузки

По табл. 3.5 [1] при ψ>bd> =0,28;консольним расположением колес и твердости НВ < 350 коэффициент учитывающий распределение нагрузки по длине зуба, К>Нβ> = 1,15.
Коэффициент, учитывающий распределение нагрузки между прямыми зубьями, К>H>>>=1,05 1 см. таб. 3.4
Коэффициент, учитывающий динамическую нагрузку в зацеплении, для прямозубых колес при 5 м/с, К>H>>>=1,05 1 cм. таб. 3.6
Таким образом, К>н> = 1,151,051,05 = 1,268.
3.13 Проверяем контактные напряжения по формуле 3.27) из 1
=
346,4 МПа,
346,4>H>=442 МПа
Условие прочности выполнено
3.14 Силы, действующие в зацеплении:
Окружная
= 1920 Н;
радиальная
592,6
Н;
Осевая
370 H
3.15 Проверим зубья на выносливость по напряжениям изгиба по формуле3.31 из 1:
.
3.16 Коэффициент нагрузки
K>F> = K>F>>β>∙K>F>>>
3.17 По табл. 3.7 [1] при ψ>bd> = 0,28,консольном расположении, валах на роликовых подшипниках колес и твердости НВ < 350 значение K>Fβ> = 1,37.
3.18 По табл. 3.8 [1] при твердости HB350, скорости =1,02 м/с и 7-й степени точности коэффициент K>F>>> =1,25(значение взято для 8-й степени точности в соответствии с указанием 1 стр.53
Таким образом, K>F>>> =1,371,25=1,71
3.19 Коэффициент, учитывающий форму зуба, Y>F> зависит от эквивалентного числа зубьев;
у шестерни
37,7
;
у колеса
96,2
при этом коэффициенты Y>Fl> = 3,72 и Y>F>>2> = 3,605 (см. с. 42) [1].
3.20 Определяем допускаемое напряжение при проверке зубьев на выносливость по напряжением изгиба:

По таб.3.9 1 для стали 45 улучшенной при твердости HB350
0>Flimb>=1,8 HB
Для шестерни σ
=
1,8 260 = 468 МПа;
Для
колеса σ
=
1,8∙230 = 414 МПа.
3.21 Коэффициент запаса прочности [S>F>] = [S>F>]'∙[S>F>]''
По табл. 3.9 [1] [S>F>] = 1,75 для стали 45 улучшенной; коэффициент [S>F>]" = 1 для поковок и штамповок. Следовательно, [S>F>] = 1,75.
3.22 Допускаемые напряжения:
для шестерни [σ>F>>1>]
=
= 236,5 МПа;
для колеса [σ>F>>2>]
=
= 206 МПа.
Проверку на изгиб следует
проводить для того зубчатого колеса,
для которого отношение
меньше. Найдем эти отношения:
для шестерни
= 64 МПа.
для колеса
= 57 МПа
3.23 Проверку на изгиб проводим для колеса:
=
154 МПа < 206 МПа
Условие прочности выполнено.
4. Предварительный расчет валов редуктора и выбор подшипников
Предварительный расчет валов на кручение, выполняют по пониженным допускаемым напряжениям.
4.1 Крутящие моменты в поперечных сечения валов:
Ведущего М>II>=92103 Hм
Ведомого М>III>=140103 Нм
4.2 Определим диаметр выходного конца вала при допускаемом напряжении >к>=20 МПа для ведущего вала:
26 мм
Принимаем ближайшие большее значение из стандартного ряда d>B>>2>= 28
мм.
Диаметр вала под подшипниками принимаем d>П2> = 35 мм,
Диаметр под шестерни d>K>>2>=28 мм
4.3 Определим диаметр выходного конца вала при допускаемом напряжении >к>=15 МПа для ведомого вала:

36
мм.
Принимаем ближайшие большее значение из стандартного ряда d>B>>3> = 38 мм.
Диаметр вала под подшипниками принимаем d>П3> = 45 мм.
Диаметр под зубчатым колесом d>K>>3>=50 мм
Диаметр под уплотнитель d=40 мм
5. Конструктивные размеры шестерни и колеса
5.1 Шестерня:
Сравнительно небольшие размеры шестерни по отношению к диаметру вала позволяют не выделять ступицу. Длина посадочного участка (назовем его по аналогии l>ст.>).
l>ст>>.>=b= 30 мм
5.2 Колесо:
Коническое колесо кованое.
Его размеры: d>ае2>=184 мм; b>2>= 30 мм.
Диаметр ступицы d>ст>
= l,2·d>k>>2>
= 1,2 · 50 = 60 мм; длина ступицы l>ст>
= (1,2
l,5)d>k>>2>
= (1,2
1,5) ∙ 28 = 33,6 ÷42 мм, принимаем l>ст>
= 38 мм.
Толщина обода δ>0>
= (3
4) m=
(3
4)∙3 = 9
12 мм, принимаем δ>0>
= 10 мм.
Толщина диска С =(0,1÷ 0,17) R>e>=(0,1÷0,17)·105=10,5÷17,9 мм
Принимаем с=14 мм.
6. Конструктивные размеры корпуса редуктора
6.1 Толщина стенок корпуса и крышки:
δ = 0,05·R>e>+1=0,05·105+1=6,268 мм; принимаю δ=7 мм
δ>1>=0,04·R>e>+1=0,04·105+1=5,21 мм; принимаю δ=6 мм.
6.2 Толщина фланцев поясов корпуса и крышки:
верхнего пояса корпуса и пояса крышки
b = 1,5 δ = 1,5∙7 = 10,5 мм; принимаю b=11 мм
b>1> = 1,5∙δ>1> = 1,5∙6= 9 мм;
нижнего пояса корпуса
р = 2,35 δ = 2,35∙7 = 16,45 мм; принимаю р = 17 мм.
6.3 Диаметр болтов:
фундаментных d>1> = 0,055R>e>+12=0,055·105+12=17,79 мм; принимаю фундаментальные болты с резьбой М18;
болтов, крепящих крышку к корпусу у подшипника,
d>2>
= (0,7
0,75)d>1>
= (0,7
0,75)∙18 = 12,0
13,5 мм;
принимаю болты с резьбой М12;
болтов, соединяющих крышку с корпусом,
d>3>
= (0,5
0,6) d>1>
= (0,5
0,6)∙18 = 9
10,8 мм;
принимаю болты с резьбой М10.
7. Первый этап компоновки редуктора
Компоновку обычно проводят в два этапа. Первый этап служит для приближенного определения положения зубчатых колес относительно опор для последующего определения опорных реакций и подбора подшипников.
Выбираем способ смазывания: зацепление зубчатой пары – окунанием зубчатого колеса в масло; для подшипников – пластичный смазочный материал. Раздельное смазывание принято потому, что один из подшипников ведущего вала удален, и это затрудняет попадание масляных брызг. Кроме того, раздельная смазка предохраняет подшипники от попадания вместе с маслом частиц металла.
Камеры подшипников отделяем от внутренней полости корпуса мазе удерживающими кольцами.
Устанавливаем возможность размещения одной проекции – разрез по осям валов – на листе формата А1. Предпочтителен масштаб 1:1. проводим посредине листа горизонтальную осевую линию – ось ведущего вала. Намечаем положение вертикальной линии – ось ведомого вала. Из точки пересечения проводим под углом δ>1>=32о осевые линии делительных конусов и откладываем на них отрезки R>e>=105 мм.
Конструктивно оформляем по найденным выше размерам шестерню и колесо. Вычерчиваем их в зацеплении. Ступицу колеса выполняем несимметрично относительно диска, чтобы уменьшить расстояние между опорами ведомого вала.
Подшипники валов расположим в стаканах.
Намечаем для валов роликоподшипники конические однорядные легкой серии (см. таблица П7):
|
Условное обозначение подшипника |
d |
D |
T |
C |
C>0> |
e |
|
мм |
кН |
|||||
|
7207 |
35 |
72 |
18,25 |
38,5 |
26 |
0,37 |
|
7209 |
45 |
85 |
20,75 |
50 |
33 |
0,41 |
Наносим габариты подшипников ведущего вала, наметив предварительно внутреннюю стенку корпуса на расстоянии 8-10 мм от торца шестерни и отложив зазор между стенкой корпуса и торцом подшипника для размещения мазеудерживающего кольцо 10-15 мм.
При установке радиально-упорных подшипников необходимо учитывать, что радиальные реакции считают приложенными к валу в точках пересечения нормалей, проведенных к срединам контактных площадок (см. табл. 9.21). для однорядных конических роликоподшипников по формуле:
мм.
Размер от среднего диаметра шестерни до реакции подшипника
f>1>=d>1>+a>1>=35+15,72=50,72 мм
Принимаем размер между реакциями подшипников ведущего вала
с>1>~(1,4÷2,3)·f>1>=(1,4÷2,3)·50,72=71÷116,6 мм
Принимаем с>1>=90 мм.
Размещаем подшипники ведомого вала, наметив предварительно внутреннюю стенку корпуса на расстоянии 10-15 мм от торца ступицы колеса и отложив зазор между стенкой корпуса и торцом подшипника 15-20 мм для размещения мазеудерживающего кольца.
Для подшипников 7209 размер
мм
Определяем замером размер А – от линии реакции подшипника до оси ведущего вала. Корпус редуктора выполнен симметричным относительно оси ведущего вала и примем размер А = А = мм. Нанесём габариты подшипников ведомого вала.
Замером определяем расстояния f>2>= мм и с>2>= мм (так как А`+А=f>2>+c>2>).
Очерчиваем контур внутренней стенки корпуса, отложив зазор между стенкой и зубьями колеса, равный 1,5 х, т.е. 15мм.
8. Проверка долговечности подшипника
С точки зрения конструктивных соображений более рациональным будет просчитать долговечность наиболее нагруженного подшипника на валу, который вращается с большей частотой, т.е. подшипник находящейся радом с шестерней на ведущем валу.
Из предыдущих расчетов имеем F>t> = 1920 H, F>r> =592,6 H; F>a>=370 Н из первого этапа компоновки с>1> = 90 мм. и f>1>= 50.72 мм
Реакции опор:
в плоскости xz
R>x>>2>c>1 >– F>t> f>1>= 0 H ;
R>x2
>=
1082
H;
R>x1>c>1 >– F>t> (f>1> +c>1>)= 0 H ;
R>x1
>=
3002
H;
Проверка: R>x>>2> – R>x>>1> + F>t> = 1082 – 3002 + 1920 = 0 H;
в плоскости yz
-R>y2>
+ F>r>f>1>
- F>a
>= 0 H;
137 H ;
-R>y1>
+ Fr*(f1 + c>1>)
- F>a
>= 0 H;
729,6
H;
Проверка:
H;
Суммарные реакции:
Н
;
Н
;
Осевые составляющие радиальных реакций конических подшипников [формуле (9.9)]
S>2> = 0.83eP>r2> = 0.83*0.37*1090,6=334 H;
S>1> = 0.83eP>r1> = 0.83*0.37*3089,5 = 948,8 H;
здесь для подшипников 7207 параметр осевого нагружения e = 0,37
Осевые нагрузки подшипников (см. табл. 9,21) [ Л. 1.] В нашем случае S>1>>S>2>; F>a>>0; тогда P>a>>1> = S>1>= 1002.4 H; P>a>>2> = S>1> + F>a> =1002.4 +370=1372.4 H
Рассмотрим левый подшипник
Отношение P>a>>1>/ P>r>>1> = 948.8/3089.5 = 0.307>e, поэтому не следует учитывать осевую нагрузку.
Эквивалентная нагрузка Р>э1> =VР>r>>1>K>б>K>T>, в которой радиальная нагрузка Р>r>>1> = 3089,6 Н; V = 1; коэффициент безопасности для приводов ленточных конвейеров K>б> = 1 (см. табл. 9.19) [Л.1]; К>T> = 1 (см. табл. 9.20) [Л.1].
Р>э2> = 3089,6 Н.
Расчетная долговечность, млн. об [формула (9.1)]
млн.
об
Расчетная долговечность, ч
404190 ч.
Найденная долговечность приемлема так, как требуемая долговечность намного меньше, чем расчетная долговечность подшипника.
9. Второй этап компоновки редуктора
В развитие первой компоновки здесь вычерчивают валы с насаженными на них деталями; размеры мазеудерживающих колец, установочных гаек и шайб, крышек и уплотнений определяют в соответствии с таблицей в гл IX [Л.1.]; размеры шпонок – в соответствии с таблицей в гл VII [Л.1.].
Диаметры участков валов под зубчатые колёса, подшипники и пр. назначают в соответствии с результатами предварительного расчета м с учетом технологических требований на обработку и сборку.
Взаимное расположение подшипников фиксируем распорной втулкой и установочной гайкой М х 1,5 со стопорной многолапчатой шайбой. Толщину стенки втулки назначают (0,1 – 0,15)d>п>; прнимаем её равной 0,15*35= 5,25мм.
Мазеудерживающие кольца устанавливают так, чтобы они выходили за торец стакана или стенки внутрь корпуса на 1-2 мм.
Подшипники размещаем в стакане, толщина стенки которого
>ст>=(0,08-0,12)D,
где D- наружный диаметр подшипника;
примем
>ст>=0,12*72
8
мм.
Для фиксации наружных колец подшипников от осевых перемещений у стакана сделан упор величиной К=6 мм.
У второго подшипника наружное кольцо фиксируем торцовым выступом крышки подшипника через распорное кольцо.
Для облегчения посадки на вал подшипника, прилегающего к шестерне, диаметр вала уменьшаем на 0,5-1 мм на длине. несколько меньшей длинны распорной втулки.
Очерчиваем всю внутреннюю стенку корпуса, сохраняя величины зазоров, принятых в первом этапе компоновки: х=10 мм , и у>2>=20 мм и др.
Используя расстояния f>2> и с>2>, вычерчиваем подшипники.
Для фиксации зубчатое колесо
упирается с одной стороны в утолщение
вала
мм , а с другой – в мазе удерживающее
кольцо; участок вала
50
мм делаем короче ступицы колеса, чтобы
мазеудерживающее кольцо
45 мм упиралось в торец колеса, а не в
буртик вала; преход вала от
50мм
к
45мм
смещен на 2-3 мм внутрь зубчатого колеса.
Наносим толщину стенки корпуса
>к>
= 7 мм и определяем размеры основных
элементов корпуса в соответствии с
главой X
[Л.1.]
Проверка прочности шпоночных соединений
Шпонки призматические со скругленными торцами. Размеры сечений шпонок и пазов и длины шпонок – по ГОСТ 23360 – 78 (см. табл. 8.9) [1].
Материал шпонок – сталь 45 нормализованная.
9.1 Напряжения смятия и условие
прочности по формуле (8.22)

.
9.2 Допускаемые напряжения смятия при стальной ступице
[σ>c>>м>]
= 100
120 МПа.
9.3 Ведущий вал:
d = 28 мм;
сечение шпонки b
h
=
мм; глубина паза t>1>
= 4 мм; длина шпонки l
= 32 мм; момент на ведущем валу М>II>=
92000= Н-cм;
91.26
МПа


(материал полумуфт МУВП – чугун марки СЧ 20).
9.4 Ведомый вал.
Из двух шпонок – под зубчатым
колесом – более нагружена вторая (меньше
диаметр вала и поэтому меньше размеры
поперечного сечения шпонки). Проверяем
шпонку: d
= 36 мм; b
h =
10
8 мм; t>1>=
5 мм; длина шпонки l
= 50 мм; момент на ведомом валу М>III>
=140000 Н∙мм;


Условие σ>c>>м> < [σ>c>>м>] выполнено.
10. Уточненный расчет валов
Примем, что нормальные напряжения от изгиба изменяются по симметричному циклу, а касательные от кручения – по отнулевому (пульсирующему).
Уточненный расчет состоит в
определении коэффициентов запаса
прочности s
для опасных сечений и сравнении их с
требуемыми (допускаемыми) значениями
[s].
Прочность соблюдена при s
[s].
Будем производить расчет для предположительно опасных сечений каждого из валов.
10.1 Ведущий вал.
Материал вала тот же, что и для шестерни (шестерня выполнена заодно с валом), т. е. сталь 45, нормализованная; σ>в>=570 МПа
10.2 Предел выносливости при симметричном цикле изгиба
σ>-1>=0,43·570=246 МПа

10.3 Предел выносливости при симметричном цикле касательных напряжений
τ>-1>=0,58·246=142 МПа
У ведущего вала определять коэффициент запаса прочности в нескольких сечениях нецелесообразно; достаточно выбрать одно сечение с наименьшым коэффициентом запаса, а именно сечение в месте посадки подшипника, ближайшего к шестерни. В этом опасном сечении действуют максимальные изгибающие моменты М>х >и М>у >и крутящий момент М>II>
Концентрация напряжений вызвана напрессовкой внутреннего кольца подшипника на вал.
10.4 Изгибающие моменты в двух взаимноперпендикулярных плоскостях.
M>y>= R>x2>·c>1>=1082·90=97,380·103 H·мм
М>х>=R>Y>>2>·c>1>=137·90=12,330·103 H·мм
10.5 Сумарный изгибающий момент
Н·мм
10.6 Момент сопротивления сечения
мм3
10.7 Амплитуда нормальных напряжений
МПа
10.8 Коэффициент запаса прочности по нормальным напряжением

где σ>-1>- предел выносливости;
κ>σ>- коэффициент напряжения цикла по нормальным напряжением;

σ>υ>- амплитуда нормальных напряжений.
10.9 Полярный момент сопротивления
мм3
10.10 Амплитуда и среднее напряжение цикла касательных напряжений
МПа
10.11 Коэффициент запаса прочности по касательным напряжением

где τ>-1>-предел выносливости;

ψ-коэффициент учитывающий влияние цикла, ψ=0,1
τ>m>-средние напряжение цикла.


10.7 Результирующий коэффициент запаса прочности

11. Вычерчивание редуктора
Редуктор вычерчивают в двух
проекциях на листе формата А1 (594
841 мм) в масштабе 1:1с основной надписью
и спецификацией (см. с. 319 – 321) [1].
12. Посадки шестерни, зубчатого колеса, подшипников
Посадки назначаем в соответствии с указаниями в таблице 10,13 [Л,1,]
Посадка зубчатого колеса на вал
по ГОСТ 25347-82,
Шейки валов под подшипники выполняем с отклонением вала k6.
Отклонения отверстий в корпусе под наружные кольца по Н7
Остальные посадки назначаем, пользуясь данными соответственно в таблице 10,13 [Л,1,]
13. Выбор сорта масла
13.1 Смазывание зубчатого зацепления производится окунанием зубчатого колеса в масло, заливаемое внутрь корпуса до погружения колеса на всю длину зуба.
13.2 По табл. 10.8 [1] устанавливаем вязкость масла. При контактных напряжениях σ>H> = 442 МПа и скорости v =1,02 м/с рекомендуемая вязкость масла должна быть примерно равна 34 10-6 м2/с.
13.3 По табл. 10.10 [1] принимаем масло индустриальное И-30А (по ГОСТ 20799-75).
13.4 Подшипники смазываем пластичным смазочным материалом, закладываем в подшипниковые камеры при монтаже. Сорт смази выбираем по л ( табл. 9.14) [1], литол-24(ГОСТ21150-75).
14. Сборка редуктора
Перед сборкой внутреннюю полость корпуса редуктора тщательно очищают и покрывают маслостойкой краской.
Сборку производят в соответствии со сборочным чертежом редуктора, начиная с узлов валов:
на ведущий вал насаживают мазеудерживающие кольца и шарикоподшипники, предварительно нагретые в масле до 80 – 100°С;
в ведомый вал закладывают шпонку
10
8
70
и напрессовывают зубчатое колесо до
упора в бурт вала; затем надевают
распорную втулку, мазеудерживающие
кольца и устанавливают шарикоподшипники,
предварительно нагретые в масле.
Собранные валы укладывают в основание корпуса редуктора и надевают крышку корпуса, покрывая предварительно поверхности стыка крышки и корпуса спиртовым лаком. Для центровки устанавливают крышку на корпус с помощью двух конических штифтов; затягивают болты, крепящие крышку к корпусу.
После этого на ведомый вал надевают распорное кольцо, в подшипниковые камеры закладывают пластичную смазку, ставят крышки подшипников с комплектом металлических прокладок для регулировки.
Перед постановкой сквозных крышек в проточки закладывают войлочные уплотнения, пропитанные горячим маслом. Проверяют проворачиванием валов отсутствие заклинивания подшипников (валы должны проворачиваться от руки) и закрепляют крышки винтами.
Далее на конец ведомого вала в шпоночную канавку закладывают шпонку, устанавливают звездочку и закрепляют ее торцовым креплением; винт торцового крепления стопорят специальной планкой.
Затем ввертывают пробку маслоспускного отверстия с прокладкой и жезловый маслоуказатель.
Заливают в корпус масло и закрывают смотровое отверстие крышкой с прокладкой из технического картона; закрепляют крышку болтами.
Собранный редуктор обкатывают и подвергают испытанию на стенде по программе, устанавливаемой техническими условиями.