Синтез многоконтурной АСР абсорбционной установки
Синтез многоконтурной АСР абсорбционной установки
Автоматизация тепловых процессов
Тепловые процессы играют значительную роль в химической технологии. Химические реакции веществ, а также их физические превращения, как правило, сопровождаются тепловыми явлениями. Тепловые эффекты часто составляют основу технологических процессов. В связи с этим, вопросы автоматизации теплообменников, трубчатых печей, выпарных аппаратов и других объектов химической технологии, связанных с передачей тепла, играют существенную роль.
Для стабилизации равновесной линии в соответствии с вышеизложенным необходимо стабилизировать давление и температуру в колонне (Рис VII-19). Давление в колонне стабилизируется с помощью АСР давления на линии отвода обедненного газа. Поддержание температурного режима осуществляется подачей абсорбента определенной температуры. Для этого стабилизируем температуру абсорбента с помощью АСР температуры, установленной на холодильнике.
Стабилизация рабочей линии осуществляется следящей каскадно-комбинированной АСР.
Положение рабочей линии абсорбции
(наклон отрезка и координаты его концов,
что обуславливает среднюю движущую
силу
)
поддерживается регулятором соотношения
FL/FG двух потоков с коррекцией по
концентрации извлекаемого компонента
QYH во входном потоке и заданным значением
QYK концентрации извлекаемого компонента
в обедненном газе (выходной поток).
Для предотвращения проскока газовой смеси из абсорбера в линию насыщенного абсорбента в кубе абсорбера собирают некоторое количество жидкости, уровень которой поддерживается регулятором, управляющим клапаном, установленным на линии отвода насыщенного абсорбента в десорберы.

Рис VII-19 Схема многоконтурного (каскадно-комбинированного) регулирования процесса абсорбции: 1 - абсорбер; 2 - холодильник.
Автоматизация процесса ректификации
Задача управления процессом ректификации состоит в получении целевого продукта заданного состава при установленной производительности установки и минимальных затратах теплоагентов.
Исходная смесь нагревается в теплообменнике 1 (рис. VII-21) водяным паром до температуры кипения и поступает в ректификационную колонну 3 на тарелку питания. Находящаяся в кубе колонны жидкость испаряется в выносном кипятильнике 2, обогреваемом паром, и в виде паровой фазы проходит вверх по колонне. Паровой поток, выходя из колонны, попадает в охлаждаемый хладоагентом, например, водой, дефлегматор 4, где пары конденсируются. Образовавшаяся жидкая фаза стекает в флегмовую емкость 5, откуда насосом 6 нагнетается в верхнюю часть колонны на орошение в виде флегмы и частично отводится с установки в виде дистиллята. Флегма стекает вниз по колонне.
При многократном контакте в ректификационной колонне парового и жидкого потоков, движущихся навстречу друг другу и имеющих разные температуры, паровая фаза обогащается более легколетучими низкокипящими компонентами (НКК), а жидкая фаза — труднолетучими высококипящими компонентами (ВКК). Часть кубового продукта, называемая остатком, отводится с установки. Целевыми продуктами ректификационной установки могут быть дистиллят или кубовый остаток, что определяется технологической схемой.
Основными регулируемыми технологическими величинами процесса являются составы дистиллята или кубового остатка. На чистоту этих целевых продуктов оказывают влияние ряд возмущающих воздействий процесса — состав, расход и температура исходной смеси, параметры тепло- и хладоагента, давление в колонне и другие величины. Основные управляющие воздействия — это расходы флегмы в колонну и теплоносителя в кипятильник. Причем изменение расхода флегмы относительно быстро приводит к изменению состава дистиллята и одновременно с большим запаздыванием и в значительно меньшей степени — к изменению состава кубового остатка.
Изменение же расхода греющего пара приводит в основном к изменению состава кубового остатка; состав флегмы при этом изменяется намного слабее.
Если целевым продуктом является дистиллят, то основной технологической величиной ректификационной установки будет состав паров в верхней части колонны. Состав дистиллята регулируют изменением подачи флегмы в колонну. При этом регулирующий орган может быть установлен как на линии подачи флегмы, так и на линии отвода дистиллята. С точки зрения статики это равноценно. Однако для повышения качества регулирования регулирующий орган АСР состава необходимо устанавливать на линии подачи флегмы в колонну, при этом для сохранения материального баланса укрепляющей части колонны дистиллят необходимо отводить с помощью АСР уровня во флегмовой емкости. Иначе инерционные свойства емкости будут влиять на качество процесса регулирования, что может привести к нежелательным последствиям.
Согласно правилу фаз при разделении бинарной смеси, если; давление в колонне постоянно, состав дистиллята и температура однозначно связаны между собой. Поэтому для управления; подачей флегмы применяют регулятор температуры верхней части колонны.
Если число тарелок в колонне велико или разность температур кипения разделяемых компонентов невелика, запаздывание в объекте достигает нескольких десятков минут и более. Поэтому измерение температуры в верху колонны приводит к большим отклонениям технологического режима от регламента, так как регулирующие воздействия будут введены в процесс с большим запаздыванием.
Для повышения качества регулирования чувствительный элемент температуры следует устанавливать на так называемой контрольной тарелке укрепляющей части колонны, т. е. там, где температура значительно более чувствительна к изменению подачи флегмы и где обеспечено меньшее запаздывание при изменении состава исходной смеси.
В настоящее время появилась возможность регулировать не температуру в колонне, т. е. косвенный показатель, а непосредственно состав целевых продуктов. В качестве анализаторов состава используют хроматографы, газоанализаторы, плотномеры, рефрактометры и другие приборы.
Для повышения чувствительности АСР состава измеряют содержание примесей в целевом продукте. Пробы продукта к анализаторам состава отбирают также на контрольной тарелке колонны, но расположенной ближе к верху (низу) колонны, чем при регулировании температуры. При использовании промышленных анализаторов состава (при их наличии для данной смеси) следует иметь в виду, что они менее надежны, чем измерители температуры.
Материальный баланс отгонной части колонны поддерживается АСР уровня в кубе, воздействующей на отвод продукта. Если целевым продуктом является кубовый остаток, то к протеканию процесса в отгонной части колонны предъявляются более жесткие требования, чем к процессу в укрепляющей части. С этой целью регулируют состав кубового остатка, а точнее содержание НКК в кубовом продукте, изменяя подачу греющего пара в кипятильник.
Парообразование в кипятильнике определяет гидродинамический режим колонны. При интенсивном образовании пара может наступить «захлебывание», при котором восходящий поток пара препятствует стеканию жидкости вниз и увлекает капли жидкости вверх. При недостаточном паровом потоке снижается производительность установки.

Рис. VII-22 Схема каскадного регулирования процесса ректификации

Рис. VII-23. Схемы регулирования состава дистиллята (а) и кубового остатка (б) с учетом изменения расхода исходной смеси.
На рис. VII-22 приведена одна из возможных схем регулирования процесса ректификации с использованием каскадных систем, когда целевым продуктом является дистиллят. В этом случае подачей флегмы в колонну управляет трехконтурная система регулирования, в которой регулятор состава дистиллята вырабатывает корректирующий сигнал, направляемый в качестве задания регулятору температуры на контрольной тарелке колонны, а последний корректирует работу регулятора подачи флегмы в колонну. При наличии надежного анализатора состава контур регулирования температуры из рассмотренной системы можно исключить.
Для подачи греющего пара в кипятильник применяют систему регулирования расхода, задание которой изменяет регулятор температуры на контрольной тарелке отгонной части колонны.
При дальнейшем разделении кубового остатка необходимо одновременно обеспечить постоянство его уровня в кубе колонны и постоянство подачи на следующую по технологической линии установку. Для этой цели используют систему регулирования расхода кубового остатка со стабилизирующим регулятором, задание которому корректируется регулятором уровня продукта в кубе колонны.
Если целевым продуктом является кубовый остаток, то для обеспечения его заданной чистоты применяют систему регулирования расхода греющего пара в кипятильник с корректировкой по температуре в отгонной части колонны и по составу кубового продукта на контрольной тарелке. Возможно также использование более простой системы без вспомогательного контура регулирования температуры. Так как в данном случае к дистилляту повышенных требований по чистоте не предъявляется, то для управления подачей флегмы в колонну достаточно системы регулирования расхода. Предусматривается также система регулирования расхода балансового избытка дистиллята, направляемого далее на разделение, с корректировкой его по уровню во флегмовой емкости. Кубовый продукт отводится с установки посредством регулятора уровня в кубе колонны.
По сравнению с одноконтурными каскадные системы обеспечивают лучшее регулирование основных технологических величин ректификационной установки. Однако вследствие медленного протекания в ней тепло- и массообменных процессов, они успешно компенсируют только сравнительно малые возмущения по составу исходной смеси.
В промышленной практике расход исходной смеси часто определяется работой предыдущей технологической установки и довольно сильно колеблется во времени. Это требует введения в АСР составов дистиллята и кубового остатка дополнительных контуров по возмущению, учитывающих изменение расхода исходной смеси.
На рис. VII-23 показаны системы регулирования состава дистиллята (а) и кубового остатка (б) с учетом изменения расхода исходной смеси. В первом случае в системе регулирования предусмотрен регулятор соотношения расходов исходного сырья и флегмы, управляющий подачей флегмы. На этот регулятор подается корректирующий сигнал от регулятора состава продукта в укрепляющей части колонны. При увеличении расхода исходной смеси регулятор соотношения увеличивает расход флегмы в колонну, и наоборот. Текущее значение соотношения расходов исходной смеси и флегмы непрерывно корректируется регулятором состава в зависимости от содержания ВКК на •контрольной тарелке укрепляющей части колонны.
Во втором случае выходной сигнал регулятора состава отгонной части колонны направляется на регулятор соотношения расходов исходного сырья и греющего пара, управляющий подачей пара на установку. Возможно также одновременное введение сигнала, пропорционального изменению скорости подачи сырья на установку, в системы регулирования укрепляющей и отгонной частей колонны.
Такие системы регулирования реагируют на изменение расхода исходной смеси прежде, чем это возмущение окажет влияние на протекание процесса.
При значительном изменении состава исходной смеси в системы регулирования состава дистиллята и кубового остатка вводят дополнительные контуры регулирования, учитывающие это возмущение. Вариант системы, предназначенной для поддержания постоянства состава дистиллята, приведен на рис. VII-24, а. Выходной сигнал регулятора, пропорциональный содержанию НКК в исходной смеси, направляется как задание на регулятор подачи флегмы в колонну. В свою очередь задание регулятору, анализирующему состав исходной смеси, формируется регулятором состава на контрольной тарелке укрепляющей части колонны.
При отсутствии анализатора состава исходной смеси и при часто наблюдаемом довольно медленном изменении этой величины изменение содержания НКК или ВКК в исходной смеси может быть скомпенсировано поддержанием соотношения расходов дистиллята или кубового остатка и исходной смеси. Эти регуляторы соотношения встраиваются в соответствующие системы регулирования основных технологических величин. Такая система регулирования состава дистиллята приведена на рис VII-24, б. При возрастании, например, содержания НКК в исходной смеси, увеличивается количество паров, отводимых из колонны, что воспринимается регулятором соотношения расходов дистиллята и исходной смеси, который увеличивает подачу флегмы в колонну, вследствие чего отбор дистиллята с установки также возрастает.
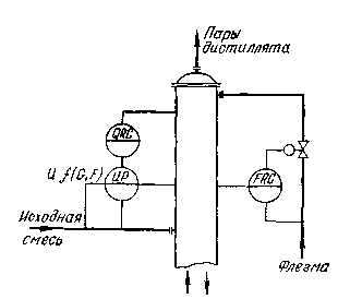
В случае одновременного изменения расхода и состава смеси может быть рекомендована система регулирования состава дистиллята, приведенная на рис. VII-25. Выходные сигналы анализатора содержания НКК в исходной смеси и измерителя ее расхода направляются в вычислительное устройство, которое определяет текущее количество НКК, поступающего в колонну в единицу времени. Выход этого устройства воздействует на регулятор расхода, управляющий подачей флегмы в колонну. При этом сигнал вычислительного устройства необходимо корректировать по составу верхнего продукта колонны. Данная система обеспечивает отбор дистиллята заданного состава в соответствии с количеством НКК, поступающего в колонну Аналогичная система может быть составлена и для регулирования состава кубового остатка.
Введение в системы регулирования основных технологических величин дополнительных контуров, учитывающих изменение расхода и состава исходной смеси приводит к повышению качества целевого продукта или увеличению его выхода, а также к снижению энергозатрат на проведение процесса.

Рис VII-24. Схемы регулирования состава дистиллята с учетом изменения состава исходной смеси при использовании, анализатора качества (а) и без него (б).

Рис. VII-25. Система регулирования состава дистиллята с учетом изменения расхода и состава исходной смеси