Современные способы заготовки жидких и пюреобразных продуктов
1. Введение
Современные способы заготовки жидких и пюреобразных продуктов получили широкое применение в производстве детского питания. Консервированные продукты для детского питания находят все большее применение. Основные их преимущества - гарантированное содержание компонентов пищи, стабильный химический состав, микробиальная стерильность, удобство и простота использования.
Консервы для детей выпускают в широком ассортименте: фруктовые, овощные, плодовоовощные, овощемясные, мясные и др.
Важное место в питании детей занимают фруктовые и овощные соки и пюре, которые по пищевой ценности почти не уступают свежим плодам, а по усвояемости даже превосходят их.
Соки и пюре содержат значительные количества сахаров, органических кислот, а также белки, аминокислоты, пектин, полифенольные и красящие вещества и витамины, особенно много аскорбиновой кислоты. Богат минеральный состав соков - соли калия, натрия, кальция, магния, фосфора, железа; микроэлементы - медь, никель, цинк, молибден, марганец, селен, кобальт и др.
2. Фруктовые консервы
В группу фруктовых консервов входят пюреобразные консервы различных видов, фруктовые соки и компоты.
2.1 Плодовые и ягодные пюреобразные консервы
Ассортимент пюреобразных фруктовых консервов для детского питания включает несколько групп продукции, различающихся по составу входящих в них компонентов:
пюре натуральные без каких-либо добавок из груш, яблок и их смеси;
пюре с сахаром из абрикосов, сливы, алычи, вишни, груш, земляники, малины, персиков, слив, черники, черной смородины, шиповника, яблок одного вида или из смеси двух или трех видов этих плодов и ягод. Сахар добавляется в количестве 5 - 18% в зависимости от кислотности плодов;
пюре из полуфабрикатов тропических плодов с сахаром;
пюре из яблок или яблок и моркови с соками из ягод (красной смородины, черники, черной смородины, облепихи) или шиповника;
пюре из смеси плодов, ягод, овощей и соков;
пюре из яблок с молоком, сахаром и крупами (манной, рисом);
пюре из яблок, вишни или слив со сливками и с сахаром;
кремы плодово-ягодные из смеси яблок с земляникой, черникой или черноплодной рябиной с добавлением сахара и манной крупы;
коктейли плодовые и ягодные;
десерты плодово-ягодные из слив, яблок или смеси яблок с вишней, сливами или черной смородиной с добавлением сахара, модифицированного крахмала и молочной сыворотки.
Пюреобразные плодовые и ягодные консервы, кроме трех последних групп, могут выпускаться витаминизированными, с добавлением 0,05% аскорбиновой кислоты.
Основу всех видов фруктовых пюреобразных консервов составляют пюре из плодов и ягод одного вида или в смеси с другими фруктовыми или овощными пюре.
Технология получения фруктовых пюре для всех видов пюреобразных консервов примерно одинакова.
Для производства фруктовых пюреобразных консервов используют сборные линии, состоящие из машин различных типов или комплексов оборудования для подготовки отдельных видов сырья.
2.2 Подготовка плодов и ягод
Поступающее сырье вначале сортируют на роликовых (семечковые плоды) или ленточных конвейерах, удаляя недозрелые, загнившие, мятые, пораженные болезнями или сельскохозяйственными вредителями экземпляры, а также посторонние примеси, затем моют в двух последовательно установленных моечных машинах конвейерного типа, ягоды - в вибрационных моечных машинах или под душем при давлении воды 30 - 50 кПа.

Рис 1. Технологическая схема подготовки семечковых и косточковых плодов:
1 - опрокидыватель ящичных поддонов; 2 - моечная машина; 3 - моечная машина унифицированная; 4 - конвейер; 5 - элеватор; 6 - дробилка; 7 - машина для удаления плодоножек; 8 - косточковыбивная машина.
После мойки у вишни, черешни, слив и ягод удаляют плодоножки на машине роторного или линейного типа. Ягоды очищают также от веточек и чашелистиков. Косточковые плоды освобождают от косточек на машинах для их удаления или протирочных. При использовании протирочных машин плоды предварительно нагревают для размягчения мякоти. Протирочные машины должны иметь сита из нержавеющей стали с отверстиями диаметром 5 - 7 мм в зависимости от размеров косточек в плодах. Перед началом работы машины для удаления косточек и протирочные должны быть отрегулированы так, чтобы на косточках не оставалось мякоти.
Для удаления косточек из свежих, не обработанных теплом слив и абрикосов используют машину, для удаления косточек из вишни, черешни и мелкоплодных слив - однобарабанные косточковыбивные машины.
Семечковые плоды измельчают на дробилках различных типов на кусочки размером 3 - 5 мм.
Шиповник измельчают на дробилках терочного типа Д 1-7,5. Измельченную массу процеживают через сито с диаметром отверстий не более 5 мм для удаления семян и волосков, промывают под душем в течение 2 мин при давлении воды 30 - 50 кПа.
Морковь очищают от сухих посторонних примесей и моют последовательно в лопастной и барабанной моечных машинах, затем обрезают концы и очищают от кожицы в паротермическом аппарате или карборундовой моечной машине. После очистки проводят ручную дочистку и ополаскивание под душем водой при давлении 300 кПа.
Подготовленную морковь измельчают на дробилке Д 1-7,5 на кусочки размером в наибольшем сечении 3 - 5 мм.
Для подготовки моркови целесообразно использовать комплекс оборудования, который предусматривает механизированное проведение всех перечисленных выше операций (рис.2):

Рис. 2. Комплекс оборудования для подготовки моркови:
1 - контейнероопрокидыватель; 2, 7 - лопастные моечные машины; 3 - барабанная моечная машина; 4 - конвейер для обрезки концов моркови; 5 - наклонный конвейер; 6 - паровой бланширователь; 8 - инспекционный конвейер; 9, Л - элеваторы; 10 - бланширователь; 12 - машина для резки; 13, 15 - емкости; 14 - насос; 16 - водоотделитель.

Рис. 3. Комплекс оборудования для подготовки тыквы и кабачков:
1 - контейнероопрокидыватель; 2 - машина для замочки; 3 - машина для мойки; 4 - стол; 5 - машина для вырезки плодоножки; 6, 8 - конвейеры; 7 - течка; 9 - моечная машина; 10 - конвейер для инспекции и обрезки кабачков; 11 - машина для резки на кружки; 12 - элеватор; 13 - дробилка; 14 - установка для разваривания; 15, 17 - емкости; 16 - протирочная машина; 18 - насос; 19 - пульт управления.
Тыкву двукратно моют и очищают от коры. При отсутствии зеленого подкоркового слоя допускается ее перерабатывать без очистки. Кора в этом случае отделяется при протирании.
Затем тыкву разрезают на куски, удаляют при этом семена и плодоножку, после чего разрезают на более мелкие куски на резке и дробят на кусочки размером 3 - 5 мм в наибольшем сечении.
Для подготовки тыквы целесообразно использовать комплекс оборудования, в котором, однако, не предусмотрена механизированная очистка тыквы от коры.
Мелкое дробление плодов, особенно яблок, желательно проводить в среде пара для сохранения от разрушения витаминов и других биологически активных веществ.
2.3 Разваривание и протирание
Подготовленное и взвешенное сырье одного вида или в смеси с другими компонентами в соответствии с рецептурой подают на разваривание в аппарат или в шнековые бланширователи.
Ягоды подают на разваривание сразу после мойки без предварительного измельчения.
В аппарате сырье разваривают в непрерывном или периодическом режимах под давлением.
При непрерывной работе аппарат заполняют сырьем, открывают запорный клапан выгрузочного отверстия и включают его привод. После этого разваривание ведется непрерывно при включенной мешалке и подаче пара, загружают и выгружают сырье одновременно, непрерывно.
При работе под давлением аппарат загружают сырьем и герметизируют с помощью клапанных затворов. Разваривание ведут по режиму, установленному для сырья данного вида.
При совместном разваривании сырья отдельные виды измельченных плодов и овощей загружают последовательно с учетом продолжительности разваривания каждого вида сырья.
После окончания разваривания всех видов сырья в аппарате сбрасывают давление и выгружают продукт через механизм выгрузки. В шнековых бланширователях работа осуществляется непрерывно.
При разваривании шиповника и чернослива в развариватель добавляют воду в количестве ПО% массы плодов.
При непрерывном разваривании каждый вид сырья обрабатывают отдельно и смесь в соответствии с рецептурой составляют из протертой массы.
Разваренные плоды и ягоды немедленно направляют на протирание. Для протирания используют сдвоенную протирочную машину с диаметром отверстий сит 1,2-1,5 и 0,7 - 0,8 мм. Шиповник для максимального удаления волосков протирают на третьей протирочной машине с диаметром отверстий сит 0,4 мм.
2.4 Подготовка полуфабрикатов
Полуфабрикаты пюре и соков, фасованных горячим розливом в стеклянную тару, используют следующим образом. Тару с полуфабрикатом тщательно моют снаружи, затем вскрывают в отдельном помещении. При наличии скола на горловине банок полуфабрикаты в производство не допускают.
После опорожнения тару ополаскивают небольшим количеством питьевой воды (до 10% массы пюре). Промывную воду добавляют к пюре.
Полуфабрикаты пюре горячего розлива и асептического консервирования подогревают до 60 °С и протирают на протирочной машине с диаметром ячеек сит 0,7 - 0,8 мм.
Быстрозамороженные плоды и ягоды освобождают от упаковки и передают на разваривание и протирание, как и свежие плоды.
2.5 Подготовка материалов
Масло коровье освобождают от упаковки, зачищают от остатков бумаги и окисленного поверхностного слоя, растапливают в варочных котлах при 60 °С и фильтруют на фильтре с диаметром отверстий сит 0,7 - 0,8 мм.
Поверхность упаковок лимонной и аскорбиновой кислот тщательно протирают от пыли, вскрывают упаковку и, высыпая взвешенное содержимое в емкость, предупреждают возможность попадания посторонних примесей в продукт.
Крупу манную пропускают через просеиватель с магнитным уловителем.
Рис подготавливают на комплексе оборудования, который включает в себя просеиватель, гидрожелоб, две емкости, подогреватель, водоотделитель и установку для бланширования.
При отсутствии такого комплекса рис пропускают через сепаратор-зерноочиститель, где удаляются мелкие, легкие примеси, затем - через гидрожелоб с приспособлением для удаления тяжелых примесей. После очистки рис моют в моечно-встряхивающей машине (вибрационной) и разваривают в воде при 38 ± 2°С в течение 15 - 20 мин до увеличения массы риса в 2,5 раза.

Рис. 4. Комплекс оборудования А9-КЛМ / 15 для подготовки риса:
1 - весы; 2 - гидрожелоб; 3, 8, 12 - емкости; 4, 6, 7 - насосы; 5 - емкость для бланширования; 9 - водоотделитель; 10 - рама; 11 - конвейер.

Рис. 5. Технологическая схема подготовки молока и сливок:
1 - автомолцистерна; 2, 8 - емкости с весами; 3, 6 - емкости для хранения молока; 4, 7, 9 - насосы; 5 - теплообменник.
Сахар-песок пропускают через сито с магнитным улавливателем с размером отверстий не более 3 мм. Просеянный сахар добавляют в сухом виде или в виде сиропа требуемой концентрации в зависимости от вида продукта.
Сироп готовят на сиропной станции или в двустенных котлах с мешалкой. После растворения сахара раствор кипятят в течение 10 мин, затем фильтруют через ситчатый фильтр с диаметром отверстий сит 0,7 - 0,8 мм или через ткань.
Молоко, сливки и молочную сыворотку фильтруют через ситчатый фильтр с диаметром отверстий сит 0,7 - 0,8 мм, затем пастеризуют в пластинчатых пастеризаторах при 74 ± 2 °С в течение 15 - 20 с, передают на смешивание или охлаждают в этих же пастеризаторах до 30 °С и направляют на хранение в холодильную камеру.
2.6 Смешивание
Подготовленные фруктовые пюре и материалы смешивают по рецептуре в выпарном аппарате МЗС-320, который обеспечивает возможность нагревания и вакуумирования смеси.
Дозирование пюре и других компонентов осуществляют по массе или объему в зависимости от вида продукта. После смешивания продукт должен иметь однородную гомогенную консистенцию.
2.7 Деаэрация, подогрев, гомогенизация
Готовую массу при производстве протертых консервов передают на деаэрацию и подогрев, а при производстве гомогенизированных консервов направляют на гомогенизацию.
Гомогенизацию проводят в плунжерных гомогенизаторах и др.
При изготовлении консервов с рисом разваренный рис добавляют к смеси после гомогенизации, что облегчает этот процесс и придает консервам более привлекательный внешний вид. Подготовленную протертую или гомогенизированную массу деаэрируют в аппарате МЗС-320 при остаточном давлении 41 - 34 кПа в течение 10 - 20 с или в деаэраторе распылительного типа непрерывного действия при давлении 60 - 70 кПа в течение 5 - 8 с.
После деаэрации продукт подогревают до температуры 85 ± 2 °С в аппарате МЗС-320 периодического действия или в трубчатых подогревателях непрерывного действия, или других типах подогревателей. Оптимальным подогревателем для пюреобразных масс является теплообменный аппарат с очищаемой поверхностью нагрева.
Подогретую массу температурой не менее 85 °С направляют на фасование, укупоривание и стерилизацию или пастеризацию.
2.8 Фасование и укупирование
Подготовленную нагретую пюреобразную массу при температуре не ниже 80 °С фасуют в тару, прошедшую требуемую санитарную обработку.
Консервы, предназначенные для реализации в торговой сети, фасуют в стеклянные банки I типа вместимостью не более 0,25 дм3, II типа - вместимостью не более 0,35 дм3 и металлические лакированные банки вместимостью не более 0,25 дм3. При производстве консервов по заказам торгующих организаций для детских учреждений консервы фасуют в стеклянные банки вместимостью до 3 дм3.
Фасование осуществляют на дозировочно-наполнительных автоматах, предназначенных для объемного дозирования и наполнения банок пюреобразными продуктами. Наполненные банки укупоривают металлическими лакированными крышками на автоматических вакуум-закаточных машинах или паровакуумной закаточной машине. Для стеклобанок II типа применяется укупорочный паровакуумный автомат Б4-КУТ-1.
Закатанные наполненные банки немедленно передают на стерилизацию (пастеризацию). Время от закатывания банок с продуктом до начала стерилизации должно быть не более 30 мин. Стерилизуют пюреобразные консервы для детского питания в вертикальных и горизонтальных автоклавах, пастеризационных установках непрерывного действия погружного типа и аппаратах непрерывного действия
В автоклавах и аппарате непрерывного действия стерилизуют все виды консервов детского питания, в погружных установках - только фруктовые пюре одно - или двухкомпонентные с сахаром или без и соки.
При пастеризации в установках погружного типа пюре перед фасованием должно быть нагрето в теплообменнике с очищаемой поверхностью до 98 + 2 °С с выдержкой при этой температуре 2 мин 40 с. Затем его охлаждают до 85 °С, фасуют при этой температуре, укупоривают, пастеризуют в пастеризаторе погружного типа при 90 °С не менее 26 мин, затем охлаждают в течение 12 мин до 40 °С.
При стерилизации пюреобразных консервов в аппаратах непрерывного действия продукт должен иметь начальную температуру не ниже 80 °С. Затем продукт в аппарате постепенно нагревают до 100 °С, выдерживают при этой температуре определенное время в зависимости от вида консервов и также постепенно охлаждают до 30 °С.
В оросительных пастеризаторах также осуществляется постепенное нагревание продукта за счет орошения водой трехкратно изменяющейся температуры, выдержки при достигнутой температуре пастеризации 95 - 98 ºС, затем температуру постепенно снижают путем орошения водой.
2.9 Технологическая схема производства консервов, включая операции разваривания, протирания, смешивания, гомогенизации, деаэрации, подогрева, фасования, укупоривания

Рис. 6. Технологическая схема производства пюреобразных консервов:
1 - развариватель; 2,4 - протирочные машины; 3, 5, 9 - насосы; 6 - емкость с мешалкой; 7 - гомогенизатор; 8 - деаэратор; 10 - подогреватель; 11 - наполнительный автомат; 12, 14 - конвейеры; 13 - укупорочный автомат.
В соответствии с ГОСТ 15849-89 на консервы плодовые и ягодные для детского питания пюре натуральные из яблок, груш и смеси плодов должны содержать растворимых сухих веществ 10 - 12%, органических кислот (по яблочной кислоте) 0,2 - 0,6%, пюре фруктовые с сахаром - растворимых сухих веществ до 14% (яблочное) или до 24% (черносмородиновое).
В ассортимент пюреобразных консервов из тропических плодов входят пюре с сахаром из бананов, гуавы, манго и папайи одного вида или в смеси с другими пюре (алыча, яблоки).
Нектары (соки с мякотью) вырабатывают из плодов бананов, гуавы, манго, папайи и их смесей. Количество добавляемого сахара в нектары составляет от 2,7% (нектар из бананов) до 10% (нектар из папайи), а лимонной кислоты - 0,15 - 0,2%.
Полученные смеси гомогенизируют при давлении 15-17 МПа (для нектаров) и 12 МПа (для пюре). Гомогенизированные продукты деаэрируют при 35 - 40 °С и остаточном давлении 6 - 8 кПа, затем нагревают до 80 "С и фасуют.
Укупоренные банки и бутылки с пюре или нектарами стерилизуют в автоклавах при 100 °С или непрерывно действующих пастеризаторах при 95 °С.
Кремы и десерты отличаются от фруктовых пюре своим составом и консистенцией. Кремы вырабатывают из яблок или яблочного пюре с добавлением земляничного, черничного, черноплодно-рябинового пюре, сахара и манной крупы.
Десерты делают из слив, яблок, черной смородины, вишни или из их смесей. К фруктовой части добавляют крахмал, сахар и молочную сыворотку. При изготовлении десертов вначале смешивают пюре с сахаром и подогревают до 55 - 60 °С, затем в подогреватель подают смесь кукурузного фосфатного крахмала с молочной сывороткой, предварительно подогретой до 40 °С.
При изготовлении плодово-ягодных кремов манную крупу предварительно смешивают с сахаром, затем подают в подогреватель, куда заранее была помещена фруктовая масса. После смешивания продукт подают на деаэрацию и подогрев. Фасуют горячую массу в стеклянные банки вместимостью 0,25 дм3, укупоривают и стерилизуют в автоклавах. Кремы стерилизуют при 100 °С в течение 20 мин, десерты - при 100 °С в течение 45 мин.
3. Фруктовые соки
В детском питании используются различные виды соков - осветленные, неосветленные и с мякотью одного вида или купажированные. Соки фруктовые натуральные изготавливают без каких-либо добавок, с сахаром, купажированные. Соки без мякоти могут быть полностью прозрачными (осветленные) или мутные по внешнему виду (неосветленные).
3.1 Фруктовые соки с мякотью
Соки с мякотью готовят из всех видов косточковых плодов, культивируемых и дикорастущих ягод, мандаринов и ягод.
Поступающие на переработку плоды моют в вентиляторной моечной машине (семечковые плоды - в барабанной и вентиляторной), затем ополаскивают под душем и инспектируют на ленточном конвейере, откуда элеватором подают в дробилку. Дробленая масса из дробилки поступает в шнековый или СВЧ-бланширователь для размягчения мякоти и перехода красящих веществ из кожицы в сок. Косточковые плоды можно нагревать в целом виде, без дробления, а вишни нужно очищать от плодоножек.
Вишню, кизил и сливы нагревают до 85 - 90 °С, персики, абрикосы и ягоды - до 70 - 75 °С, дробленую массу айвы и яблок - до 90 - 95 °С. Шиповник нагреванию не подвергают.
После тепловой обработки горячая фруктовая масса поступает на протирание. Косточковые плоды, если они нагревались в целом виде без удаления косточек, вначале протирают на протирочной машине с диаметром отверстий сит 5 мм, затем на сдвоенной протирочной машине с диаметром отверстий сит 1,5-1,2 и 0,4 мм. Тонкоизмельченную массу смешивают с сахарным сиропом в соотношении от 70: 30 до 50: 50. После смешивания сок гомогенизируют, деаэрируют, подогревают до 70 - 80 °С и направляют на фасование, укупорку и стерилизацию.
Некоторые соки с мякотью для детского питания выпускают натуральными, без добавления сахара или сиропа.

Рис. 7. Технологическая линия по производству соков с мякотью:
/ - моечная машина; 2 - инспекционный конвейер; 3 - элеватор; 4 - дробилка; 5 - машина для удаления плодоножек; б - шнековый подогреватель; 7 - протирочная машина; 8 - шнековый пресс; 9 - насосы; 10 - сироповарочный котел; 11 - смесители; 12 - сепаратор; 13 - сборник; 14 - гомогенизатор; 15 - трубчатый подогреватель; 16 - вакуум-насос; 17 - деаэратор; 18 - пастеризатор; 19 - сборник готового продукта.
Плоды моют в сдвоенной вентиляторной моечной машине 1, проходят машину для удаления плодоножек 5 и инспекционный конвейер 2. Отсюда семечковые плоды элеватором 3 подают в дробилку 4 а из нее - в шнековый подогреватель б, косточковые плоды подают сразу в подогреватель. Из подогревателя косточковые плоды поступают в протирочную машину 7, где очищаются от косточек, а семечковые плоды подают в шнековый пресс 8, где отжимается сок с частью мякоти. Очищенная от косточек масса вторично протирается на протирочной машине с меньшим диаметром отверстий сит. Тонко протертая плодовая масса поступает в смеситель 11, где к ней добавляют сироп из сироповарочного котла 10. Полученную смесь пропускают через сепаратор 12, в котором отделяются более крупные частицы мякоти, и резервируют в сборнике 13 Из сборника сок переходит в гомогенизатор плунжерного типа 14, подогревается до 45 °С в трубчатом подогревателе 75 и деаэрируется в деаэраторе 17, затем подогревается до 75 С в пастеризаторе 18 и поступает на фасование.
3.2 Фруктовые соки без мякоти
Соки без мякоти для детского питания готовят натуральные, без каких-либо добавок, и с сахаром одного вида или смешанные (купажированные) из двух видов плодов. Получают соки без мякоти из семечковых и косточковых (вишни, сливы, черешни) плодов и ягод культурных и дикорастущих.
Для производства соков без мякоти используют комплексные линии оборудования, обеспечивающие необходимую подготовку сырья, извлечение и обработку сока.
Первой операцией является мойка, которую осуществляют в двух последовательно установленных моечных машинах. Мытые плоды инспектируют, удаляя пораженные вредителями и болезнями плоды. После мойки плоды измельчают на дисковых или терочных дробилках: семечковые (яблоки, айву, груши) на частицы размером - 2 - 6 мм, шиповник - 1 - 2 мм.
Косточковые плоды и ягоды обрабатывают на вальцовых дробилках. Дробилки должны быть отрегулированы таким образом, чтобы не происходило раздавливания косточек. Содержание дробленых косточек в мезге - не более 15%, небольшое их количество улучшает вкус и запах сока. Сливы при дроблении должны только сплющиваться, не теряя своей целости. Зрелые малину, землянику и чернику можно не дробить.
Для некоторых плодов и ягод одного дробления недостаточно для получения сока. Чтобы облегчить выход сока, необходима их дополнительная обработка, которая включает нагревание или обработку электрическим током; ферментные препараты не применяются.
Сливы нагревают с добавлением 10% воды до 70 - 72 °С до появления трещин на кожице; ежевику, бруснику, черноплодную рябину - до 65 - 75 °С с добавлением 12 - 15% воды к массе сырья.
Действию электрического тока в специальных устройствах - электроплазмолизаторах - может подвергаться мезга почти всех плодов и ягод с плотной кожицей.
Обработанную мезгу подают на прессование, для чего применяют гидравлические пакетные прессы периодического действия или непрерывного - шнековые или ленточные.
Шнековые прессы дают сок с высоким содержанием взвесей, поэтому их используют для отжатия сока из ограниченного ассортимента сырья - винограда, гранатов и некоторых других ягод и плодов. Ленточные прессы дают хороший результат при прессовании яблок.
При производстве яблочного осветленного сока осветляют процеженный сок. Когда готовят соки для детского питания, осветление можно проводить склеиванием с использованием 1% -ных растворов желатина или танина и желатина.
Неосветленный сок для удаления части белковых веществ и других термолабильных коллоидов подвергают мгновенному подогреву до температуры коагуляции белков 85 - 90 °С, затем быстро охлаждают до 30 - 35 °С и сепарируют.
Осветленный сок фильтруют и направляют на подогрев и фасование. Неосветленный сок нагревают после сепарирования.
При изготовлении соков с сахаром или купажированных смешивание соков и добавление сахара осуществляют перед нагреванием.
Сок, фасуемый в мелкую тару с последующей стерилизацией, нагревают до 75 - 80 °С и фасуют в подготовленные бутылки или банки. При производстве сока с витамином С в горячий сок добавляют аскорбиновую кислоту, перемешивают 5-10 мин и сразу передают на фасование.
Наполненную тару укупоривают и направляют на стерилизацию (пастеризацию), которую проводят при 85, 90 или 100 °С в зависимости от кислотности сока и вместимости тары, продолжительность стерилизации - от 10 до 20 мин.
В крупную тару вместимостью 2, 3 и 10 дм3 можно фасовать соки так называемым горячим розливом без последующей стерилизации. При горячем розливе сок нагревают до 95 - 97 °С с автоматической регулировкой температуры и сразу же разливают в подготовленные горячие банки, которые укупоривают прокипяченными крышками. Укупоренные банки на 20 мин укладывают на бок для стерилизации верхнего незаполненного пространства тары, после чего обдувают холодным воздухом для снижения вредного воздействия теплоты на качество сока.

Рис. 8. Технологическая схема производства осветленных фруктовых соков:
1 - контейнероопрокидыватель; 2, 3 - вентиляторные моечные машины; 4 - машина для удаления плодоножек; 5 - инспекционный конвейер; 6 - элеватор; 7 - дробилка; 8 - стекатель; 9 - дозатор; 10 - гидравлический пресс с насосом; 11 - сборник с фильтром; 12 - сборник-мерник; 13,20 - передвижной насос; 14 - кожухотрубный подогреватель; 15 - узел температурной выдержки; 16 - сборник-смеситель; 17,19 - сосуды; 18 - пастеризатор; 21, 23, 24 - винтовые насосы; 22 - фильтр-пресс.
Сырье из контейнеров выгружают в моечную машину. Мойка осуществляется в двух последовательно установленных вентиляторных моечных машинах. Если перерабатывается сырье с плодоножками, то оно проходит через машину для удаления плодоножек. Затем плоды инспектируют на конвейере и подают элеватором в дробилку. Сок, выделяющийся из плодов при дроблении, изолируется от мезги в стекателе и отводится в сборную емкость с фильтром. Частично обезвоженную мезгу через дозатор загружают в гидравлический пресс. Отжатый сок перекачивают насосом в сборную емкость с фильтром. Проходя в емкость через фильтр, сок освобождается от взвесей. Из емкости с фильтром сок перекачивают в сборники-мерники для смешивания сока с сахаром или другими соками при производстве купажированных соков. Полученную в соответствии с рецептурой смесь подогревают в кожухотрубном подогревателе, выдерживают при этой температуре необходимое время в выдерживателе, затем через промежуточный сборник подают на фильтрование в фильтр-пресс. Фильтрованный сок нагревают до температуры пастеризации и сразу фасуют в подготовленные бутылки.
3.3 Линия по выработке осветленного яблочного сока производительностью 3 т / ч по сырью
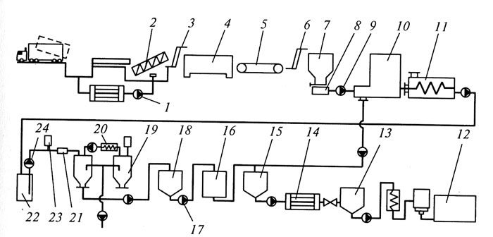
Поступившие на переработку плоды засыпают в бетонные ванны, откуда гидротранспортером по подземным каналам они направляются в цех. Здесь с помощью шнекового отделителя 2, расположенного в бетонной ванне (яме), плоды отделяют от воды и с помощью элеватора 3 с душевым устройством поднимают к машине для окончательной мойки 4. Вода, поступающая с шнекового отделителя и содержащая крупные загрязнения (камешки, ветки, листья и т.п.), попадает на загрузочную воронку наклонного шнекового конвейера с перфорированным дном, задерживающим и удаляющим загрязнения. Очищенная вода стекает в ванну (яму), откуда с помощью погружного насоса 1 подается обратно в бетонные ванны с плодами для повторного ее использования.

Рис. 9. Линия по выработке осветленного яблочного сока
1, 9, 17, 24 - насосы; 2 - шнековый отделитель; 3,6 - элеваторы; 4 - моечная машина; 5 - инспекционный транспортер; 7, 13, 15, 18, 22 - сборники; 8 - дробилка; 10 - пресс; 11 - пастеризатор-охладитель; 12 - пастеризатор; 14, 16 - фильтры; 19 - сборник; 20 - охладитель; 21 - трубный статический смеситель; 23 - дозатор пектолитического препарата.
Промытые плоды инспектируют 5, удаляя негодные для переработки плоды, и элеватором 6 поднимают к приемному сборнику 7, ополаскивая плоды струей чистой воды. Яблоки из сборника в необходимом количестве (в зависимости от производительности пресса) подают на дробилку 8. Измельченная плодовая масса немедленно направляется насосом 9 на прессование 10.
Полученный сок в установке для прессования очищают от возможных крупных частиц и после пастеризации и охлаждения 11 направляют в одну из емкостей для депектинизации. Выжимки от прессования измельчают на мешалке при возможной добавке воды и направляют в емкости для брожения.
Сок после пастеризации и охлаждения (45 - 50 °С) сначала направляют в промежуточный сборник 22, откуда дозировочным насосом 24 он засасывается в емкости для депектинизации. По пути в трубопровод вводят пектолитический препарат 23 при его перемешивании с помощью трубного статического смесителя 21.
Процессы депектинизации и осветления протекают в зависимости от вида применяемого препарата.
Если препарат для осветления требует охлаждения сока, то его после депектинизации через охладитель 20 перекачивают в емкости для осветления 19 и добавляют препарат вручную. Если охлаждения не требуется, сок в этом случае не перекачивают, а препарат для осветления вводят в емкость для депектинизации. По окончании депектинизации и осветления образовавшийся на дне емкости осадок перекачивают в сборник для приемки осадка 18, откуда его направляют насосом 1 7 на фильтр 16.
Полученный таким образом сок с помощью насоса перекачивают в сборник 19, куда добавляют сок, полученный от фильтрации осадка. Смесь соков еще раз фильтруют 14 для получения полностью осветленного сока, готового к розливу в бутылки. Этот сок собирают в приемном сборнике 13, а потом направляют на линию розлива в бутылки, где он предварительно деаэрируется и пастеризуется.
Розлив сока в бутылки происходит при 80ºС с последующей дополнительной пастеризацией и охлаждением в туннельном пастеризаторе-охладителе.
Техническая характеристика линии по выработке осветленного яблочного сока:
Производительность линии по сырью, т / ч - 3
Общая установленная мощность, кВт - 106,85
Общий расход воды, м3/ч - 12
Общий расход пара, т / ч - 500
Число производственных рабочих в смену - 12
4. Список используемой литературы
Касьянов Г.И. Технология продуктов детского питания, 2003г.
Панфилов В.А. Технологические линии пищевых производств, М., 1993г.