Тепловой расчет парового котла типа Пп-1000-25-545/542-ГМ
Энергетический Институт
Кафедра:
«Котельные Установки и Экология Энергетики»
Курсовое проектирование
по курсу
«Котельные установки и парогенераторы»
Расчетно-пояснительная записка теплового расчета
парового котла типа: Пп-1000-25-545/542-ГМ
(ТГМП – 314).
Топливо – природный газ
Студент:
Группа: 02-03
Преподаватель:
2008
Содержание:
|
1. |
Содержание. |
|
|
2. |
Задание на курсовой проект. |
|
|
3. |
Описание проектируемого котла. |
4 |
|
4. |
Расчет экономичности и тепловой схемы парового котла |
10 |
2. Задание на курсовой проект.
Выполнить тепловой конструктивный расчет поверхностей нагрева прямоточного парового котла сверхкритического давления (С. К. Д.) типа ТГМП-314А, построить его тепловую схему и выполнить эскизный чертеж в масштабе 1:100.
Исходные данные:
Паропроизводительность: 275 кг/с
Давление перегретого пара: 25 МПа
Температура перегретого пара: 550С
Давление питательной воды: 31 МПа
Температура питательной воды: 270С
Компоновка парогенератора: прямоточный.
Вариантный расчет: t>гв >- 50ºС
Описание проектируемого котла.
Обоснование выбора типоразмера котла для ТЭС и турбины.
Котел используется на больших
ГРЭС и ТЭС. Получил широкое распространение
из-за того, что надежен в работе и
экономичен. ТГМП-314-А предназначен для
работы в блоке с турбинами К-300-240
(конденсационная турбина без отбора
пара; давление пара перед турбиной 240
,
мощность N=300
МВт) и Т-250/300-240 (теплофикационная турбина
с отбором пара N=250
МВт, без отбора пара N=300
МВт, давление пара перед турбиной 240
).
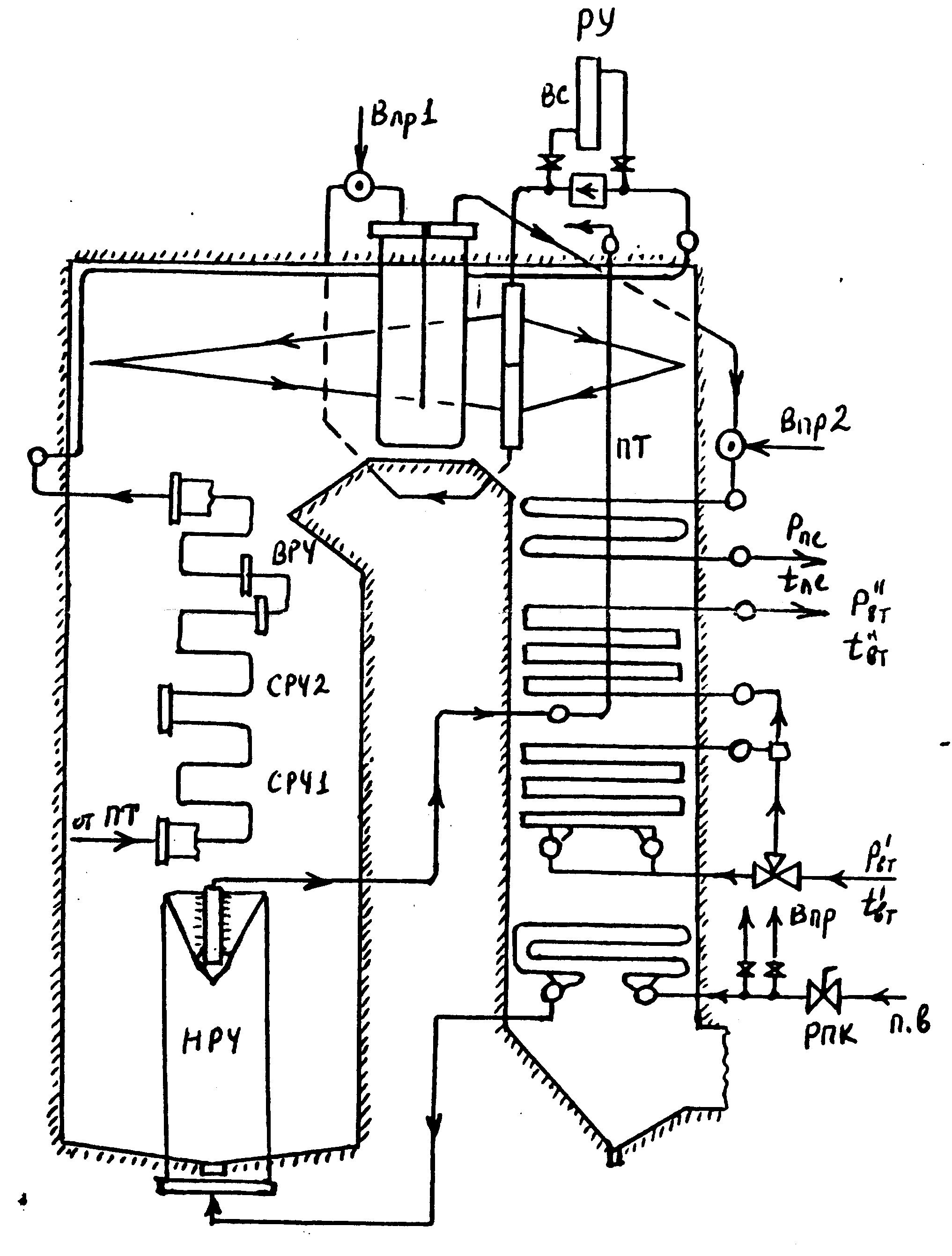
Компоновка котла, особенности его конструкции и работы. Схема компоновки.

Прямоточный котел (ПК) – паровой котел, в котором полное превращение воды в пар происходит за время однократного прохождения воды через поверхность нагрева (разомкнутая гидравлическая система). Отличительной особенностью прямоточных котлов является отсутствие четкой фиксации экономайзерной и пароперегревательной зон (из-за отсутствия барабана). ПК работают на докритическом и сверхкритическом давлении. Проектируемый котел работает на сверхкритическом давлении.
Прямоточный котел типа ТГМП-314-А спроектирован и изготовлен на Таганрогском котельном заводе и рассчитан на сжигание жидкого и газообразного топлива.
Котел имеет П-образный профиль.
П-образная компоновка – наиболее
распространенная. В подъемной шахте
располагается призматическая топочная
камера, в опускной – конвективные
поверхности нагрева. Ее преимущество
– тягодутьевые машины устанавливают
на нулевой отметке, что исключает
вибрационные нагрузки на каркас котла.
Недостатки компоновки: в связи с
разворотом на
возникают неравномерности омывания
поверхности нагрева продуктами сгорания
и концентрации золы по сечению конвективной
шахты.
Топка котла призматическая и
экранирована НРЧ, СРЧ, ВРЧ. Верх топки
экранирован фронтовым топочным экраном
и панелями экранов боковых стенок.
Горелки расположены встречно в два
яруса. Движение среды в экранах
одноходовое. В горизонтальном газоходе
и на входе в конвективную шахту расположен
перегреватель сверхкритического
давления. Он состоит из последовательно
расположенных в газовом тракте двухрядных
ширм и пакета конвективного
пароперегревателя. Тракт низкого
давления пара состоит из двух пакетов
промпароперегревателя. В опускном
газоходе находится экономайзер. С котлом
работают два регенеративных
воздухоподогревателя
9,8 м.
В ПК вода с помощью питательного насоса подается в экономайзер, откуда поступает в панели, расположенные в топке. В выходной части панелей вода превращается в пар и начинается перегрев воды. В ПК отсутствует барабан и опускные трубы, что снижает удельный расход металла, т.е. удешевляет конструкцию котла. Существенный недостаток ПК заключается в том, что, попадающие в котел с питательной водой соли, либо отлагаются на стенках змеевиков, либо вместе с паром поступают в паровые турбины, где оседают на лопатках рабочего колеса, и снижают КПД турбины. Поэтому к качеству питательной воды для ПК предъявляются повышенные требования. Другой недостаток – увеличенный расход энергии на привод питательного насоса.
Топливо. Его характеристики. Процессы и параметры топливного тракта. Схема топливоподачи.
В качестве топлива используется
природный газ. Природный газ представляет
собой механическую смесь горючих и
негорючих газов. Достоинства: топливо
высококачественное (
),
беззольное, с малым содержанием S,
CO,
.
Качественный состав топлива приведен
ниже.
|
|
|
|
|
|
|
|
|
|
|
% |
|
% |
|
|
|
|
|
10,93 |
3,021 |
40503 |
0,1 |
36720 |
9,73 |
1,04 |
2,19 |
Основными техническими характеристиками газа являются:
Плотность. Почти все виды газового топлива легче воздуха, поэтому при утечке газ скапливается под перекрытиями. В целях безопасности перед пуском парового котла обязательно проверяют отсутствие газа в наиболее вероятных местах его скопления. Используется понятие относительной плотности газа:
,
где
,
–
плотность газа и воздуха при нормальных
условиях,
.Взрываемость. Смесь горючего газа с воздухом в определенной пропорции при наличии огня или искры может взорваться (процесс воспламенения и сгорания со скоростью, близкой к скорости звука). Пропорции газовоздушной смеси зависят от химического состава и свойств газа.
Токсичность. Под токсичностью понимают способность газа вызывать отравление живых организмов. Наиболее опасными компонентами газа являются окись углерода (СО) и сероводород (
).
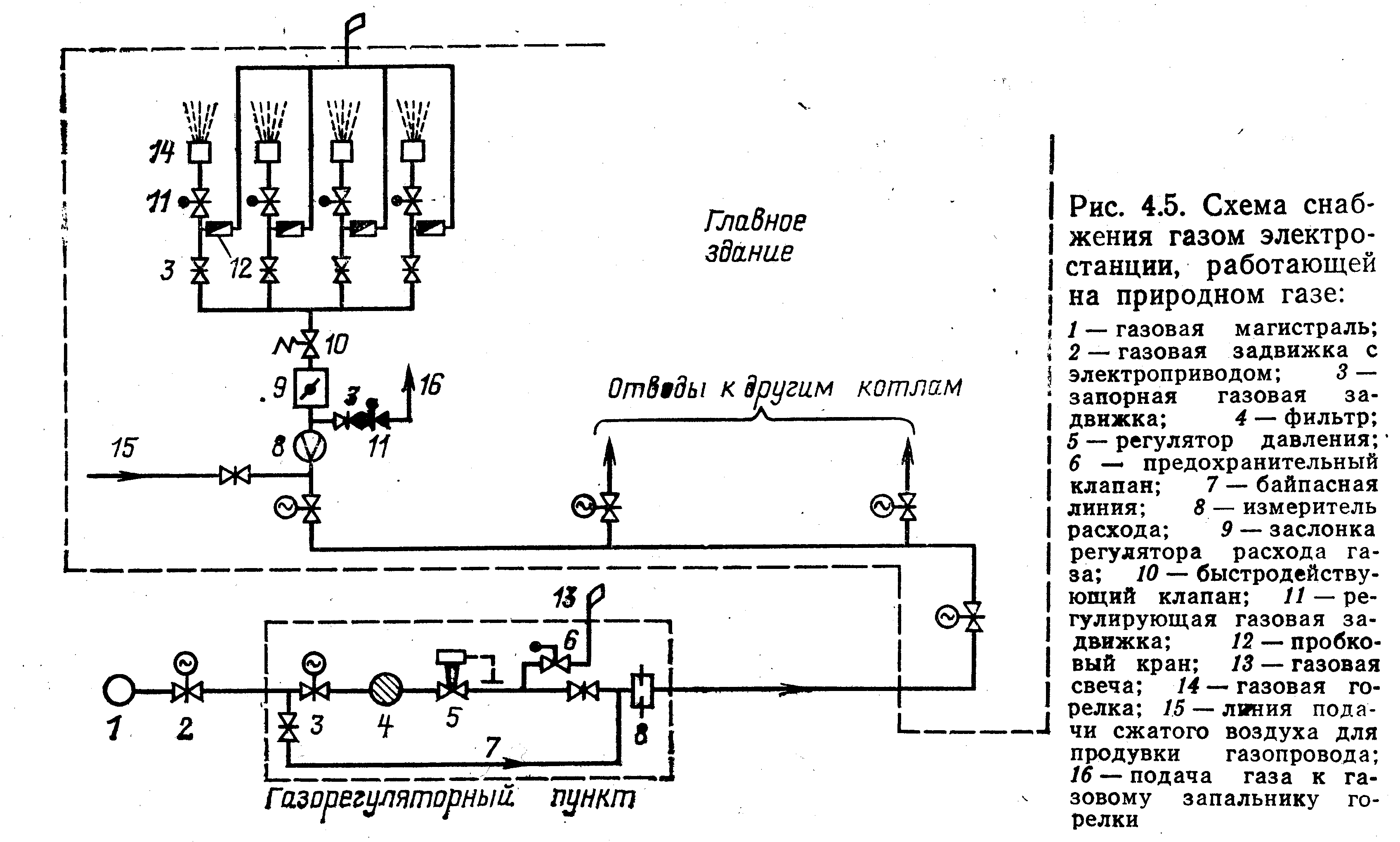
Газ поступает на электростанцию от магистрального газопровода или от газораспределительной станции с давлением 0.7 – 1.3 МПа. Газохранилищами электростанции не располагают. Для снижения давления поступающего газа до необходимого уровня у горелок 0.13 – 0.2 МПа предусматривается его дросселирование в газорегуляторном пункте (ГРП), который ввиду повышенной взрывоопасности и резкого шума при дросселировании газа размещают в отдельном помещении на территории ТЭС.
Для очистки газа от механических примесей перед регулирующими клапанами имеются фильтры. Регулирующие клапаны поддерживают необходимое давление «после себя». В аварийных ситуациях, когда давление газа окажется выше расчётного, срабатывают предохранительные клапаны и выбросят часть газа в атмосферу, сохранив в газопроводах необходимое давление. Количество газа, прошедшее ГРП, регистрируется расходомером. Основными устройствами на газопроводе к паровому котлу являются автоматический регулятор расхода газа (АРР) и отсекающий быстродействующий клапан (БК). Регулятор АРР обеспечивает необходимую тепловую мощность парового котла в любой момент времени. Импульсный отсекающий БК отключает подачу газа в котел в случае аварийной ситуации, когда поступление газа в топочную камеру может создать опасность взрыва (обрыв факела в топке, падение давления воздуха у горелок, останов электродвигателей дымососа или дутьевого вентилятора и т.д.).
Для удаления взрывоопасных газовоздушных смесей, образующихся в нерабочий период, газовые линии перед ремонтом продувают воздухом через специальные отводящие трубы в атмосферу («свечи»). Последние выведены за пределы здания в места, недоступные для пребывания людей. Перед растопкой котла после ремонта или останова в резерв газовоздушную смесь из газопровода вытесняют подачей природного газа и смеси через свечи. Окончание продувки газопровода газом определяют по содержанию кислорода в пробе не выше 1%.

Организация сжигания природного газа.
Характерной особенностью сжигания природного газа является образование горючей смеси из резко различных по объёму количеств газа и воздуха: на 1 м3 природного газа в горелке расходуется около 20 м3 горячего воздуха (при температуре 250 – 300 С). Обеспечить хорошее перемешивание с воздухом в этих условиях можно только путём ввода газа в поток воздуха большим числом отдельных тонких струй с высокой проникающей способностью, со скоростью газа до 120 м/с при скорости основного потока воздуха 25 – 40 м/с.
Газовые горелки являются горелками с частичным внутренним смешиванием, поскольку в пределах горелки не достигается полное перемешивание газа и воздуха, оно завершается уже в топочной камере. В результате небольшая часть газа в зонах высоких температур при нехватке кислорода подвергается термическому разложению (пиролизу) с образованием сажистых частиц. Поэтому при работе газовой горелки также создается достаточно яркий факел в топке с максимумом температуры горения на определённом удалении от амбразуры горелки.
В большинстве случаев ввод газа в воздушный поток выполняют перпендикулярно направлению движению воздуха. Для равномерного распределения газа в объёме воздуха глубина проникновения отдельных струй газа должна быть различной.
Тракты дымовых газов. Параметры тракта. Организация движения газов.
Тракт дымовых газов – комплекс элементов оборудования, по которому осуществляется движение продуктов сгорания до выхода в атмосферу. Он начинается в топочной камере, проходит ширмы, пароперегреватели, экономайзер, воздухоподогреватель (газовая сторона), золоуловитель и заканчивается дымовой трубой.
Рассматриваемый котел работает на природном газе, который практически не дает золы, поэтому золоуловитель здесь не требуется.
Продукты сгорания транспортируются дымососами, расположенными после котла, в связи с чем топка и все газоходы находятся под разряжением.
Температура газа в начале тракта
,
на выходе из топки (при подходе к ширмам)
.
Пройдя топку, газы идут по горизонтальному газоходу, где их температура постепенно снижается.
После ширм температура газа
составляет
.
Далее газы идут в конвективный
пароперегреватель, при прохождении
которого их температура снижается до
.
Затем они направляются в промежуточный
пароперегреватель, где их температура
снижается до
.
Из промежуточного пароперегревателя
газы идут в экономайзер, охлаждаются
до температуры
,
а затем, при прохождении регенеративного
воздухоподогревателя, охлаждаются до
температуры
.
Затем газы отправляются в дымосос, после
прохождения которого температура газа
незначительно повышается (примерно на
).
Далее газы идут Самотягой через вертикальную дымовую трубу. Ее делают высокой, чтобы газы рассеивались на как можно большей площади для уменьшения приземной концентрации вредных веществ.
Присосы
воздуха по тракту
|
|
|
|
|
|
|
|
0,03 |
0 |
0,03 |
0,03 |
0,02 |
0,2 |
Воздушный тракт. Обоснование выбора параметров.
Обеспечение движения воздуха.
Воздушный тракт представляет
собой комплекс оборудования для приемки
атмосферного воздуха (холодного), его
подогрева, транспортировки и подачи в
топочную камеру. Воздушный тракт включает
короб холодного воздуха, воздухоподогреватель
(воздушная сторона), короб горячего
воздуха и горелочные устройства. Зимой
воздух берут с улицы, летом – из помещения
(из-под крыши котельного цеха). Зимой
воздух берут с улицы, чтобы избежать
переохлаждения котельного цеха, так
как при заборе воздуха из помещения
цеха с улицы будет подсасываться холодный
воздух. Летом воздух берут из-под крыши
котельного цеха, чтобы обеспечить его
вентиляцию. Среднегодовая температура
воздуха на входе
,
давление 0,1 МПа. Воздух транспортируется
с помощью центробежных тягодутьевых
машин (например, с помощью дутьевого
вентилятора), на входе в которые имеется
разряжение около 200 Па, температура та
же, что и на входе. дутьевой вентилятор
располагают на нулевой отметке на
собственном фундаменте, чтобы избежать
передачи вибрации на каркас здания.
После дутьевого вентилятора температура
на
выше.
Для интенсификации процесса
сжигания топлива воздух подогревают в
воздухоподогревателе с вертикальной
осью вращения до температуры
.
После этого воздух подается в топку.
Воздух подогревают с двумя целями –
интенсифицировать процесс горения
топлива и охладить дымовые газы. При
подогреве воздуха до слишком низкой
температуры дымовые газы на выходе
будут иметь слишком высокую температуру,
что может существенно снизить КПД котла.
Подогрев воздуха до слишком высокой
температуры требует увеличения
поверхности регенеративного
воздухоподогревателя, что неэкономично,
так как ведет к увеличению металлоемкости
котла. Таким образом, здесь происходит
два процесса – транспорт воздуха и
подогрев воздуха.
Преимущество РВП по сравнению
с трубчатым – меньшие габаритные размеры
и масса в силу более интенсивного
теплообмена в узких щелях, образованных
гофрированными стальными листами
набивки, более эффективная очистка при
воздушной и паровой обдувке, меньшая
склонность к коррозии. Недостатки:
повышенные перетоки воздуха в газы (до
20%), сложность уплотнений вращающегося
ротора, громоздкость и сложность
подшипников, невозможность подогрева
воздуха выше
.
После подогрева в РВП воздух поступает
в газомазутные горелки. Перемешивание
воздуха и топлива производится в круглых
турбулентных горелках с периферийной
подачей газа.
|
|
РВП |
|
|
|
|

Водопаровой тракт котла.
Параметры рабочей среды по тракту.

Питательная вода после системы
после системы регенеративного подогрева
с температурой
направляется в коллектор диаметром
,
откуда четырьмя трубами поступает во
входной коллектор экономайзера. После
экономайзера питательная вода с
температурой
делится на два потока и поступает во
входные коллектора боковых экранов
НРЧ. Боковые экраны рабочая среда
проходит одним ходом. после боковых
экранов пароводяная смесь поступает
во входные коллектора одной секции
фронтового и заднего экранов. После
прохода этой секции рабочая среда
поступает во входные коллектора второй
секции фронтового и заднего экранов,
затем – третьей. После прохода всех
трех секций фронтового и заднего экранов
НРЧ рабочая среда направляется во
входной коллектор подвесных труб,
расположенных в конвективной шахте. В
подвесных трубах рабочая среда имеет
подъемное движение. Из выходного
коллектора подвесных труб рабочая среда
направляется в смеситель перед СРЧ.
После экранов СРЧ рабочая среда
направляется в смеситель перед ВРЧ, из
которого поступает во входные коллектора
экранов ВРЧ. На выходе из топки рабочая
среда имеет температуру
.
Из выходного коллектора экранов ВРЧ
пароводяная смесь направляется в экраны
потолочного пароперегревателя и экраны
боковых поверхностей горизонтального
газохода и поворотной камеры.
Далее рабочая среда направляется
во входные коллектора ширмового
пароперегревателя
.
Перед ширмовым пароперегревателем
установлен первый впрыск для регулирования
температуры пара. После впрыска рабочая
среда двумя потоками поступает в первый
ряд ширм (20 ширм на поток), пройдя которые
рабочая среда перебрасывается в пределах
полупотолка от средней четверти газохода
к крайней и наоборот. Аналогичным образом
рабочая среда проходит вторую ступень
ширмового пароперегревателя. Ступени
ширмового пароперегревателя включены
по схеме «прямоток». Из второй ступени
ширмового пароперегревателя пар с
направляется в камеру второго впрыска.
После впрыска рабочая среда с
проходит прямотоком пакет конвективного
пароперегревателя, из которого выходит
с параметрами
и
.
Промежуточный пароперегреватель состоит
из двух конвективных ступеней, включенных
по схеме «противоток». Регулирование
температуры промежуточного перегрева
производится с помощью рециркуляции
газов, и частичного байпасирования
регулирующей ступени.
4. Расчет экономичности и тепловой схемы парового котла
1. Располагаемая теплота сжигаемого топлива, кДж/м3


(кп)



(3.4)
2. КПД проектируемого парового котла (по обратному балансу), %

(3.1)


(кп)


-потери теплоты с уходящими газами
(кп)

-потери теплоты с химическим недожогом


-потери теплоты с механическим недожогом (кп)



-потери теплоты от наружного охлаждения через внешние поверхности котла (3.11)




3. Расход топлива












(кп)



(3,14)



Программа «Pк25g»
|
Характеристики топлива. |
|||||
Наименование величины |
Обозначе-ние |
Разм. |
Источник |
Числ. Знач. |
|
|
1.Теоретический объем воздуха |
V |
м3/м3 |
Табл. П 4.3 |
9.73 |
|
|
2.Теоретическая энтальпия газа при избытке воздуха, равным единице и температуре газов 2200С |
H>Г,>>V>>=2200ºC> |
кДж/м3 |
Табл. П 4.3 |
40503 |
|
|
3.Теоретический объем водяных паров |
V>H3O> |
м3/м3 |
Табл. П 4.3 |
2.19 |
|
|
4.Объем трёхатомных газов |
V>RO2> |
м3/м3 |
Табл. П 4.3 |
1.04 |
|
|
5.Теоретический объём сухих газов |
V>Г> |
м3/м3 |
V>Г>=V>RO2>+ +V>H3>+V>H3O> |
10.93 |
|
|
6.Соотношение углерода и водорода в топливе |
CP/HP |
б/р |
|
3.021 |
|
|
7.Низшая теплота сгорания топлива |
QP>H> |
кДж/м3 |
Табл. П 4.3 |
36720 |
|
|
Характеристики режима. |
|||||
|
1.Расход острого пара |
DI>пе> |
кг/с |
Из задания на КП. |
275 |
|
|
2.Расход пара промежуточного перегрева |
DII>пе> |
кг/с |
Из задания на КП. |
215 |
|
|
3.Расход воды на впрыск |
D>вп> |
кг/с |
Из задания на КП. |
15 |
|
|
4.Температура питательной воды |
t>пв> |
С |
Из задания на КП. |
270 |
|
|
5.Температура пара после промперегрева |
tI>пе> |
С |
Из задания на КП. |
550 |
|
|
6.Температура пара на выходе из промперегревателя |
tII>пе> |
С |
Из задания на КП |
545 |
|
|
7.Температура пара на входе в промперегреватель |
tII>вх> |
С |
Из задания на КП |
290 |
|
|
8.Температура воды за экономайзером |
t”>э> |
С |
Из задания на КП |
315 |
|
|
9.Коэффициент избытка воздуха за топкой |
α”>т> |
б/р |
Табл. 1.7 |
1.04 |
|
|
10.Доля рециркуляции дымовых газов |
r>рц> |
б/р |
Из задания на КП |
0.1 |
|
|
Присосы воздуха. |
|||||
|
1.В топке |
∆α>т> |
б/р |
Из задания на КП |
0.03 |
|
|
2.В ширмах |
∆α>ш> |
б/р |
Из задания на КП |
0 |
|
|
3.В КПП ВД |
∆α>кпп> |
б/р |
Из задания на КП |
0.03 |
|
|
4.В ППП |
∆α>ппп> |
б/р |
Из задания на КП |
0.03 |
|
|
5.В экономайзере |
∆α>э> |
б/р |
Из задания на КП |
0.02 |
|
|
6.В РВП |
∆α>вп> |
б/р |
Из задания на КП |
0.2 |
|
|
Энтальпии рабочей среды. |
|||||
|
1.Остого пара |
h>пе>>1> |
кДж/кг |
Диаграмма – h,s. |
3345.3 |
|
|
2.Пара после промперегрева |
h>пе>>2> |
кДж/кг |
Диаграмма – h,s. |
3552.1 |
|
|
3.Пара поступающего на промперегрев |
h>вх2> |
кДж/кг |
Диаграмма – h,s. |
2956 |
|
|
Температура воздуха и продуктов сгорания. |
|||||
|
1.Холодного воздуха |
t>вх> |
С |
Из задания на КП |
30 |
|
|
2.Воздуха на входе в ВП |
t’>вп> |
С |
Табл. 1.5 (см. Приложение 1) |
30 |
|
|
3.Горячего воздуха |
t>гв> |
С |
Табл. 1.6 |
270 |
|
|
4.Дымовых газов после ВП |
υ>ух> |
С |
Табл. 1.4 |
120 |
|
|
5. Дымовых газов на выходе из топки |
υ”>т> |
С |
υ”>т>=1250 1350C |
1250 |
|
|
Тепловые потери. |
|||||
|
1.С химнедожогом |
q>3> |
% |
Табл. 4.6 |
0.3 |
|
|
2.В окружающую среду |
q>5> |
% |
Формула 3.12 |
0.2 |
|
|
3.Допускаемое теплонапряжение объема топки |
qдоп>v> |
% |
Табл. 4.6 |
350 |
|
|
Конструктивные характеристики топки |
|||||
|
1.Ширина |
a>т> |
м |
Чертежи прот. проект. котла |
17.36 |
|
|
2.Глубина топки в нижней части до ширм |
b>т.н> |
м |
Чертежи прот. проект. котла |
8.6 |
|
|
3.Глубина топки в верхней части |
b>т.в> |
м |
Чертежи прот. проект. котла |
9.5 |
|
|
4.Вертикальный размер ширм на выходе из топки |
h>ш> |
м |
Чертежи прот. проект. котла |
10.3 |
|
|
5.Высота горелок от пода топки |
h>г> |
м |
Чертежи прот. проект. котла |
3.8 |
|
|
Конструктивные характеристики ширм. |
|||||
|
1.Число ширм в поперечном сечении |
n>ш> |
шт. |
Чертежи прот. проект. котла |
20 |
|
|
2.Вертикальный размер ширм (высота) |
h>ш.ср> |
м |
Чертежи прот. проект. котла |
6.6 |
|
|
3.Глубина газохода зоны ширм |
с>ш> |
м |
Из задания на КП |
4.9 |
|
|
4.Сумарная глубина собственно ширм |
cсоб>ш> |
м |
Из задания на КП |
3.8 |
|
|
5.Высота газохода ширм на выходе |
h>ш.вых> |
м |
Чертежи прот. проект. котла |
6.2 |
4.3. Результаты расчета
Результаты расчета для первого варианта
|
Т |
Ш |
КПП |
ППП |
Э |
РВП |
|
|
Избыток воздуха |
1.04 |
1.04 |
1.07 |
1.1 |
1.12 |
1.32 |
|
Средний объем газов м3/кг |
13.02 |
13.02 |
13.17 |
13.47 |
13.71 |
13.1 |
|
Объемная доля вод. Паров |
0.194 |
0.194 |
0.192 |
0.187 |
0.184 |
0.170 |
|
Сум. объемная доля трехатом. газов |
0.286 |
0.286 |
0.282 |
0.276 |
0.270 |
0.249 |
|
Привед. за элементом доля рециркуляции |
0.15 |
0.15 |
0.146 |
0.142 |
0.140 |
0 |
|
Температура греющей среды , °С |
||||||
|
на входе |
1902 |
1224 |
962 |
761 |
446 |
320 |
|
на выходе |
1224 |
962 |
761 |
446 |
320 |
120 |
|
Температура нагреваемой среды, °С |
||||||
|
на входе |
315 |
419 |
466 |
290 |
270 |
30 |
|
на выходе |
414 |
486 |
550 |
545 |
315 |
270 |
|
Энтальпия греющей среды, кДж/кг |
||||||
|
на входе |
40924 |
25041 |
19183 |
15085 |
8670 |
5422 |
|
на выходе |
25041 |
19183 |
15085 |
8670 |
6181 |
2326 |
|
Энтальпия нагреваемой среды,кДж/кг |
||||||
|
на входе |
1399 |
2717 |
3014 |
2930 |
1199 |
379 |
|
на выходе |
2616 |
3119 |
3345 |
3552 |
1399 |
3508 |
|
Тепловосприятие по балансу, кДж/кг |
15849 |
5846 |
4101 |
6413 |
2492 |
3474 |
|
Расход топлива: 20.85 м3/с Тепловые потери с уходящими газами: 4.97% КПД котла: 94.53% Невязка теплового баланса: 0.027% Площадь стен топки: 1890.3 м2 Объём топки: 4684.6 м3 Коэффициент теплового излучения топки: А0=0.659 Высота нижней призматической части топки: Н=20 м Средний коэффициент тепловой эффективности топки: U=0.57 Теплонапряжение сечения топки: Е9=5129 кВт/м2 Объёмное теплонапряжение топки: R2=163.5 кВт/м3 Теплонапряжение стен топки: R3=174.8 кВт/м2 Теплота излучения из топки на ширму: R5=587.8кДж/м3 Теплота излучения на выходе из ширм: R6=247.7кДж/м3 Поперечный шаг ширм: Y9=0.827 м Площадь дополнительных поверхностей ширм: F3=235м2 Поверхность собственно ширм: Н2=1003.2 м2 Тепловосприятие ширм: N2=5012.7 кДж/м3 Тепловосприятие потолочного пароперегревателя: Q9=1255 кДж/м3 Коэффициент теплоотдачи конвекцией в ширмах: А1=52.6 Вт/м2К Коэффициент теплоотдачи излучением в ширмах: А3=108.2 Вт/м2К |
Вариантный расчёт: Уменьшаем температуру горячего воздуха t>гв> на 20 °С
|
Т |
Ш |
КПП |
ППП |
Э |
РВП |
|
|
Избыток воздуха |
1.04 |
1.04 |
1.07 |
1.1 |
1.12 |
1.32 |
|
Средний объем газов м3/кг |
13.02 |
13.02 |
13.17 |
13.47 |
13.71 |
13.1 |
|
Объемная доля вод. Паров |
0.194 |
0.194 |
0.192 |
0.187 |
0.184 |
0.170 |
|
Сум. объемная доля трехатом. газов |
0.286 |
0.286 |
0.282 |
0.276 |
0.270 |
0.249 |
|
Привед. за элементом доля рециркуляции |
0.15 |
0.15 |
0.146 |
0.142 |
0.140 |
0 |
|
Температура греющей среды , °С |
||||||
|
на входе |
1890 |
1219 |
960 |
747 |
431 |
304 |
|
на выходе |
1219 |
960 |
747 |
431 |
304 |
120 |
|
Температура нагреваемой среды, °С |
||||||
|
на входе |
315 |
418 |
463 |
290 |
270 |
30 |
|
на выходе |
414 |
482 |
550 |
545 |
315 |
270 |
|
Энтальпия греющей среды, кДж/кг |
||||||
|
на входе |
40617 |
24939 |
19123 |
14777 |
8362 |
5152 |
|
на выходе |
24939 |
19123 |
14777 |
8362 |
5873 |
2326 |
|
Энтальпия нагреваемой среды,кДж/кг |
||||||
|
на входе |
1399 |
2700 |
2996 |
2930 |
1199 |
379 |
|
на выходе |
2601 |
3100 |
3345 |
3552 |
1399 |
3243 |
|
Тепловосприятие по балансу, кДж/кг |
15645 |
5804 |
4348 |
6413 |
2492 |
3179 |
|
Расход топлива: 20.85 м3/с Тепловые потери с уходящими газами: 4.97% КПД котла: 94.53% Невязка теплового баланса: 0.027% Площадь стен топки: 1890.3 м2 Объём топки: 4684.6 м3 Коэффициент теплового излучения топки: А0=0,660 Высота нижней призматической части топки: Н=20 м Средний коэффициент тепловой эффективности топки: U=0.57 Теплонапряжение сечения топки: Е9=5129 кВт/м2 Объёмное теплонапряжение топки: R2=163.5 кВт/м3 Теплонапряжение стен топки: R3=174.8 кВт/м2 Теплота излучения из топки на ширму: R5=583,2кДж/м3 Теплота излучения на выходе из ширм: R6=245,4кДж/м3 Поперечный шаг ширм: Y9=0.827 м Площадь дополнительных поверхностей ширм: F3=235м2 Поверхность собственно ширм: Н2=1003.2 м2 Тепловосприятие ширм: N2=4976,9 кДж/м3 Тепловосприятие потолочного пароперегревателя: Q9=1255 кДж/м3 Коэффициент теплоотдачи конвекцией в ширмах: А1=52.6 Вт/м2К Коэффициент теплоотдачи излучением в ширмах: А3=107,3 Вт/м2К |
При уменьшение температуры горячего воздуха, падает энтальпия горячего воздуха, что ведет за собой и изменение теплоты воздуха. При понижение теплоты воздуха, падает значение полезного тепловыделение в топочной камере, от которого зависит величина температуры дымовых газов на выходе из топки. Как видно из формулы, она падает по линейной зависимости.
Расчет конвективного пароперегревателя.
Исходные данные для конвективного пароперегревателя.
Программа «OLJA0398».
|
Конструктивные характеристики. |
||||
Наименование величины |
Обозначе-ние |
Разм. |
Источник |
Числ. знач. |
|
1.Внутренний диаметр труб пароперегревателя |
D |
мм |
Задание на КП |
32 |
|
2. Толщина стенки труб |
|
мм |
Задание на КП |
7 |
|
3.Глубина газохода |
b>к.ш> |
М |
Задание на КП |
7.53 |
|
4.Ширина газохода |
a>к.ш> |
М |
Задание на КП |
17.36 |
|
5.Число радов труб у коллектора |
Z>P> |
Задание на КП |
3 |
|
|
6.Высота трубной поверхности |
H> >>п> |
м |
Задание на КП |
1.3 |
|
7.Высота газового объёма перед ступенью |
l>об> |
м |
Задание на КП |
8 |
|
8.Поперечный шаг труб |
S1 |
мм |
Задание на КП |
140 |
|
9.Продольный шаг труб |
S2 |
мм |
Задание на КП |
56.5 |
|
10.Число ходов пара в ступени |
Z>x> |
Задание на КП |
1 |
|
|
Характеристики продуктов сгорания топлива. |
||||
|
1.Теоретический объём сухого воздуха |
V |
м3/м3 |
Табл. П 4.3 |
9.73 |
|
2. Энтальпия теоретического объёма продуктов сгорания при температуре 2200ºС |
H>Г,>>V>>=2200ºC> |
кДж/м3 |
Табл. П 4.3 |
40503 |
|
3. Теоретический объём водяных паров |
V>H3O> |
м3/м3 |
Табл. П 4.3 |
2.19 |
|
4. Объём трёхатомных газов |
V>RO2> |
м3/м3 |
Табл. П 4.3 |
1.04 |
|
5. Теоретический объём азота |
V>N2> |
м3/кг |
Табл. П 4.3 |
7.7 |
|
6.Зольность топлива на рабочую массу |
А>Р> |
б/р |
Табл. П
4.3 |
0 |
|
7.Доля золы уносимая с газами |
а>ун> |
Задание на КП |
0 |
|
|
Режимные параметры. |
||||
|
1.Расход пара через ступень |
D |
кг/с |
Задание на КП |
275 |
|
2.Расчётный расход топлива |
В>Р> |
кг/с |
Задание на КП |
20.85 |
|
3.Среднее давление пара в расчитываемой ступени |
Р |
МПа |
Задание на КП |
25 |
|
4.Температура пара на входе |
t` |
C |
Предыдущий расчет |
466 |
|
5.Температура пара на выходе |
t`` |
C |
Предыдущий расчет |
550 |
|
6.Энтальпия пара на входе |
h` |
кДж/кг |
Предыдущий расчет |
3014 |
|
7.Энтальпия пара на выходе |
h`` |
кДж/кг |
Предыдущий расчет |
3345 |
|
8.Коэффициент избытка воздуха |
|
Задание на КП |
1.055 |
|
|
9.Присосы холодного воздуха |
|
Задание на КП |
0.03 |
|
|
10.Коэффициент сохранения теплоты |
|
|
0.99 |
|
|
11.Энтальпия продуктов сгорания на входе |
H`>рц> |
кДж/кг |
Предыдущий расчет |
19183 |
|
12.Температура продуктов сгорания на входе |
H``>рц> |
кДж/кг |
Предыдущий расчет |
15085 |
|
13.Коэффициент рециркуляции газов |
Z>рц> |
Задание на КП |
0.14 |
|
|
14.Температура продуктов сгорания на входе |
|
C |
Предыдущий расчет |
962 |
|
15. Температура продуктов сгорания на выходе |
|
C |
Предыдущий расчет |
761 |
|
16. Поправка к коэф. Загрязнения |
|
(м2К)/Вт |
Задание на КП |
0 |
Результаты расчёта
|
1. |
Расход рабочей среды |
D |
кг/с |
275 |
|
2. |
Температура р. среды |
T', T" |
°C |
466 , 550 ,(0) |
|
3. |
Энтальпия рабочей среды |
H', H" |
кДж/кг |
3014 , 3315 , (0) |
|
4. |
Приращение энтальпии |
|
кДж/кг |
331 |
|
5. |
Массовая скорость, скорость |
|
кг/м2с м/с |
3400.1 39.236 |
|
6. |
К-ф теплоотдачи |
|
Вт/м2К |
6500 |
|
7. |
Температура продуктов сгорания |
|
°С |
962 , 752.03 , (761) |
|
8. |
Энтальпия продуктов сгорания |
H', H" |
кДж/кг |
19183, 14811.3,(15085) |
|
9. |
Тепловосприятие основной пов-ти |
Q, кДж/кг |
кДж/кг |
4365.71 |
|
10. |
Тепловосприятие дополнит. пов-ти |
Q>доп>, кДж/кг |
кДж/кг |
0 |
|
11. |
Скорость продуктов сгорания |
|
м/с |
11.1461 |
|
12. |
К-ф теплоотдачи конвекцией |
|
Вт/м2К |
105.319 |
|
13. |
К-ф теплоотдачи излуч. с учётом предвкл. газового объёма |
|
Вт/м2К |
40.528 |
|
14. |
К-ф теплопередачи |
K |
Вт/м2К |
123.97 |
|
15. |
Температурный напор |
|
°С |
327.3 |
|
16. |
Поверх. нагрева ступени |
F |
м2 |
2243.34 |
|
17. |
Число петель ступени |
z |
4 |
|
|
18. |
Высота ступени |
H |
м |
1.3338 |
Расчет экономайзера.
Исходные данные для экономайзера.
Программа «OLJA0398».
|
Конструктивные характеристики. |
|||||
Наименование величины |
Обозначе-ние |
Разм. |
Источник |
Числ. знач. |
|
|
1.Внутренний диаметр труб пароперегревателя |
D |
мм |
Задание на КП |
32 |
|
|
2. Толщина стенки труб |
|
мм |
Задание на КП |
6 |
|
|
3.Глубина газохода |
b>к.ш> |
М |
Задание на КП |
7.53 |
|
|
4.Ширина газохода |
a>к.ш> |
М |
Задание на КП |
17.36 |
|
|
5.Число радов труб у коллектора |
Z>P> |
Задание на КП |
2 |
||
|
6.Высота трубной поверхности |
H> >>п> |
м |
Задание на КП |
2 |
|
|
7.Высота газового объёма перед ступенью |
l>об> |
м |
Задание на КП |
1,5 |
|
|
8.Поперечный шаг труб |
S1 |
мм |
Задание на КП |
100 |
|
|
9.Продольный шаг труб |
S2 |
мм |
Задание на КП |
48 |
|
|
10.Число ходов пара в ступени |
Z>x> |
Задание на КП |
1 |
||
|
Характеристики продуктов сгорания топлива. |
|||||
|
1.Теоретический объём сухого воздуха |
V |
м3/м3 |
Табл. П 4.3 |
9.73 |
|
|
2. Энтальпия теоретического объёма продуктов сгорания при температуре 2200ºС |
H>Г,>>V>>=2200ºC> |
кДж/м3 |
Табл. П 4.3 |
40503 |
|
|
3. Теоретический объём водяных паров |
V>H3O> |
м3/м3 |
Табл. П 4.3 |
2.19 |
|
|
4. Объём трёхатомных газов |
V>RO2> |
м3/м3 |
Табл. П 4.3 |
1.04 |
|
|
5. Теоретический объём азота |
V>N2> |
м3/кг |
Табл. П 4.3 |
7.7 |
|
|
6.Зольность топлива на рабочую массу |
А>Р> |
б/р |
Табл. П
4.3 |
0 |
|
|
7.Доля золы уносимая с газами |
а>ун> |
Задание на КП |
0 |
||
|
Режимные параметры. |
|||||
|
1.Расход пара через ступень |
D |
кг/с |
Задание на КП |
260 |
|
|
2.Расчётный расход топлива |
В>Р> |
кг/с |
Задание на КП |
20,85 |
|
|
3.Среднее давление пара в расчитываемой ступени |
Р |
МПа |
Задание на КП |
25 |
|
|
4.Температура пара на входе |
t` |
C |
Предыдущий расчет |
270 |
|
|
5.Температура пара на выходе |
t`` |
C |
Предыдущий расчет |
315 |
|
|
6.Энтальпия пара на входе |
h` |
кДж/кг |
Предыдущий расчет |
1199 |
|
|
7.Энтальпия пара на выходе |
h`` |
кДж/кг |
Предыдущий расчет |
1399 |
|
|
8.Коэффициент избытка воздуха |
|
Задание на КП |
1.11 |
||
|
9.Присосы холодного воздуха |
|
Задание на КП |
0.02 |
||
|
10.Коэффициент сохранения теплоты |
|
|
0.989 |
||
|
11.Энтальпия продуктов сгорания на входе |
H` |
кДж/кг |
Предыдущий расчет |
8670 |
|
|
12.Температура продуктов сгорания на входе |
H`` |
кДж/кг |
Предыдущий расчет |
6181 |
|
|
13.Коэффициент рециркуляции газов |
Z>рц> |
Задание на КП |
0.14 |
||
|
14.Температура продуктов сгорания на входе |
|
C |
Предыдущий расчет |
446 |
|
|
15. Температура продуктов сгорания на выходе |
|
C |
Предыдущий расчет |
320 |
|
|
16. Поправка к коэф. загрязнения |
|
(м2К)/Вт |
Задание на КП |
0 |
Результаты расчёта
|
1. |
Расход рабочей среды |
D |
кг/с |
275 |
|
2. |
Температура р. среды |
T', T" |
°C |
270, 315 (306.6315) |
|
3. |
Энтальпия рабочей среды |
H', H" |
кДж/кг |
1199, 1399 (1387.54) |
|
4. |
Приращение энтальпии |
|
кДж/кг |
188.54 |
|
5. |
Массовая скорость, скорость |
|
кг/м2с м/с |
2958.77 , 3.8660 |
|
6. |
К-ф теплоотдачи |
|
Вт/м2К |
6500 |
|
7. |
Температура продуктов сгорания |
|
°С |
446 , 752.03 (320) |
|
8. |
Энтальпия продуктов сгорания |
H', H" |
кДж/кг |
8670 , 14811.3 (6181) |
|
9. |
Тепловосприятие основной пов-ти |
Q, кДж/кг |
кДж/кг |
2486.7 |
|
10. |
Тепловосприятие дополнит. пов-ти |
Q>доп>, кДж/кг |
кДж/кг |
0 |
|
11. |
Скорость продуктов сгорания |
|
м/с |
7.6595 |
|
12. |
К-ф теплоотдачи конвекцией |
|
Вт/м2К |
85.16 |
|
13. |
К-ф теплоотдачи излуч. с учётом предвкл. газового объёма |
|
Вт/м2К |
7.6193 |
|
14. |
К-ф теплопередачи |
K |
Вт/м2К |
78.861 |
|
15. |
Температурный напор |
|
°С |
287 |
|
16. |
Поверх. нагрева ступени |
F |
м2 |
2290.81 |
|
17. |
Число петель ступени |
z |
4 |
|
|
18. |
Высота ступени |
H |
м |
0.752 |
Расчет воздухоподогревателя.
Основнымтипом
регенеративного воздухоподогревателя
является вращающийся регенеративный
воздухоподогреватель (РВП), у которых
поверхностью теплообмена служит набивка
из тонких гофрированных и плоских
стальных листов, образующих каналы
малого эквивалентного диаметра (d>э>=8
– 9 мм) для проходов продуктов сгорания
и воздуха. Набивка в виде секций заполняет
цилиндрический пустотелый ротор, который
по сечению разделён глухими радиальными
перегородками на изолированные друг
от друга секторы. Ротор воздухоподогревателя
медленно вращается (с частотой 1.5 – 2.2
об/мин), его вал имеет привод от
электродвигателя через шестеренчатую
передачу. Диаметр ротора РВП в зависимости
от типоразмера составляет от 5.4 – 14.8 м,
а высота его – от 1.4 – 2.4 м.
Движение газового и воздушного потоков раздельное и непрерывное, а набивка попеременно проходит через эти потоки. В газовой части РВП металлическая набивка секторов аккумулирует теплоту, а затем отдаёт её воздушному потоку. В итоге организуется непрерывный нагрев воздуха переносом теплоты, аккумулированной в газовом потоке. Взаимное движение потоков противоточное.
Основные требования, предъявляемые к набивкам, - это возможно большая интенсивность теплообмена и минимальное аэродинамическое сопротивление. Применение волнистых (гофрированных) листов обеспечивает интенсификацию конвективного теплообмена и тем самым более быстрый нагрев набивки и затем более глубокое её охлаждение, то есть повышает эффективность теплового использования металла набивки, хотя аэродинамическое сопротивление такой поверхности увеличивается. Поверхность нагрева 1 м3 набивки составляет 300 – 340 м2, в то время как в ТВП этот показатель составляет около 50 м2/м3 объема.
Воздушный и газовый потоки в элементах РВП имеют значительный перепад давления. Этот перепад практически одинаков для газовоздушного тракта с уравновешенной тягой и с наддувом. При невозможности полной герметизации газового и воздушного потоков в условиях вращающегося ротора имеют место перетоки воздуха по радиусу ротора на газовую сторону, а также потери воздуха вовне по периферии воздушной части ротора и присосы окружающего воздуха в газовой поток по периферии ротора в газовой его части (в условиях, когда газовый поток находится под разряжением). Утечки воздуха вовне и присосы его в газовый поток примерно равны, и их можно условно также рассматривать как перетоки.





































