Технико-экономическое обоснование производства
ТОКАРНЫЕ МНОГОЦЕЛЕВЫЕ СТАНКИ
Как показывает технологический анализ, более 70% деталей типа тел вращения кроме токарной обработки требуют проведения дополнительных операций. К ним относятся (рис.1): обработка отверстий (сверление, зенкерование, развертывание, расточка, нарезка резьбы), оси которых расположены параллельно, перпендикулярно или под углом к оси детали; фрезерование под разными углами лысок, пазов (в том числе шпоночных); объемная фрезерная обработка (фрезерование профильных канавок, полостей переменной глубины, профильных кулачков).
Создание многоцелевых токарных станков, обеспечивающих полную комплексную обработку деталей типа тел вращения на одном станке за одну установку, позволяет существенно повысить точность и производительность обработки, сократить производственный цикл, обеспечить повышение общего уровня автоматизации технологических процессов, а также быструю переналадку при переходе на обработку другой детали.

Рис.1. Примеры дополнительной обработки деталей типа тел вращения.
Токарные многоцелевые станки изготавливаются на базе аналогичных токарных станков с ЧПУ, а дополнительные операции обеспечиваются за счет оснащения шпинделя станка приводом его углового позиционирования (привод полярной координаты С) с соответствующим блоком управления и приводом вращения инструмента (сверл, разверток, метчиков и т.п.).
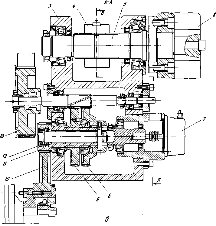
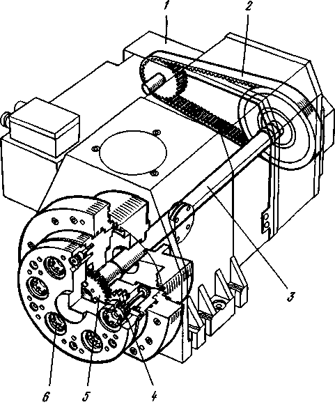
Многооперационный станок токарного типа приведен на рисунке 2. Заготовку крепят в патроне 4, установленном на шпинделе станка. На суппорте 1, совершающем продольное и поперечное перемещения, смонтирован корпус 2, несущий револьверную головку 3 в которой устанавливают инструменты, обеспечивающие обработку, характерную для токарных станков (обтачивание растачивание, сверление, зенкерование, нарезание резьбы). Для обработки длинномерных заготовок в центрах предусмотрена задняя бабка 8. Однако, в отличие от токарных станков, на корпусе 2 установлены дополнительный инструментальный шпиндель 7 и магазин 5 с инструментами, а шпиндельная бабка станка имеет вертикальное перемещение и фиксированный поворот шпинделя на заданный угол.

Рис.2. Многооперационный станок токарного вида.

Рис 3. Схема фиксации шпиндельного узла.

Рис.4. Схема однодвигательного привода шпинделя.
Это позволяет изменять положение заготовки относительно инструментального шпинделя и фрезеровать шпоночные канавки, пазы и уступы на валиках, а также обрабатывать отверстия, оси которых перпендикулярны оси вращения шпинделя станка. Смена инструментов в инструментальном шпинделе осуществляется автооператором 6. Для удаления стружки служат скребковый конвейер 10 и тележка 9.
Привод полярной координаты в зависимости от условий обработки должен обеспечивать либо позиционное управление (механизм деления) с дискретностью 1... 20, либо непрерывное управление с дискретностью примерно 0,001° и вращение с частотой 0,2...0,25 1/мин. Первый режим используется при обработке внецентровых отверстий, продольных или поперечных плоскостей, фрезеровании лысок, шпоночных пазов и т.д. В этом случае шпиндель поворачивается на определенный угол и жестко фиксируется для возможности последующей обработки.
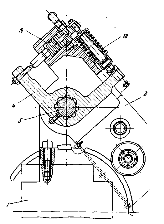
Второй режим используется для контурной обработки поверхностей кулачков, фасонных пазов и других сложных поверхностей. В этом случае привод обеспечивает также и возможность дискретного поворота на заданный угол. На рис.3 представлена принципиальная схема привода, обеспечивающего как режим обычной токарной обработки, так и режимы внецентрового сверления, точения и фрезерования. При втором режиме шпиндель индексируется обычно с дискретностью 1...2,5° (точность ± 0,01°, повторяемость ± 0,005°). Фиксация требуемого положения шпинделя 1 осуществляется с помощью специального, расположенного консольно зубчатого колеса 2 и зубчатого сектора (секторов) 3 (см. рис.3), перемещаемого от гидроцилиндра 4. Угловое положение шпинделя контролируется либо круговым датчиком, встроенным в электродвигатель 5, связанным со шпинделем ременной передачей либо датчиком резьбонарезания станка. Рассмотренный привод обеспечивает режима контурной обработки.
Непрерывный привод полярной координаты принципиально может быть выполнен по однодвигательной или двухдвигательной схемам.
На рис.4 дана принципиальная схема однодвигательного привода шпинделя 1, обеспечивающего кроме главного движения и режим контурной обработки в сочетании с линейными координатами.
Положение шпинделя контролируется роторным датчиком 5 обратной связи (датчиком резьбонарезания). Связь двигателя 3 со шпинделем осуществляется через зубчатую 2 и ременную 4 передачи. Электромагнитный тормоз 6 работает в двух режимах: подтормаживания - для выборки в одну сторону зазоров в кинематических элементах привода при контурной обработке и в режиме фиксации в заданном положении - при позиционировании шпинделя.
Двухдвигательные приводы шпинделя применяются обычно в станках среднего и крупного размеров. В этом случае более мощный двигатель используется для традиционных токарных операций, а меньший - для углового привода шпинделя в следящем режиме (контурное фрезерование, позиционирование). Привод обеспечивает высокую надежность и точность, но более сложен. Включение-отключение привода полярной координаты может осуществляться либо посредством электромагнитных или зубчатых муфт, работающих по командам ЧПУ, либо сцеплением - расцеплением кинематических пар, обеспечивающих связь дополнительного двигателя со шпинделем станка.
Рис.5.
Двухдвигательный привод шпинделя со скользящей шестерней.

Рис.6. Конструкция привода полярной координаты с поворотным редуктором.
Нa рис.5 представлен двухдвигательный привод вращения шпинделя 7. Привод полярной координаты осуществляется от регулируемого двигателя 2 с датчиком 1 углового положения ротора через зубчатые колеса 3-4 и 5-6. Вращение шпинделя со скоростями главного движения обеспечивается регулируемым двигателем 8 через ременную передачу 9. Шпиндель оснащен тормозным устройством 10 и датчиком углового положения 11. Включение-отключение привода полярной координаты производится с помощью колеса 5, перемещаемого по команде ЧПУ в осевом направлении. Наличие датчиков 1 и 11 позволяет контролировать угловое положение колес 5 и 6, что исключает возможность "утыкания" их зубьев при включении привода полярной координаты. Фиксация шпинделя в режиме позиционирования обеспечивается с помощью тормоза 10; он же, работая в режиме "подтормаживания" осуществляет выборку зазоров в цепи привода координаты С.
Конструктивное оформление привода с поворотом редуктора полярной координаты приведено на Рис.6. Корпус редуктора 3 поворачивается с помощью гидроцилиндра 14 относительно рычага 4, жестко связанного с осью 5, зафиксированной на кронштейне 6, закрепленном на корпусе шпиндельной бабки 1. При этом колесо 11 зацепляется с колесом 10, расположенным на шпинделе. Для возможности их зацепления контролируются угловое положение шпинделя с помощью датчика резбонарезания и угловое положение вала редуктора датчиком 7. При отключении гидропривода пружина 15 обеспечивает гарантированное отключение привода полярной координаты, расцепляя колеса 10 и 11. Включенное и отключенное положения контролируются конечными выключателями. Медленное следящее вращение шпинделя осуществляется от регулируемого двигателя постоянного тока, закрепленного на плите 2 (Рис.6, а), связанной с корпусом редуктора 3. Двигатель соединяется зубчато-ременной передачей (i = 1/2) с редуктором, на входном валу которого с помощью беззазорного соединения зафиксирован шкив 13 (Рис.6, б).

Рис.6. (Продолжение)
В Рис.1.35 (окончание)
Б-Б

В Рис.6. (окончание)

Рис 7. Шпиндельная головка для инструмента: параллельного оси шпинделя (а); перпендикулярного оси шпинделя (б)
Далее вращение передается через косозубую передачу, выбор зазора в которой происходит относительным осевым смещением колес 8 и 9 с помощью тарельчатых пружин 12. Радиальное усилие сопряжения шестерен 10 - 11 обеспечивается давлением масла в гидроцилиндре 14.
Привод вращающегося инструмента. Для 95% деталей, обрабатываемых на многоцелевых станках, достаточно 5-6 вращающихся инструментов в одной наладке. Для их установки в инструментальном диске используются специальные шпиндельные головки обычно с цанговым зажимом (рис.7). В зависимости от расположения оси инструмента используется простая (рис.7, а) или угловая (рис.7, б) головка. Вращение на инструмент передается с помощью торцовых кулачковых муфт 1 через соответствующие зубчатые передачи. Центрирование и фиксация головок осуществляется с помощью цилиндрического хвостовика 2, на котором выполняется плоская лыска с рифлениями 3. В качестве привода вращения инструмента используются, как правило, индивидуальные регулируемые двигатели.
Различают два основных способа передачи вращения на инструмент: привод со всеми вращающимися инструментами и привод с вращением только инструмента, находящегося в рабочей позиции. В первом случае (рис.8) вращение от индивидуального двигателя 1 через ременную передачу 2 передается на центральный вал 3, а затем от центральной шестерни 5 - на сателлитные колеса 4, связанные с кулачковыми муфтами 6. При фиксации инструментального диска при его осевом смещении с этими муфтами зацепляются соответствующие муфты шпиндельных головок. Револьверные головки, работающие по такому принципу, имеют ограничения по количеству вращающихся инструментов. Кроме того, на неработающие вращающиеся инструменты может наматываться стружка, что представляет опасность для обслуживающего персонала.
Р
ис
8. Револьверная головка с вращением всех
инструментов.
При вращении только одного рабочего инструмента для его включения используются либо управляемые муфты, установленные в соответствующей позиции, либо включение обеспечивается конструкцией инструментального диска. На рис.9 приведена конструкция револьверной головки многоцелевого токарного станка с приводом вращающегося инструмента, выполненного по последней схеме. Головка отличается отсутствием осевого смещения инструментального диска при его расфиксации, что исключает возможность засасывания в головку стружки и СОЖ.
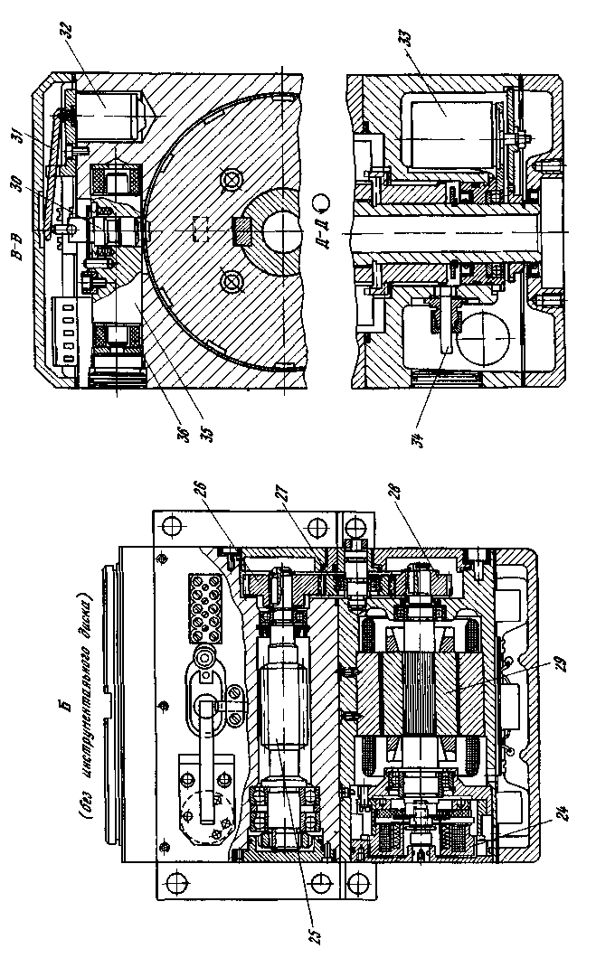
Двенадцатипозиционная головка имеет возможность вращения в обе стороны, при этом время позиционирования составляет от 1 секунды (поворот на 30°, то есть переход в соседнюю позицию) до 3 секунд (поворот на 180°). По точностным характеристикам головка удовлетворяет общим требованиям: стабильность (повторяемость) позиционирования ±2"; точность позиционирования (деления) ±6".
При отключенном тормозе 24 вращение от двигателя 29 через зубчатые колеса 28, 27 и 26 передается на червяк 25, а от него - на червячное колесо 16. Через шпонку 9 вращается втулка 8 с шаровыми опорами 13, которые смещаются в угловом направлении относительно шаровых опор 12, связанных с фиксирующей муфтой 4. Расстояние между торцами опор при неподвижной муфте 4 уменьшается, разжимаются тарельчатые пружины 15 до упора торца втулки 17 в выступ шпинделя 10 головки. Одновременно под действием пружин 2, установленных в диске 3, муфта 4 выходит из зацепления с торцовыми полумуфтами 19 и 20. Происходит расфиксация револьверной головки без осевого смещения инструментального диска; при этом контроль расфиксации осуществляется бесконтактным датчиком 34 за счет осевого смещения втулки 11 при взаимодействии торцовой поверхности шпонки 9 и торцового кулачка на детали 11. При дальнейшем вращении двигателя шпонка 9 с помощью паза 6 вращает муфту 4 и через нее шпиндель 10 с инструментальным диском.
Достижение требуемой позиции контролируется датчиком угловых перемещений 33. Предварительная фиксация для ориентации зубьев на деталях 4,19 и 20 осуществляется с помощью фиксатора 30, который перемещается через рычаг 31 с помощью электромагнита 32. При отключенном электромагните фиксатор с помощью двух пружин выходит из фиксирующего паза в муфте 4. Предварительный фиксатор 30 расположен в штоке 35, который установлен в двух упругих элементах 36, демпфирующих ударные нагрузки, возникающие при остановке инструментального диска; его положение контролируется датчиком 7.
При достижении заданной позиции (по сигналам датчика 33) двигатель реверсируется и при зафиксированной (невращающейся) муфте 4 шаровые опоры 12 и 13 смещаются друг относительно друга. Расстояние между центрами шаровых опор увеличивается, происходит осевое смещение муфты 4, ее зубья входят в зацепление с торцовыми зубьями полумуфт 19 и 20, затем сжимаются тарельчатые пружины. Контроль фиксации осуществляется при смещении втулки 11 относительно датчика 34. Срабатывает тормоз 24, отключаются двигатель 29 и электромагнит 32.
Вращение инструмента в рабочей позиции осуществляется центральным приводом от двигателя 14. При этом в соответствующей позиции головки рычаг 22 поворачивается толкателем 21, контактирующим с подпружиненным упором 18. Включается кулачковая муфта 1 и через муфту 23 вращение передается на инструмент. Для управления циклом позиционирования (рис.10) из головки поступают сигналы вырабатываемые: преобразователем угловых перемещений 6; датчиком контроля предварительной фиксации 4 (индексации); датчиком контроля фиксации (по часовой стрелке) 5; датчиком контроля фиксации (против часовой стрелки) 7; электродвигателем 1; тормозом 2; электромагнитом фиксатора 3.
На циклограмме представлены два перехода: в левой части - из позиции 1 в позицию 2; в правой - из 2 позиции в 12. Последовательность прохождения управляющих сигналов следующая: тормоз 2 растормаживается, при этом на обмотку тормоза подается напряжение, по истечении времени Т1, необходимого для растормаживания; двигатель 1 начинает вращаться в направлении, которое имеет наименьший угол поворота для достижения рабочего положения от текущего. Завершается выключение датчика контроля фиксации 5; в случае индексации головки из 1 позиции в последующую 2 позицию происходит ожидание падения стробирующего сигнала 1-й позиции до "0"-го уровня, и преобразователь угловых перемещений 6 дает сигнал на включение электромагнита 3. В случае индексации головки из 2-й в 12-ю позицию происходит ожидание считывания преобразователем угловых перемещений 1-й позиции, а так как следующая за ней 12 позиция является индексируемой, идет ожидание падения стробирующего сигнала 1-й позиции до "0"-го уровня и только после этого срабатывает электромагнит 3. Таким образом, включение электромагнита 3 происходит до достижения выбранной позиции при падении стробирующего сигнала предшествующей позиции до "0"-го уровня.
Р
ис.9.
Револьверная головка многоцелевого
станка

Максимально допустимый промежуток времени между считыванием стробирующего сигнала и фактическим включением электромагнита 3 должен быть не более значения R1, указанного в таблице. Вращение головки происходит до тех пор, пока предварительный фиксатор, приводимый в действие электромагнитом, попадет в фиксирующий паз муфты. Этот момент регистрируется пропаданием сигнала от датчика контроля индексации 4, который останавливает двигатель 1. По истечении времени Т2 двигатель должен начать вращаться в противоположном направлении. Наличие кодового сигнала выбранной позиции, поступающего от преобразователя угловых перемещений 6, и сигнала от датчика роля индексации 4 свидетельствует о правильной предварительной фиксации головки. Отсутствие одного из сигналов означает ошибку позиционирования. При поступлении сигнала от датчика 5 происходит фиксация револьверной головки. Это сигнал используется одновременно для остановки двигателя 1 и для срабатывания тормоза 2, при этом снимается напряжение с обмотки тормоза.
Максимальное время рассогласования от момента поступления сигнала с датчика 5 до момента фактического останова двигателя может быть не более значения R2, приведенного в таблице. После завершения останова двигателя может даваться сигнал на пуск станка. По истечении времени Т3, после поступления сигнала от датчика 5 электромагнит 3 отключается, при этом предварительный фиксатор выходит из фиксирующего паза, что контролируется появлением сигнала от датчика 4. На этом цикл индексации завершается, и головка готова к следующему циклу.
Н
аличие
в головке нескольких вращающихся осевых
и радиальных инструментов с большим
вылетом ограничивает технологические
возможности станка, затрудняет
программирование, которое должно
исключить возможность столкновения
инструмента с патроном или обрабатываемой
заготовкой. Необходимость размещения
инструментальных оправок с фиксирующими
и приводными элементами, приводов
вращения инструментов приводит к
значительному увеличению габаритов
револьверных головок и усложняет их
конструкцию.
Применение одноинструментальных шпиндельных головок с независимым приводом со сменой инструментов из магазина манипуляторами по типу сверлильно-фрезерных многоцелевых станков обеспечивает существенное расширение технологических возможностей станка, большую жесткость и точность установки инструментов. Однако повышается стоимость станка, усложняется его управление.

Рис.10. Циклограмма работы револьверной головки.

Рис.11. Схема направления движения инструмента и заготовки