Технологические печи
Федеральное агентство по образованию
Государственное образовательное учреждение высшего профессионального образования
Уфимский государственный нефтяной технический университет»
Кафедра технологии нефти и газа
РЕФЕРАТ
на тему:
ТЕХНОЛОГИЧЕСКИЕ ПЕЧИ
Выполнили ст. гр. ТП-07-02 Адыев А.Н.
Ахмадиева А.Р.
Ахметьянова Г.Р.
Луговая А.Ю.
Равилова И.И.
Ситник Д.С.
Шапошников П.В.
Шеина К.О.
Проверил Р.Р. Фасхутдинов
Уфа 2010
Содержание:
1. Назначение, принцип действия и классификация трубчатых печей
1.1 Теплообмен в трубчатой печи
1.2 Классификация трубчатых печей
1.2.1 Технологические признаки
1.2.2 Теплотехнические признаки
1.2.3 Конструктивные признаки
2. Основные показатели работы печей
3. Конструкции и эскизы трубчатых печей
Список используемой литературы
1. НАЗНАЧЕНИЕ, ПРИНЦИП ДЕЙСТВИЯ И КЛАССИФИКАЦИЯ ТРУБЧАТЫХ ПЕЧЕЙ
Трубчатая печь является аппаратом, предназначенным для передачи нагреваемому продукту тепла, выделяющегося при сжигании топлива в топочной камере печи. Трубчатые печи широко распространены в нефтегазоперерабатывающей, нефтехимической, коксохимической и других отраслях промышленности, являются составной частью многих установок и применяются в различных технологических процессах (перегонка нефти, мазута, пиролиз, каталитический крекинг, риформинг, гидроочистка, очистка масел и др.).
Существуют различные конструкции трубчатых печей, отличающихся способом передачи тепла, количеством и формой топочных камер, числом секций (камер) в зоне радиации, относительным расположением осей факела и труб, способом сжигания топлива, типом облучения труб, числом потоков нагреваемого продукта, расположением конвекционной камеры относительно радиантной, длиной радиантных и конвекционных труб.
Основными характеристиками трубчатых печей являются производительность печи, полезная тепловая нагрузка, теплонапряженность поверхности нагрева и коэффициент полезного действия печи.
В промышленности применяют трубчатые печи с поверхностью нагрева радиантных труб 15-2000 м2. Теплопроизводительность трубчатых печей различных конструкций изменяется от 0,12 до 240 МВт, а производительность по нагреваемой среде достигает 8-105 кг/ч. Температура нагреваемой среды на входе и выходе из печи в зависимости от технологического процесса изменяется в диапазоне от 70 до 900 °С, а давление — от 0,1 до 30 МПа. Для трубчатых печей КПД колеблется в пределах от 0,65 до 0,85.
Теплообмен в трубчатой печи
Трубчатая печь имеет камеры радиации и конвекции. В камере радиации (топочной камере), где сжигается топливо, размещена радиантная поверхность (экран), поглощающая лучистое тепло в основном за счет радиации.
В камере конвекции расположены конвекционные трубы, воспринимающие тепло главным образом при соприкосновении дымовых газов с поверхностью нагрева путем конвекции. Нагреваемый продукт в печи последовательно проходит через конвекционные и радиантные трубы, поглощая тепло. Обычно радиантная поверхность воспринимает большую часть тепла, выделяемого в печи при сгорании топлива. Лучистое тепло эффективно передается при охлаждении дымовых газов до 1000-1200 К. Снижение температуры дымовых газов до более низких значений часто бывает неоправданным, так как при этом радиантная поверхность работает с пониженной теплонапряженностью поверхности нагрева и требуется значительно увеличить поверхность радиантных труб. Эффективность теплопередачи конвекцией в меньшей степени зависит от температуры дымовых газов. Конвекционная поверхность использует тепло дымовых газов и может обеспечить их охлаждение до температуры, при которой значение коэффициента полезного действия аппарата будет экономически оправданным.
Если наличие конвекционной поверхности для нагрева сырья не является обязательным или размеры этой поверхности могут быть существенно уменьшены, то тепло дымовых газов может быть использовано для иных целей, например для подогрева воздуха или производства водяного пара. При небольшой производительности иногда применяют печи без конвекционной поверхности, более простые в конструктивном отношении, но обладающие невысоким коэффициентом полезного действия.
Рассмотрим механизм процесса передачи тепла в печи, состоящей из двух камер с настильным пламенем. Характерной особенностью этой печи является наклонное расположение в низу печи форсунок (горелок), обеспечивающих соприкосновение факела с поверхностью стены, размещенной в середине камеры радиации (рисунок 1.1).
В топочную камеру этой печи при помощи форсунки вводится распыленное топливо, а также необходимый для горения нагретый или холодный воздух. Высокая степень дисперсности топлива обеспечивает его интенсивное перемешивание с воздухом и более эффективное горение. Соприкосновение факела с поверхностью настильной стены обусловливает повышение ее температуры; излучение происходит не только от факела, но и от раскаленной стены. Тепло, выделенное при сгорании топлива, расходуется на повышение температуры дымовых газов и частиц горящего топлива; последние раскаляются и образуют светящийся факел. Температура, размер и конфигурация факела зависят от многих факторов и, в частности, от температуры и количества воздуха, подаваемого для горения топлива, способа подвода воздуха, конструкции и нагрузки форсунки, теплотворной способности топлива, расхода форсуночного пара, размера радиантной поверхности (степени экранирования топки) и др.
При повышении температуры воздуха увеличивается температура факела, повышается скорость горения и сокращаются размеры факела.
Размеры факела уменьшаются и при увеличении (до известного предела) количества воздуха, поступающего в топку, так как избыток воздуха ускоряет процесс горения топлива. При недостаточном количестве воздуха факел получается растянутым, топливо полностью не сгорает, что приводит к потере тепла. Чрезмерное количество воздуха недопустимо вследствие повышенных потерь тепла с отходящими дымовыми газами и более интенсивного окисления (окалинообразования) поверхности нагрева.
Воздух, необходимый для горения топлива, подводят к устью форсунки, т.е. к началу факела. В некоторых форсунках топливо распыляется воздухом, который в этом случае вводится в топку совместно с топливом.

Рисунок 1.1 – Схема работы трубчатой печи с объемно-настильным сжиганием топлива
1 – форсунка; 2 – настильная стенка; 3 – камера радиации (топочная камера); 4 – камера конвекции; 5 – дымовая труба; 6 – змеевик конвекционных труб; 7 – змеевик радиантных труб; 8 – футеровка.
Потоки: I – вход сырья; II – выход сырья; III – топливо и воздух; IV – дымовые газы
В ряде конструкций во внутренней полости стен печей размещается канал для подачи так называемого вторичного воздуха, позволяющий подводить необходимый для горения воздух по длине факела, что повышает температуру излучающей стенки и способствует более равномерной передаче тепла радиацией.
В такой печи теплоизлучением передается от факела, излучающей стенки и трехатомных газов (двуокись углерода, водяной пар, диоксид серы), обладающих избирательной способностью поглощать и излучать лучи определенной длины волны. Часть лучей через пространство между трубами попадает на поверхность кладки, вдоль которой расположены эти трубы; эти лучи разогревают кладку, и она, в свою очередь, излучает; при этом часть энергии поглощается той частью поверхности труб, которая обращена к стенке кладки. Настильная стена, а также прочие стены кладки, у которых расположены трубы (экранированная часть кладки) или свободные от труб (незаэкранированные), принято называть вторичными излучателями.
Радиантные трубы получают тепло не только излучением, но также и от соприкосновения дымовых газов с поверхностью труб, имеющих более низкую температуру (теплопередача свободной конвекцией). Из всего количества тепла, воспринятого радиантными трубами, значительная часть (85-90 %) передается излучением, остальное конвекцией. Наружная поверхность труб в свою очередь излучает некоторое количество тепла, т.е. имеет место процесс взаимоизлучения, однако температура поверхности труб вследствие непрерывного отвода тепла сырьем, проходящим через радиантные трубы, значительно ниже температуры других источников излучения и поэтому в итоге взаимоизлучения через поверхность радиантных труб сырью передается небольшое количество тепла. В результате теплопередачи, осуществляемой в топочной камере, дымовые газы охлаждаются и поступают в камеру конвекции, где происходит их прямое соприкосновение с более холодной поверхностью конвекционных труб (вынужденная конвекция).
В камере конвекции передача тепла осуществляется также за счет радиации трехатомных дымовых газов и от излучения стенок кладки. Наибольшее количество тепла в камере конвекции передается путем конвекции; оно достигает 60-70 % общего количества тепла, воспринимаемого этими трубами. Передача тепла излучением от газов составляет 20-30 %; излучением стенок кладки конвекционной камеры передается в среднем около 10 % тепла.
Основным фактором, предопределяющим эффективность передачи тепла конвекцией, является скорость движения дымовых газов, поэтому при конструировании трубчатых печей стремятся обеспечить ее наибольшее значение. Это достигается размещением минимального числа труб в одном горизонтальном ряду и выбором минимального расстояния между осями труб. Однако при повышении скорости дымовых газов в камере конвекции увеличивается сопротивление потоку газов, что и ограничивает выбор величины скорости. С другой стороны, сокращение числа труб в одном горизонтальном ряду приводит к увеличению высоты камеры конвекции. Это обстоятельство также предопределяет выбор допустимой скорости движения дымовых газов в камере конвекции.
Существенным фактором, влияющим на эффективность передачи тепла, является способ размещения труб в камере конвекции. При расположении труб в шахматном порядке в связи с более интенсивной турбулентностью потока дымовых газов и лучшей обтекаемостью ими труб тепло передается эффективнее, чем при расположении коридорным способом (рисунок 1.2). При одинаковой скорости движения дымовых газов шахматное расположение труб обеспечивает по сравнению с коридорным более эффективную (на 20-30 %) передачу тепла.
Уменьшение диаметра труб также способствует более интенсивной передаче тепла, как за счет лучшей обтекаемости труб, так и в связи с возможностью более компактного их расположения, позволяющего создать более высокие скорости дымовых газов.
Однако необходимо иметь в виду, что при уменьшении диаметра печных труб увеличивается скорость сырья и, следовательно, повышается сопротивление перемещению нагреваемого потока. Для снижения сопротивления при применении печных труб меньшего диаметра движение нагреваемого продукта, как правило, осуществляется двумя или несколькими параллельными потоками.
Эффективность передачи тепла в камере конвекции может быть повышена путем оребрения наружной поверхности конвекционных труб, так как при этом увеличивается поверхность соприкосновения дымовых газов с трубами и обеспечивается передача большого количества тепла.
Передача тепла конвекцией зависит также от температурного напора, т.е. от разности температур между дымовыми газами и нагреваемым сырьем. Обычно величина температурного напора убывает в направлении движения дымовых газов. Так, при повышении температуры сырья на один градус дымовые газы охлаждаются на 5-7 °С. Наибольший температурный напор в камере конвекции наблюдается при входе дымовых газов в камеру, а наименьший при их выходе. Количество тепла, поглощаемого конвективными трубами, убывает также в направлении движения дымовых газов.

Рисунок 1.2 – Схема движения дымовых газов
а – коридорное расположение труб; б – шахматное расположение труб
Доля тепла, передаваемого излучением в камере конвекции, значительно меньше, чем в камере радиации, как вследствие более низкой температуры дымовых газов, так и из-за меньшей толщины излучаемого газового потока. Эффективная толщина газового слоя в камере конвекции предопределяется расстоянием между смежными рядами труб. Снижение температуры дымовых газов в направлении их движения, естественно, вызывает также и уменьшение передачи тепла излучением от них.
Конвекционные трубы, расположенные в первых рядах по ходу дымовых газов, получают больше тепла, как за счет конвекции, так и за счет излучения и поэтому в отдельных случаях их теплонапряженность может быть выше теплонапряженности радиантных труб.
Классификация трубчатых печей
Классификация печей – это упорядоченное разделение их в логической последовательности и соподчинении на основе признаков содержания на классы, виды, типы и фиксирование закономерных связей между ними с целью определения точного места в классификационной системе, которое указывает на их свойства. Она служит средством кодирования, хранения и поиска информации, содержащейся в ней, дает возможность распространения обобщенного опыта, полученного теорией и промышленной практикой эксплуатации печей, в виде готовых блоков, комплексных типовых решений и рекомендаций для разработки оптимальных конструкций печей и условий осуществления в них термотехнологических и теплотехнических процессов.
Главными и естественными по степени существенности основаниями для классификации печей в логической последовательности являются следующие признаки:
– технологические;
– теплотехнические;
– конструктивные.
1.2.1 Технологические признаки
По технологическому назначению различают печи нагревательные и реакционно-нагревательные.
В первом случае целью является нагрев сырья до заданной температуры. Это большая группа печей, применяемых в качестве нагревателей сырья, характеризуется высокой производительностью и умеренными температурами нагрева (300-500°С) углеводородных сред (установки АТ, АВТ, ГФУ).
Во втором случае кроме нагрева в определенных участках трубного змеевика обеспечиваются условия для протекания направленной реакции. Эта группа печей многих нефтехимических производств одновременно с нагревом и перегревом сырья используется в качестве реакторов. Их рабочие условия отличаются параметрами высокотемпературного процесса деструкции углеводородного сырья и невысокой массовой скоростью (установки пиролиза, конверсии углеводородных газов и др.).
1.2.2 Теплотехнические признаки
По способу передачи тепла нагреваемому продукту печи подразделяются:
– на конвективные;
– радиационные;
– радиационно-конвективные.
Конвективные печи – это один из старейших типов печей. Они являются как бы переходными от нефтеперегонных установок к печам радиационно-конвективного типа. Практически в настоящее время эти печи не применяются, так как по сравнению с печами радиационными или радиационно-конвективными они требуют больше затрат как на их строительство, так и во время эксплуатации. Исключение составляют только специальные случаи, когда необходимо нагревать чувствительные к температуре вещества сравнительно холодными дымовыми газами.
Печь состоит из двух основных частей – камеры сгорания и трубчатого пространства, которые отделены друг от друга стеной, так что трубы не подвергаются прямому воздействию пламени, и большая часть тепла передается нагреваемому веществу путем конвекции. Чтобы предотвратить прожог первых рядов труб, куда поступают сильно нагретые дымовые газы из камеры сгорания, и чтобы коэффициент теплоотдачи удерживался в пределах, приемлемых по технико-экономическим соображениям, при сжигании используется значительный избыток воздуха или 1,5-4-кратная рециркуляция остывших дымовых газов, отводимых из трубчатого пространства и нагнетаемых воздуходувкой снова в камеру сгорания. Одна из конструкций конвективной печи показана на рисунке 1.3.
Дымовые газы проходят через трубчатое пространство сверху вниз. По мере падения температуры газов соответственно равномерно уменьшается поперечное сечение трубчатого пространства, при этом сохраняется постоянная объемная скорость продуктов сгорания.

Рисунок 1.3 – Конвективная печь
1 – горелки; 2 – камера сгорания; 3 – канал для отвода дымовых газов; 4 – камера конвекции
В радиационной печи все трубы, через которые проходит нагреваемое вещество, помещены на стенах камеры сгорания. Поэтому у радиационных печей камера сгорания значительно больше, чем у конвективных. Все трубы подвергаются прямому воздействию газообразной среды, которая имеет высокую температуру. Этим достигается:
а) уменьшение общей площади теплоотдачи печи, так как количество тепла, отданного единице площади труб, путем радиации при одинаковой температуре среды (особенно при высоких температурах этой среды), значительно больше, чем количество тепла, которое можно передать путем конвекции;
б) хорошая сохранность футеровки за трубчатыми змеевиками, благодаря тому, что снижается ее температура, во-первых, за счет прямого закрытия части ее трубами, во-вторых, за счет отдачи тепла излучением футеровкой более холодным трубам.
Обычно нецелесообразно закрывать все стены и свод трубами, так как этим ограничивается теплоизлучение открытых поверхностей, а в результате уменьшается общее количество тепла, отдаваемого единицей площади труб.
Например, у современных типов кубовых печей отношение эффективной открытой поверхности к общей внутренней поверхности печи колеблется в пределах 0,2-0,5.
Чисто радиационные печи из-за простоты конструкции и большой тепловой нагрузки труб имеют самые низкие капитальные затраты на единицу переданного тепла. Однако они не дают возможности использовать тепло продуктов сгорания, как это имеет место у радиационно-конвективньгх печей. Поэтому радиационные печи работают с меньшей тепловой эффективностью.
Радиационные печи применяются при нагреве веществ до низких температур (приблизительно до 300 °С), при небольшом их количестве, при необходимости использования малоценных дешевых топлив и в тех случаях, когда особое значение придается низким затратам на сооружение печи.
Радиационно-конвективная печь имеет две отделенные друг от друга секции: радиационную и конвективную. Большая часть используемого тепла передается в радиационной секции (обычно 60-80 % всего использованного тепла), остальное – в конвективной секции.
Конвективная секция служит для использования физического тепла продуктов сгорания, выходящих из радиационной секции обычно с температурой 700-900°С, при экономически приемлемой температуре нагрева 350-500°С (соответственно температуре перегонки).
Величина конвективной секции, как правило, подбирается с таким расчетом, чтобы температура продуктов сгорания, выходящих в боров, была почти на 150°С выше, чем температура нагреваемых веществ при входе в печь. Поэтому тепловая нагрузка труб в конвективной секции меньше, чем в радиационной, что обусловлено низким коэффициентом теплоотдачи со стороны дымовых газов.
С внешней стороны иногда эти трубы снабжаются добавочной поверхностью – поперечными или продольными ребрами, шипами и т. п.
Почти все печи, эксплуатируемые в настоящее время на нефтеперерабатывающих заводах, являются радиационно-конвекционными. В печах такого типа трубные змеевики размещены и в конвекционной и в радиантной камерах.
1.2.3 Конструктивные признаки
По конструктивному оформлению трубчатые печи классифицируются:
по форме каркаса:
а. Коробчатые ширококамерные (рисунок 1.4а), узкокамерные
(рисунок 1.4б);
б. Цилиндрические (рисунок 1.4в);
в. Кольцевые;
г. Секционные;
по числу камер радиации:
а. Однокамерные;
б. Двухкамерные;
в. Многокамерные;

Рисунок 1.4 – Форма каркаса печи
а – коробчатой ширококамерной печи; б – коробчатой узкокамерной печи; в – цилиндрической печи
по числу камер радиации:
а. Однокамерные;
б. Двухкамерные;
в. Многокамерные;
по расположению трубного змеевика:
а. Горизонтальное (рисунок 1.5а);
б. Вертикальное (рисунок 1.5б);

Рисунок 1.5 – Расположение трубного змеевика
а – горизонтальное; б – вертикальное
по расположению горелок:
а. Боковое;
б. Подовое;
по топливной системе:
а. На жидком топливе (Ж);
б. На газообразном топливе (Г);
в. На жидком и газообразном топливе (Ж+Г);
по способу сжигания топлива:
а. Факельное;
б. Беспламенное сжигание;
по расположению дымовой трубы:
а. Вне трубчатой печи (рисунок 1.6а);
б. Над камерой конвекции (рисунок 1.6б);
по направлению движения дымовых газов:
а. С восходящим потоком газов;
б. С нисходящим потоком газов;
в. С горизонтальным потоком газов

Рисунок 1.6 – Расположение дымовой трубы
а – вне трубчатой печи; б – над камерой конвекции
2. ОСНОВНЫЕ ПОКАЗАТЕЛИ РАБОТЫ ПЕЧЕЙ
Каждая трубчатая печь характеризуется тремя основными показателями:
– производительностью;
– полезной тепловой нагрузкой;
– коэффициентом полезного действия.
Производительность печи выражается количеством сырья, нагреваемого в трубных змеевиках в единицу времени (обычно в т/сутки). Она определяет пропускную способность печи, т. е. количество нагреваемого сырья, которое прокачивается через змеевики при установленных параметрах работы (температуре сырья на входе в печь и на выходе из нее, свойствах сырья и т. д.). Таким образом, для каждой печи производительность является наиболее полной ее характеристикой.
Полезная тепловая нагрузка — это количество тепла, переданного в печи сырью (МВт, Гкал/ч). Она зависит от тепловой мощности и размеров печи. Тепловая нагрузка большинства эксплуатируемых печей 8-16 МВт. Перспективными являются более мощные печи с тепловой нагрузкой 40-100 МВт и более. Коэффициент полезного действия печи характеризует экономичность ее эксплуатации и выражается отношением количества полезно используемого тепла Q>пол> к общему количеству тепла Q>общ>, которое выделяется при полном сгорании топлива. Полезно использованным считается тепло, воспринятое всеми нагреваемыми продуктами (потоками): сырьем, перегреваемым в печи паром и в некоторых случаях воздухом, нагреваемым в рекуператорах (воздухоподогревателях).
Значение коэффициента полезного действия зависит от полноты сгорания топлива, а также от потерь тепла через обмуровку печи и с уходящими в дымовую трубу газами. Трубчатые печи, эксплуатируемые в настоящее время на нефтеперерабатывающих заводах, имеют КПД в пределах 0,65-0,87. Повышение коэффициента полезного действия печи за счет более полного использования тепла дымовых газов возможно до значения, определяемого их минимальной температурой. Как правило, температура дымовых газов, покидающих конвекционную камеру, должна быть выше начальной температуры нагреваемого сырья не менее чем на 120-180°С.
Эксплуатационные свойства каждой печи наряду с перечисленными показателями характеризуются:
– теплонапряженностью поверхности нагрева;
– тепловым напряжением топочного объема;
– гидравлическим режимом в трубном змеевике при установившейся работе.
От комплекса этих показателей зависят эффективность работы трубчатых печей и срок их службы.
3. КОНСТРУКЦИИ И ЭСКИЗЫ ТРУБЧАТЫХ ПЕЧЕЙ
В промышленности применяется большое число различных конструкций и типоразмеров трубчатых печей. При выборе печи в основном следует учитывать вид топлива (газовое или комбинированное); требование технологического процесса к расположению труб камеры радиации (горизонтальное или вертикальное); необходимость дифференциального подвода тепла к трубам камеры радиации; количество регулируемых потоков; время пребывания продукта в печи или камере радиации.
Рассмотрим только печи основных типов, имеющих широкое распространение.
На действующих установках нефтегазопереработки широко распространены шатровые печи и печи беспламенного горения, которые в настоящее время отнесены к печам устаревшей конструкции.
Шатровые печи (рисунок 3.1), имеющие две камеры радиации с наклонным сводом и одну камеру конвекции, расположенную в центре печи, применяются на установках АВТ производительностью 1,5-3,0 млн. т/год.
Нагреваемое сырье поступает в конвекционную камеру и двумя потоками проходит через трубы. В печи имеются муфели, в которых размещаются форсунки. Горение топлива практически завершается в муфельном канале, и в топку поступают раскаленные продукты сгорания. Двухскатные печи шатрового типа имеют серьезные недостатки: они громоздки, металлоемки, КПД их не превышает 0,74, теплонапряженность камер низкая, дымовые газы покидают конвекционную камеру при сравнительно высокой температуре (450-500°С).
В 60-е годы на АВТ и других технологических установках начали широко применяться печи беспламенного горения с излучающими стенками (рисунок 3.2). Беспламенные панельные горелки 1 расположены пятью рядами в каждой фронтальной стене камеры радиации. Каждый горизонтальный ряд имеет индивидуальный газовый коллектор, что создает возможность независимого регулирования теплопроизводительности горелок одного ряда и теплопередачи к соответствующему участку радиантного экрана 2. Существует пять типов печей с излучающими стенками, тепловая мощность которых изменяется от 8,9 до 26,7 МВт.

Рисунок 3.1 – Схема двухкамерной печи с наклонным сводом
1 – конвекционная камера; 2 – подовый экран радиантной камеры; 3 – потолочный экран радиантной камеры; 4 – муфели; 5 – форсунки

Рисунок 3.2 – Трубчатая печь беспламенного горения с излучающими стенками
1 – беспламенные панельные горелки; 2 – змеевик радиантных труб; 3 – змеевик конвекционных труб; 4 – футеровка; 5 – каркас; 6 – выхлопное окно; 7 – смотровое окно; 8 – люк-лаз; 9 – резервные горелки
Конструктивно печи отличаются между собой в основном длиной труб, которая в зависимости от тепловой мощности изменяется от 6 до 18 м. Дымовые трубы печей расположены в верхней части, дымовые газы направляются снизу вверх. Печи работают на газообразном топливе, причем газы должны иметь постоянный углеводородный состав, что является серьезным недостатком печей. В печи предусмотрена возможность работы на резервном жидком и газовом (газ, содержащий конденсат) топливе. Для этого в поду камеры радиации вдоль излучающих стен установлены резервные газомазутные горелки 9. Факелы этих горелок настилаются на поверхность панельных горелок и образуют сплошное зеркало излучения. При этом первичный воздух подается к горелкам в поду через регистры с шиберами, а вторичный – по высоте настила факела через смесители отключенных панельных горелок. Печи беспламенного горения компактны, малогабаритны.
В совершенствование и конструирование трубчатых печей нового типа, повышение их эффективности, типизацию и стандартизацию печного оборудования большой вклад сделан ВНИИнефтемашем, который создал и осуществил внедрение в промышленность трубчатых печей ряда типов, по которым издан каталог, позволяющий выбрать конструкцию и размеры типовой трубчатой печи для соответствующего технологического процесса.
Печи типа ГС – коробчатые с верхним отводом дымовых газов, горизонтальным расположением труб в радиантной и конвекционной камерах и свободного вертикального сжигания комбинированного топлива (рисунок 3.3).
Горелки расположены в один ряд в поду печи. Обслуживание горелок производится с одной стороны печи, что позволяет устанавливать рядом две камеры радиации (рисунок 3.4). Печи типа ГС применяются на установках атмосферной и вакуумной перегонки нефти, вторичных процессов. Печи типа ГС2 предпочтительны на установках замедленного коксования, крекинг-процессов, где требуется нагрев нефтепродуктов с низкими значениями теплонапряженности поверхности нагрева (29 кВт/м2).

Рисунок 3.3 – Схема трубчатой печи типа ГС
1 – горелка; 2 – змеевик радиантных труб; 3 – змеевик конвекционных труб; 4 – воздухоподогреватель; 5 – дымовая труба; 6 – лестничная площадка; 7 – футеровка; 8 – каркас

Рисунок 3.4 – Конструкция трубчатой печи типа ГС2
1 – горелка; 2 – змеевик радиантных труб; 3 – каркас; 4 – футеровка; 5 – змеевик конвекционных труб; 6 – лестничная площадка; 7 – дымовая труба
Печи типа ГН – коробчатые с верхним отводом дымовых газов, горизонтальным настенным или центральным трубным экраном и объемно-настильного сжигания комбинированного топлива (вариант I) или настильного сжигания газового топлива на фронтальные стены (вариант II). При исполнении печи по варианту I горелки расположены в два ряда на фронтальных стенах под углом 45° (рисунок 3.5).
По оси печи расположена настильная стена, на которую направлены горящие факелы. Печь ГН2 имеет две камеры радиации и применяется для процессов, требующих «мягкий» режим нагрева (установки замедленного коксования, крекинг-процессы). По варианту II горелки расположены ярусами на фронтальных стенах, а двухрядный горизонтальный экран — по оси печи. Тепло к экранам передается от фронтальных стен, на которые настилаются факелы веерных горелок. Данный тип печи предназначен для реконструкции существующих печей беспламенного горения, а также в процессах средней производительности, обеспеченных газовым топливом, в том числе с большим процентом водорода.

Рисунок 3.5 – Схема трубчатой печи типа ГН
1 – горелка; 2 – змеевик радиантных труб; 3 – настильная стенка; 4 – змеевик конвекционных труб; 5 – дымовая труба; 6 – лестничная площадка; 7 – футеровка; 8 – каркас
Печи типа ВС – узкокамерные секционные с верхним отводом дымовых газов и вертикальными трубами змеевика (рисунок 3.6).
Производительность каждой секции 10-17 МВт. Вертикальные трубы радиантного змеевика расположены у всех четырех стен камеры. Газомазутные горелки расположены в поду камеры, обслуживание горелок с двух сторон. Предусмотрены четыре типоразмера этих печей, каждый типоразмер отличается количеством одинаковых камер радиации. Над камерой радиации расположена камера конвекции прямоугольного сечения с горизонтальными гладкими трубами. У многосекционных трубчатых печей камеры радиации отдельных секций объединены в общем корпусе. Смежные секции отделены одна от другой двумя рядами труб радиантного змеевика двустороннего облучения. В крайних секциях у стен радиантные трубы размещены в один ряд.
Печи типа ВС установлены на установках ЛК-6-У, применяют на установках AT, вторичной переработки и т.д.
Печи типа СС – секционные с горизонтально расположенным змеевиком, отдельно стоящей конвекционной камерой, встроенным воздухоподогревателем и свободного вертикально-факельного сжигания топлива. Трубный змеевик каждой секции состоит из двух или трех транспортабельных пакетов заводского изготовления. Змеевик каждой секции самонесущий и устанавливается непосредственно на поду печи.
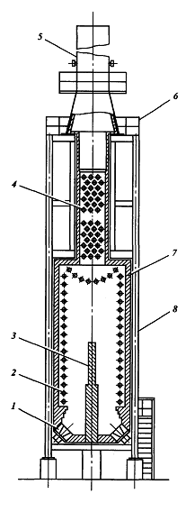
Печи типа ЦС – цилиндрические с пристенным расположением труб змеевика в одной камере радиации и свободного вертикально-факельного сжигания комбинированного топлива. Печи выполняются в двух вариантах: без камеры конвекции и с камерой конвекции (рисунок 3.7).
Цилиндрическая камера радиации установлена на столбчатом фундаменте для удобства обслуживания газовых горелок, размещенных в поду печи. Радиантный змеевик собран из вертикальных труб на приваренных калачах; в центре пода печи установлена газомазутная горелка. Змеевики упираются на под печи, вход и выход продукта осуществляется сверху.
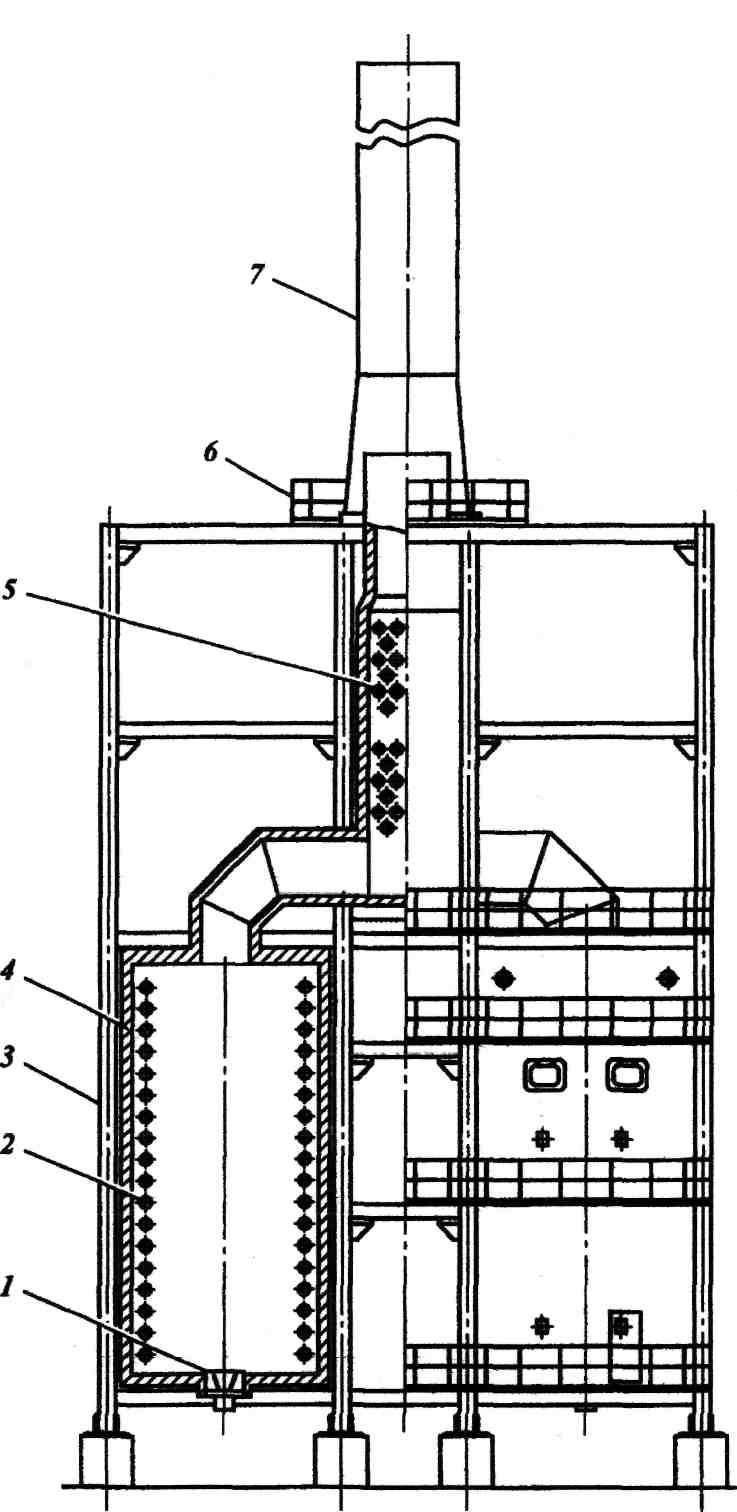
Печь типа ЦД4, продольный разрез которой показан на рисунке 3.8, является радиантно-конвекционной, у которой по оси камеры радиации имеется рассекатель-распределитель в виде пирамиды с вогнутыми гранями, представляющими собой настильные стены для факелов горелок, установленных в поду печи.

Рисунок 3.6 – Конструкция трубчатой печи типа ВС
1 – камера конвекции; 2 – змеевик радиантных труб; 3 – взрывное окно; 4, 7 – гляделка; 5 – футеровка; 6 – каркас; 8 – горелка; 9 – лестничная площадка; 10 – дымовая труба

Рисунок 3.7 – Конструкция трубчатой печи типа ЦС
1 – горелка; 2 – змеевик радиантных труб; 3 – каркас; 4 – футеровка; 5 – змеевик конвекционных труб.
Потоки: I – продукт на входе; II – продукт на выходе
Рассекатель-распределитель разбивает камеру радиации на несколько независимых зон теплообмена (рисунок 3.8, их четыре) с целью возможной регулировки теплонапряженности по длине радиантного змеевика.
Внутренняя полость каркаса рассекателя разбита на отдельные воздуховоды; в кладке грани рассекателя по высоте грани есть каналы прямоугольного сечения для подвода вторичного воздуха к настильному факелу каждой грани. Каждый воздуховод оснащен поворотным шибером, управляемым с площадки обслуживания

Рисунок 3.8 – Конструкция печи типа ЦД4
1 – камера конвекции; 2 – выхлопное окно; 3 – смотровое окно; 4 – змеевик радиантных труб; 5 – футеровка; 6 – каркас; 7 – камера для подвода вторичного воздуха; 8 – футеровка рассекателя-распределителя; 9 – воздуховод; 10 – рассекатель-распределитель; 11 – горелка; 12 – воздуходувка.
Потоки: I – продукт на входе; II – продукт на выходе; III – дымовые газы
В кладке граней рассекателя на двух ярусах по высоте граней расположены каналы прямоугольного сечения для подвода вторичного воздуха из воздуховодов к настильному факелу каждой грани. Изменяя подачу воздуха через каналы, можно регулировать степень выгорания топлива в настильном факеле, что позволяет выравнивать теплонапряженность по высоте труб в камере радиации. Радиантный подвесной змеевик состоит из труб, расположенных у стен цилиндрической камеры. Настенные радиантные трубы размещены в один ряд и имеют одностороннее облучение, а радиальные с двусторонним облучением размещены в два ряда.
Печи типа КС – цилиндрические с кольцевой камерой конвекции, встроенным воздухоподогревателем, вертикальными трубными змеевиками в камерах радиации и конвекции и свободного вертикально-факельного сжигания топлива (рисунок 3.9).
Комбинированные горелки расположены в поду печи. На стенах камеры радиации установлен одно- или двухрядный настенный трубный экран. Конвективный змеевик так же, как и воздухоподогреватель, набирают секциями и располагают в кольцевой камере конвекции, установленной соосно с цилиндрической радиантной камерой.
Печи типа КД4 – цилиндрические четырехсекционные с кольцевой камерой конвекции, встроенным воздухоподогревателем, дифференциальным подводом воздуха по высоте факела, вертикальным расположением змеевика радиантных и конвекционных труб, настильным сжиганием комбинированного топлива.
Печи выполняются в двух конструктивных исполнениях: с дымовой трубой, установленной на печи (рисунок 3.10) или стоящей отдельно.
Дутьевые комбинированные горелки расположены в поду печи. Оси горелок наклонены в сторону рассекателя-распределителя, установленного в центре печи.
Рассекатель изготовлен в виде пирамиды с вогнутыми гранями, представляющими собой настильные стены для факелов горелок каждой камеры радиации. Рассекатель выполняет следующие функции: делит объем радиантной камеры на четыре автономные зоны теплообмена, что позволяет осуществлять дифференцированный подвод тепла по длине радиантного змеевика; является поверхностью настила факелов горелок, которые имеют стабильную толщину, что позволяет приблизить трубные экраны к горелкам и сократить объем камеры. В печи осуществляется двухстадийное сжигание топлива. Первичный воздух (около 70 % объема) подается принудительно к горелкам, а остальное количество – по высоте настила, для чего в кладке граней расположены каналы прямоугольного сечения, а в каркасе превышает количество граней. Каждый воздуховод оснащен поворотным шибером.


Рисунок 3.9 – Конструкция печи типа КС
1 – горелка; 2 – змеевик радиантных труб; 3 – змеевик конвекционных труб; 4 – каркас; 5 – футеровка; 6 – воздухоподогреватель; 7 – шибер.
Потоки: I – продукт на входе; II – продукт на выходе; III – дымовые газы

Рисунок 3.10 – Конструкция печи типа КД4
1 – змеевик конвекционных труб; 2 – змеевик радиантных труб; 3 – рассекатель-распределитель; 4 – футеровка; 5 – воздуходувка; 6 – каркас; 7 – дымовая труба; 8 – воздухоподогреватель.
Потоки: I – продукт на входе; II – продукт на выходе; III – дымовые газы
Двухстадийное сжигание топлива дает возможность растянуть факелы по высоте граней и повысить равномерность излучения по высоте радиантных труб. Конвективный змеевик, как и воздухоподогреватель, набирают секциями и размещают в кольцевой камере конвекции, расположенной соосно с цилиндрической радиантной камерой.
СПИСОК ИСПОЛЬЗУЕМОЙ ЛИТЕРАТУРЫ
1. Скобло А.И., Молоканов Ю.К., Владимиров А.И., Щелкунов В.А. Процессы и аппараты нефтегазопереработки и нефтехимии: Учебник для вузов. – 3-е издание – М.: ООО «Недра-Бизнесцентр», 2000. – 677 с.
2. Ахметов С.А. и др. Технология оборудование процессов переработки нефти и газа. Учебное пособие / С.А. Ахметов, Т.П. Сериков, И.Р. Кузеев, М.И. Баязитов; под ред. С.А. Ахметова. – СПб.: Недра, 2006. – 868 с.