Технология изготовления СВЧ элементов конструкций РЭС
БЕЛОРУССКИЙ ГОСУДАРСТВЕННЫЙ УНИВЕРСИТЕТ ИНФОРМАТИКИ И РАДИОЭЛЕКТРОНИКИ
Кафедра ЭТТ
РЕФЕРАТ
На тему:
"Технология изготовления СВЧ элементов конструкций РЭС"
МИНСК, 2008
Конструктивно-технологические особенности изготовления антенных отражателей, волноводов и резонаторов
Для передачи энергии СВЧ колебаний миллиметрового, сантиметрового и дециметрового диапазонов используются волноводные системы или волноводные тракты, которые сокращенно называются волноводами. Обычно волноводное звено состоит из отрезка трубы с соединенными фланцами на концах.

Рис.1. Волновод.
Все звенья должны иметь хорошо проводящие внутренние поверхности. По форме поперечного сечения волноводные звенья из труб разделяются на прямоугольные, эллиптические и круглые. По конструкции стенок звенья подразделяются на жесткие и гибкие. Жесткие звенья делятся на прямые и изогнутые.
Для генерирования СВЧ колебаний в качестве контуров применяются полые резонаторы различной формы.

Рис.2. Виды полых резонаторов: цилиндрический, прямоугольный, тороидальный.
Для излучения и приема СВЧ энергии в пространство используются различные металлические и металлизированные поверхности. Идеальным отражателем является гладкая металлическая поверхность. Однако в ряде случаев для изменения веса и снижения ветровых нагрузок применяются решетчатые и сетчатые конструкции.
Основная технологическая задача при изготовлении элементов СВЧ –трактов передачи энергии – это: 1. высокая чистота внутренней поверхности волноводов и резонаторов и наружной отражательной поверхности антенных излучателей; 2. их высокая электропроводность; 3. защита поверхности проводящего слоя от коррозии.
Методы изготовления волноводов. Изготовление прямых и изогнутых волноводных звеньев из труб
Широко распространен способ изготовления волноводных звеньев из стандартных труб прямоугольного или круглого сечения. В качестве материала применяют латунь (марки ЛС–50, Л–62, Л–96), алюминий (марки А–00, А–Л) и медь (марки М–1, М–3).
При одинаковых способах обработки чистота поверхности латунных деталей получается выше, чем у других материалов. Латунь обладает достаточной жесткостью, хорошо поддается пайке, отличается хорошей проводимостью, дешевле меди и серебра. Медные звенья применяют в тех случаях, когда специфические условия эксплуатации или обработки оправдывают повышение стоимости материала.
Алюминиевые волноводы отличаются малой массой и более простой технологией изготовления, чем латунные и медные.
Процесс изготовления волноводных звеньев складывается из следующих этапов:
– нарезка заготовок;
– изгибание и скручивание (по мере надобности) заготовок;
– изготовление фланцев;
– пайка фланцев к трубам;
– обработка проводящих поверхностей;
– сборка волноводных звеньев в волноводы.
Нарезка заготовок. Куски труб нарезают дисковой фрезой с припуском на обработку на горизонтальном фрезерном станке, после чего торцы их зачищают от заусенцев.
При необходимости выполнения отводов (ответвлений) в стенках трубы фрезеруют отверстия, а в торцах соединяемых труб – уступы.
Изгибание заготовок должно осуществляться способами, при которых не изменяется форма и внутренние размеры сечения заготовок и не ухудшается чистота обработки внутренних поверхностей.
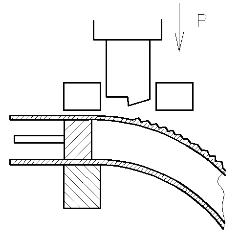
Наиболее производительным способом получения изогнутых звеньев без заполнения заготовки является способ чеканки (насечки). Изгибание труб прямоугольного сечения производится на гибочном станке в результате возвратно-поступательного движения верхнего пуансона одновременно с движением двух боковых пуансонов, находящихся в обжимной головке.

Рис.3. Процесс изгиба.
При этом заготовка через равные промежутки времени перемещается в продольном направлении (шаг подачи), подвергаясь одновременно с трех сторон ударам чеканов, вызывающих пластические деформации в металле стенок трубы. В результате труба изгибается в сторону нижней стенки.
Изготовление фланцев. Фланцы, укрепляемые на концах труб, по форме торцовой поверхности могут быть прямоугольными или круглыми, причем те и другие изготавливают плоскими и с уступами. Плоские фланцы выполняют на металлорежущих станках с сверлением круглых крепежных отверстий, фрезерованием и калибровкой прямоугольных отверстий.

Рис.4. Фланец.
Латунные и алюминиевые фланцы с уступами (объемные) обычно изготавливают путем штамповки с последующей пробивкой и калибровкой окон.
Пайка фланцев к трубам. Соединение труб с фланцами производят посредством пайки. Латунные и медные звенья паяют серебренными припоями. Алюминиевые трубы и фланцы наиболее надежно соединяются посредством газовой сварки с последующей зачисткой сварного шва.
Обработка проводящих поверхностей. Перед полированием внутренняя поверхность волноводного звена очищается механическим путем при помощи щеток из тонкой медной проволоки. Полирование осуществляется на пневматической установке.

Рис.5. Обработка проводящей поверхности.
Сжатый воздух поступает поочередно в правый и левый фланец, в результате чего полирующий вкладыш из плотного фетра совершает с большой быстротой прямолинейные возвратно-поступательные движения, полируя внутреннюю поверхность трубы абразивным порошком или полировальными пастами. Изогнутые звенья полируют вкладышами из мягкого фетра. После полирования звенья счищают от абразивных частиц и обезжиривают.д.ля увеличения электропроводности и повышения антикоррозионных свойств внутреннюю поверхность латунных волноводов покрывают слоем электролитического серебра. Для защиты серебра от коррозии осуществляют покрытие поверхности пленкой лака. В местах разъемных контактных соединений для повышения стойкости серебряного покрытия наносят пленки палладия и родия толщиной 0,1 мкм.
Волноводные звенья из алюминия не нуждаются в серебрении. Для защиты от коррозии после полирования внутреннюю поверхность алюминиевых труб подвергают пассивированию. Наружную поверхность волноводных звеньев покрывают антикоррозионными лакокрасочными покрытиями, выбор которых определяется эксплуатационными условиями.
Изготовление литых волноводных звеньев
По сравнению с методом изготовления волноводов из труб метод литья является наиболее прогрессивным – требует меньшей затраты времени и средств, использует недорогие и недефицитные материалы; обеспечивает более высокую стабильность характеристик волноводов за счет их монолитности и идентичности размеров.
Волноводные элементы изготавливаются литьем по выплавляемым моделям и имеют внутренние каналы прямоугольного, эллиптического или круглого сечения и сложной конфигурации. Для изготовления волноводов чаще всего используют сплавы АЛ9 и ЛС59–1Л. Они имеют хорошие литейные и механические свойства, коррозионную стойкость, легко обрабатываются резанием.
Изготовление наращенных волноводных звеньев
При изготовлении единичных образцов сложных по конструкции волноводных звеньев применяется способ электролитического осаждения металла на предварительно изготовленные модели. По технологическому признаку эти модели разделяют на возвратимые и невозвратимые. Технологический процесс изготовления деталей по возвратным моделям состоит в следующем: на поверхность модели, выполненной из изоляционного материала, сначала наносят тонкий электропроводящий слой (серебро или медь), после чего загружают в ванну с цианистым электролитом, в котором осаждается слой серебра толщиной 20–40 мкм. Затем медь переносят в ванну из комплексной медно-цианистой соли, где на нее наносят слой меди 2–3 мм и более. Особенностью возвратимых моделей является возможность изготовления по одной модели большого количества изделий.
Сущность применения невозвратимой модели заключается в том, что после осаждения на ее поверхности металла медь разрушается и осаждает все внутренние полости изделия.
Изготовление гибких волноводных звеньев
Наибольшее распространение получили волноводы в виде металлического шланга. Их изготовляют из посеребренной листовой бронзы Бр КМЦ3–1 толщиной 0,15–0,3 мм, а также латуни Л80, Л622М толщиной 0,1–0,15 мм. Заготовки нарезают гильотинными ножницами в виде полос такой ширины, чтобы после свертывания их на прямоугольной оправке один край заходил на другой 5–10 мм. Свертывание осуществляется намоткой по спирали с загибанием краев лент для соединения витков между собой.

Рис.6. Гибкие звенья.
Выбором режима наматывания ленты достигается надежный электрический контакт между витками и увеличивается срок службы волновода. Волновод получается гибким в следствие скольжения всех его соединений относительно друг друга без нарушения контакта.
Бесшовный гофрированный волновод получают прокаткой тонкостенной медной трубы в специальном приспособлении. После прокатки труба принимает вид "гармошки", которая обеспечивает его гибкость.
Методы изготовления полых резонаторов
Наиболее распространенными методами изготовления полых резонаторов являются: точное литье, литье под давлением и электролитическое осаждение метала.
Внутренняя поверхность полых резонаторов должна достигать высокой степени чистоты, поверхностный слой металла должен быть однородным, без разрушений. Это достигается механическими видами обработки: чистовым точением, обработкой алмазным резцом, полированием, суперфинишированием.
Чистовое точение осуществляется токарной обработкой с применением резцов из сверхтвердых сплавов.
Принципиальной особенностью чистового точения являются большие скорости резания (30–50 м/с) при малой глубине резания (0,05–0,1) мм и малой подачи (00,1–0,2 мм/об). чистовое точение должно исключать необходимость шлифования, которое сопровождается засорением пор латуни и бронзы зернами абразива, а также разрушением структуры обрабатываемой поверхности.
Обработка алмазным резцом. Она следует после чистового точения. Для этого режущие грани алмазного резца придается полукруглый профиль с радиусом кривизны 100–120 мкм.
Обточка внутренней поверхности
резонатора производится на токарном
станке при подаче резца в осевом
направлении порядка 0,8–1 мкм на один
оборот, скорости резания 17–20 м/с и
интенсивном охлаждении струей азота.
При таком режиме обработки средняя
высота микронеровности составляет не
более 0,001 мкм (10
).
Полирование. Применяется для уменьшения микрогеометрии шероховатости. Полирование образует гладкую поверхность, но не дает возможности довести обрабатываемую поверхность до заданного размера.
При высокой чистоте отполированная поверхность после обрезания тонкой оксидной пленки приобретает повышенную антикоррозионную стойкость.
Суперфиниширование. Является заключительной стадией механической обработки поверхности и проводится с целью удаления поверхностного разрушенного слоя металла, оставшегося от предшествующей операции.
После полного удаления гребешков микронеровностей между бруском и поверхностью резонатора образуется неразъемная пленка смазки, снятие металла с обрабатываемой поверхности больше не происходит и процесс обработки прекращается.
Неметаллические покрытия
Неметаллические покрытия получают в процессе химической и электрохимической обработки.
На поверхности деталей образуются тонкие плотные пленки окислов и других химических соединений, защищающих изделия от влияния внешней среды или обладающих другими желаемыми свойствами, например изоляционными.
К неметаллическим покрытиям относятся: анодирование, оксидирование, пассивирование, фосфотирование.
Анодирование применяется как покрытие на алюминии и его сплавах. В результате анодирования на поверхности изделия образуется прочная оксидная пленка.
Электрохимическое анодирование производят в 20% растворе серной кислоты, детали присоединяют к аноду, катодом служит свинцовая пластина. Для получения золотисто-желтого цвета детали дополнительно обрабатывают в 10% растворе хромпика (К2Cr2O7), молочного цвета – в хромовом агнедриде.
Оксидирование – получение окисных пленок путем обработки в растворах щелочей и кислот. Оксидируются стальные детали, медные и латунные.
Пассивирование – получение тонких защитных пленок на стали и цветных сплавах с использованием окислов хрома.
Фосфотирование – применяется как антикоррозионное и изоляционное покрытие алюминиевых и стальных деталей. При фосфотировании изделие покрывается нерастворимой пленкой солей фосфорной кислоты.
Фосфорная пленка пориста, поэтому фосфотированные детали покрывают лаком или промасливают.
ЛИТЕРАТУРА
Технология производства ЭВМ / А.П. Достанко, М.И. Пикуль, А.А. Хмыль: Учеб. – Мн. Выш. Школа, 2004 – 347с.
Технология деталей радиоэлектронной аппаратуры. Учеб. пособие для ВУЗов / С.Е. Ушакова, В.С. Сергеев, А.В. Ключников, В.П. Привалов; Под ред. С.Е. Ушаковой. – М.: Радио и связь, 2002. – 256с.
Тявловский М.Д., Хмыль А.А., Станишевский В.К. Технология деталей и пе-риферийных устройств ЭВА: Учеб. пособие для ВУЗов. Мн.: Выш. школа, 2001. – 256с.
Технология конструкционных материалов: Учебник для машиностроительных специальностей ВУЗов / А.М. Дольский, И.А. Арутюнова, Т.М. Барсукова и др.; Под ред.А.М. Дольского. – М.: Машиностроение, 2005. – 448с.
Зайцев И.В. Технология электроаппаратостроения: Учеб. пособие для ВУЗов. – М.: Высш. Школа, 2002. – 215с.
Основы технологии важнейших отраслей промышленности: В 2 ч. Ч.1: Учеб. пособие для вузов / И.В. Ченцов, И.А.