Технология листовой штамповки (работа 1)
Донбасская государственная машиностроительная академия
Кафедра «Обработка металлов давлением»
Технологический процесс и оснастка ЛИСТОВОЙ штамповки детали
«ГИЛЬЗА»
Технология кузнечно-штамповочного производства
Курсовой проект
ПОЯСНИТЕЛЬНАЯ ЗАПИСКА
Краматорск- 2007
Содержание
Введение 5
1 Общая часть 6
1.1 Патентно-информационный поиск 6
1.2 Анализ технологичности детали 9
1.3 Анализ технологических вариантов изготовления детали «Гильза» 9
2 Технологическая часть 12
2.1 Расчет формы и размеров заготовки 12
2.2 Раскрой исходного материала 12
2.3 Сортамент исходного материала 13
2.4 Способ и оборудование для резки листового материала 14
2.5 Технологические расчёты по переходам 14
2.6 Определение деформирующих усилий и других силовых параметров 19
2.7 Установление типа, мощности и габаритов оборудования 21
2.8 Установление дополнительных операций и окончательного варианта технологического процесса 23
2.9 Выбор технологических смазок. Способ нанесения и удаления смазки 24
3 Конструкторская часть 25
3.1 Выявление типа и технологических схем штамповки 25
3.2 Прочностные расчёты деталей и узлов штампов 26
3.3 Выбор и расчёт буферных устройств 28
3.4 Расчет исполнительных размеров пуансонов и матриц 28
3.5 Разработка рабочих чертежей деталей штампа 28
3.6 Описание конструкций штампов 28
4 Механизация и автоматизация процесса листовой штамповки 31
4.1 Механизация и автоматизация подачи материала заготовок 31
4.2 Механизация и автоматизация удаления полуфабрикатов 31
5 Техника безопасности 32
6 Организация рабочего места 33
Выводы 34
Перечень ссылок 35
Введение
Процессы холодной листовой штамповки получили широкое применение в различных отраслях промышленности, благодаря высокой производительности и экономической эффективности. Холодная листовая штамповка является одним из наиболее прогрессивных технологических методов производства; она имеет ряд преимуществ перед другими видами обработки металлов давлением. Изготовление деталей методами листовой штамповки позволяет: получать детали весьма сложных форм, изготовление которых другими методами обработки затруднительно; получать детали с достаточно высокой точностью размеров, преимущественно без последующей механической обработки; экономно использовать материал; применять автоматизацию и механизацию при высокой производительности оборудования. Разработка технологического процесса штамповки и проектирования штампов неразрывно связаны между собой. В листовой штамповке, для изготовления деталей, возможно применение методов комбинированной штамповки, одновременно сочетающей две или несколько отдельных операций. Основным прогрессивным конструктивным показателем, характеризующим эффективность применения листовой штамповки, является снижение массы при увеличении прочности и жесткости, штампованных из листа деталей по сравнению с литыми, коваными или обработанными из сортового проката.
1 Общая часть
1.1 Патентно-информационный поиск
В [1] описан способ вытяжки детали типа стакан без фланца с возможностью утонения стенки. Интерес к данной статье привлечён из-за прироста производительности штамповки в 2-2,5 раза по методу, рассмотренному в данной статье, сравнительно с традиционной технологией. Также следует отметить гибкость переналадки, используемого инструмента при выполнении вытяжке без утонения и с утонением стенки за счёт быстрой смены матрицы, исключая необходимость снятия штампа со стола пресса. Данная технология обеспечивает также экономию металла и достаточно приемлемое качество штамповки.
В [2] описан способ вытяжки стакана с утонением стенок с применением наложения дополнительного давления от буфера на свободный торец полуфабриката, что позволяет изменить схему напряженного состояния, что повышает точность и степень деформации заготовки за один переход штамповки. Повышение степени деформации объясняется снижением растягивающих напряжений в опасном сечении.
Наличие проталкивания приводит к выравниванию разнотолщинности по сечению детали, а это приводит к фактическому увеличению его высоты, а следовательно к получению более ровного торца, что обуславливает возможность назначения меньшего припуска на обрезку и, как следствие, повышению КИМ.
Такой процесс также можно использовать для получения деталей ступенчатой формы с утонением стенки и для протягивания труб.
В данной статье рассматриваются материалы, свойства которых сходны со свойствами материала, используемого в данном курсовом проекте, что весьма актуально при выполнении технологических расчетов.
В [3] описан способ применения ЭВМ с установленными пакетами автоматизированного проектирования AutoCAD, либо COMPAS-3D при расчёте размеров заготовки по переходам для вытяжки без утонения. Материал данной статьи можно использовать и для расчёта процесса вытяжки с утонением стенки, только с одной маленькой поправкой, что вместо полилинии следует использовать замкнутый контур образующей детали, выполненный простыми отрезками линий.
Актуальность данной статьи заключается в том, что всё большее количество инженеров-технологов (и студентов в том числе) использует для оформления конструкторской документации средства ЭВМ и материал статьи позволяет ещё значительнее автоматизировать это. И даже если технологические расчеты вытяжки выполняются без использования ЭВМ, то, используя этот метод вычисления геометрических параметров заготовки, можно быстро и с достаточно высокой точностью проконтролировать «ручные» вычисления, а порой даже и исключить такой достаточно рутинный процесс вычисления объёма детали.
В [4] кратко изложена технология изготовления матриц для вытяжки цилиндрических стаканов с использованием вставок из твёрдых сплавов ВК6, ВК8, ВК10М и ВК15, износостойкость, которых превышала износостойкость обычных вытяжных матриц в 300-400 раз.
Данный способ изготовления матриц вытяжных штампов целесообразно применять при проектировании технологии изготовления детали большой серийности. Так, по материалам статьи, при изготовлении деталей и стали 08 кп, матрица сохранила рабочее состояние после выпуска 2,5 млн. деталей, что безусловно превышает программу выпуска детали, заявленной в данном курсовом проекте. Но рассмотрение данной статьи является целесообразным в учебных целях.
В [5] описаны такие факторы как химический состав, микроструктура, механические свойства и чистота отделки поверхности. Данная статья описывает опыт применения сталей 08 кп и 10 кп для глубокой вытяжки деталей цилиндрической формы на Лысьвенском металлургическом заводе в условиях массового производства. Сталь данной марки является материалом детали, рассматриваемой в данном курсовом проекте, поэтому рассмотрение данной статьи является весьма актуальным.
В частности установлено, что наличие минеральной смазки на поверхности холоднокатаных листов перед вытяжкой ухудшает вытяжные свойства стали и снижает стойкость штампов из-за налипания материала на поверхность инструмента, более того во многих случаях вытяжка становится невозможной. Также установлено, что наличие на поверхности листов тонких окисных плёнок в виде цветов побежалости от соломенного-желтого до фиолетового оттенков не ухудшают, а улучшают вытяжные свойства. В этом случае также повышается стойкость штампов.
Опыт применения низкоуглеродистых сталей указывает на то, что применение стали с содержанием углерода более 0,09% обеспечивает более высокую способность стали к глубокой вытяжке, чем сталь с содержанием углерода 0,06%.
Результаты применения листов с различным уровнем анизотропии привело к выводу, что материал с ярко выраженной анизотропией вполне пригоден для глубокой вытяжки в отличие от материалов, у которых вышеизложенная снижена или отсутствует вовсе.
Все вышеизложенные факты следует принимать во внимание при проектировании и введении в производство новых технологических процессов при использовании стальных листов вышеупомянутой марки стали.
В [6] изложены факторы, влияющие на процесс вытяжки с утонением стенки. Среди них величина максимального усилия, величина удельного тянущего усилия, величина конусности пуансонов, неравномерность деформаций и разностенность, усилие съёма с пуансона. В результате описанных исследований получена возможность управления этими факторами с целью достижения минимального использования ресурса пластичности. Актуальность данного исследования важна, так как интенсификация производственного процесса вытяжки напрямую зависит от остаточных напряжений в материале и как следствие рациональному исчерпанию ресурса пластичности. Получена зависимость ИРП по толщине стенки вытягиваемой детали – критической зоной являются внутренние слои стенки, а ИРП – является векторной величиной. В экспериментах использовалась сталь с содержанием углерода ≈0,1%.
1.2 Анализ технологичности детали
Рассматриваемая в данном курсовом проекте деталь имеет форму тела вращения без несимметричных выступов и других, усложняющих конструкцию элементов. Сталь 10 имеет достаточную пластичность для выполнения вытяжки за 2-4 перехода и обжим за 1-2 перехода штамповки. Точность требуемой детали (14 квалитет), а также радиусы скругления кромок позволяют изготавливать штампы обычной точности, а также отпадает необходимость применения операции калибровки.
Таким образом, конструкция детали и тип материала позволяют выполнять основные операции листовой штамповки для разработки технологического процесса.
Ввиду упрощения обрезки припуска при помощи механообработки, операция обрезки припуска при помощи листоштамповочных операций не рассматривается в данном курсовом проекте.
1.3 Анализ технологических вариантов изготовления детали «Гильза»
Первый вариант изготовления детали характеризуется выполнением каждой технологической операции в отдельном штампе на отдельном прессе. Такой вариант изготовления хорошо подходит для мелкосерийного и единичного производства. В этом варианте предусмотрено 3 промежуточных отжига.
Второй вариант изготовления характеризуется совмещением вырубки и вытяжки заготовки в одном штампе, что ускоряет техпроцесс и не нуждается в применении заведомо мощных прессов или других средств автоматизации. Данный вариант предусматривает 3 операции промежуточного отжига для снятия наклёпа.
Третий вариант изготовления детали предусматривает применение торцевого подпора при протяжке колпачка. Это позволяет уменьшить растягивающие напряжения в опасном сечении и увеличить сжимающие со стороны инструмента в очаге течения, что обуславливает повышение точности детали и увеличению степени деформации за один переход. Данный метод не достаточно исследован для широкого круга деталей, поэтому не принят для разработки из-за отсутствия практических рекомендаций по проектированию техпроцесса.
Также данный метод предусматривает обжим горловины с применением подпора стенок колпачка для достижения более высокого коэффициента обжима из-за исключения потери локальной устойчивости заготовки.
Метод предусматривает 2 промежуточного отжига, что снижает стоимость техпроцесса и снижению продолжительности во времени. Эскизы переходов представлены на следующих рисунках.
Данный вариант требует проведения дополнительных исследований для проведения протяжки и более сложного штампа для обжима горловины, поэтому применим только в обоснованных случаях при высокой серийности производства.
Четвёртый вариант изготовления детали предусматривает протяжку колпачка через две матрицы за один ход пресса, что требует большого ходам ползуна пресса и зачастую необходимости проведения техпроцесса на гидропрессе.
Вариант предусматривает проведения 3 отжигов. Эскизы переходов штамповки представлены на следующих рисунках.
Пятый вариант изготовления детали предусматривает применение протяжки через 2 матрицы и обжим горловины с подпором для исключения потери локальной устойчивости. Предусматривает 2 промежуточных отжига, что снижает время проведения техпроцесса и расходов. Данный вариант требует изготовления в определенной мере сложных штампов и применения более габаритного оборудования для достижения высоких значений хода пресса.
Так как заявленная серийность производства в курсовом проекте составляет 1 млн. деталей, то выбран именно этот вариант изготовления, т.к. это оправдывает изготовление более сложных штампов и использования более габаритного оборудования. Эскизы переходов представлены на следующих рисунках.
2 Технологическая часть
2.1 Расчет формы и размеров заготовки
Определение формы и размеров исходной заготовки будет осуществляться, исходя из принципа равенства объёмов детали и заготовки. В качестве исходной заготовки принимаем круг из листовой стали толщиной 3 мм, что соответствует максимальной толщине детали, т.е. толщине дна гильзы. Утонением в этом месте можно пренебречь в виду его низкого значения.
Учитывая припуск на обрезку фланца после вытяжек и обжима, на объём заготовки назначаем припуск по [7, с. 116] равный 10% (h/d=65/40=1.63) от исходного объёма детали.
(2.1)
Зная объём исходной заготовки, определяем её диаметр, учитывая припуск на обрезку.
(2.2)
Уточняем объём исходной заготовки.
2.2 Раскрой исходного материала
Раскрой листового материала представлен в приложении Б.
Коэффициенты раскроя представлены в таблице 2.1
Таблица 2.1 – Коэффициенты раскроя
|
Размер листа, мм |
Тип раскроя |
|
|
Продольный |
Поперечный |
|
|
|
67.54 |
65.04 |
|
|
65.97 |
62.67 |
|
|
67.47 |
66.47 |
Исходя из значения наибольшего
коэффициента использования материала
(табл. 2.1) принимаем для разработки
технологии лист размером
мм.
с продольным раскроем.
Количество листов на программу выпуска:

2.3 Сортамент исходного материала
Принимаем для изготовления
детали холоднокатаный лист размера
мм. по ГОСТ 19904-90.
Его полная маркировка соответствует ГОСТ 1577-81 [8, стр. 124]:

где Т – с допуском по толщине нормальной точности;
БШ - с допуском по ширине нормальной точности;
БД - с допуском по длине нормальной точности;
ПН – нормальной плоскостности;
С обрезанной кромкой – О;
Толщина материала 3 мм;
Группа прочности К270В категории 6;
Повышенной отделки поверхности III;
Глубокой вытяжки Г;
Из качественной конструкционной стали 10 по ГОСТ 16523-89.
Механические свойства
данного материала, представлены в табл.
2.2.
[8 стр. 62], [7, стр. 507]
Таблица 2.2 – Механические свойства стали 10
|
|
|
|
|
|
31 |
340 |
210 |
290 |
2.4 Способ и оборудование для резки листового материала
Разделение листового материала выполняется на ножницах с наклонными ножами НД3316Г [9, стр. 172] с технологическими характеристиками (табл. 2.2).
Для них максимальная ширина разрезаемых листов соответствует 2000 мм, что обеспечивает возможность совершать линию реза 2000мм (п 2.2)
Таблица 2.3 – Технологические характеристики ножниц НД3316Г
|
P, кгс |
В, мм |
n, 1/мин |
|
h, мм |
b3, мм |
Q, кгс |
R, мм |
|
7850 |
2000 |
65 |
|
65 |
600 |
930 |
450 |
Р – номинальное усилие;
В – Наибольшая ширина разрезаемых листов;
n – частота движения;
- угол наклона ножей;
h – ход ножа;
b3 – наибольшая ширина полосы, отрезаемой по заднему упору;
Q – усилие прижима;
R – вылет прямолинейный (расстояние от линии реза до станины).
2.5 Технологические расчёты по переходам
Определение размеров детали на технологических переходах начинается с проверки возможности вытяжки колпачка без утонения стенок. Внутренний диаметр этого колпачка должен быть на 2..3 мм больше внутреннего диаметра готовой детали.
(2.3)
Проверим возможность получения колпачка за одну операцию:
(2.4)
Сравним с опытными данными
[7, c. 118] при
,
m>1>=0.46..0.50.
Следовательно,
и вытяжка колпачка с такими размерами
возможна.
Радиусы пуансона и матрицы
принимаем равными согласно [7, табл. 79]
при
- малая степень деформации и
:

Определим высоту полуфабриката на данном переходе штамповки, используя принцип равенства объемов. В SolidWorks строим колпачок с расчетными размерами и произвольной высотой. Затем запрашиваем объём колпачка.
Он составляет 16567.5 мм3. Определяем поправку на высоту колпачка, как описано в [3].
(2.5)
где V>0> – объём заготовки, [мм3], см. п. 2.1;
V – запрошенный объём детали, [мм3]
- радиус образующей серединной поверхности
на рассматриваемом участке, [мм];
S – толщина материала, [мм].
С учётом изменения высоты получаем полуфабрикат высотой 22,61 мм.
Для контроля правильности построения запрашиваем объём полученного колпачка и сравниваем с объёмом заготовки.
Исходя из равенства объёмов колпачка и заготовки, можно сделать вывод о том, что построение выполнено верно.
Вытяжку с утонением проводим за один ход пресса, не снимая детали с пуансона, отсюда внутренний диаметр колпачка принимается равным внутреннему диаметру конечной детали(38 мм). Радиусы закругления принимаются по чертежу детали. Далее следует определить количество операций вытяжки с утонением стенок [7, табл. 71].
(2.6)
где
- площадь поперечного сечения колпачка,
[мм];
- площадь поперечного сечения конечной
детали, [мм];
- среднее значение степени деформации.
[7, табл. 71].

Итак, вытяжку с утонением стенок можно провести за 2 перехода.
Исходя из допустимой степени деформации на первом переходе, определяем площадь поперечного сечения после первой вытяжки с утонением F>1>.
(2.7)
где
- допустимая степень деформации на
первом переходе
[7, табл. 71], [%]

Отсюда определим наружный диаметр полученного колпачка
(2.8)

Примем наружный диаметр равным 41 мм.
Определим высоту колпачка после первой вытяжки с утонением стенок. В SolidWorks строим колпачок с расчетными размерами и произвольной высотой. Затем запрашиваем объём колпачка.
Он составляет 10140.31 мм3. Определяем поправку на высоту колпачка по формуле 2.5.
С учётом изменения высоты получаем полуфабрикат высотой 47.75 мм.
Для контроля правильности построения запрашиваем объём полученного колпачка и сравниваем с заготовки.
Исходя из равенства объёмов колпачка после первой вытяжки с утонением стенок и заготовки, можно сделать вывод о том, что построение выполнено верно.
Учитывая допустимую степень деформации на втором переходе, проверяем выполнимость второй вытяжки с утонением стенок.
(2.9)
где
- допустимая степень деформации на
втором переходе [7, табл. 71], [%]
- площади поперечного сечения на первом
и втором этапах вытяжки с утонением
стенок, [мм2]

Вытяжка возможна, так как степень деформации ниже допустимой, примем наружный диаметр колпачка на втором переходе по чертежу(40 мм).
Определим высоту колпачка после второй вытяжки с утонением стенок. В SolidWorks строим колпачок с расчетными размерами и произвольной высотой. Затем запрашиваем объём колпачка.
Он составляет 8232.50 мм3. Определяем поправку на высоту колпачка по формуле 2.5.
С учётом изменения высоты получаем полуфабрикат высотой 72,34 мм.
Для контроля правильности построения запрашиваем объём полученного колпачка и сравниваем с объёмом заготовки.
Исходя из равенства объёмов колпачка после второй вытяжки с утонением стенок и заготовки, можно сделать вывод о том, что построение выполнено верно.
Произведём технологические расчеты процесса обжима горловины колпачка. Возможность обжима цилиндрической заготовки за одну операцию определяется коэффициентом обжима [10, с. 196].
(2.10)
где d – диаметр обжатого участка, мм;
D – диаметр полой трубчатой заготовки или полуфабриката, мм.
Расчет ведём по методике описанной в [11, стр. 214].

принимается в зависимости от относительной
толщины материала и предела прочности
материала (табл. 2.2). В нашем случае
.
По [11, стр. 205] принимается
допустимым коэффициент обжима равный
1.39..1.31 и уменьшается его значение на
3..5%. Вследствие этого принимается
предельный коэффициент обжима 1.35..1.27,
что соответствует возможности выполнения
обжима за одну операцию при использовании
штампа с боковым подпором, т.к.
[11,
стр. 213].
Эскиз полуфабриката выполняем с помощью программы Solid Works. Для начала строим получаемую деталь, затем прибавляем припуск на обрезку. Высота припуска на обрезку вычисляется исходя из принципа равенства объёмов по формуле:
(2.11)
где
- объёмы заготовки и детали соответственно
(п. 2.1), мм3;
- наружный и внутренний диаметры
обрезаемого припуска, мм.

Данный размер не контролируется, поэтому погрешность вычислений допускает исключение из расчёта радиусов скругления.
Правильность построения проверяем путём пересчёта объема получившейся детали.
Объём исходной заготовки и полученного полуфабриката совпадают, следовательно, построение геометрической формы после обжима горловины выполнено, верно.
2.6 Определение деформирующих усилий и других силовых параметров
Для разделения исходного материала (рис 2.16) используются ножницы с косыми ножами. Усилие резки для них рассчитывается следующим образом [7, стр. 10]:
(2.12)
где P – усилие потребное для разрезки листа, [Н];
S – толщина материала, [мм];
- сопротивление срезу, см. табл. 2.2 [МПа];
- угол наклона ножа (п. 2.4).
Усилие вырубки заготовки из полосы (рис. 2.17) рассчитывается следующим образом [7, стр. 16]:
(2.13)
где L – периметр вырубаемой детали, [мм];
(2.14)
S – толщина материала, мм;
- напряжение среза, МПа (табл. 2.2).
Усилие вытяжки колпачка (рис. 2.18)
рассчитывается следующим образом
[7,
стр. 172]:
(2.15)
где
- средний диаметр на переходе, мм;
- предел прочности для материала, МПа;
- коэффициент, [7 табл. 78]. при
и

Общее усилие для данных операций, производящихся на одном прессе, составляет:
Усилие первой вытяжки с утонением (рис. 2.19) определяем как [7, стр. 172]:
(2.16)
где
- наружный диаметр после n-операции
вытяжки, мм;
- толщины стенки до и после n-й операции
вытяжки, мм;
- коэффициент, равный для стали 1.8-2.25.
Усилие второй вытяжки с утонением (рис. 2.20) определяем по формуле 2.16.
Общее усилие вытяжки с утонением составляет:
Усилие обжима (2.21) определяется
по следующим рекомендациям
[12, стр.
345]:
(2.17)
Усилие выталкивания из
пуансон-матрицы для обжима принимаем
равным
от потребного технологического. Оно
составляет:
(2.18)
2.7 Установление типа, мощности и габаритов оборудования
В листовой штамповке чаще всего используются кривошипные пресса за исключением случаев, когда необходимо достижение большого хода и малого усилия, тогда применяются гидравлические пресса.
Для вырубки и вытяжки используем кривошипный пресс КД2126, т.к. для деформирования потребно 298,58 кН усилия и порядка 32 мм хода. Этот пресс является двустоечным ненаклоняемым с неподвижным столом [9, стр. 28]. Его основные характеристики приведены в таблице 2.4.
Таблице 2.4 – Основные характеристики пресса КД2126.
|
усилие, кН |
макс. работа, кДж |
ход, мм |
закр. высота, мм |
|
|
макс. |
мин. |
|||
|
400 |
1,13 |
10 |
80 |
280 |
Для вытяжки с утонением материала применяется гидравлический пресс П6324, т.к. для проведения техпроцесса требуется усилие порядка 173 кН и ход 160 мм. Необходимость применения данного пресса обусловлена тем, что нужен большой ход ползуна пресса, а кривошипные прессы с таким ходом ползуна имеют усилие порядка 1.56 кН, что даёт очень большой запас мощности пресса для данного техпроцесса.
Его основные характеристики приведены в таблице 2. 5.
Таблице 2.5 – Основные характеристики пресса П6324
|
усилие, кН |
ход макс., мм |
высота в верхнем положении, мм |
|
250 |
500 |
710 |
Обжим горловины осуществляется на гидравлическом прессе П6316А, т.к. для проведения техпроцесса требуется усилие 17 кН и ход 90 мм. Применение гидропресса объясняется тем, что для проведения техпроцесса на кривошипном прессе необходимо оборудование усилием порядка 400кН, чтобы обеспечить требуемый ход, а кривошипные пресса таких размеров имеют значительную закрытую высоту, что исключает возможность установки данного штампа без применения специальных приёмов наладки оборудования. Данный гидропресс является оптимальным вариантом оборудования для данного штампа, т.к. обеспечивает должный запас мощности и значительный ход. Его основные характеристики приведены в таблице 2.6.
Таблица 2.6 – Основные характеристики пресса П6316А.
|
усилие, кН |
ход макс., мм |
высота в верхнем положении, мм |
|
40 |
250 |
400 |
2.8 Установление дополнительных операций и окончательного варианта технологического процесса
В качестве дополнительных операций выступают межоперационный рекристаллизационный отжиг [7, стр. 192]. Температура отжига составляет 600-650˚С, длительность выдержки 20-40 мин., охлаждение на воздухе. При обычном отжиге на поверхности изделий образуется окалина, которую следует удалять с помощью травления в ваннах с составом 15-20% серной или соляной кислот с последующей промывкой в воде [7, стр. 193].
Полный технологический процесс штамповки:
Резать лист 3х1000х2000 на полосы шириной
мм
Контролировать размер
мм.Смазать.
Вырубить и вытянуть за один ход пресса колпачок согласно рис. 2.18
Контролировать размер ф46H24.
Отжечь и протравить.
Смазать.
Вытянуть колпачок с утонением стенки через 2 матрицы Контролировать размер ф40H24.
Отжечь и протравить.
Смазать.
Обжать горловину согласно рис. 2.21.
Контролировать размер ф30H24.
С помощью механообработки срезать припуск. Контролировать размер 65H24/
2.9 Выбор технологических смазок. Способ нанесения и удаления смазки
Назначение смазки при вытяжке заключается в уменьшении трения между материалом и инструментом, снижении напряжения в металле и предохранении штампов от налипания, задиров и царапин. Вытяжные штампы в большинстве случаев выходят из строя не по причине износа, а в следствие образования задиров, царапин и порчи поверхности штампуемых деталей.
Наилучшими являются смазки с большим содержанием наполнителей (мела, талька, графита), снижающие коэффициент трения в два-три раза и повышающие стойкость штампов при применении смазок без наполнителей.
Смазка листового материала перед резкой обычно производится пропуском через вращающиеся войлочные ролики, непрерывно смачиваемые смазкой во время подачи полосы в штамп, либо к ножницам. [7. стр. 185].
С целью использования полезных сил трения, возникающих между вытяжным пуансоном и материалом. рекомендуется смазывать заготовку только со стороны, прилегающей к матрице.
Для малоуглеродистых сталей наилучшие показатели дают смазки следующего состава: 43% веретенного масла, 8% рыбьего жира, 15% графита, 8% олеиновой кислоты, 5% серы (в виде измельченного порошка), 6% зеленого мыла, 15% воды.
Удаление смазки с поверхности отштампованных изделий производится горячим обезжириванием или электролитическим обезжириванием в щелочном растворе.
Рассмотренные материалы применяются также при обжиме [10, стр. 182].
3 Конструкторская часть
3.1 Выявление типа и технологических схем штамповки
Для изготовления колпачка для последующей операции вытяжки с утонением применяется штамп для вырубки и вытяжки за один ход пресса.
В данном штампе заготовка вырубается пуансон-матрицей из подаваемой полосы, а затем вытягивается колпачок, при обратном ходе пресса полуфабрикат выталкивается из пуансон-матрицы выталкивателем от ползуна пресса плоскость матрицы.
Для операции вытяжки колпачка с утонением материала применяется штамп для последовательной перетяжки колпачка через 2 матрицы за один ход пресса.
В данном штампе колпачок устанавливается в отверстие прижима, затем происходит ход пресса и деформация колпачка при прохождении через 2 матрицы. После прохождения второй матрицы полуфабрикат распружинивается и при обратном ходе пуансона снимается с него и падает в отверстие подштамповой плиты.
Для обжима применяется штамп с прижимом боковой поверхности колпачка для исключения потери локальной устойчивости.
В данном штампе колпачок с помощью правого и левого прижимов обжимается, затем происходит деформация заготовки пуансон-матрицей, при обратном ходе пресса освобождаются от обжима прижимы и деталь из пуансон-матрицы выталкивается на поверхность нижней плиты штампа.
Так все вышеперечисленные операции целесообразно применять при многосерийном производстве, то данные пакеты штампа принимаются к разработке.
3.2 Прочностные расчёты деталей и узлов штампов
Проверку на смятие плиты под опорной поверхностью пуансона проводится по формуле по формуле:
, (3.1)
где
- напряжение смятия, МПа;
P – номинальное усилие операции, Н;
F – площадь под опорной поверхностью пуансона, мм2;
- допустимое напряжение смятия, принято
100 МПа.
Для вытяжного штампа:

Для обжимного штампа:

Следовательно условие несмятия плиты выполняется.
Расчёт пуансонов на сжатие в наименьшем сечении:
, (3.2)
где f – площадь в наименьшем сечении пуансона, мм;
- напряжение сжатия, МПа;
- допустимое напряжение сжатия, МПа.
Принимаем для Стали У10А
[10, стр. 283].
Пуансон вытяжного штампа:

Для пуансон-матрицы обжимного штампа:

Следовательно условие несжатия для рассматриваемых пуансонов выполняется.
Расчет свободной длины пуансона на свободный изгиб выполняется для проверки условия жесткости рабочего инструмента.[7. стр. 459]
, (3.3)
где E- модуль упругости, МПа,
принимается
МПа
J - момент инерции сечения,

n=2-коэффицент запаса прочности.
Для круглого пуансона вытяжного штампа:
(3.4)
В данном случае пуансон обеспечит 464,5 мм несгибаемой длины, вместо потребных 155 мм.
Расчёт на изгиб для пуансон матрицы обжимного штампа не проводим в виду заведомой стойкости.
Проверим на разрыв винты крепления пуансон-матрицы обжимного штампа по формуле:
, (3.5)
где P – усилие выталкивателя, Н.
площадь поперечного сечения винта, мм2
- допустимое напряжение на разрыв,
принимаем


3.3 Выбор и расчёт буферных устройств
В качестве буферного устройства используется пружины выталкиватель в штампе для обжима.
Все расчёты пружин выполнены с помощью приложения программного пакета KOMPAS v8 Plus и приведены в приложении.
3.4 Расчет исполнительных размеров пуансонов и матриц
Расчёт исполнительных размеров пуансона и матрицы производим для последней операции вытяжки.
Исполнительные размеры матрицы:
Исполнительные размеры пуансона:
3.5 Разработка рабочих чертежей деталей штампа
Для разработки приняты рабочие детали штампа для вытяжки с утонением: пуансон и матрица, т.к. они являются тему деталями, которые формируют геометрию и размеры получаемой детали: матрица вытяжная и пуансон вытяжной.
Также принята к разработке пуансон-матрица для обжима горловины колпачка.
3.6 Описание конструкций штампов
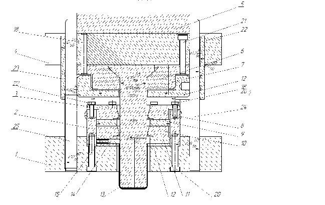
В верхнем положении штампа исходная полоса 9 подаётся вдоль направляющих линеек 4 до упора 5. Затем происходит рабочий ход пресса, начинается вырубка круглой заготовки из полосы 9 в матрице 3, затем вырубленная заготовка упирается в пуансон 1 и начинается вытяжка цилиндрического стакана, прижим в это время опускается вниз и прижимает заготовку от буфера пресса. В конце рабочего хода пуансон 1 поднимается вверх, в нём остаётся отштампованная деталь, которая в последующем выталкивается выталкивателем 7, который находится в отверстии хвостовика пресса.
В верхнем положении ползуна пресса исходная заготовка в виде колпачка с постоянной толщиной стенки устанавливается в кольцо 3, затем происходит опускание ползуна пресса и заготовка проходит сквозь матрицы 8 и 10, где происходит утонение стенок, затем ползушки 11 отпружиниваются и при обратном ходе пуансона снимаются с него. Деталь удаляется в подштамповое пространство сквозь отверстие в плите пресса.

Рисунок 3.1 – Эскиз штампа для вытяжки с утонением
При верхнем положении ползуна пресса исходная заготовка в виде колпачка с утоненными стенками с помощью пинцета устанавливается в рабочую область штампа. Затем происходит опускание ползуна пресса и обжим 4 начинает сдвигать прижимы 3 навстречу друг другу, что приводит к центрированию и зажатию заготовки в рабочей области штампа, затем происходит обжатие заготовки пуансон-матрицей 5 и одновременное сжатие пружин обжима 9 и пружины 7 выталкивателя 6. После прохождения рабочего хода пуансон матрица 5 поднимается вверх и отштампованная заготовка выпадает в область штампа под действием выталкивателя 6.

Рисунок 3.7 – Эскиз штампа для обжима
4. Механизация и автоматизация процесса листовой штамповки
4.1 Механизация и автоматизация подачи материала заготовок
Для штампа вырубки и вытяжки применяют валковую подачу полосы в рабочую область штампа. Для штампа вытяжки с утонением имеется возможность применения шиберной подачи. Штамп для обжима горловины колпачка не имеет возможности применения устройств автоматизации.
4.2 Механизация и автоматизация удаления полуфабрикатов
Удаление колпачка в штампе после вытяжки с утонением материала производится на провал под стол пресса в ящики, которые в последствии заменяются на пустые.
Штамп для обжима горловины колпачка может иметь только ручное удаление детали.
5. Техника безопасности
Особое внимание при конструировании прессов и штампов уделяется системе ограждения штампового пространства, так как в этой зоне максимальное число травм. Штамповое пространство ограждается решетками. Для защиты персонала используют блокирующие устройства, основной деталью которой являются фотоэлектрические датчики, расположенные в штамповом пространстве. Они дают команду на мгновенную остановку пресса при попадании в зону руки. Кроме того, в прессах используют двурукое включение. Здесь необходимо использовать педаль выше пола на 100 мм.
Также необходимо следить за уровнем освещенности на рабочем месте, ибо плохая освещенность может привести к различным видам травм.
6. Организация рабочего места
Надлежащая организация производства и правильное использование цеховых транспортных средств невозможны без правильно выбранной производственной тары. Необходимо пользоваться специально разработанной металлической тарой, рассчитанной для данной продукции и для применяемых транспортных средств. Пользоваться случайной деревянной тарой не рекомендуется. Металлическая тара должна быть приспособлена для многоярусного хранения груза, для подъема и перемещения автопогрузчиком, штабелером или краном.
В организацию рабочего места штамповщика входят:
- правильная и наиболее удобная планировка рабочего места, включая способы и места укладки заготовок, готовых изделий и отходов;
- необходимая подготовка материалов и полуфабрикатов;
- обеспечение рабочего места вспомогательным инструментом;
- содержание в исправности и рабочей готовности пресса и штампы;
- содержание рабочего места в чистоте т порядке.
Планировка и организация рабочего места зависят от вида и размеров заготовки (полоса, лента, лист, штучный полуфабрикат), степени механизации работ и степени механизации работ и способа подачи заготовок (ручная, автоматическая), способа удаления деталей (на провал, с обратным выталкиванием и ручным удалением, с автоматическим удалением – сбрасыванием), типа пресса (вертикальный, наклоняемый, одностоечный, двустоечный закрытый…), мощности (усилия) пресса и размеров штампуемых деталей.
Выводы
В ходе выполнения курсового проекта была проанализирована технологичность детали типа «Гильза», выполнен анализ вариантов изготовления данной детали. В результате анализа для производства детали был выбран комплект штампов, состоящий из штампа для вырубки и вытяжки, штампа для вытяжки с утонением, а также обжимного штампа.
Проведен расчет исполнительных размеров пуансонов и матриц, а также выполнены расчеты буферных устройств и проверочные расчеты пуансонов, на ЭВМ был выполнен расчет оптимального листа для штамповки, а также другие вспомогательные расчёты.
Данная технология изготовления детали предусматривает проведение 2 рекристаллизационных отжигов.
Перечень ссылок
И.П. Ренне, Б.Н. Любарский, В.Н. Поляков, В.М. Губин, А.К. Педан, Прогрессивная технология изготовления полых стальных цилиндрических заготовок// Кузнечно-штамповочное производство. -1969 г. № 8– с. 46-47
И.М. Жвик, А.С. Шаров, Повышение точности и степени деформации при вытяжке с утонением// Кузнечно-штамповочное производство. -1975 г. № 2– с. 20-21
Е.Ю. Береговая, С.И. Вдовин, С.А. Москвитин, Н.В. Петров, Расчёт переходов вытяжки// Кузнечно-штамповочное производство. -2004 г. № 9– с. 26-28
В.И. Елистратов, В.А. Сандовенко, Опыт применения твёрдых сплавов для оснащения вытяжных штампов// Кузнечно-штамповочное производство. -1997 г. № 6– с. 31-32
П.Г. Ковтун, О.А. Рожков, Некоторые факторы, определяющие способность листовой стали к глубокой вытяжке// Кузнечно-штамповочное производство. -1961 г. № 6 – с. 7-13
Л.Е. Басовский, В.П. Кузнецов, И.П. Рене, П.И. Татаринов, Н.И. Чупеев, Ресурс пластичности при вытяжке с утонением// Кузнечно-штамповочное производство. -1977 г. № 5 – с. 27-30
Романовский В.П. Справочник по холодной штамповке. — 6-е изд., перераб, и доп—Л.: Машиностроение. Ленингр. отд-ние, 1979. — 520 с, ил.
Анурьев В.И. Справочник конструктора-машиностроителя: В 3 т. Т1 – 8 изд., перераб. и доп. Под ред. И.Н. Жестковой. – М.: Машиностроение, 2001. – 920 с.: с ил.
Рудман Л.И. Наладка прессов для листовой штамповки. – М.: Машиностроение, 1980. 219 с.
Аверкиев Ю.А., Аверкиев А.Ю. Технология холодной штамповки: Учебник для вузов по специальностям «Машины и технология обработки металлов давлением» и «Обработка металлов давлением». – М.: Машиностроение, 1989. 304 с.: ил.
Ковка и штамповка: Справочник: В 4 т. 4 Листовая штамповка / Под ред. А.Д. Матвеева; Ред. совет: Е.И. Семенов (пред.) и др. – М.: Машиностроение, 1985-1987.-544 с., ил.
Справочник конструктора штампов: Листовая штамповка/Под общ. ред. Л.И. Рудмана. – М.: Машиностроение, 1988. - 496 с.: ил. – (Б-ка конструктора)
Зубцов М.Е Листовая штамповка: Учебник для студентов вузов, обучающихся по специальности «Машины и технология обработки металлов давлением».-3-е изд., перераб. и доп. – Л.: Мамшиностроение. Ленингр. отд-е, 1980.-432 с. С ил.






