Технологічні процеси виготовлення заготовок
ЗМІСТ
Вступ
1. Виготовлення заготовок литтям
2. Виготовлення заготовок і виробів тиском
Висновок
Література
Вступ
Тема реферату «Технологічні процеси виготовлення заготовок».
Мета написання реферату - ознайомлення з технологічними процесами виготовлення заготовок при виготовленні машин.
1. Виготовлення заготовок литтям
Галузь машинобудування, що займається виготовленням заготовок литтям, називається ливарним виробництвом. Близько 40% заготовок для машин (за масою) виготовляють цим способом. Для окремих машин цей показник значно вищий (для тракторів - 60%, текстильних машин - 78%, металорізальних верстатів - 80-85%).
Литтям виготовляють заготовки різних конфігурацій, розмірів і маси з різних металів і сплавів (чавуну, сталі, міді, алюмінію, їх сплавів), із пластмас, кераміки, скла, гуми та інших матеріалів. Це простий, дешевий, іноді єдиний спосіб формоутворення. Точні способи лиття дають змогу одержувати заготовки з високою точністю розмірів і малою шорсткістю поверхонь. Іноді це готові деталі.
Суть ливарного виробництва полягає в тому, що фасонні заготовки (іноді деталі) виготовляють заливанням розплаву в ливарні форми, порожнини яких за розмірами і конфігурацією відповідають цим заготовкам. Такі заготовки називають відливками.
Ливарні форми можуть бути разовими і багаторазовими (постійними і напівпостійними). їх можна виготовляти з різних матеріалів - піщано-глиняних сумішей, вогнетривів, гіпсу, цементу, чавуну або сталі та ін. Заливати розплав у форми можна під дією гравітаційних сил, під впливом відцентрової і гравітаційної сил, під тиском, вакуумним засмоктуванням.
Існують різні способи виготовлення заготовок литтям. Серед них прогресивні технології - лиття в кокіль, відцентрове лиття, лиття під тиском, електрошлакове лиття, лиття в оболонкові форми та ін.
Загальна технологія виготовлення відливків включає такі процеси: підготовку ливарних матеріалів і виплавлення ливарних сплавів; виготовлення форм і їх підготовку; заливання форм розплавом; звільнення відливків від форм; очищення відливків та їх контроль.
Ливарні сплави повинні мати такі властивості, як: добра рідкотекучість (здатність добре заповнювати форму), невелика усадка, мала ліквація (неоднорідність хімічного складу в різних частинах відливка). Для виплавлення ливарних сплавів використовують ливарні печі (для чавуну - вагранки, для сталі -конвертери, мартенівські, електричні печі, для кольорових металів та їх сплавів - електричні печі). Іноді використовують раніше виплавлені метали і сплави. їх переплавляють і використовують для заливки.
Лиття в піщано-глиняні форми.
Такі форми є одноразовими, їх виготовляють зі спеціальної піщано-глиняної (формової) суміші. До складу цієї суміші в певних пропорціях входять кварцовий пісок, глина та різні домішки (протипригарні, зв'язуючі, пороутворюючі та ін.). При цьому способі для кожної відливки потрібно виготовляти форму. Щоб її виготовити необхідно мати: модель (аналог) деталі та ливникової системи; підмодельну плиту, на яку буде встановлюватися модель деталі; стрижень, для утворення у відливку отвору або заглибини (виготовляють стрижні з піщано-глиняної суміші); опоку (ящик), в якій виготовляється сама форма. Крім цього потрібні ливарні інструменти, за допомогою яких виконуються всі операції при виготовленні форми.
Процес виготовлення форми називається формуванням. Розрізняють формування ручне і машинне. Ручне формування трудомістке і вимагає багато часу. До того ж, під час виготовлення форми дуже часто виникають дефекти, тоді форму руйнують і виготовляють знову. Більше 90% разових форм виготовляють машинним формуванням.
При машинному формуванні процеси наповнення та ущільнення формової суміші, виймання моделі з форми механізовано. Машинне формування застосовують у серійному і масовому виробництвах. Воно забезпечує кращу якість відливка, поліпшення умов праці, підвищення продуктивності, не вимагає високої кваліфікації робітників. Для машинного формування використовують пресові, струшувальні, піскометальні, комбіновані машини.

Виготовляють
разові форми з двох (іноді більше) частин.
Спочатку виробляють нижню нівформу,
потім верхню, а далі їх складають. Перед
складанням внутрішні поверхні півформ
очищають від випадкових частинок
формової суміші стисненим повітрям
(обдувають) і, якщо у відливку має бути
отвір, вставляють стрижень 1 (рис. 1). Далі
верхню півформу накладають на нижню.
Положення опок у процесі складання
форми фіксується штирями
2.
Форма готова до заливання.
Рис. 1. Відливок (а) і форма для його виготовлення (б)
Для підвищення міцності форм, їх іноді підсушують. Це роблять при виготовленні великих відливків.
Заливають форми металом за допомогою ковшів. Заливання потрібно проводити безперервно і рівномірно. Ливникова чаша має бути повною, струмина металу однакового поперечного перерізу. Форми розміщують зручно для заливання - на підлозі, на конвейєрі, на візках. Далі залиті металом форми подають на охолодження, час якого залежить від маси відливка, виду сплаву, властивостей формової суміші.
Після охолодження відливки вибивають із форм. Для цього використовують вибивні решітки, коромисла, вібраційні столи. Стрижні вибивають на пневматичних вібраційних машинах. Великі стрижні вимивають сильним струменем води під тиском 3-10 МПа.
Відливки, звільнені від форм і стрижнів, подають на обрубування, де видаляють ливникову систему. А далі їх очищають (щітками, пневматичними зубилами, в обертових барабанах, дробом, піском, водою, стисненим повітрям).
Техніко-економічні показники.
При такому способі можна виготовляти будь-які відливки (за формою, розмірами, конфігурацією), технологія виготовлення відливків проста, такий процес можна організувати на будь-якому підприємстві, відливки мають низьку собівартість. Не можна не наголосити на негативних моментах. Це невисока продуктивність, низька якість відливків, великі припуски на механічну обробку, великі витрати ливарних матеріалів, низький рівень механізації й автоматизації, велика кількість браку.
Лиття в кокіль.
Кокіль - це металева багаторазова форма, для виготовлення якої використовують чавун або сталь. У такій формі можна виготовляти сотні тисяч відливків.
Кокіль (рис. 2) складається з двох половин 7 і 8, які центруються напрямними штирями 3. У зовнішніх стінках кожної половини для швидкого охолодження кокілю вилито пальці 9. Розплав заливають у чашу 4, і стояком 2 та живильниками 1 він надходить до порожнини форми 10. Для виходу газів зроблено винор 5. Для утворення у відливку отвору служить стрижень 6. Стрижні тут можуть бути металеві та зі стрижневої суміші. Для виходу повітря з форми під час заповнення її рідким металом у площині рознімання на різній висоті прорізують вентиляційні канали завглибшки 0,3-0,5 мм.
Перед заливанням поверхню металевої форми ретельно очищають від попереднього облицювання і покривають протипригарними покриттями, щоб ізолювати від стикання з рідким розплавом і збільшити термін її служби, поліпшити поверхню відливка, зменшити швидкість охолодження і запобігти відбілюванню чавуну. Крім того, перед заливанням кокіль нагрівають до 250-300°С.
Техніко-економічні показники.
Лиття в кокіль - високопродуктивний процес. У кокілях одержують точні за розмірами відливки із дрібнозернистою структурою і хорошими механічними властивостями. При такому литті зменшуються площі цеху, поліпшуються умови праці робітників. Цим способом можна одержувати відливки з чавуну, сталі, сплавів кольорових металів. Разом з тим кокілі дорогі, мають низьку газопроникність і піддатливість, що призводить до утворення тріщин, газових раковин. Відливки з сірого чавуну мають відбілену поверхню, що погано обробляється і такі відливки перед обробкою різанням потребують термічної обробки. Такий спосіб лиття вигідний у випадку простих форм відливків.

Рис. 2. Металева форма (кокіль)
Відцентрове лиття.
При відцентровому литті розплав заливають у форму, що обертається навколо горизонтальної або вертикальної осі (рис. 3). Розплав відтісняється до стінок форми відцентровою силою. Форму обертають до повного затвердіння розплаву.

Рис. 3. Схеми відцентрового лиття
Процес відцентрового лиття відбувається на машинах з горизонтальною і вертикальною осями обертання. На машинах з горизонтальною віссю обертання отримують відливки значної довжини (труби, гільзи). Швидкість обертання форми забезпечує однакову товщину стінок по довжині. На машинах з вертикальною віссю обертання отримують відливки невеликої висоти, через різницю товщини стінок по висоті.
Техніко-економічні показники.
При відцентровому литті виготовляють якісні відливки з дрібнозернистою структурою. Відливки мають підвищену щільність і міцність у поверхневому шарі. Цим способом можна виготовляти тонкостінні відливки, безшовні труби з непластичних сплавів. Цей процес високопродуктивний. Проте відцентровим литтям виготовляють тільки такі відливки, що мають форму тіл обертання. Важко отримувати відливки зі сплавів, схильних до ліквації, а труби із сірого чавуну мають відбілену поверхню.
Л
иття
під тиском. При цьому способі лиття
розплав заповнює металеву форму під
тиском поршня або стисненого повітря
(рис. 4).
Рис. 4. Схема лиття під тиском
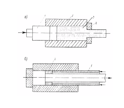
Розплав подається порціями у вертикальну камеру пресування 2. При русі вниз поршень 1 тисне на розплав, котрий через живильний канал 3 заповнює порожнину прес-форми 5. Дається невелике витримування до 30 секунд. Залишок розплаву 6 виштовхується п'ятою 4. Далі рухома частина прес-форми 8 відводиться і відливок 7 легко вилучається. Для отримання отворів і внутрішніх порожнин використовують металеві стрижні. Прес-форму, як і кокіль, перед початком роботи підігрівають і змащують. Тиск поршня при пресуванні досягає 200МПа. Машини для лиття під тиском мають холодну і гарячу камеру пресування.
Техніко-економічні показники. При литті під тиском одержують відливки високої точності (11-13 квалітети), з малою шорсткістю поверхні, складної конфігурації, з тонкими стінками, зі сплавів з поганою рідкотекучістю. Цим способом можна одержувати відливки з різьбою, отворами до 2мм, написами. Процес високопродуктивний: продуктивність сучасних машин при роботі в автоматичному режимі сягає 3000 відливків за годину.
Лиття під тиском застосовують лише для сплавів легких металів (алюмінієвих, магнієвих), рідше для цинкових і мідних, не використовують для сталі та чавуну. Процес дорогий, тому що прес-форми виготовляють із дорогих легованих сталей (вони дорожчі за кокілі у 3-5 разів). Маса відливків не більша 50 кг.
Якісні відливки можна виготовляти й іншими прогресивними способами - литтям за виплавлюваними моделями, в оболонкові форми, вакуумним засмоктуванням, електрошлаковим.
Кожен із цих способів має свої особливості, галузі використання, переваги і недоліки.
Для виявлення причин відхилення якості відливків від заданої, порушень технологічного процесу, встановлення відповідності режимів і послідовності виконання технологічних операцій, відповідності якості матеріалів для виготовлення відливків в ливарних цехах проводять технологічний контроль.
Ретельному контролю піддають відливки, ливарне оснащення, весь технологічний процес на всіх стадіях виготовлення відливків.
Контроль відливків спочатку здійснюють візуально, для виявлення дефектів, які можна виправити (тріщини, раковини, пригар, недолив). Це зовнішні дефекти.
Але є такі зовнішні дефекти, котрі виправити неможливо (перекіс, коробления). В такому випадку відливки відбраковують (вони повертаються на переплавлення).
Крім зовнішніх дефектів є внутрішні, для виявлення яких потрібні інші методи контролю.
Це рентгеноскопія, дефектоскопія, магнітоскопія, ультразвукові дослідження. їх проводять у спеціально оснащених лабораторіях.
Внутрішніми дефектами є усадкові та газові раковини, гарячі й холодні тріщини, шлакові включення. Вибірково проводять руйнівні методи контролю (наприклад, механічні випробування на міцність, твердість).
2. Виготовлення заготовок і виробів тиском
До обробки тиском належать технологічні процеси одержання заготовок, напівфабрикатів і готових виробів (деталей) із чорних і кольорових металів і сплавів шляхом деформування в холодному або гарячому стані.
Обробці тиском піддаються і неметалеві матеріали (керамічні, пластмаси, склопластики, порошки металів та ін.). Ця обробка ґрунтується на пластичності метеріалів, тобто їх здатності при певних умовах сприймати під дією зовнішніх сил залишкові деформації. При цьому тіло змінює свою форму і зберігає її.
Явище пластичної деформації можна пояснити на металах. Між атомами металевого тіла діють сили взаємного притягування і відштовхування.
У вільному стані ці сили взаємно врівноважені, атоми знаходяться у стані стійкої рівноваги. При зовнішній дії атоми виходять із вихідного стійкого стану. Зовнішнім проявом цього є зміна розмірів і форми тіла. Якщо відхилення не перевищує віддалей між атомами, зберігається їх початкове оточення, вони при звільненні від зовнішніх сил повернуться в початковий стан.
При більших змінах атоми більше відхиляються від положення рівноваги і в певний момент виходять із початкового оточення, далі займають нове положення стійкої рівноваги (рис. 5).
Форма тіла змінюється безповоротно. Має місце пластична деформація. При переміщенні атомів на відповідних площинах кристалічної решітки проходить ковзання однієї частини кристалу відносно іншої.
Пластична деформація приводить до значної зміни фізичних, хімічних і механічних властивостей. Змінюються розміри і форма зерен, утворюється волокниста структура.
Р
ис.
5.
Схема ковзання при пластичній деформації
Пластичність матеріалів залежить від хімічного складу сплаву, температури нагріву перед обробкою, швидкості деформації. Так, чисті метали більш пластичні, ніж їх сплави, з підвищенням температури пластичність металів і сплавів також підвищується. Проте існує оптимальна температура, при якій пластичність найвища. Зі збільшенням швидкості деформації пластичність падає. Важливим є правильний вибір режимів нагрівання заготовок. При неправильно вибраних режимах нагрівання (температура і швидкість нагрівання, час витримування) мають місце такі явища як: окислення заліза і вуглецю в поверхневому шарі; перегрівання і перепалювання. При перегріванні утворюються великі кристали (зерна) і знижується пластичність (це можна виправити термічною обробкою), при перепалюванні окислення проходить на границях зерен, метал стає крихким і при деформаціях руйнується.
Для правильного вибору режимів нагрівання перед обробкою тиском металів і сплавів використовують діаграми стану. Нагрівають заготовки перед обробкою тиском у полуменевих та електричних печах. За принципом дії їх поділяють на камерні (температура всього об'єму однакова) і методичні (температура в різних частинах печі неоднакова).
Основними способами обробки металів тиском є прокатування, волочіння, пресування, вільне кування і штампування.
Прокатування. Прокатуванням називається процес, при якому виливок або заготовка деформується обертовими валами прокатного стану. При цьому довжина і ширина заготовки збільшується, а товщина зменшується. При прокатуванні одержують готові вироби або заготовки для наступної обробки вільним куванням, штампуванням, волочінням, пресуванням або різанням. Прокатують біля 80% сталі та більше половини кольорових металів і сплавів. Для одержання потрібного профілю заготовку прокатують багаторазово.
Є три основні схеми цього процесу - прокатування поздовжнє, поперечне і поперечно-гвинтове (рис.6).

Рис. 6. Схеми прокатування
При поздовжньому прокатуванні (рис. 6 а) валки обертаються в різні боки, деформуючи заготовку, яка рухається перпендикулярно до осей валків. Обов'язковою умовою прокатування є контактне тертя між валками та деформованим металом. Умова захвату - коефіцієнт тертя між валками і заготовкою має бути більший від тангенса кута захвату (а)
При поперечному прокатуванні (рис. 6 б) валки обертаються в один бік і осі їх паралельні, а заготовка деформується ними при обертанні навколо своєї осі.
При поперечно-гвинтовому прокатуванні (рис. 6 в) прокатні валки обертаються в один бік, осі їх розташовані під певним кутом, а заготовка обертається і водночас переміщується вздовж своєї осі.
Інструментом прокатування є валки. Вони можуть мати гладку поверхню, ступінчасту, рівчакову (калібровану) (рис.7). Валки одержують литтям із відбіленого чавуну або з вуглецевої і легованої сталі.
Обладнанням для процесу прокатування є прокатні стани. Прокатний стан має привід, передавальний механізм і робочу машину. Робоча машина має одну або декілька робочих клітей. Прокатні стани класифікують за призначенням, кількістю клітей, кількістю валків у них, схемою розміщення клітей.

Рис. 7. Прокатні валки
Сукупність
профілів різного поперечного перерізу
і розмірів, що одержують при прокатуванні,
називають сортаментом.
Розрізняють
сортовий (простий і фасонний) (рис.
8
а, б), листовий, трубний і спеціальний
(рис. 8
в) п
рокат.
Рис. 8. Сортамент прокатування
Техніко-економічні показники.
Прокатування є високопродуктивним процесом. Годинна продуктивність прокатного стану визначається за формулою:
А
=
,
т/год.
де, G - маса заготовки;
К- коефіцієнт використання стану (0,85-0,90);
Т- ритм прокатування.
Прокатний стан може виготовити за рік до 4 млн. т прокату.
Прокатуванню властивий високий вихід придатних виробів і малі втрати металу. Відходи становлять 5-7%. Заготовки максимально наближені до готових виробів, тобто якість виробів висока. Цей процес характеризується високим рівнем комплексної механізації й автоматизації. Більшість процесів повністю автоматизовані. Разом з тим, при прокатуванні значні витрати енергетичні - 50-650 квтгод/т. І як наслідок - підвищення собівартості окремих профілів.
Волочіння.
При волочінні заготовки протягують через отвір. При цьому збільшується довжина і зменшується поперечний переріз заготовки (рис. 9). Заготовки протягують найчастіше в холодному, рідше в гарячому стані.
Заготовками для волочіння є прокат (прути, труби, дріт), а також пресовані вироби (прути, труби). При волочінні зменшується діаметр цих заготовок, поліпшується їх якість.

Рис. 9. Схема волочіння
Інструментом во точіння є волочильна дошка (волока, матриця), в якій зроблено один або декілька отворів. Отвір називають вічком або фільєром. Вічко має 4 зони (рис. 10) -вхідну зону 1, робочий конус 2, калібруючу стрічку 3 і вихідну зону 4. Робоча частина матриці виготовляється з інструментальних сталей, твердих сплавів і технічних алмазів. Якщо вихідний переріз треба значно зменшити, то волочіння повторюють декілька разів.
Обладнання для волочіння - це волочільні стани. Вони бувають барабанні та ланцюгові. Волочільні стани складаються з двох частин - волоки і тягнучого пристрою. Перед волочінням кінець заготовки загострюють так, щоб він міг вільно пройти через вічко волоки. Для зменшення тертя в отворі заготовку змащують графітом, мінеральними маслами. У волоці дріт наклепується і зміцнюється. Для усунення наклепу її піддають термічній обробці (відпалюванню).

Сортаментом волочіння є дріт, в тому числі дуже тонкий (до 0,01 мм), калібровані прути різного діаметра і профілю, труби з тонкими стінками і малими діаметрами (в тому числі капілярні труби), призматичні і сегментні шпонки, напрямні та інші заготовки (рис. 11).
Р
ис.
11.
Профілі, одержані волочінням
Техніко-економічні показники.
Процес волочіння високопродуктивний. Виготовлені вироби мають високу точність і малу шорсткість поверхні. Волочільні стани мають просту будову, тому процес волочіння відзначається високою ефективністю, роботою цих станів легко керувати, є можливості їх автоматизації. Відходи при волочінні до 5%.
Пресування.
При пресуванні метал 3 витискають пуансоном 1 із замкненої порожнини (контейнера) 2 через отвір певного поперечного перерізу у матриці 4 (рис. 12). Поперечний переріз виробів відповідає формі поперечного перерізу отвору.

Рис.
12.
Схеми пресування
Заготовками для пресування є прокатні заготовки, нарізані зі сталі, кольорових металів і сплавів. Усі метали і сплави, крім свинцевих, пресують гарячими.
За схемами пресування буває пряме і зворотне. При прямому (рис. 12а) заготовка 3 і пуансон 1 рухаються в один бік. Частина заготовки залишається в контейнері 2 (це прес-залишок). Маса його становить 8-12% від маси заготовки. При зворотному пресуванні (рис. 12 б) матриця 4 встановлюється на кінці пустотного пуансона 1. Матриця переміщується разом з пуансоном а метал заготовки витискається їй назустріч, тобто в напрямі, зворотному до руху пуансона. При зворотному пресуванні буває менше відходів (залишок становить 6-10%), воно потребує менших зусиль.
Матриці, пуансони, прес-шайби виготовляють із високолегованих сталей і сплавів, що містять вольфрам, ванадій, хром, молібден та ін.
Обладнанням для пресування є горизонтальні та вертикальні гідравлічні преси. Частіше використовують горизонтальні.
Сортамент пресування близький до прокатного. Пресуванням можна одержати труби із зовнішнім діаметром 200- 400 мм і товщиною стінки 1,5-12 мм, прути, дріт, кутники, швелери, багато інших складних спеціальних профілів (рис. 13). Ряд профілів неможливо дістати іншим способом.

Рис. 13. Профілі, одержані пресуванням
Техніко-економічні показники.
Найважливішим показником пресування є дуже висока якість пресованих виробів. Ці вироби значно якісніші аналогічних прокатних. Матрицю можна змінювати, а отже, виготовляти невеликі партії заготовок, не знижуючи ефективності виробництва. Є змога виготовляти невеликі заготовки і складних профілів. Процес високопродуктивний. Важливим недоліком пресування є значні втрати металу (прес-залишок). Крім того, вироби, одержані пресуванням, мають високу собівартість.
Вільне кування.
Вільним куванням називається обробка пластичних металевих матеріалів статичним або динамічним тиском. Це один із найдавніших способів обробки тиском. При куванні формоутворення деталі здійснюється під дією молота або преса. Зміна профілю заготовки відбувається в тому напрямку, де метал зустрічає найменший опір. Заготовку при куванні, якщо потрібно, повертають.
Вихідними заготовками при куванні є виливки, прокат, пресовані вироби. Вироби після кування називають поковками. Вони мають різні форми, розміри і масу - від дрібних до дуже великих (турбінні диски, вали гідрогенераторів, деталі гідротурбін, колінчасті вали судових двигунів, валки прокатних станів тощо).
Вільне кування буває ручне та машинне.
Ручне кування виконують у кузнях на ковадлі за допомогою ручного молота. Машинне кування виконують на ковальсько-пресових машинах з використанням ковальських інструментів. Інструментами для вільного кування є молоти, сакири, прошивки, обтискачі, розкатки та ін. На ковальських молотах (це машини динамічної дії) кують дрібні та середні поковки (до 2 т). Маса падаючих частин молотів становить 0,5-16 т. На пресах кують важкі деталі. Це машини статичної дії. Вони здійснюють зусилля до 20000 т. Тривалість деформації становить від одиниць до десятків секунд. Поковки, виготовлені на пресах мають точніші розміри, кращі механічні властивості. Режими їх роботи більш стійкі.
Основними операціями вільного кування є осаджування, висаджування, протягування (з оправкою і без оправки), прошивання отворів, рубання, гнуття, скручування, зварювання та ін. (рис.14).
Р
ис.
14. Основні операції вільного кування
Техніко-економічні показники.
Після кування покращуються механічні властивості заготовок - підвищується міцність, пружність та ін. Його ефективно використовують в індивідуальному та дрібносерійному виробництвах, для одержання поодиноких та оригінальних заготовок. За останні роки набуло широкого застосування ручне вільне кування. В Україні створено товариство ковалів, які виконують замовлення для Німечини, Франції, Польщі, Росії. Водночас слід відмітити, що процес вільного кування трудомісткий і низькопродуктивний. Куванням виготовляються тільки заготовки, вони вимагають значної механічної обробки. Підвищити продуктивність при куванні можна підвищенням рівня механізації трудомістких процесів.
Штампування.
Кування заготовок у стальних формах (штампах) називають штампуванням. Заготовки виготовлені штампуванням також називаються поковками.
Штампування буває гарячим і холодним.
Гаряче – заготовки перед штампуванням нагрівають, при холодному їх штампують без наїріву. Крім того штампування поділяють на об'ємне і листове (рис. 15).
Об'ємне штампування здебільшого буває гарячим (може бути і холодним), листове штампування частіше холодне (може бути і гарячим).
Об'ємне штампування дає змогу деформувати заготовку по всьому об'єму. Метал тече в порожнині штампа, утворюючи заготовку потрібної форми. Спочатку з прокату нарізають заготовки певного розміру, далі їх нагрівають, штампують і обрізають задирки. Іноді проводять термічну обробку. Таким способом можна виготовляти дуже складні вироби.

Рис. 15. Схеми штампування:
а-об'ємне; б-листове
Листове штампування - процес одержання виробів або заготовок із листового матеріалу. Листи товщиною більше 10 мм нагрівають. Листовим штампуванням одержують деталі автомобілів, літаків, вагонів, мотоциклів та ін. Це високопродуктивний і прогресивний процес.
Інструментом для штампування є шталти. Вони придатні лише для одинакових поковок (одного профілерозміру чи однієї операції). Штампи виготовляють з високоякісних інструментальних сталей. Вони складаються з двох частин - рухомої та нерухомої, в котрих є порожнини (рівчаки). Верхня частина закріплюється на рухомій частині машини, нижня - на нерухомій. Штампи бувають однорівчакові та багаторівчакові, відкриті і закриті.
Обладнанням для штампування є молоти, преси, кувальні машини. Гаряче штампування здійснюють на пароповітряних фрикційних молотах, кривошипних, фрикційних і гідравлічних пресах, горизонтально-кувальних машинах, листове - на гідравлічних і механічних пресах.
Техніко-економічні показники.
Продуктивність штампування в десятки разів більша від кування, а кваліфікація робітників потрібна значно менша. Заготовки, одержані штампуванням, мають високу якість, часто вони вимагають незначної обробки, іноді вона зовсім не потрібна. Такі заготовки точні і взаємозамінні. Особливо це характерно для листового штампування. При штампуванні можна одержувати дуже складні заготовки і вироби. З усіх способів обробки тиском штампування є одним із найрозповсюдженіших способів виготовлення заготовок. Недолік штампування - це те, що штампи є дорогими і витрати на їх виготовлення виправдовують себе лише при випуску значної кількості поковок. Штампування вигідне лише в масовому і великосерійному виробництвах.
Висновок
У процесі написання реферату ми ознайомилися з технологічними процесами виготовлення заготовок, такими способами як : лиття та тиском.
Література
Колотило Д.М. Системи технологій і екологія промисловості – К., НМКВО, 1992 – 143 с.
Основы технологии важнейших отраслей промышленности. Ч.I, II/ Под ред. И.В. Ченцова – Минск, Вышейшая шк., 1989
Технологічні процеси галузей промисловості: Навч. посіб. / За ред.. Д.М. Колотила, А.Т. Соколовського – К, КНЕУ, 2008 – 372 с.