Типы сварочных соединений
1. Технология сварки стали
Подготовка конструкций к сварке
Подготовка конструкций к сварке разделяется на три этапа:
обработка кромок, подлежащих сварке;
сборка элементов конструкции под сварку;
дополнительная очистка, если она требуется, собранных под сварку соединений.
Обработка кромок конструкций, подлежащих сварке, производится в соответствии с чертежами конструкций и согласно требованиям ГОСТ 5264–80 и других ГОСТов на основные типы и конструктивные элементы швов сварных соединений. Кромки соединений под сварку обрабатывают на кромкострогальных или фрезерных станках, а также путем кислородной и плазменной резки на специальных станках. Размеры элементов кромок должны соответствовать требованиям ГОСТ.
Важным этапом подготовки конструкции к сварке является сборка под сварку. Под ручную дуговую сварку конструкции собирают при помощи сборочных приспособлений или прихваток. Состав сборочных приспособлений: струбцины 1 выполняют разнообразные операции по сборке углового металла, балок, полос и т.п.; клинья 2 используют для сборки листовых конструкций; рычаги 3 – для сборки углового металла и других конструкций; стяжные уголки 4 и угловые фиксаторы 8 – для сборки листовых конструкций; домкраты 5 – для стягивания обечаек, балок и других конструкций; прокладки с клиньями 7 – для сборки листовых конструкций с соблюдением величины зазора; стяжные планки 10 и угольники. И – для сборки листовых конструкций под сварку без прихваток. Применяют и другие типы приспособлений.
Перед сборкой обработанные элементы конструкций должны быть измерены, осмотрены их кромки, а также прилегающий к ним металл, тщательно очищены от ржавчины, масла, краски, грязи, льда, снега, влаги и окалины. В цеховых условиях элементы конструкций собирают на стеллажах – плитах, имеющих пазы для установки в них приспособлений (болтов, стяжек, штырей и т.п.), крепящих собираемые элементы по размерам, предусмотренным в чертежах. Используются также простейшие стеллажи из горизонтальных балок, установленных на стойках высотой 200–400 мм. На 13.3 показан пример сборки листовых конструкций с помощью простейших приспособлений и сборки конструкций из профильного металла – углового, двутаврового и т.п. Кромки собранных конструкций, подлежащие сварке, по своей форме и размерам должны соответствовать чертежам и стандартам.
Стыки конструкций по мере сборки закрепляют прихватками – короткими сварными швами для фиксации взаимного расположения подлежащих сварке деталей. Прихватки размещают в местах расположения сварных швов, за исключением мест их пересечения Длина прихваток для сталей с пределом текучести до 390 МПа должна быть не менее 50 мм и расстояние между ними – не более 500 м, для сталей с пределом текучести более 390 МПа прихватки должны быть длиной 100 мм и расстояние между ними – не более 400 мм При небольшой толщине собираемых деталей (4–6 мм) прихватки могут быть более короткими (20–30 мм) и расстояние между ними 200–300 мм. При сборке на прихватках громоздких тяжелых конструкций, кантуемых при сварке, расположение прихваток и их величина указываются в проекте производства сварочных работ. Кеудаляемые при сварке прихватки должны выполняться сварщиками, которые впоследствии будут сваривать прихваченные соединения.
Прихватки придают жесткость конструкции и препятствуют перемещению деталей от усадки при сварке, что может привести к образованию трещин, особенно в элементах большой толщины. Поэтому сборку на прихватках применяют при толщине металлов 6–10 мм, а при большей толщине используют сборочные приспособления, фиксирующие форму и размеры конструкций, однако допускающие ее незначительное перемещение от сварочной усадки. Такими приспособлениями являются клиновые стяжки (см. 13.1).
Непосредственно перед сваркой собранные стыки подлежат обязательному осмотру и при необходимости дополнительному исправлению дефектов сборки и очистке.
При сварке в вертикальном положении сила тока уменьшается на 10–20%, при сварке горизонтальных швов – на 15–20% и при сварке потолочных швов – на 20–25%.
Род тока и полярность определяют в зависимости от принятых для сварки электродов, например для электродов МР-3 может быть применен переменный или постоянный ток, для электродов УОНИИ-13/45 – только постоянный ток обратной полярности и т.п.
Скорость сварки (перемещения дуги) в значительной степени зависит от квалификации сварщика и его умения вести процесс сварки с перерывами только на смену электрода. Кроме того, на скорость сварки влияют коэффициент наплавки применяемых электродов и сила сварочного тока. Чем больше коэффициент наплавки и сила тока, тем быстре перемещается дуга и, следовательно, растет скорость сварки. Следует иметь в виду, что произвольное увеличение силы тока может вызвать перегрев электрода.
Коэффициент /С, определяемый по табл. 13.1, зависит от вида покрытия электродов. Например, для электродов с кислым или рутиловым покрытием максимальная величина коэффициента при диаметре 3–4 мм К=45; для электродов с основным покрытием диаметром 3–4 мм Д»=40; с целлюлозным покрытием того же диаметра /(=30.
На основании формулы погонной энергии сварки qn (гл. 3) была выведена приближенная зависимость погонной энергии от площади сечения валика шва, Дж/мм
Яп = Qo Fm t
где Qo – коэффициент, зависящий от типа применяемых электродов или проволоки при механизированных методах сварки; Fm–> площадь сечения валика, мм2.
Для электродов марок УОНИИ-13/45 и СМ-11 величина Qo=65 Дж/мм3. Таким образом, зная погонную энергию, можно легко определить сечение валика шва и наоборот.
2. Типы сварных соединений. Сварные швы
Термины и определения основных понятий по сварке металлов устанавливает ГОСТ 2601–84. Сварные соединения подразделяются на несколько типов, определяемых взаимным расположением свариваемых деталей. Основными из них являются стыковые, угловые, тавровые, нахлесточные и торцовые соединения. Для образования этих соединений и обеспечения требуемого качества должны быть заранее подготовлены кромки элементов конструкций, соединяемых сваркой. Формы подготовки кромок для ручной дуговой сварки стали и сплавов на железоникелевой и никелевой основе установлены ГОСТ 5264–80.

Стыковым соединением называют соединение двух элементов, примыкающих друг к другу торцевыми поверхностями.
ГОСТ 5264–80 предусмотрено 32 типа стыковых соединений, условно обозначенных Cl, C2, С28 и т.д., имеющих различную подготовку кромок в зависимости от толщины, расположения свариваемых элементов, технологии сварки и наличия оборудования для обработки кромок. При большой толщине металла ручной сваркой невозможно обеспечить проплавление кромок на всю толщину, поэтому делают разделку кромок, т.е. скос их с двух или одной стороны. Кромки скашивают на строгальном станке или термической резкой (плазменной, газокислородной). Общий угол скоса (50±4)°, такая подготовка называется односторонней со скосом двух кромок. При этом должна быть выдержана величина притупления (нескошенной части) и зазор, величины которых установлены стандартом в зависимости от толщины металла. Шов стыкового соединения называют стыковым швом, а подварочный шов – это меньшая часть двустороннего шва, выполняемая предварительно для предотвращения прожогов при поседующей сварке основного шва или накладываемая в последнюю очередь, после его выполнения.
При подготовке кромок стали толщиной 8–120 мм. Обе кромки свариваемых элементов скашивают с двух сторон на угол (25±2)° каждую, при этом общий угол скоса составляет (50 ± ±4)°, притупление и зазор устанавливаются стандартом в зависимости от толщины стали. Такая подготовка называется двусторонней со скосом двух кромок. При этой подготовке усложняется обработка кромок, по зато резко уменьшается объем наплавленного металла по сравнению с односторонней подготовкой. Стандартом предусмотрено несколько вариантов двусторонней подготовки кромок: подготовка только одной верхней кромки, применяемая при вертикальном расположении деталей, подготовка с неравномерным пс толщине скосом кромок и др.
Угловым соединением называют соединение двух элементов, расположенных под углом и сваренных в месте примыкания их краев. Таких соединений насчитывается 10: от У1 до У10.
Для толщины металла 3 – 60 мм кромку примыкающего элемента скашивают под углом (45±2) 1°, сварной шов основной и под-варочиый. При этой же толщине и сквозном проваре можно обойтись без подварочного шва. Часто применяют угловое соединение со стальной подкладкой, которая обеспечивает надежный провар элементов по всему сечению. При толщине металла 8–100 мм применяют двустороннюю разделку примыкающего элемента под углом (45±2)°.
Тавровым соединением называют сварное соединение, в котором торец одного элемента примыкает под углом и приварен угловыми швами к боковой поверхности другого элемента. Стандартом предусмотрено несколько типов таких соединений: с Т1 по Т9. Распространенным является соединение, для металла толщиной 2–40 мм. Для такого соединения никакого скоса кромок не делают, а обеспечивают ровную обрезку примыкающего элемента и ровную поверхность другого элемента.
При толщине металла 3–60 мм и необходимости сплошного шва между элементами, что предусматривается проектом конструкции, в примыкающем элементе делают разделку кромок под углом (45±2)°. На практике часто применяют тавровое соединение с подкладкой при толщине стали 8–30 мм, а также соединение с двусторонним скосом кромок примыкающего элемента при толщине стали 8–40 мм. Все эти соединения со скосом кромок примыкающего элемента обеспечивают получение сплошного шва и наилучшие условия работы конструкций
Нахлесточным соединением называют сварное соединение, в котором сваренные угловыми швами элементы расположены параллельно и частично перекрывают друг друга. Стандартом предусмотрено два таких соединения: HI и Н2. Применяют иногда разновидности нахлесточного соединения: с накладкой и с точечными швами, соединяющими части элементов конструкции.
Из перечисленных сварных соединений наиболее надежными и экономичными являются стыковые соединения, в которых действующие нагрузки и усилия воспринимаются так же, как в целых элементах, не подвергавшихся сварке, т.е. они практически равноценны основному металлу, конечно, при соответствующем качестве сварочных работ. Однако надо иметь в виду, что обработка кромок стыковых соединений и их подгонка под сварку достаточно сложны, кроме того, применение их бывает ограничено особенностями формы конструкций. Угловые и тавровые соединения также распространены в конструкциях. Нахлесточные соединения наиболее просты в работе, так как не нуждаются в предварительной разделке кромок, и подготовка их к сварке проще, чем стыковых и угловых соединений. Вследствие этого, а также из-за конструктивной форме некоторых сооружений они получили распространение для соединения элементов небольшой толщины, но допускаются для элементов толщиной до 60 мм. Недостатком нахлесточных соединений является их неэкономичность, вызванная перерасходом основного и наплавленного металла. Кроме того, из-за смещения линии действия усилий при переходе с одной детали на другую и возникновения концентрации напряжений снижается несущая способность таких соединений.
Кроме перечисленных сварных соединений и швов при ручной дуговой сварке применяют соединения под острыми и тупыми углами по ГОСТ 11534–75, но они встречаются значительно реже. Для сварки в защитном газе, сварки алюминия, меди, других цветных металлов и их сплавов применяют сварные соединения и швы, предусмотренные отдельными стандартами. Например, форма подготовки кромок и швов конструкций трубопроводов предусмотрена ГОСТ 16037–80, в котором определены основные размеры швов для различных видов сварки.
3. Сварка арматуры различных классов
В настоящее время в строительстве большой объем сварочных работ приходится на сварку арматуры железобетона. Сварку применяют при изготовлении сварных арматурных изделий, закладных деталей и монтажа сборных железобетонных конструкций (табл. 2).
Таблица 2
|
Способ сварки и его характеристики |
Назначение |
Положение стержней при сварке |
Вид сварки |
|
Дуговая: под флюсом без присадочного металла, автоматическая и полуавтоматическая |
Изготовление закладных деталей: нахлесточное соединение стержней с плоскими элементами |
Статическая и динамическая |
|
|
Тавровое соединение стержней с плоскими элементами |
Вертикальное |
||
|
Ванная под флюсом в инвентарных формах, полуавтоматическая |
Стыковые соединения выпусков одиночных стержней арматуры в местах сопряжения арматуры изделий и сборных железобетонных конструкций |
Горизонтальное Вертикальное |
Статическая, динамическая и многократно повторяющаяся |
|
Ванная одноэлектродная в инвентарных формах с гладкой внутренней поверхностью, ручная |
Горизонтальное |
||
|
Ванная одноэлектродная со стальной желобчатой подкладкой, ручная |
Горизонтальная |
||
|
Одноэлектродная ванно-шовная со стальной желобчатой накладкой, ручная открытой дугой голой легированной проволокой, многослойными швами со стальной желобчатой накладкой, полуавтоматическая |
Горизонтальное Вертикальное |
||
|
Одноэлектродная многослойными швами со стальной желобчатой подкладкой или без нее, ручная |
Вертикальное |
Статическая и динамическая |
|
|
Протяженными швами |
Горизонтальное |
||
|
Ванная многоэлектродная в инвентарных формах с углублением для образования усиления шва |
Горизонтальное |
Статическая, динамическая и многократно повторяющаяся Статическая и динамическая |
Основными видами сварки при монтаже арматурных изделий и сборных железобетонных конструкций являются ручная дуговая и полуавтоматическая сварки покрытыми электродами или сварочной проволокой соответственно. Для армирования железобетонных конструкций применяют горячекатаную сталь по ГОСТ 5781–75*, круглую, гладкую и периодического профиля, которая в зависимости от механических свойств подразделяется на 5 классов: А-I, А-II, А-III, А-IV, А-V (табл. 3).
Таблица 3
|
Класс арматуры |
Способы сварки |
|
|
протяжными швами |
многослойными швами, ванная многоэлектродная, ванная одноэлектродная |
|
|
A-I |
Э42А-Ф – УОНИ 13/45, СМ-11, УП2/45, Э42-Т – АНО-5, АНО-6, АНО-1, Э46-Т – АНО-3, АНО-4, МР-1.МР-3, ОЗС-3, ОЗС-4, ОЗС-6, ЗРС-2 |
Э42А-Ф – УОНИ 13/45, СИ-11, УП-2/45 |
|
А-II |
Э42А-Ф – УОНИ 13/45, СМ-11.УП 2/45, ОЗС-2, Э42Т – АНО-5, АНО-6, АНО-1, Э46Т-АНО-3, АНО-4, МР-1, МР-3, ОЗС-3, ОЗС-4, ОЗС-6, ЗРС-2 |
Э42А-Ф – УОНИ 13/45, СМ-11, УП2/45, ОЗС-2, Э50А-Ф – УОНИ 13/55, ДСК-50, УП 2/55, К-5А, Э55-Ф – УОНИ 13/55У |
|
A-III |
Э42А-Ф – УОНИ 13/45, СМ-11, УП2/45, ОЗС-2 Э50А-Ф – УОНИ 13/55, ДСК-50, УП 2/55, К-5А Э55-Ф – УОНИ 13/55У |
Э50А-Ф – УОНИ 13/55, ДСК-50, УП 2/55, К-5А, Э55-Ф – УОНИ 13/55У |
Примечания:
1. Марки сварочной проволоки указаны в порядке, предпочтительном к применению.
2. Диаметр сварочной проволоки сплошного сечения 2–2,5 мм, порошковой проволоки – 2–3 мм.
3. Звездочкой отмечена марка сварочной проволоки, используемая только при сварке арматуры класса А-II марки 10ГТ.
Стержни арматурной стали класса А-1 должны выпускаться круглыми гладкими; стержни классов А-II, А-III, А-IV и А-V периодического профиля. Каждый класс арматурной стали должен соответствовать ГОСТ 5781–75*.
4. Технологические особенности, которые необходимо учитывать при сварке арматуры и закладных деталей
Сварка стержней арматуры железобетона в монтажных условиях
В железобетонных конструкциях соединение стержней арматуры осуществляется, как правило, одним из электродуговых способов сварки или полуавтоматическим, а именно:
– без стальных скоб-накладок;
– на стальных скобах-накладках;
– с круглыми накладками или с нахлестом;
– в инвентарных формах (медных или графитовых);
– внахлест или втавр с плоскими элементами.
Перед сборкой узлов спряжений стержней арматуры следует убедиться в соответствии классов стали, размеров и взаимного расположения соединяемых элементов проектным и соответствиям ГОСТ 10922–92 собранных стыков под сварку.
Выпуски стержней, закладные изделия и соединительные детали должны быть очищены до чистого металла в обе стороны от кромок или разделки на 20 мм от грязи, ржавчины и других загрязнений. Вода, в том числе конденсационная, снег или лед должны быть удалены с поверхности стержней арматуры, закладных деталей и соединительных деталей путем нагревания их пламенем газовых горелок или паяльных ламп до температуры не выше 100 °С.
При увеличенных, по сравнению с требуемыми, зазорах между стыкуемыми стержнями допускается применение одной вставки, которые должны изготовляться из арматуры того же класса и диаметра, что и стыкуемые стержни. При сварке стержней встык с накладками увеличение зазора должно компенсироваться соответствующим увеличением длины накладок.
Длина каждого выпуска арматуры из тела бетона должна быть не менее 150 мм при нормальных зазорах между торцами стержней и 100 мм – при применении вставки. Следует стремиться изготавливать изделия так, чтобы длина выпусков позволяла вести монтаж и сварку без вставок, т.е. подгонку зазора между выпусками производить на месте монтажа, используя газовую резку.
Сборные железобетонные конструкции, монтируемые только на выпусках, должны собираться в кондукторах, обеспечивающих проектное положение. Сварка стержней железобетонных конструкций, удерживаемых краном, не допускается.
Сборные железобетонные конструкции, имеющие закладные детали, следует собирать на прихватках. Прихватки должны размещаться в местах последующего наложения сварных швов. Длина прихваток должна составлять 15–20 мм, а высота (катет) – 4–6 мм. Количество прихваток должно быть не менее двух. Выполнять прихватки следует, применяя те же материалы и такого же качества, что и материалы для основных швов. Перед сваркой основных швов поверхность прихватки и соседних участков должна быть очищена от шлака и брызг металла. Прихватки должны выполнять обученные сварщики, имеющие удостоверения на право производства этих работ.
Не допускается наличие ожогов и подплавления от дуговой сварки на поверхности рабочих стержней. Ожоги должны быть зачищены абразивным кругом на глубину не менее 0,5 мм. При этом уменьшение площади сечения стержня (углубления в основной металл) не должно превышать 3%. Место механической зачистки должно иметь плавные переходы к телу стержня, а риски от абразивной обработки должны быть направлены вдоль стержня. Резка концов стержней электрической дугой при сборке конструкций или разделке кромок стержней не допускается. Указанные операции следует выполнять специальными электродами для резки арматуры марки ОЗР-2.
Ручная дуговая сварка арматуры протяженными швами
Ручная дуговая сварка арматуры применяется для стыковки вертикальных и горизонтальных стержней. Сварное соединение может быть нахлесточным и с накладками. Нахлесточное соединение выполняют, как правило, протяженными швами, но могут быть применены и дуговые точки. Кроме того, возможны соединения арматурных стержней с длинной и короткой нахлесткой, а также с односторонним или двусторонним швом (рис. 1).

Рис. 1. Нахлесточное сварное соединение арматуры протяженными швами а – с длинной нахлесткой в односторонним швом; б – с короткой нахлесткой и двусторонними швами
Сварные соединения арматуры стержней с накладками, круглыми или уголковыми могут быть длинными и короткими. При этом накладки могут смещаться по длине. Дуговую сварку арматуры выполняют фланговыми швами: двумя односторонними, двумя двусторонними, четырьмя двусторонними, односторонними с «усом» (рис. 2). При сварке арматуры двусторонними швами при наложении второго шва с обратной стороны соединения в нем могут возникнуть продольные горячие трещины. Чтобы предупредить возникновение такого вида трещин необходимы тщательный выбор типа электродов и строгое выдерживание технологического режима дуговой сварки. В зависимости от диаметра стыкуемых стержней протяженные сварные швы могут быть однопроходными и многопроходными. Ток для дуговой сварки выбирают в зависимости от типа электродов. При этом при дуговой сварке арматуры в вертикальном положении ток должен быть на 10–20% меньше, чем для горизонтальных стержней.




Рис. 2.
Ручная дуговая сварка арматуры многослойными швами без дополнительных технологических элементов
При небольших объемах работ и наличии сварщиков высокой квалификации возможна дуговая сварка арматуры многослойными швами без формующих элементов. Таким способом рекомендуется вести дуговую сварку стыковых соединений арматуры в вертикальном положении следующих классов арматурной стали: A-1 (Ø 20 – 40 мм), А-2 (Ø 20–80 мм), А-3 (Ø 20–40 мм). Конструктивные формы торцов арматурных стержней при их стыковке показаны на рис. 3. Формы разделки, углы скосов и их направление, притупление и их размеры, зазоры между торцами стержней стандартизированы.

Рис. 3. Стыковые сварные соединения арматуры, выполненные без дополнительных элементов
а – вертикальных однорядных соосных стержней при свободном доступе с двух сторон к месту сварки; б-то же, при доступности соединения с одной стороны; в-горизонтальных соосных стержней с разделкой торцов
Дуговую сварку арматуры выполняют одиночным электродом. Сварной шов накладывают сначала с одной стороны разделки, затем с другой на всю ее ширину. В процессе заплавления разделки наплавленный металл периодически очищают от шлака. Режим дуговой электросварки устанавливают в соответствии с паспортными данными электродов. Обычно для этого вида электросварки применяют электроды с фтористокальциевым покрытием типа Э55 или Э50А.
Ручная дуговая сварка арматуры с принудительным формированием шва
В ряде случаев по проекту необходимы сварные швы крестовых соединений арматуры с принудительным формированием шва. Для таких арматурных изделий рекомендуется применять стержни диаметром 14–40 мм из стали классов A-1, A-2, А-3. Предварительно стержни собирают в кондукторах, обеспечивающих плотное их примыкание друг к другу, или же фиксации стержней достигают с помощью прихваток сваркой. При этом кондукторы и прихватки не должны препятствовать установке формующих элементов.
Ручная дуговая точечная сварка прихватками двух стержней
В условиях строительной площадки при возведении монолитных железобетонных конструкций зданий и инженерных сооружений в качестве арматурных изделий широко применяют сетки и каркасы, изготовляемые по месту. В таких изделиях имеется множество различных крестовых соединений, сварку которых производят с помощью ручной дуговой сварки точками.
Ограниченное применение большинства марок стали классов А-2 и A-3 вызвано тем, что при точечной сварке в контакте крестового соединения стержней быстро отводится теплота от наплавленного металла, что приводит к местному закаливанию стали, а следовательно, и к повышению ее хрупкости. Особенно чувствительны к указанным термическим воздействиям среднеуглеродистые и низкоуглеродистые арматурные стали.
Ванная полуавтоматическая сварка арматуры под флюсом
Сварка арматуры с применением техники ванной полуавтоматической сварки горизонтальных арматурных стержней выполняется с помощью дополнительных технологических элементов: разъемных форм или съемных подкладок (стальных, медных, графитовых). Наиболее благоприятные условия кристаллизации металла шва создаются в медных и графитовых формующих устройствах, что позволяет получить металл шва с высокими показателями механических свойств.
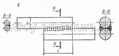
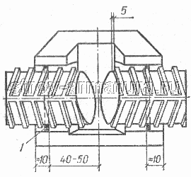
Формующие устройства устанавливают симметрично зазору между торцами стыкуемых стержней арматуры (рис. 4). На расстоянии 40–50 мм от вертикальной оси стыка на стержни накладывают 2–3 витка шнурового асбеста для плотного примыкания арматуры к форме. Затем в плавильное пространство засыпают 20–30 г. флюса. Если используют медные формы, то до их установки флюс засыпают на дно формы слоем в 5–7 мм. Такая мера позволяет усилить сварной шов в нижней части стыка.

Рис. 4. Установка разъемных форм и медной подкладки на свариваемые стержни при ванной сварке арматуры
1 – шпуровой асбест; 2 – флюс; 3 – центрирующая рамка – указатель границ плавильного пространства
Возбуждают сварочную дугу, касаясь концом проволоки нижней кромки торца арматурного стержня. Проплавление нижней части торца стержня происходит при колебательных движениях проволоки поперек оси стержней в течение 5–15 с. Затем аналогичную операцию проплавления выполняют со вторым стержнем. Схемы перемещения конца электродной проволоки во время сварки арматуры при заполнении ванны жидким металлом показаны на рис. 5. При сварке арматуры диаметром 45 мм и более можно использовать присадку в виде металлической крупки, опилок, рубленой проволоки в количестве 25–35% от объема металла сварного шва. Для поддержания оптимальной глубины шлаковой ванны (15–20 мм) периодически порциями добавляют флюс.

Рис. 5. Схемы перемещения конца электродной проволоки (показано стрелками) при полуавтоматической ванной сварке горизонтальных стержней арматуры (форма условно не обозначена)
а – в начальный период проплавления нижних кромок торцов стержней (к – точка касания электродной проволокой торцов стержней для возбуждения дуги); б – в процессе заполнения разделки стержней; в-на заключительном этапе 1 – флюс; 2 – электродная проволока; 3 – шлаковая ванна; 4 – металл шва.
Дуговую сварку стыковых соединений вертикальных стержней под флюс, как правило, выполняют в съемных медных или графитовых формах. После возбуждения дуги конец электродной проволоки перемещают колебательными движениями по схеме, приведенной на рис. 6. После полного проплавления торца нижнего стержня во избежание подреза верхнего стержня в процессе электросварки регулируют напряжение, снимая его ступенями на 15–25% (2–4 раза). Режим ванной дуговой сварки стыковых соединений вертикальных стержней аналогичен сварке горизонтальных арматурных стержней.

Рис. 6. Схемы перемещения конца электродной проволоки при полуавтоматической ванной сварке стержней со скосом торца нижнего стержня к сварщику (форма условно не обозначена)
а – в начальный период проплавления нижней части торца нижнего стержня; б – в процессе проплавления средней части торца нижнего стержня; в-то же, срезанного торца верхнего стержня и заплавления разделки стержней; г – на заключительном этапе
1 – арматурный стержень; 2 – электродная проволока; 3 – флюс; 4 – шлаковая ванна; 5 – металл шва.
Полуавтоматическая сварка арматуры открытой дугой голой проволокой (СОДГП) на стальной скобе-накладке
Полуавтоматическую сварку арматуры открытой дугой голой проволокой (СОДГП) применяют для сварки соединений вертикальных и горизонтальных стержней при установке арматуры монолитных железобетонных конструкций и в монтажных условиях. Эта сварка арматуры многослойная и производится с помощью легированной сварочной проволоки диаметром 1,6 и 2 мм марок Св-20ГСТЮА и Св-15ГСТЮЦА. Сборку стыковых соединений арматурных стержней ведут на остающихся стальных желобчатых накладках. Накладки эти крепятся к арматурным стержням двумя прихватками.

Рис. 7. Техника наплавки многослойных швов при дуговой сварке арматуры открытой дугой голой проволокой горизонтальных соединений стержней (цифры указывают порядок наплавки слоев)
При сварке горизонтальных стержней арматуры используют легирующую проволоку диаметром 2 мм. Последовательность и схема перемещения проволоки при заполнении разделки показана на рис. 7.
В процессе заплавлення разделки возможен перегрев арматурных стержней. Во избежание этого рекомендуется вести последовательно дуговую сварку арматуры двух-трех соединений. В этом случае разделку первого стыка заплавляют на 60–70% его объема после чего переходят на второй стык, а затем на третий. Заполнив наплавленным металлом третий стык на 60–70% объема вновь переходят на первый стык, заполняют все его плавильное пространство наплавленным металлом и в той же последовательности заваривают остальные стыки. Заканчивают электросварку стыка путем наплавки двух фланговых швов с катетом 8–12 мм. Стыки вертикальных стержней арматуры сваривают так же как и горизонтальных. После заплавлеиия стыкового пространства фланговые швы накладывают в направлении сверху вниз. Последовательность накладки сварных швов показана на рис. 8.

Рис. 8. Техника наплавки многослойных швов при сварке арматуры открытой дугой голой проволокой вертикальных соединений стержней (цифры указывают порядок наплавки слоев)
При указанных способах сварки арматуры открытой дугой голой проволокой (СОДГП) для горизонтальных и вертикальных стержней рекомендуются следующие классы арматурных сталей (в скобках указан диаметр стержней в мм): А-1 (20–40), А-2 (20 – 80), А-3 (20–40), Ат-3С (20–22), Aт-4C (20–28). Отношение диаметров арматурных стержней (меньшего к большему) должно находиться в пределах 0,5–1,0. Стали класса Ат-3С и Aт-4C следует сваривать на удлиненной до 4d скобе-накладке.
Проволока для механизированной дуговой сварки арматуры
При механизированной сварке под флюсом, в защитных газах и без дополнительной защиты, самозащитной проволокой и для сварки с принудительным формированием шва используют электродную проволоку сплошного сечения и трубчатую (порошковую), представляющую собой стальную круглого сечения оболочку, наполненную порошком. Для сварки углеродистых и низколегированных конструкционных сталей в защитных газах применяют следующие марки электродной проволоки: Св-08ГС, Св-12ГС, Св-08Г2С, Св-08ГСМТ. Для сварки многослойными швами без дополнительной защиты низкоуглеродистых, среднеуглеродистых и низколегированных сталей применяют легированную электродную проволоку марок Св-15ГСТЮЦА и Св-20ГСТЮА.
Порошковую проволоку используют как для сварки, так и для наплавки. Для изготовления порошковой проволоки применяют ленту из низкоуглеродистой стали марки 08КП холодного проката. В настоящее время промышленность выпускает пять типов порошковой проволоки (рис. 9) диаметром 1,2–3,6 мм.
порошковая проволока простого
сечения с одной продольной щелью
порошковая проволока простого
сечения с двумя продольными щелями
порошковая проволока сложного
сечения с одним заформованмым концом
стальной ленты
порошковая проволока сложного
сечения с двумя заформованными концами
стальной ленты
порошковая проволока трубчатого
сечения без продольной щели
Рисунок 9. Сечение порошковой проволоки разных типов.
Для дуговой сварки низкоуглеродистых, низколегированных и среднелегироваиных сталей в зависимости от способа сварки применяют различные виды и марки порошковой проволоки: самозащитные проволоки общего назначения марок ПП-АН1, ПП-АН7, ПП-2ДСК; проволоки общего назначения для сварки в углекислом газе марок ПП-АН8, ПП-АН21; самозащитные проволоки для сварки с принудительным формированием шва, например марок ПП-АН15, ПП-АН19Н, ПП-2ВДСК; проволоки для сварки в углекислом газе с принудительным формированием шва марок ПП-АН5 и ПП-АНЗС.
Контактная точечная сварка арматуры
Основным видом арматуры железобетонных конструкций являются пересекающиеся стержни в виде сеток и плоских каркасов. Для сварки таких арматурных конструкций, а также для приварки внахлестку круглых арматурных стержней к элементам плоского проката (полосовой, уголковой и другой сортовой стали) применяют контактную точечную сварку.
Контактная точечная сварка дает ряд преимуществ по сравнению с другими видами сварки: возможность повышения производительности труда благодаря более низкой трудоемкости при изготовлении арматурных каркасов и сеток по сравнению с электродуговой сваркой; небольшое потребление электроэнергии вследствие применения жестких режимов сварки с использованием тока большой плотности в течение очень малого отрезка времени; возможность механизации и автоматизации процесса; отсутствие расхода металла (в электродах).

Рисунок 10. Контактная точечная сварка арматуры
Схема протекания тока при контактной точечной электросварке: 1 – вторичный виток трансформатора; 2 – медные шины; 3 – хобот; 4 – электрододержатель; 5 – электрод; 6 – арматурный стержень
Сущность процесса контактной точечной сварки арматуры состоит в следующем. От вторичного витка сварочного трансформатора через медные шины, хоботы, электрододержатели и электроды ток подводят к пересечению арматурных стержней, зажатых между электродами (рис. 10). Электроды имеют водяное охлаждение. Сопротивление в месте соприкасания арматурных стержней во много раз превышает сопротивление остальных участков цепи, поэтому именно в этом месте интенсивно выделяется тепло, которое нагревает металл арматурных стержней до пластического состояния. Под действием усилия сжатия электродов происходит их сварка.
Чтобы получить сварные соединения требуемой прочности, необходимо выполнять сварку на определенных режимах. Режим сварки выбирают в зависимости от диаметра свариваемой арматуры и марки стали, из которой она изготовлена. Правильность выбора режима сварки проверяют контрольным испытанием прочности на срез сварных образцов арматуры.
Если прочность сварных соединений арматуры из-за непровара окажется менее требуемой, то увеличивают плотность тока или время его протекания. Если прочность недостаточна из-за пережога, эти же показатели соответственно уменьшают.
При недостаточной плотности тока сварка арматуры может оказаться невозможной даже в том случае, если время протекания тока будет очень длительным; при чрезмерно большой плотности арматурные стержни могут перегореть.
Плотность тока в машинах контактной точечной сварки регулируют переключением ступеней сварочного трансформатора, а продолжительность протекания тока – перемещением указателя на электронных регуляторах времени.
Для контактной точечной сварки применяют специальные машины, которые по числу одновременно свариваемых узлов сеток и плоских каркасов разделяют на одноточечные, двухточечные и многоточечные.
Машины для точечной сварки бывают стационарными и подвесными; с односторонним и двухсторонним подводом тока; с пневматическим и пневмогидравлическим механизмом сжатия электродов. Управление продолжительностью протекания тока осуществляют автоматически.
В связи с развитием строительства из железобетона в направлении создания крупных железобетонных панелей и других элементов возникла необходимость укрупнительной сборки арматурных каркасов и сеток. Для этой цели созданы передвижные (подвесные) сварочные машины, так как на обычных сварочных машинах выполнять точечную сварку такой арматуры невозможно ввиду ее громоздкости и большой массы.
Подвесные сварочные машины разделяют по конструктивному признаку на две группы: со встроенным сварочным трансформатором и с выносным. Все машины выполнены по одной схеме и состоят из следующих основных узлов: корпуса с рукояткой, сварочного трансформатора, силового пневмопривода, электродной части (клещей) и подвесного устройства, позволяющего поворачивать машину и клещи вокруг своей оси на 360°.
Подвесные машины с выносным трансформатором, кроме того, снабжают токоведущими кабелями.
Свариваемость арматуры
Свариваемость углеродистой стали (ГОСТ 380–71*) обеспечивается технологией изготовления и соблюдением всех требований по химическому составу, предъявляемых к стали Б и В. Поставка стали группы Б с гарантией свариваемости оговаривается в заказе и в сертификате. Сталь, содержащую в готовом прокате более 0,22% углерода, применяют для сварных конструкций при условиях, обеспечивающих надежность сварного соединения. Сталь марок ВСт1, ВСт2, ВСтЗ всех категорий и всех степеней раскисления, в том числе и с повышенным содержанием марганца, а по требованию заказчика сталь марок БСт1, БСт2, БСтЗ второй категории всех степеней раскисления, в том числе и с повышенным содержанием марганца, поставляется с гарантией свариваемости. Свариваемость низколегированной арматурной стали всех марок, кроме 80С, также обеспечивается химическим составом и технологией изготовления. Сварка термически упрочненной арматурной стали не допускается из-за ее разупрочнения в зоне сварного шва.
Сталь арматурная термически упрочненная свариваемая имеет в обозначении марки индекс «С». Например, условное обозначение свариваемой арматурной стали диаметром 14 мм класса Ат-4: 14Aт-4С ГОСТ 10884 – 81, а свариваемая сталь с повышенной стойкостью к коррозионному растрескиванию под натяжением обозначается индексом «СК», Ат-5СК. Согласно ГОСТ 10922–75, временное сопротивление сварных соединений арматурной стали класса Ат, выполненных контактно-стыковой, контактно-точечной и шовно-стыковой сваркой, не должно быть менее наименьшего значения браковочного минимума,
Низкоуглеродистые стали (содержание углерода до 0,22%) относятся к категории хорошо свариваемых всеми видами сварки на слабых режимах без дополнительных технологических операций. Среднеуглеродистые стали (содержание углерода 0,23–0,45%) в процессе сварки требуют таких дополнительных операций. Так, для повышения стойкости металла шва к образованию кристаллизационных трещин снижают количество углерода в нем, применяя сварочные электроды с пониженным содержанием углерода, а также уменьшая долю основного металла в сварном шве. Уменьшение вероятности образования закалочных структур в металле шва может быть достигнуто с помощью предварительного и сопуттвующего подогрева изделий.
Таблица 4. Предварительный подогрев сталей (перед сваркой)
|
Сталь |
Рекомендуемые режим подогрева, oC. |
|
Низкоуглеродистая |
120–150 (на многослойных швах, при сварке изделий толщиной более 40 мм) |
|
Среднеуглеродистая |
150–300 |
|
Высокоуглеродистая |
300–450 |
|
Низколегированная |
200–250 |
Таблица 5. Термообработка сталей после сварки
|
Сталь |
Ориентировочный режим термообработки |
|
Углеродистая |
Отпуск при 650–670 oC. В ряде случаев после электрошлаковой сварки нормализация при 920–940 oC с последующим отпуском |
|
Низколегированная |
(повышенной прочности) Отпуск при 670–700 oC |
Низколегированные стали, содержащие менее 2,5% легирующих компонентов и до 0,22% углерода, как правило, обладают хорошей свариваемостью. Применяемые для изготовления арматуры железобетонных конструкций низкоуглеродистые стали марок 18Г2С, 25Г2С, 25ГС, 20ХГ2Ц относятся к категории удовлетворительно свариваемых. Эти стали содержат не более 0,25% углерода. Если углерода больше 0,25%, в зоне сварного шва могут возникнуть закалочные структуры и трещины, а также порообразование за счет выгорания углерода. В табл. 4 приведены рекомендуемые режимы подогрева термообработанных сталей перед, а в табл. 5 после сварки. Следует иметь в виду, что рекомендуемые предельные значения критериев свариваемости сталей непостоянны и могут изменяться в зависимости от развития сварочной техники и технологии.
Контактная стыковая сварка арматуры
Контактная стыковая сварка является эффективным способом соединения стержней, так как не требует для своего осуществления металла плавящихся электродов; обеспечивает высокую производительность труда, а также позволяет механизировать и автоматизировать рабочий процесс.
Недостатком контактной стыковой сварки является возможность ее использования только в стационарных условиях из-за значительной массы сварочного оборудования и большого потребления электрической энергии.
Сущность процесса контактной стыковой сварки состоит в следующем. Электрический ток подключают к свариваемым стержням и, приводя последние в соприкосновение, образуют замкнутую электрическую цепь (рис. 11).

Рисунок 11. Электрическая цепь при стыковой контактной сварке
1 – свариваемые стержни; 2 – зажимные губки; 3 – вторичный виток сварочного трансформатора; 4 – первичная обмотка сварочного трансформатора; Rм – сопротивление свариваемых стержней; Rк – контактное сопротивление
В этой цепи наибольшее сопротивление протеканию тока имеет стык стержней, следовательно, в этом месте будет наиболее интенсивно выделяться тепло, которое разогреет концы стержней до пластического, и частично до жидкостного состояния.
Различают два способа контактной сварки:
стыковая контактная сварка непрерывным оплавлением
стыковая контактная сварка прерывистым оплавлением с предварительным подогревом.
Контактную стыковую сварку стержней горячекатаной арматуры из стали классов A-2…A-4 (в любых сочетаниях) следует выполнять способом прерывистого оплавления с подогревом. Арматуру из стали класса A-1 необходимо сваривать способом непрерывного оплавления; при недостаточной мощности машины их можно сваривать также способом оплавления с подогревом.
Для образования начального электрического тока на торцах арматуры необходимо удалить с них краску или ржавчину. Если арматурные стержни были обрезаны газовым пламенем, то их торцы предварительно очищают от шлаковой корки зубилом или молотком. На качество сварных стыковых соединений оказывает влияние чистота поверхности касания стержней с зажимными губками машины.
Режим контактной стыковой сварки должен обеспечивать получение равнопрочных стержней сварных соединений при минимальном расходе электроэнергии и времени.
Основными параметрами режима сварки являются: сила тока или его плотность, длительность протекания тока, давление осадки, а также установочная длина, т.е. размеры концов стержней, выступающих из электродов.
В зависимости от плотности тока (ток на мм2 поверхности) различают два режима стыковой контактной сварки:
жесткий режим, характеризующийся большой плотностью тока п течение малого промежутка времени (для стержней небольших диаметров),
мягкий режим с малой плотностью тока в течение длительного периода (для стержней больших диаметров).
Плотность тока при сварке непрерывным оплавлением –10…50 А/мм2. Длительность протекания тока колеблется от 1 до 20 с в зависимости от диаметров арматурных стержней; с увеличением диаметра длительность протекания тока увеличивается.
Для качества сварного стыкового соединения имеет также значение удельное давление осадки на торец стержня (кг/мм2); выбирается оно в зависимости от класса стали. Удельное давление осадки для стали класса A-1 принимают 30…50 МПа, классов А-2 и А-3 – 60…80 МПа. Усилие сжатия арматурных стержней во время подогрева должно составлять 10… 12% давления осадки. Продолжительность замыканий и размыканий дуги при подготовке стержня к сварке выбирают в пределах 0,3–0,8 с.

Рисунок 12. Внешний вид стыковых соединений арматуры, выполненных контактной электросваркой при правильном (а) и неправильном (б) режимах сварки
От правильности выбора режима сварки приближенно судят по внешнему виду сварных соединений (рис. 12). При правильном режиме стыковой контактной сварки концы арматурных стержней достаточно прогреваются и при взаимном сжатии приобретают форму, показанную на рисунке. Подтверждение правильности выбранного режима можно получить только после лабораторных испытаний сварных соединений на прочность.
В процессе работы сварщик должен наблюдать за состоянием контактных губок и периодически очищать их от появляющегося нагара. Необходимо иметь комплект губок различной формы и размеров во избежание возможных перерывов в работе при изменении диаметров свариваемой арматуры.

Рисунок 13. Шаблон для проверки смешения осей стержней в стыках, выполненных контактной сваркой
Сваренные стержни должны быть прямолинейными. Смещение осей стержней в стыках допускают не более 0,1 их диаметра. Длину стержня измеряют с точностью до 1 мм. Смещение а осей в месте стыка определяют специальным шаблоном (рис. 13). Помимо внешнего осмотра место соединения арматуры простукивают молотком массой 1 кг; при этом не должен возникать дребезжащий звук.
Изготовление закладных деталей
Закладные детали изготавливают из арматурных стержней и проката (листового и профильного). Применяют мягкие, хорошо свариваемые стали, обычно СтЗ группы Б и В. Одной из распространенных является закладная деталь, состоящая из стальной пластины и арматурного стержня, сваренного с ней тавровым соединением (рис. 14).

Рис. 14. Тавровое соединение анкерного стержня с плоским элементом закладной детали с раззенкованнымн отверстиями
Стержень с пластиной сваривают с помощью сварочных автоматов типа АДФ-2001УХЛ4. Для таврового соединения стержня с пластиной применяют ручную дуговую сварку через предварительно раззенкованное отверстие. После сварки шов зачищают заподлицо с плоскостью пластины. Соединять пластину со стержнем можно и в горизонтальной плоскости (рис. 15).

Рис. 15. Соединения стержней с плоскими элементами в горизонтальной плоскости
Н – направления наплавки швов; М – места прихваток
Нередко тавровое соединение арматурного стержня со стальной пластиной осуществляют при помощи рельефной сварки. При этом контактная рельефная сварка может выполняться в торец, т.е. стержень сваривается перпендикулярно плоскости пластины (рис. 16) и внахлестку. Рельефы на пластинах получают при помощи механических прессов или пресс-ножниц. Рельефы по форме круглые или цилиндрические, а по количеству одиночные или двойные. Режим сварки выбирают в зависимости от толщины соединяемых элементов закладной детали и числа точек сварки.

Рис. 16. Тавровое соединение контактной рельефной сваркой
1 – арматурный стержень; 2 – электрод; 3 – плоский элемент закладаой детали; dв – диаметр углубления; dр – диаметр основания рельефа; dн – диаметр стержня; hр – высота рельефа; lп – вылет стержня из электрода
При невозможности использовать для нахлесточного соединения контактную сварку можно применять ручную электродуговую сварку. С помощью сварки осуществляется соединение закладных деталей с элементами арматурных конструкций. В зависимости от класса и марки стали, положения осей соединяемых элементов и вида шва (горизонтальный, вертикальный, нижний) выбирают способ сварки: контактный (точечный, рельефный), ванный, дуговой (многоэлектродный, многослойный, точечный, шовный под флюсом).
Разработаны новые конструктивные и технологические решения, связанные с изготовлением закладных деталей. Появились штампованные и штампованно-сварные закладные детали, что позволило в 1,5–2 раза уменьшить расход стали и в несколько раз повысить производительность труда. Штампованная закладная деталь представляет собой изделие, в котором пластина (столик) и анкер (стержень) составляют одно целое. Специальным штампом их вырубают из одной и той же полосы. Отгиб отштампованных полос (анкеров) и пластины осуществляют гибочными штампами. Изготовление штампованных закладных деталей. может быть полностью автоматизировано. Технологический процесс по производству штампованных деталей предусматривает: вырубку; пробивку отверстий; высадку рельефа (пуклевку); надрезку анкеров; гибку; металлизацию. Некоторые операции могут быть совмещены, например вырубка, пробивка отверстий и высадка рельефа. Большой эффект дает также совмещение штамповки и сварки закладных деталей. При этом анкер с помощью сварки соединяют со специально подготовленной штамповкой рельефной пластиной.
5. Условные изображения и обозначения швов сварных соединений в конструкторской документации
Изображение швов сварных соединений
Шов сварного соединения, независимо от способа сварки, условно изображают: видимый – сплошной основной линией (черт. 1а, в);
невидимый – штриховой линией (черт. 1г).
Видимую одиночную сварную точку, независимо от способа сварки, условно изображают знаком «+» (черт. 1б), который выполняют сплошными линиями (черт. 2).
Невидимые одиночные точки не изображают.
От изображения шва или одиночной точки проводят линию-выноску, заканчивающуюся односторонней стрелкой (см. черт. 1). Линию-выноску предпочтительно проводить от изображения видимого шва.
На изображение сечения многопроходного шва допускается наносить контуры отдельных проходов, при этом их необходимо обозначать прописными буквами русского алфавита (черт. 3).
Шов, размеры конструктивных элементов которого стандартами не установлены (нестандартный шов), изображают с указанием размеров конструктивных элементов, необходимых для выполнения шва по данному чертежу (черт. 4).
Границы шва изображают сплошными основными линиями, а конструктивные элементы кромок в границах шва – сплошными тонкими линиями.

«Черт. 1. Условные изображения различных швов сварных соединений»

«Черт. 2. Выполнение знака видимой одиночной сварной точки»

«Черт. 3. Изображение сечения многопроходного шва»

«Черт. 4. Изображение нестандартного шва с указанием размеров конструктивных элементов»
Условные обозначения швов сварных соединений
Вспомогательные знаки для обозначения сварных швов приведены в таблице.

Вспомогательные знаки для обозначения сварных швов

Вспомогательные знаки для обозначения сварных швов
Примечания:
1. За лицевую сторону одностороннего шва сварного соединения принимают сторону, с которой производят сварку.
2. За лицевую сторону двустороннего шва сварного соединения с несимметрично подготовленными кромками принимают сторону, с которой производят сварку основного шва.
3. За лицевую сторону двустороннего шва сварного соединения с симметрично подготовленными кромками может быть принята любая сторона.
В условном обозначении шва вспомогательные знаки выполняют сплошными тонкими линиями.
Вспомогательные знаки должны быть одинаковой высоты с цифрами, входящими в обозначение шва.
Структура условного обозначения стандартного шва или одиночной сварной точки приведена на схеме (черт. 5).

«Черт. 5. Структура условного обозначения стандартного шва или одиночной сварной точки»
Знак |_\ выполняют сплошными тонкими линиями. Высота знака должна быть одинаковой с высотой цифр, входящих в обозначение шва.
Структура условного обозначения нестандартного шва или одиночной сварной точки приведена на схеме (черт. 6).

«Черт. 6. Структура условного обозначения нестандартного шва или одиночной сварной точки»
В технических требованиях чертежа или таблицы швов указывают способ сварки, которым должен быть выполнен нестандартный шов.
Условное обозначение шва наносят:
а) на полке линии-выноски, проведенной от изображения шва с лицевой стороны (черт. 7а);
б) под полкой линии-выноски, проведенной от изображения шва с оборотной стороны (черт. 7б).

«Черт. 7. Нанесение условного обозначения шва»
Обозначение шероховатости механически обработанной поверхности шва наносят на полке или под полкой линии-выноски после условного обозначения шва (черт. 8), или указывают в таблице швов, или приводят в технических требованиях чертежа, например: «Параметр шероховатости поверхности сварных швов…»
Примечание. Содержание и размеры граф таблицы швов настоящим стандартом не регламентируются.

«Черт. 8. Обозначение шероховатости механически обработанной поверхности шва»
Если для шва сварного соединения установлен контрольный комплекс или категория контроля шва, то их обозначение допускается помещать под линией-выноской (черт. 9).

«Черт. 9. Обозначение шва сварного соединения с установленным контрольным комплексом или категорией контроля шва»
В технических требованиях или таблице швов на чертеже приводят ссылку на соответствующий нормативно-технический документ.
Сварочные материалы указывают на чертеже в технических требованиях или таблице швов.
Допускается сварочные материалы не указывать.
При наличии на чертеже одинаковых швов обозначение наносят у одного из изображений, а от изображений остальных одинаковых швов проводят линии-выноски с полками. Всем одинаковым швам присваивают один порядковый номер, который наносят:
а) на линии-выноске, имеющей полку с нанесенным обозначением шва (черт. 10 а);
б) на полке линии-выноски, проведенной от изображения шва, не имеющего обозначения, с лицевой стороны (черт. 10 б);
в) под полкой линии-выноски, проведенной от изображения шва, не имеющего обозначения, с оборотной стороны (черт. 10 в).
Количество одинаковых швов допускается указывать на линии-выноске, имеющей полку с нанесенным обозначением (см. черт. 10 а).

«Черт. 10. Обозначение одинаковых швов»
Примечание. Швы считают одинаковыми, если:
одинаковы их типы и размеры конструктивных элементов в поперечном сечении;
к ним предъявляют одни и те же технические требования.
Примеры условных обозначений швов сварных соединений приведены в приложениях 1 и 2.
Список использованной литературы
Ручная дуговая сварка, Книга написана коллективом авторов: глава 25 И.Г. Гетия, остальные главы – В. И, Мельником при участии Б.Д. Малышева
Алексеев Е.К., Мельник В.И. Сварка в промышленном строительстве – М Стройиздат, 1977 –377 с
Алешин Н.П. Щербинский В.Г. Контроль качества сварочных работ – М Высш школа, 1986 – 167 с
http://www.stroy-armatura.ru
Межгосударственный стандарт ГОСТ 2.312–72* «Единая система конструкторской документации. Условные изображения и обозначения швов сварных соединений» (утв. постановлением Государственного комитета стандартов Совета Министров СССР от 10 мая 1972 г. №935)