Требования и правила пошива верхней одежды
Государственное образовательное учреждение среднего профессионального образования
Кемеровский профессионально – технический колледж
Тестовые задания
по дисциплине:
«Технология швейных изделий»
Кемерово
Задание №1
Какие виды одежды относятся к группе верхней одежды?
Варианты ответа:
а) блузка б) пижама г) нижняя юбка
Какие требования к одежде относятся к промышленным?
а) антропометрические в) экономичности
б) эргономические г) эксплуатационные
К какому виду одежды относится изделие: медицинский халат?
а) форменная одежда б) верхняя одежда
в) специальная одежда г) санитарная одежда
Из перечисленных определений выберете определение понятия «стежок»?
а) последовательный ряд стежков
б) соединение двух или более слоев материала посредством одного или нескольких швов
в) элемент структуры, полученный путем переплетения одной или нескольких ниток между двумя проколами материала иглой.
Какой из перечисленных предметов относятся к инструментам для ручных работ?
а) булавки б) игла в) манекен г) лекало
Какие из ручных стежков относятся к стежкам временного назначения?
а) прямые наметочные б) косые обметочные
в) петлеобразные стачные г) косые подшивочные
Какую из перечисленных длин сметочных стежков применяют при сметывании деталей с посадкой одного слоя ткани:
а) 17-20мм, б) 15-20 мм.
в) 7-10 мм, г) 20-30 мм?
Какие из перечисленных швов относятся к соединительным?
а) обтачной б) двойной
в) окантовочный г) вподгибку
Найти соответствие между названием шва и графическим изображением:
- накладной с кантом
а
)
б)
в) г)
Какие швы относятся к краевым?
а) настрочной
б) двойной
в) накладной
г) вподгибку с окантованным срезом
Что называется приметыванием?
а) прикрепить подогнутый край;
б) временно соединить две детали примерно равные по величине;
в) временно соединить детали по овальному контуру;
г) временно соединить мелкую деталь с основной.
От чего зависит температура гладильной поверхности утюга?
а) от вида оборудования б) от волокнистого состава ткани
в) от продолжительности контакта
13. Закончите предложение, выбрав правильный вариант ответа:
Паровоздушный манекен предназначен для _
а) для внутрипроцессной ВТО б) межоперационной ВТО
в) окончательной ВТО
Найдите соответствие между термином машинных работ и их значением: втачивание
а) соединить детали настрочным швом;
б) соединить детали по овальному контуру;
в) обработать срезы на краеобметочной машине,
г) соединить две детали с последующим вывертыванием
К
ак
называется шов, изображенный на схеме?
а) обтачной в простую рамку б) двойной
в) накладной г) обтачной в сложную рамку
На какой схеме показана обработка низа изделия «московским швом»?

а) б) в)
При изготовлении каких изделий используется обработка, изображенная на рисунке а)?
а) изделий из тонких тканей
б) изделий из х/б тканей
в) изделий из толстых рыхлых тканей
г) изделий из малоосыпающихся тканей
Операция соединения пояса с верхним срезом брюк называется:
а) обметывание
б) заметывание
в) притачивание
г) стачивание
Какие из перечисленных работ входят в начальную обработку деталей?
а) обработка вытачек
б) обработка рукавов
в) обработка застежек
г) обработка проймы
От чего зависит последовательность соединения рукава с изделием?
а) от вида ткани
б) от конструкции рукава
в) от вида изделия
г) от вида применяемого оборудования
Из предложенных вариантов обработки кармана, выберите тот, который соответствует обработке кармана на задней половинке брюк.
а) б) в)



Установите на каком изображении показана обработка кокетки накладным швом с закрытым срезом:
а) б) в) г)




Со стороны какой детали стачивают плечевые швы изделия?
а) со стороны полочки б) со стороны спинки
Из предложенных вариантов соединения воротника с горловиной изделия выберите тот, который соответствует обработке изделия с отложными лацканами:
а) б) в)



Какие операции не входят в окончательную отделку изделий?
а) обметывание петель б) прокладывание отделочных строчек
в) чистка изделия г) пришивание пуговиц
Как определяют место расположения пуговиц для застегивания?
а) по вспомогательным лекалам
б) по обметанным петлям
в) расчетным способом
Задание №2
Какая одежда используется для защиты человека от опасных и вредных производственных факторов?
а) санитарная б) форменная
в) производственная г) специальная
Каким требованиям отвечает соразмерность изделия телу человека?
а) антропометрическим в) физиологическим
б) эксплуатационным г) конструктивным
К какому виду одежды относится изделие: костюм пожарника?
а) форменная одежда б) верхняя одежда
в) специальная одежда г) санитарная одежда
Как называется место соединения двух слоев материала?
а) строчка б) стежок в) шов г) ширина шва
Какой из перечисленных предметов относятся к приспособлениям для ручных работ?
а) булавки б) игла в) ножницы г) сантиметровая лента
Какие из ручных стежков относятся к стежкам постоянного назначения?
а) прямые наметочные б) косые выметочные
в) петлеобразные копировальные г) косые подшивочные
Какие из перечисленных швов относятся к краевым?
а) запошивочный б) вподгибку
в) настрочной г) с кантом
Какая из перечисленных длин стачного стежка является правильной?
а) 5-7 мм, б) 7-9 мм,
в) 3-5 мм, г) 2-3 мм?
Найти соответствие между названиями и их графическим изображением: соединительный «взамок»




а) б) в) г)
К чему приводит избыточная влага при ВТО?
а) образованию лас
б) пролеганию припусков швов в) увеличению температуры
Какое определение соответствует термину «выметывание»:
а) временно закрепить подогнутый край детали,
б) временно закрепить обтачной и вывернутый на лицевую сторону край детали,
в) прикрепить фурнитуру или отделку.
г) временно соединить детали по овальному контуру,
Для чего применяют декатирование?
а) для устранения заминов б) для предотвращения усадки
в) для удаления лас
Какому термину соответствует следующее определение?
«Соединение мелкой детали с крупной стежками постоянного назначения»
а) обметывание
б) притачивание
в) стачивание
г) настрачивание
К
ак
называется шов, изображенный на схеме?
а) стачной
б) накладной
в) обтачной с кантом
г) окантовочный
Определите вид шва, выпадающий из предложенной группы:
а) шов взамок
б) обтачной в кант
стачной взаутюжку
г) настрочной с закрытым срезом
Выберите требования, которым должны отвечать клеевые соединения?
а) прочность б) драпируемость
в) воздухонепроницаемость г) жеткость
От чего зависят способы обработки нижнего воротника?
а) от вида ткани в) от ассортимента
б) от модели г) от вида применяемого оборудования
Какой шов применяют для соединения накладных карманов с изделием?
а) стачной в) окантовочный
б) обтачной г) накладной
Где допускаются швы в поясе брюк?
а) посередине пояса б) совпадают с боковыми швами
в) совпадает со средним швом г) в местах расположения шлевок
Обработка борта в чистый край предполагает обработку:
а) без отделочной строчки б) с окантованным бортом
в) с отделочной строчкой г) качественную обработку борта
Номер какой операции на схеме соответствует следующему содержанию: настрачивание подогнутого среза стойки воротника

а) 1
б) 2
в) 3
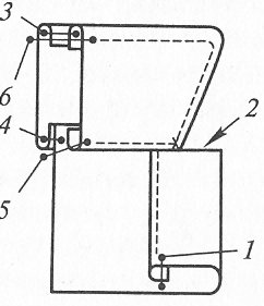
Какой шов используется при соединении воротника с горловиной изделия, изображенного на схеме вопроса №21?
а) обтачной
б) стачной взаутюжку
в) стачной на ребро
г) накладной с закрытым срезом
Из предложенных вариантов обработки горловины, выберите тот, который применяется при изготовлении изделий из толстых тканей:
а
)
б) в)
г)



Установите, на какой схеме вопроса №23 показана обработка среза обтачным швом?
а) б) в) г)
Какая обработка применяется при обработке низа в изделиях из х/б тканей?
а) б) в)

В брюках из каких тканей ВТО передних и задних половинок не выполняют?
а) костюмных
б) шерстяных
в) джинсовых тканей
КЛЮЧ к тесту по дисциплине «Технология швейных изделий» для специальности 260901 «Технология швейных изделий» 1 курс
|
№ вопроса |
1 вариант |
2 вариант |
|
|
А |
Г |
|
|
В |
А |
|
|
Г |
В |
|
|
В |
В |
|
|
Б |
А |
|
|
А |
Г |
|
|
В |
Б |
|
|
Б |
Г |
|
|
Г |
В |
|
|
Г |
А |
|
|
Г |
Б |
|
|
Б |
Б |
|
|
В |
Б |
|
|
Б |
Г |
|
|
А |
Б |
|
|
Б |
А |
|
|
В |
В |
|
|
В |
Г |
|
|
А |
В |
|
|
Б |
А |
|
|
А |
В |
|
|
В |
Б |
|
|
А |
Б |
|
|
Б |
Г |
|
|
Б |
В |
|
|
Б |
В |
Критерии оценки
Каждый правильный ответ оценивается 1 баллом.
Оценка «отлично» ставится, если студент набрал 21-26 баллов;
Оценка «хорошо» ставится, если студент набрал 16-20 баллов;
Оценка «удовлетворительно» ставится, если студент набрал 10-15 баллов