Трубні млини
Міністерство освіти та науки України
Національний університет водного господарства та природокористування
Кафедра дорожніх, меліоративних машин і обладнання
Реферат
На тему:
ТРУБНІ МЛИНИ
Виконала:
Студентка 3-го курсу МЕФ
Групи ОХВ-31
Веремійчик Т.А.
Перевірив:
Науменко Ю.В.
Рівне – 2006р.
План
Вступ
Класифікація млинів
Особливості трубних млинів
Сировинний трубний млин 4,2Х 10 м
Завантажувальна частина
Барабан млина
Розвантажувальна частина
Підшипники млина
Технічна характеристика сировинного трубного млина 4,2X10 м
Трубний кульовий млин 4x13,5
Привід млина
Установка для введення води
Технічна характеристика трубного кульового млина 4X13,5 м
Трубний кульовий млин 3,2X15 м
Завантажувальна частина
Барабан
Кожух
Підшипник
Розвантажувальна частина млина
Сектори перегородки
Діафрагма
Сито
Приймальна камера
Центральний привід млина
Система автоматичного мастила
Станції рідкого мастила
Принцип роботи сировинних і цементних млинів
Технічна характеристика млина 3,2X15 м
Трубний кульовий млин 3,2X8,5
Загальний вид млина
Правий завантажувальний пристрій
Периферійна розвантажувальна частина
Технічна характеристика млина 3,2X8,5 м
Трубний млин 2,6Х 13 м
Технічна характеристика млина 2,6X13 м
Використана література
Вступ
Для помелу цементу, вапна і гіпсу, а також скла, вогнетривких і інших виробів застосовують важкі млини. Конструкція їх і принцип дії залежать від призначення і фізико-механічних властивостей матеріалу, що розмелюється. Трубні млини використовують для помелу як однорідних матеріалів, так і матеріалів з різними коректуючими добавками.
Тонкість помелу характеризується питомою поверхнею готового продукту (в см2/г). Тонкість помелу клінкеру 2800—4500, сировинних матеріалів 2800—3000 см2/г.
1. Класифікація млинів
Трубні млини класифікують:
за принципом роботи — періодичної і безперервної дій;
по характеру роботи — млини, що працюють по відкритому і замкнутому циклу; сюди відносяться кульові млини безперервної дії як мокрого, так і сухого помелу;
за способом помелу - сухого і мокрого помелу;
за формою робочого корпусу — барабанні циліндрові, конічні і трубні циліндрові;
тіл, що формою мелють, — кульові, стрижневі, самоподрібнення (без тіл, що мелють);
за способом розвантаження — з механічним і пневматичним розвантаженням;
по конструкції завантажувального і розвантажувального пристрою — з центральним завантаженням і розвантаженням через порожнисті цапфи, з розвантаженням через грати (з діафрагмою) торця, з периферійним розвантаженням через грати, із завантаженням і розвантаженням через люк в барабані (млини періодичної дії).
В промисловості будівельних матеріалів застосовують в більшості випадків млини безперервної дії, що працюють по відкритому або замкнутому циклу, сухим або мокрим способом.
При обертанні млина тіла, притискувані відцентровою силою до стінок барабана, що мелють, підіймаються на деяку висоту. Під дією сили тяжіння, що долає вертикальну складову сили інерції, тіла, що мелють, падають на шар матеріалу, дроблять його і частково розмелюють. Цільпібси продовжують подрібнювати мілкороздріблений матеріал стиранням.
В млинах відкритого циклу матеріал проходить через робочий простір млина тільки один раз, не класифікується і крупні частинки не повертаються в млин на домол. В млинах замкнутого циклу матеріал після помелу в млині прямує в класифікаційні (сепаруючі) пристрої, де розділяється на готовий продукт (подрібнений до необхідної тонкості) і більш грубий (крупу), який повертається в млин на домол.
Робота млина по замкнутому циклу більш раціональна, оскільки готовий продукт своєчасно віддаляється (відсосується) з робочого простору млина, буферна подушка не створюється, помел решти маси не утрудняє і матеріал не перерозмелюєтся. Млини, що працюють по замкнутому циклу, більш продуктивні і економічні.
2. Особливості трубних млинів
Трубні млини порівняно прості по конструкції, зручні в експлуатації, забезпечують високий ступінь подрібнення, піддаються автоматизації. Проте вони мають істотні недоліки: малі швидкості дії тіл, що мелють, на матеріал, в роботі подрібнення бере участь тільки частина тіл, що мелють; робочий простір барабана використовується всього на 35—45%; висока питома витрата електроенергії (35— 40 кВт год./т цементу); значний знос тіл, що мелють, і футеровки (1—1,2 кг/т цементні клінкери); велика металоємність, високий шум при роботі. При цьому питома продуктивність складає близько 0,1 т/год на 1 т маси млина, к. к. д. 0,005—0,01.
Млини завантажують тілами на 28—35%, що мелють, їх об'єму. Масу і асортимент тіл, що мелють, підбирають шляхом випробувань млина, при яких перевіряють її продуктивність і тонкість помелу в окремих камерах. Знос тіл, що мелють, відшкодовують періодичним довантаженням їх через певні проміжки часу (не рідше ніж через 100 год. роботи). Через тривалий термін роботи (не рідше ніж через 1800 — 2000 год.) тіла, що мелють, повністю замінюють. Здібність матеріалів до подрібнення оцінюється коефіцієнтом розмоловластивостей, що є відношенням питомої витрати енергії при подрібненні еталонного матеріалу до питомої витрати енергії на подрібнення що зіставляється з ним матеріалу при однаковому ступені їх подрібнення. Звичайно еталоном служить цементний клінкер середньої розмелюємо остюки, коефіцієнт розмоловластивості якого приймається за одиницю. Коефіцієнт раз-моловластивості для вапняку 1,2—1,8; для доменного шлаку (гранул) 0,8—1,1; для сухої глини 1,5—2.
Знаючи продуктивність млина при подрібненні одного матеріалу і коефіцієнт размолоспособности, можна визначити продуктивність цього млина при помелі іншого матеріалу.
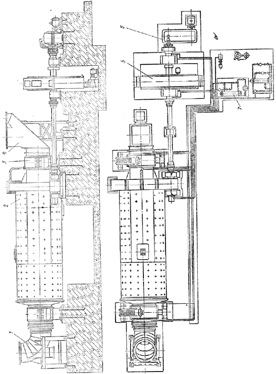
3. Сировинний трубний млин 4,2Х 10 м
Сировинний трубний млин 4,2Х 10 м (мал. 1, 2) призначений для помелу сировини з одночасним тим, що його підсушив при роботі по замкнутому циклу. Вона складається із завантажувальної частини, барабана, розвантажувальної частини, двох корених підшипників, приводу і системи рідкого мастила.
Завантажувальна частина є зварною тічкою для подачі матеріалу, суміщену з газоходом і приєднану до порожнистої цапфи з шнеком.
Барабан млина зварної з листової сталі, внутрішня поверхня його розділена на дві камери: камеру підсушила, оснащену лопатями і пересипним пристроєм, що перелопачують, і камеру помелу, футерованную бронеплитами із сталі Г1ЗЛ або Г1ЗХ2Л і заповнену кулями, що мелють. Для проведення футеровочных і інших ремонтних робіт барабан оснащений люками.
Розвантажувальна частина складається з порожнистої цапфи з шнеком і приєднаного до неї витяжного коліна газоходу зварної конструкції.
Підшипники млина складаються з рами корпусу, вкладиша з бабітовою заливкою і кришки. Вкладиш самовстановлюється охолоджується водою і інтенсивно змазав рідким мастилом від спеціальної автоматичної станції.
Млин обертається від тихохідного електродвигуна через проміжний вал і вінцеву пару. Таке конструктивне виконання приводу викликано необхідністю вільного виходу газовапна подрібненого матеріалу з млина через розвантажувальну частину, у зв'язку з чим типове рішення центрального приводу в даному випадку неприйнятне.
Для провороту млина при ремонтах передбачений допоміжний привід, який здійснює повільний поворот млина від невеликого електродвигуна через редуктор, кулачкову муфту, вал головного електродвигуна, проміжний вал і вінцеву пару.
На млині застосована централізована система мастила, вона здійснюється від двох станцій рідкого мастила продуктивністю 125 і 50 л/хв і однієї станції густого мастила. Станція продуктивністю 125 л/хв забезпечує безперервну подачу масла в підшипники млина, станція продуктивністю 50 л/хв подає мастило в підшипники підвінцевої шестірки і підшипники головного електродвигуна. Автоматична станція густого мастила САГП-200П періодично подає мастило, що розпиляє, на вінцеву пару.
Шихта, призначена для помелу, і сушильний агент (як правило, гази, що відходять від циклонних теплообмінників) поступають в завантажувальну частину млина. Остання забезпечена трубошнеком, подаючим шихту в порожнину барабана. З трубошнека шихта поступає в камеру підсушки, обладнану лопатями, що забезпечують енергійне пересипання шихти (з відповідним просуванням) і одночасно що проводять деяке завихрення газу

Мал. 1. Сировинний трубний млин 4,2Х 10 м;
1 — розвантажувальна частина; 2 — барабан; 3 — підшипник; 4 — завантажувальна частина; 5 — тихохідний електродвигун головного приводу; 6 - редуктор допоміжного приводу; 7 - змащувальна система
перед входом в розмельну камеру. При пересипанні матеріал омивається гарячими газами і висушується майже до необхідної вогкості. Деяка досушка відбувається ще в робочій камері при помелі.
Сушильні гази, проходячи через розмельну камеру, підхоплюють подрібнений матеріал і через розвантажувальну цапфу і газохід виносять його в прохідного сепаратора. При помелі шихти з невеликою вогкістю млин може працювати і без камери підсушки. В цьому випадку остання демонтується і ця ділянка бронюється звичайними бронеплитами.
Технічна характеристика сировинного трубного млина 4,2X10 м

Мал. 2. Подовжній розріз сировинного трубного млина 4,2X10 м:
1 — розвантажувальна частина; 2 — камера помелу; 3 — камера сушка; 4 -- трубошнек; 6 - завантажувальна частина
Продуктивність (при коефіцієнті размолюваності сировинної шихти 1,72, вогкості 6%; тонкість помелу відповідає 10% залишку на ситі № 008
т/год.............................................................................. 130
Зовнішній діаметр корпусу, м .................................. 4,2
Довжина корпусу, м ................................................... 10,0
Довжина камери підсушила, м ....................................... 1,5
Частота обертання млина від приводу, об/хв:
головного............................................................................ 16,53
допоміжного ....................................................................... 0,19
Потужність електродвигуна приводу, кВт;
головного ....................................................................... 2000
допоміжного....................................................................... 40
Частота обертання електродвигуна, об/хв................. 100
Маса, т:
млини без електроустаткування і тіл, що мелють ..... 329,7
тіл, що мелють, при роботі:
з камерою підсушки............................................................ 110
без камери підсушки ........................................................... 140
4. Трубний кульовий млин 4x13,5
Трубний кульовий млин 4x13,5 м (мал. 3, 4) призначений для помелу цементного клінкеру з добавками і різних сировинних матеріалів при мокрому способі підготовки сировини. Млин може працювати як по відкритому, так і по закритому циклу. Вона складається із завантажувальної, середньої і розвантажувальної частин, підшипників, камери розвантаження, приводу млина а системи рідкого мастила. Барабан млина розділений на дві камери подвійною перегородкою.
Перша камера футерована каблучковими самосортуючими плитами, друга — конусно-східчастими плитами або спеціальною гумовою футеровкою (тільки у сировинних млинів). Футеровочні плити, а також сектори, перегородок завантажувальної і розвантажувальної частин виготовлені із зносостійкої сталі. Корпуси підшипника і вкладиша зв'язані по сферичній поверхні.
Привід млина центральний. Передбачений також допоміжний привід, призначений для ремонтної мети.
Млин обладнаний автоматичною змащувальною системою, що включає дві станції рідкого мастила: продуктивністю 125 л/хв. для мастила корінних підшипників і продуктивністю 450 л/хв.. для мастила зубчатих пар і підшипників головного редуктора, а також підшипників основного електродвигуна.

Мал.. 3. Трубний кульовий млин 4x13,5
1 — завантажувальна частина; 2 — підшипник; 3 — середня частина; 4 — розвантажувальна частина; 5 — розвантажувальний кожух; 6 — привід; 7 — система мастила; 8 — допоміжний привід; 9 — електродвигун головного приводу; 10 - установка для введення интенсифікаторів помелу

Мал. 4. Подовжній розріз кульового трубного млина 4X13,5 м
1 — завантажувальна частина; 2 - підшипник; 3 — барабан; 4 - розвантажувальна камера
Кожна станція має робочий і резервний насоси.
Млин випускається для помелу цементного клінкеру і для помелу сировини. Конструктивно вони виконані ідентично і відрізняються тільки тим, що цементний млин комплектується установкою для введення поверхнево-активних речовин і установкою для введення води.
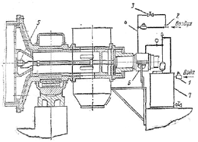
Установка для введення води (мал. 5) призначена для пониження температури і зняття статичної електрики, що виникає в другій камері млина в процесі стирання цільпебсом клінкеру з добавками.
Матеріал, призначений для помелу, подається живильниками-дозаторами в тічку завантажувальної частини (див. мал. 3. 4). По похилій площині матеріал зсипається в трубошнек встановлений в порожнистій цапфі, і при обертанні барабана млина примусово транспортується в першу камеру, де під дією ударів і стираючої дії куль подрібнюється. У міру надходження в млин матеріалу останній поступово просувається уздовж барабана і через міжкамерну щілисту перегородку поступає в другу камеру, де остаточно доподрібнюється і в частині торця другій камери проходить в розвантажувальний пристрій.

Мал. 5. Установка для введення води:
1, 2, 3, 4 — система труб із замочними пристроями і гнучкими шлангами; 5 — форсунка; 6 — вертлюг; 7 - витратний бак з насосом для води
Лопаті розвантажувального пристрою передають матеріал (цемент або шлам) в трубошнек, встановлений в цапфі.
У сировинного млина для мокрого помелу шлам виливається в приймальний пристрій насосної установки, яка перекачує його в гідрокласифікатор або в шламбасейн.
В цементному млині трубошнек подає матеріал в розвантажувальні вікна, через які матеріал зсипається в сито, закріплене на цапфі. Дрібна фракція проходить через щілини сита і поступає в бункер пневмокамерного насоса, крупні включення (гальки осколки куль і інші, сторонні предмети, що випадково потрапили) потрапляють в окрему тічку і нагромаджуються в переносному бункері.
При помелі цементу млин аспірирується з метою усунення пилу, видалення тепла і найдрібнішої фракції матеріалу. Аспірація здійснюється від спеціальної установки, що складається з вентилятора, рукавного фільтру або електрофільтру і осаджувальних циклонів, або аспіраційної шахти. Аспіраційна шахта-повітровід системи підключається до верхнього фланця приймальної камери, внаслідок чого весь млин знаходиться під розрідженням. Повітря засмоктується через завантажувальну тічку. Вся дрібна нещільність в місцях завантаження і вивантаження матеріалу також знаходиться під розрідженням, що усуває пил в цих місцях. В результаті застосування аспірації продуктивність млина збільшується на 8— 10%.
При помелі недоохолодженого клінкеру температура в млині може підійматися вище 100° С, і одної аспірації для зниження температури стає недостатньо. Воду, що в цьому випадку розпилялась, подають в другу камеру- Вода, випаровуючись, йде з аспіраціонним повітрям, знижуючи тим самим температуру готового продукту. Зволожене повітря сприяє також відведенню статичної електрики, що у свою чергу, знижує агрегацію найдрібніших частинок і покращує помел.
Технічна характеристика трубного кульового млина 4X13,5 м
Продуктивність при помелі (при 10%-ному залишку на ситі № 008), т/год:
цементу .......................................................................... 75-100
шламу .......................................................................... 120-160
Діаметр, м........................................................................... 4,0
Довжина барабана ............................................................. 13,5
Частота обертання млина від приводу, об/хв
головного.............................................................................. 16, 2
допоміжного ....................................................................... 0,2
Потужність електродвигуна приводу, kBt:
головного .............................................................................. 3200
допоміжного ......................................................................... 55
Частота обертання електродвигуна, об/хв .................... 500
Напруга, що підводиться, В ............................................... 6000/380
Маса без електроустаткуванні і тіл, що мелють, т............. 486,5
Завантаження тілами, що мелють, т ....................................До 226
5. Трубний кульовий млин 3,2X15 м
Трубний кульовий млин 3,2X15 м випускається для мокрого помелу сировини, для помелу клінкеру у відкритому циклі і для помелу клінкеру по замкнутому циклу (рис 6, 7).

Мал. 6. Сировинний двокамерний трубний млин 3, 2Х 15 м:
1 — завантажувальна частина; 2 — підшипник; 3 — середня частина; 4 — розвантажувальна частина; 5 — проміжне з'єднання; 6 — привід; І, ІІ — камери

Мал. 7. Подовжній розріз млина 3, 2Х 15 м для помелу клінкеру в замкнутому циклі:
1 — завантажувальна частина; 2 — середня частина; 3 — розвантажувально-завантажувальний пристрій; 4 — розвантажувальна частина; 5 - підшипник; 6 - розвантажувальний кожух; 7 — сито; 8 - установка для введення води; 9 — проміжний вал приводу
Млин для помелу клінкеру у відкритому циклі відрізняється від сировинної установками для введення поверхнево-активних речовин і води. Млин складається із завантажувальної частини, підшипників, середньої частини (барабана), розвантажувальної частини, приводу, системи мастила.
Завантажувальна частина (мал. 8) складається з тічки з тумбою, трубошнека і кришки, фанерованої з внутрішньої сторони бронеплитами з високомарганцевистої сталі. Похила тічка зварної конструкції, в її частині, що зноситься, застосована змінна футеровка.

Мал. 8. Завантажувальна частина млина 3,2X15 м:
1 - тумба: 2—тічка: 3 — трубошнек: 4 — кришка з цапфою: 5 - бронефутеровка
Між нерухомою тічкою і кришкою, що обертається, є повстяне ущільнення.
Барабан (див. мал. 6, 7) зварний, виконаний з листової сталі. Внутрішня поверхня барабана футерована бронеплитами із зносостійкої сталі із звуконепроникною прокладкою. Барабан розділений на дві камери. Перша футерована каблучковими самосортуючими плитами, друга — східчастими бронеплитами або спеціальною гумовою футеровкою (тільки у сировинних млинів).
Для сировинного і цементного млинів, що працюють у відкритому циклі, передбачається звичайна подвійна міжкамерна перегородка, а для цементного млина призначеної для роботи в замкнутому циклі, усередині барабана встановлений розвантажувально-завантажувальний пристрій, що є системою перегородок, що розділяють млин на камери грубого і тонкого помелу, створюючих між собою ще і розвантажувальну і завантажувальну камери. Перша має в стінках барабана розвантажувальні вікна, друга завантажувальні вікна. Друга камера обладнана, крім того, системою направляючих лопаток, розвантажувальним конусом і транспортуючим пристроєм. При роботі млина по відкритому циклу розвантажувальні вікна можуть закриватися спеціальними кришками.
Кожух, що забезпечує завантаження і розвантаження матеріалу в середині млина, спарений з листової сталі і встановлений на бетонній підставці. В місці примикання до барабана, що обертається, кожух має повстяне ущільнення. Ущільнюючий пристрій підтискається пластинчатими пружинами. Місця тертя в ущільненні автоматично змазали густим мастилом.
Підшипник (мал. 9) складається з рами, корпусу підшипника, корпусу вкладиша, вкладиша з бабітовою заливкою і кришки. Рама корпусу зварна; при монтажі заливається в бетонний фундамент млина. Корпус підшипника і корпус вкладиша литі і сполучаються по сферичних поверхнях, що забезпечує самоустановку підшипника при роботі млина. Вкладиш з бабітовою заливкою має водяне охолоджування і виконаний з кутом обхвату цапфи 120°. У вкладиші встановлені термодатчики для контролю за температурою бабітової заливки. Кришка підшипника зварна з листової сталі, кріпиться до корпусу вкладиша болтами. У верхній частині її є патрубок, через який підводиться масло.

Мал. 9. Підшипник млина 3,2X15 м:
1 — рама підшипника; 2 — корпус підшипника; 3, 7 — термодатчики для контролю температури підшипника; 4 - вкладиш з бабітовою заливкою; 5 - корпус вкладиша; 6 - дах

Мал. 10. Розвантажувальна частина млина 3,2Х15 м: 1 — грати; 2 — діафрагма; 3 — кришка торця млина; 4 — трубошнек; 5 — сито; 6 — футеровка розвантажувального патрубка; 7 — розвантажувальна камера; 8 - фланцеве кріплення приводного валу
Розвантажувальна частина млина (мал. 10) складається з розвантажувальних грат, виконаних з секторів з радіално розташованими щілинами і сполучених болтами з днищем діафрагми, трубошнека, розвантажувального патрубка, футеровки патрубка, сита і приймальної камери.
Сектори перегородки литі, виконані з щілинами для проходу розмолотого матеріалу; одночасно вони запобігають віднесенню тіл, що мелють, з другої камери.
Діафрагма має перенавантажуючі лопаті, відлиті за одне ціле з розвантажувальним конусом.
Сито є циліндровою сіткою, штампованою із сталевого листа. Розмір осередку 5X25 мм
Приймальна камера зварна з листової сталі, має ущільнення з повстяного набивання в місцях сполучення з розвантажувальним патрубком
Центральний привід млина (мал. 11) ( включає синхронний електродвигун, еластичну муфту, одноступінчатий редуктор, проміжний вал із зубчатими муфтами і допоміжним приводом, що складається з електродвигуна, двох редукторів і сполучних муфт.

Мал. 11. Привід млина 3,2X15 м:
1 — проміжний вал; 2 — зубчата муфта; 3 — редуктор головного приводу; 4 — обгінна муфта допоміжного приводу; 5, 6 — редуктори допоміжного приводу; 7 — еластична муфта; 8 — електродвигун головного приводу
Система автоматичного мастила має станції рідкого мастила продуктивністю 200 л/хв, обслуговуючої редуктор, і продуктивністю 50 л/хв, обслуговуючої підшипники млина.
Станції рідкого мастила забезпечені реле тиску, електронними термометрами, температурними і поплавцями реле і термометрами опору. Реле поплавця контролює рівень масла на сливі від підшипників млина і рівень масла у відстійниках. Реле тиску подає сигнали при пониженні тиску масла в нагнітальних трубопроводах до 1 кг с/см2 і при підвищенні до 4 кг с/см3. За допомогою мідних термометрів опору лагометрична установка контролює температуру масла в нагнітальних трубопроводах станції в температуру охолоджуючої води при вході в холодильник і при виході з нього.
Двома температурними реле, встановленими у відстійниках, температура масла підтримується в межах 35—45° С. Термодатчиками здійснюється дистанційна передача даних про температуру бабітової заливки вкладишів.
Для управління силового електроустаткування служать автоматичні вимикачі і релейно-контактна апаратура, що поставляється змонтованими в щити станцій управління.
Встановлене на млині електроустаткування забезпечене затисками для заземлення. Пускова апаратура в кінцевих положеннях фіксується щоб уникнути мимовільного виключення.
Млин забезпечений електричним блокуванням, а також системою управління і автоматики.
Технологічні параметри в продуктивність млина, стан механізмів млина і її системи мастила контролюються дистанційно.
Принцип роботи сировинних і цементних млинів 3,2х 15 м, що працюють по відкритому циклу, аналогічний роботі млина 4Х 13,5 м, тобто матеріал входить в завантажувальну цапфу і проходить першу камеру з кулями, потім він поступає в другу камеру з цільпебсами і видається як готовий продукт через вихідну цапфу. Такий цикл роботи називається відкритим, а сам млин прохідної.
При роботі млина в замкнутому циклі матеріал, пройшовши першу камеру висипається через щілини перегородки і периферійно розташовані на барабані вікна в розвантажувальний кожух і подається на сепарацію. Виділена в сепараторах крупа подається через завантажувальний пристрій, що знаходиться в середній частині барабана, в другу камеру, де домолюється і знову прямує в сепаратор. Частково крупа з сепараторів може повертатися і в першу камеру, але це потрібне тільки при помелі матеріалів, що важко-розмелюються, коли друга камера перевантажується матеріалом.
Технічна характеристика млина 3,2X15 м
Продуктивність при помелі (при 10% залишку на ситі № 008), т/год;
цементу по відкритому циклу ........................................ 50
в замкнутому циклі ........................................................ 76
шламу (по сухій сировині) ............................................. 70—160
Внутрішній діаметр барабана, м ................................... 3,2
Довжина робочої частини барабана, м ......................... 15,0
Частота обертання від приводу, об/хв
головного ............................................................................ 16,3
допоміжного......................................................................... 0,18
Потужність електродвигуна головного приводу, кВт .... 2000
Підвідна напруга, В ............................................................ 6000/380
Маса без електроустаткуванні і тіл, що мелють, т.......... 356,7
Завантаження тілами, що мелють, т:
перша камера (кулі діаметром 50—100 мм).................... 73
друга камера (цільпебси діаметром 18 і 25 мм) ............... 62
6. Трубний кульовий млин 3,2X8,5
Трубний кульовий млин 3,2X8,5 м випускається в двох модифікаціях. Одна призначена для помелу м'якої сировини (мела, глини і т. п.) мокрим способом і може працювати як у відкритому, так і в замкнутому циклі. Інша призначена для роботи тільки в замкнутому циклі при помелі сировинних матеріалів з тим, що підсушив.
Загальний вид млина 3,2Х 8,5 м для мокрого помелу показаний на мал. 12. В конструктивному відношенні цей млин аналогічний сировинному млину 3,2х 15 м і відрізняється тільки завдовжки барабана і потужністю приводу.

Мал. 12. Сировинний млин 3, 2X8,5 м;
1 — завантажувальна частина; 2 — підшипник; 3 — середня частина; 4 — розвантажувальна частина; 5 - розвантажувальна камера; 6 — привід; 7 — електродвигун
Млин 3,2X8,5 м. призначена для роботи з тим, що підсушив в замкнутому циклі, істотно відрізняється внутрішнім пристроєм барабана.

Мал. 13. Подовжній розріз сировинного млина 3,3X8,5 м з тим, що підсушив:
1 — завантажувальний пристрій; 2 — камера сушки; 3 - розвантажувальний пристрій; 4 — завантажувальний пристрій для крупи; І, ІІ — камери помелу
На мал. 13 показаний подовжній розріз млина 3,2x8,5 м по барабану. Млин оснащений двома завантажувальними пристроями і розвантажувальними пристроєм 5 тим, що знаходяться в середній частині барабана. Один завантажувальний пристрій розташований з торця, протилежного приводу (лівий), інше (правий) знаходиться з боку приводу. Лівий завантажувальний пристрій призначений для подачі матеріалу і гарячих газів в млин. Воно складається із зварної тічки з патрубком, барабана і кришки торця з порожнистою цапфою, в яку вмонтований трубошнек.
Правий завантажувальний пристрій призначений для подачі крупи з сепаратора в другу камеру млина. Воно складається із зварної тічки, барабана, завантажувальної муфти, кришки торця з порожнистою цапфою, в яку вмонтований трубошнек.
Периферійна розвантажувальна частина знаходиться в середній частині барабана і призначена для вивантаження матеріалу з першого і з другої камер. Полягає вона з двох щілистих перегородок, зібраних з секторів, розвантажувальних вікон, розташованих по периферії барабана, і розвантажувального кожуха з підпружиненими ущільненнями торців .
З боку лівої завантажувальної частини в барабані змонтована камера сушки, призначена для того, щоб підсушувати матеріал, що поступає в млин. Від помольної камери вона відокремлена перегородкою, що складається з литих секторів. В центрі перегородка має круглий отвір для проходу газу і матеріалу в камеру помелу. Розвантажувальна камера футерована сталевими плитами з лопатями для перелопачування матеріалу і оснащена зварними лопатями для пересипання матеріалу в наступну камеру.
Перша камера помелу завантажується кулями, друга цільпебсом.
Сировинна шихта подається в тічку лівого завантажувального пристрою і за допомогою барабана і шнека прямує в камеру підсушила. Одночасно через патрубок в завантажувальний пристрій поступають гарячі гази від топки.
В камері підсушки матеріал підхоплюється лопатками, інтенсивно перелопачується і, знаходячись в зваженому стані, омивається гарячими газами і підсушується. Потрапляючи в кінець камери сушки, матеріал захоплюється лопатями і пересипається в камеру помелу, де розмелюється і остаточно підсушується. Пройшовши камеру помелу, матеріал через щілини перегородки поступає в розвантажувальну частину і далі на сепарацію. Крупа з сепаратора повертається і прямує в праву завантажувальну частину.
Зсипаючись по тічці в барабан, крупа захоплюється лопатями і подається в трубошнек, потім в камеру помелу, де домолюється. Розмолотий матеріал, прокидаючись через щілини перегородки, потрапляє в розвантажувальний пристрій і разом з матеріалом з першої камери прямує на сепарацію. Пройшовши першу камеру, сушильні гази частково відсисаються через розвантажувальну частину, а частково через праву завантажувальну частину.
Для запобігання віднесення крупи трубошнек подаючий крупу, відокремлений від газоходу, по якому віддаляється використаний газ.
Технічна характеристика млина 3,2X8,5 м
Продуктивність по сухій сировині (тонкість помелу 6—8% залишку на ситі № 008) при роботі по циклу, т/год:
відкритому...............................................................................36—105
замкнутому ..........................................................................50
Внутрішній діаметр барабана, м .....................................3,2
Довжина барабана, м ...........................................................8,5
Частота обертання млина від приводу, об/хв:
головного..................................................................................18,67
допоміжного ........................................................................... 0,21
Потужність електродвигуна головного приводу, кВт ......1250
Маса без електроустаткуванні і тіл, що мелють, т....215;
Завантаження тілами, що мелють, т .....................................85
7. Трубний млин 2,6Х 13 м
Трубний млин 2,6Х 13 м (мал. 14) призначений для помелу у відкритому циклі клінкеру, сировини і інших матеріалів, що вимагають тонкого подрібнення як при сухому, так і при мокрому подрібненні.

Мал. 14. Трубний кульовий млин 2,6X13,0 M:
1 - завантажувальна частина; 2 — підшипник; 3 — корпус (барабан); 4 — розвантажувальна частина; 5 — привід
Конструктивно млин 2,6х 13 м виконаний так само, як а трубний сировинний млин розміром 3,2х 15 м. Принцип роботи теж аналогічний. Для мокрого помелу м'яких матеріалів млин випускається з гумовою футеровкою всього барабана, при мокрому помелі твердих матеріалів — з гумовою футеровкою тільки другої камери.
Технічна характеристика млина 2,6X13 м
Продуктивність при помелі (тонкість помелу 10% залишку на ситі №008), т/год:
клінкеру ................................................................. 26
сировини.................................................................50
матеріалів різної розмоловластивості .............. 32 —120
Внутрішній діаметр барабана, м ......................... 2,6
Довжина робочої частини барабана, м ............. 13
Частота обертання млина від приводу, об/хв:
головного ............................................................. 17,63
допоміжного ........................................................ 0,17
Потужність електродвигуна головного приводу, кВт... 1000
Маса без електроустаткуванні і тіл, що мелють, т ..... 254
Завантаження тілами, що мелють, т ............................. 80
Використана література:
Борщевский А.А., Ильин А.С. Механическое оборудование для производства строительних материалов и изделий.— М., 1987. — 368 с.
Горбовец М.Н. Современные машины и оборудование для конвеерного производства изделий крупнопанельного домостроения. — М.: ЦНИИТЭстроймаш, 1987. — 44 с.
Горбовец М.Н. Состояние и перспективы развития оборудования для сборного железобетона. — М: ЦНИИТ Эстроймаш, 1984. — 47 с.
А. Дуда ВТ. Цемент. — М.: Стройиздат, 1981. — 464 с.
Зубанов В.А., Чугунов Е.А., Юдин Н.А. Механическое оборудование стекольных и ситаловых заводов. — М.: Машиностроение, 1984. — 368 с.
Малкин А.Я., Чалых А.Е. Диффузия и вязкость полимеров. — М.: Химия, 1979. —302 с.
Носенко НЕ. Механизация и автоматизация производства арматурных работ. — М.:Стройиздат, 1982. — 312 с.
Печные агрегаты цементной промышленности / С.Г. Силенок, Ю.С. Гризак, В.Н. Лямин и др. — М.: Машиностроение, 1984. — 166 с.
Роговой ММ. Технология искусственных пористых заполнителей и керамики. — М.: Стройиздат, 1979. — 319 с.
Сивко В.Й. Механічне обладнання підприємств будівельних виробів. — К.: Вища шк., 1994.— 364 с.
Технология строительного и технического стекла и ситаллов / В.В. Полляк, П.Д. Саркисов, В.Ф. Солинов, М.А. Царицын. — М.: Стройиздат, 1983. — 432 с.
Туренко А.В. Расчет глиноперерабатывающего оборудования и прессов пластического формования для производства керамических строительных изделий. — М.: РИО МИСИ им. В.В. Куйбышева, 1985. — 86 с.