Утилизация обжиговой пыли для получения цемента
Содержание
Введение
Глава 1. Характеристика цемента и технологический метод его производства
Глава 2. Сухой способ производства цемента
Глава 3. Получение цемента из обжиговой пыли
Цемент из остатков товарного бетона
Глава 4. Экологический мониторинг атмосферного воздуха в зонах загрязнения отходами цементного производства
Введение
Образование пыли является основной проблемой в производстве цемента, а регенерация пыли - экономически необходимой. Упомянутая книга может быть рекомендована читателю для детального знакомства с оборудованием для контроля загрязнения воздуха, применяемым в цементной промышленности.
Экономический эффект, получаемый при повторном использовании уловленной пыли, недостаточен, чтобы полностью покрыть стоимость пылеулавливающего оборудования. Однако удаление пыли необходимо для выполнения требований законодательства по охране окружающей среды и для предотвращения загрязнения близлежащей местности. Осуществление этого процесса является не простой проблемой.
Глава 1. Характеристика цемента и технологический метод его производства
Цемент не является природным материалом. Его изготовление - процесс дорогостоящий и энергоемкий, однако результат стоит того - на выходе получают один из самых популярных строительных материалов, который используется как самостоятельно, так и в качестве составляющего компонента других строительных материалов (например, бетона и железобетона). Цементные заводы, как правило, находятся сразу же на месте добычи сырьевых материалов для производства цемента.
Производство цемента включает две ступени: первая - получение клинкера, вторая - доведение клинкера до порошкообразного состояния с добавлением к нему гипса или других добавок. Первый этап самый дорогостоящий, именно на него приходится 70% себестоимости цемента. А происходит это следующим образом: первая стадия - это добыча сырьевых материалов. Разработка известняковых месторождений ведется обычно сносом, т.е. часть горы "сносят вниз", открывая тем самым слой желтовато-зеленого известняка, который используется для производства цемента. Этот слой находится, как правило, на глубине до 10 м (до этой глубины он встречается четыре раза), и по толщине достигает 0,7 м. Затем этот материал отправляется по транспортеру на измельчение до кусков равных 10 см в диаметре. После этого известняк подсушивается, и идет процесс помола и смешивания его с другими компонентами. Далее эта сырьевая смесь подвергается обжигу. Так получают клинкер. Вторая стадия тоже состоит из нескольких этапов. Это: дробление клинкера, сушка минеральных добавок, дробление гипсового камня, помол клинкера совместно с гипсом и активными минеральными добавками. Однако надо учитывать, что сырьевой материал не бывает всегда одинаковым, да и физико-технические характеристики (такие как прочность, влажность и т.д.) у сырья различные. Поэтому для каждого вида сырья был разработан свой способ производства. К тому же это помогает обеспечить хороший однородный помол и полное перемешивание компонентов. В цементной промышленности используют три способа производства, в основе которых лежат различные технологические приемы подготовки сырьевого материала: мокрый, сухой и комбинированный.
Мокрый способ производства используют при изготовлении цемента из мела (карбонатный компонент), глины (силикатный компонент) и железосодержащих добавок (конверторный шлам, железистый продукт, пиритные огарки). Влажность глины при этом не должна превышать 20%, а влажность мела - 29%. Мокрым этот способ назван потому, что измельчение сырьевой смеси производится в водной среде, на выходе получается шихта в виде водной суспензии - шлама влажностью 30 - 50%. Далее шлам поступает в печь для обжига, диаметр которой достигает 7 м, а длина - 200 м и более. При обжиге из сырья выделяются углекислоты. После этого шарики-клинкеры, которые образуются на выходе из печи, растирают в тонкий порошок, который и является цементом.
Цемент - один из важнейших строительных материалов, предназначенных для бетонов и строительных растворов, скрепление отдельных элементов (деталей) строительных конструкций, гидроизоляций и др. Цемент представляет собой гидравлический вяжущий материал, который после смешения с водой и предварительного затвердевания на воздухе продолжает сохранять и наращивать прочность в воде.
Производство цемента обусловлено необходимостью его производства для применения, главным образом, в строительстве. Строительство жилья на основе цемента позволяет получить объекты с низкой теплопроводностью и высокой морозостойкостью.
Технология цементного производства позволяет использовать в нём отходы добывающей, металлургической отраслей, а также побочные продукты этих производств. Некоторые отходы даже улучшают свойства цемента. Гибкая технология позволяет осуществлять комбинирование производства цемента с производством металлов, химических продуктов и энергии.
Существует много разновидностей цемента. Они отличаются друг от друга конечными свойствами, условиями производства и наличием в них различных видов добавок.
Портландцементом называется гидравлическое вяжущее вещество, твердеющее в воде и на воздухе, получаемое путём совместного размола портландцементного клинкера и гипса для регулирования сроков схватывания. Марку портландцемента определяют при испытании на сжатие стандартной цементной палочки размерами 4×4×16 мм.
Существуют следующие марки портландцемента, выпускаемые промышленностью строительных материалов:
ПЦ 400 ДО и ПЦ 400 Д20. Применяется для производства асбестоцементных изделий, строительства жилья, промышленных зданий и сооружений.
ПЦ 500 ДО. Применяется для строительства мостов, путепроводов, железобетонных труб, пролетных строений и блоков.
ПЦ 600 ДО. Применяется для строительства мостов, туннелей, высокопрочных сооружений на объектах Министерства Обороны.
Сырьем при производстве цемента по мокрому способу являются следующие компоненты: карбонатный компонент - мел, силикатный компонент - глина, железосодержащие добавки - пиритные огарки, конверторный шлам, железистый продукт.
Мел и глина добываются в карьерах экскаваторами. Влажность глины - до 20%, мела - до 29%.
Глина грузится в автосамосвалы и подается к глиноболтушкам, где производится приготовление глиняного шлама. Глиняный шлам из приемника перекачивается насосом в вертикальные бассейны.
Мел грузится экскаватором в думпкары. Думпкары имеют двусторонние толкатели для сталкивания мела в бункер. Из бункера мел с огарками по транспортеру поступает в мельницу самоизмельчения (гидрофол). Одновременно в гидрофол подаются глиняный шлам (насосом или самотеком из вертикальных бассейнов), а также вода и ЛСТ. Приготовленный шлам подается в вертикальный бассейн. Отсюда шлам подается в сырьевую мельницу, в которой и происходит его помол. Готовый шлам перекачивают в вертикальные шламобассейны, где происходит его корректировка. Откорректированная сырьевая смесь насосами перекачивается в горизонтальные бассейны, а оттуда - в следующие горизонтальные бассейны. Через шламовый питатель сырьевая смесь из бассейна подается в печи для обжига.
Количество подаваемого в печи сырья регулируется контрольным баком. Скорость наполнения зависит от числа оборотов печи и от текучести шлама. Контроль за качеством шлама ведет лаборатория. Обеспыливание отходящих газов обычно происходит с помощью электрофильтров, которые работают в режиме автоматического регулирования. Охлаждение клинкера из печей производится в колосниковых холодильниках или в рекуператорных.
Колосниковые холодильники имеют производительность около 70 т/ч. Температура клинкера на выходе из колосникового холодильника составляет не более 90 градусов. Клинкер из печей с температурой 1250 градусов поступает в шахту холодильника, где установлены неподвижные колосники и резко охлаждается воздухом, подаваемым вентилятором высокого давления. Далее клинкер поступает на решетку, которая состоит из подвижных и неподвижных колосников. Крутая передняя и пологая задняя полость колосников обеспечивают продвижение клинкера вперед и его интенсивное перемешивание. В разгрузочном конусе холодильника установлена встроенная дробилка для измельчения крупных кусков клинкера.
Рекуператорный холодильник имеет производительность 35 тонн в час. Температура клинкера на выходе - не более 400 градусов. В холодильнике имеется несколько барабанов, закрепленных по окружности корпуса, которые вращаются вместе с печью.
Со склада клинкер поступает с помощью мостового грейферного крана в бункера цементных мельниц. Туда же подается гипс, откуда вся эта басня дозируется в цементные мельницы. Для интенсификации процесса помола при производстве бездобавочных цементов на тарельчатый питатель подается лигносульфанат технический (ЛСТ) в количестве 0,01%.
Транспортировка готового цемента в цементные силоса производится пневмонасосами. Силос представляет собой железобетонную емкость диаметром около 10 м и высотой примерно 25-30 м. Силосный склад цемента насчитывает обычно более десятка силосов. Отгрузка цемента из цементных силосов производится в бункер для погрузки в автотранспорт или отгружается в железнодорожные вагоны. Упаковка цемента в бумажные мешки (50 кг) производится упаковочными машинами. Определение количества отгрузки цемента производится взвешиванием на железнодорожных весах. [4]
Типовая технологическая схема

Глава 2. Сухой способ производства цемента
При сухом способе производства цемента известняковое сырье дробят в две стадии - в щековой дробилке, потом в молотковой дробилке.
Глина, входящая в состав цементного сырья, измельчается в валковой дробилке и сушится в барабане. После этого помолотый известняк, глина и огарки совместно измельчаются в барабанной мельнице, после чего высушиваются с помощью дымовых газов, которые поступают из запечных теплообменников.
Измельченный высушенный материал разделяется на грубую и тонкую фракции в проходном сепараторе. Грубая фракция подвергается дополнительному измельчению, а тонкая фракция улавливается в циклонах и подвергается гомогенизации в смесительных силосах сырьевой муки.
Сырьевая мука последовательно проходит обработку на нескольких ступенях циклонных теплообменников, нагревается, частично декарбонизируется, после чего поступает во вращающуюся печь, где из сырьевой муки формируется цементный клинкер. Далее клинкер охлаждается в холодильнике и поступает в силосный склад клинкера.
С силосного склада цементный клинкер через ленточный конвейер поступает в барабанную мельницу для совместного помола с гипсом и минеральными добавками, которые одновременно поступают из бункеров.
Сжигание топлива, необходимое для производства цемента, обеспечивается подачей горячего воздуха от клинкерного холодильника. Дымовые газы, отходящие от циклонных теплообменников, увлажняются в башне, затем очищаются от пыли с помощью электрофильтров и с помощью дымососа через трубу выносится в атмосферу. Воздух, отходящий от цементных мельниц, очищается в аспирационной шахте, циклонах и рукавных фильтрах.
Измельченная смесь сепарируется - крупка поступает на дополнительное измельчение, а готовый цемент с помощью пневмокамерных насосов поступает в цементные силосы.
Из цементных силосов цемент тарируется в контейнеры “Big Ben" или в мешки, или отгружается в железнодорожные вагоны для транспортировки цемента (холеры) или автоцементовозы.
В нашей компании Вы можете купить качественный цемент разных марок оптом по заводской цене на самых выгодных для Вас условиях с доставкой. Мы осуществляем производство и продажу оптом портландцемента марки М400 и М500.
Мы производим поставки высококачественного цемента оптом навалом и в мешках с завода и со склада из Москвы машинами и вагонами - себряковцемент, мордовцемент, щуровский цемент, новоросцемент, сухие смеси универсальные. Вы можете купить у нас качественный цемент для строительства и ремонта, бетона и кладки, для фундаментов и растворов, строительства крупногабаритных железобетонных конструкций.
Сухой способ производства цемента
При сухом способе производства цемента известняковое сырье дробят в две стадии - в щековой дробилке, потом в молотковой дробилке.
Глина, входящая в состав цементного сырья, измельчается в валковой дробилке и сушится в барабане. После этого помолотый известняк, глина и огарки совместно измельчаются в барабанной мельнице, после чего высушиваются с помощью дымовых газов, которые поступают из запечных теплообменников.
Измельченный высушенный материал разделяется на грубую и тонкую фракции в проходном сепараторе. Грубая фракция подвергается дополнительному измельчению, а тонкая фракция улавливается в циклонах и подвергается гомогенизации в смесительных силосах сырьевой муки.
Сырьевая мука последовательно проходит обработку на нескольких ступенях циклонных теплообменников, нагревается, частично декарбонизируется, после чего поступает во вращающуюся печь, где из сырьевой муки формируется цементный клинкер. Далее клинкер охлаждается в холодильнике и поступает в силосный склад клинкера.
С силосного склада цементный клинкер через ленточный конвейер поступает в барабанную мельницу для совместного помола с гипсом и минеральными добавками, которые одновременно поступают из бункеров.
Сжигание топлива, необходимое для производства цемента, обеспечивается подачей горячего воздуха от клинкерного холодильника. Дымовые газы, отходящие от циклонных теплообменников, увлажняются в башне, затем очищаются от пыли с помощью электрофильтров и с помощью дымососа через трубу выносится в атмосферу. Воздух, отходящий от цементных мельниц, очищается в аспирационной шахте, циклонах и рукавных фильтрах.
Измельченная смесь сепарируется - крупка поступает на дополнительное измельчение, а готовый цемент с помощью пневмокамерных насосов поступает в цементные силосы.
Глава 3. Получение цемента из обжиговой пыли
Образование пыли является основной проблемой в производстве цемента, а регенерация пыли - экономически необходимой. Упомянутая книга может быть рекомендована читателю для детального знакомства с оборудованием для контроля загрязнения воздуха, применяемым в цементной промышленности.
Экономический эффект, получаемый при повторном использовании уловленной пыли, недостаточен, чтобы полностью покрыть стоимость пылеулавливающего оборудования. Однако удаление пыли необходимо для выполнения требований законодательства по охране окружающей среды и для предотвращения загрязнения близлежащей местности. Осуществление этого процесса является не простой проблемой.
Попытки использования цементной пыли путем ее возвращения на стадию обжига в том виде, в каком она была уловлена, нельзя признать успешными по двум основным причинам.
Эта пыль настолько мелкая, что значительная часть ее снова выносится отходящими газами еще до поступления на стадию цементообразоваиия. Помимо больших потерь это приводит также к большому увеличению нагрузки на трубчатую пылеулавливающую систему.
Еще более существенной причиной является присутствие в пыли значительных количеств сульфатов и хлоридов щелочных металлов, которые не позволяют получать цемент достаточно хорошего качества. Поскольку требования охраны окружающей среды становятся все более жесткими, а пылеулавливающее оборудование все более совершенным, то происходит улавливание все более мелких частиц пыли. Чем меньше размеры частиц, тем, как правило, выше содержание щелочных элементов в пыли. Таким образом, упомянутая проблема качества становится все более серьезной.
Известные способы, предназначенные для изменения физического состояния и (или) уменьшения содержания щелочных элементов в цементной пыли, не находят практического применения по экономическим или другим причинам.
Усовершенствованный метод, относящийся к экономичному способу переработки цементной обжиговой пыли с любым размером частиц и содержанием щелочных металлов был предложен А.Т. Мак-Кордом Пыли придается такое физическое состояние и химический состав, который позволяет повторно использовать ее для изготовления цемента. При этом хлорид калия может быть достаточно легко выделен в кристаллическом виде с хорошей степенью чистоты.
Усовершенствованный процесс включает:
1) обработку цементной обжиговой пыли водным раствором хлорида калия при повышенной температуре;
2) добавление к полученной взвеси цементной пыли небольших количеств масла и жирных кислот, хлопьеобразование и комкование твердой фазы;
3) удаление хлопьев и комков твердого вещества из жидкой фазы;
4) легкую промывку твердого материала для дальнейшего снижения содержания щелочных металлов;
5) охлаждение раствора для кристаллизации хлорида калия и 6) отделение полученного кристаллического вещества. Остаточный раствор после удаления основного количества кристаллического Хлорида калия все еще насыщен солью и после нагревания может быть направлен на стадии обработки новых порций цементной пыли.
Цемент из остатков товарного бетона
Некоторое время назад бетонные конструкции изготовляли путем смешивания индивидуальных компонентов - наполнителя, песка, цемента и воды - на месте, в стационарном смесителе. Затем бетон наливали в контейнер, а оттуда переносили в соответствующие формы. В конце каждого рабочего дня или периодически в течение дня смеситель и контейнеры промывали водой, чтобы предотвратить засыхание находящихся в них остатков бетона. Промывная вода с содержащимися в ней твердыми частицами направлялась в сток.
Затем стационарные смесители были заменены так называемыми транзитными миксерами на грузовиках, которые на центральном предприятии загружались сырьем, которое перемешивалось за время перевозки и по прибытии на место выгружался готовый бетон. По возвращении из каждой поездки грузовик промывался водой с той же целью, что и в предыдущем случае.
Еще более недавно были построены очень крупные промышленные предприятия, единственной продукцией которых являются сборные бетонные конструкции, начиная от небольших бетонных блоков для индивидуальных застройщиков и кончая конструкционными элементами и облицовочными панелями для больших зданий. И в этом случае все устройства, контактирующие с сырым бетоном, необходимо регулярно промывать водой, чтобы предотвратить затвердевание бетона и поломку Оборудования.
Возвращаясь к вопросу о транзитных миксерах, рассмотрим работу завода среднего размера, использующего около 150 грузовиков. Предположим, что каждый грузовик в конце рабочего дня покрыт отложениями толщиной от 0,5 до 1-1,5 м. Этот слой должен быть сброшен с грузовика и удален, а грузовик вымыт к следующему рабочему дню.
Если 75 грузовиков имеют отложения в среднем толщиной 1 м, то это означает, что необходимо удалить 75 м бетона и вымыть 150 грузовиков.
Раньше на многих заводах грузовики просто промывали большим количеством воды, сбрасывая сточные воды в канализацию. Местные власти выступали против такой практики и сейчас во многих районах это запрещено законом.
В некоторых местностях, где это позволяют условия рельефа, грузовики с цементом в конце дня направляются к ближайшему карьеру или другому подходящему месту, где можно сбросить бетон, а затем возвращаются в гараж, где их моют так, как описано выше. Однако такая процедура является дорогостоящей, поскольку приходится платить за холостой пробег грузовика к месту сброса и обратно, а также дополнительно оплачивать время и работу водителя. Совершенно очевидно, что такой метод очистки является убыточным для предприятия, производящего бетон. К тому же, хотя этот метод и кажется очень простым, большинству производителей становится все труднее найти подходящие места для сброса бетона.
Очевидно, что щебень, песок, цемент и вода, входящие в состав остатков бетона, превращаются в отходы, недоступные, для повторного использования, что также приводит к увеличению стоимости производства. Поскольку ежегодно сбрасывается очень большое количество отходов бетона, то бетонная промышленность начинает испытывать нехватку мест, которые могут быть использованы с этой целью. Сброс бетона в неподходящих местах приводит к загрязнению природных ресурсов, борьба с такими загрязнениями должна вестись не только во всей стране, но и в мировом масштабе.
Метод основан на том, что загустевший (например, осажденный) цементный раствор использовать практически невозможно. Это означает, что цементный раствор необходимо перемешивать, чтобы не допустить осаждения. Оборудование для работы с цементным раствором должно функционировать непрерывно до тех пор, пока оно не будет покрыто цементом и его работа блокирована. Этот метод позволяет решать также технические вопросы приспособления непрерывно действующей системы рецикла цементного раствора к периодическому процессу производства бетона.
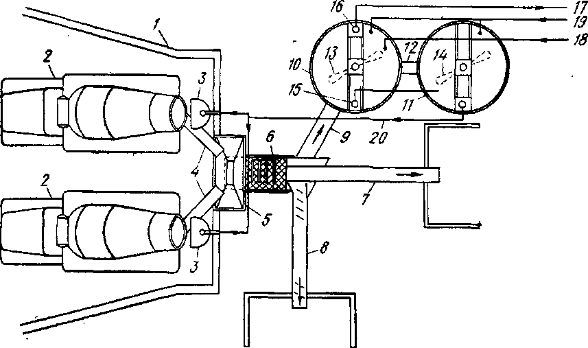
На рис.1 показано применение такой системы для бетонного завода, использующего транзитные миксеры. На площадке для мойки грузовиков / имеется один или несколько боксов для грузовиков 2. В каждом боксе имеется форсунка 3, через которую грузовик моют, а промывная вода с грузовика по стокам 4 сливается в воронку 5. Затем стекающая вода попадает на грохоты или другие отделительные устройства, обозначенные цифрой 6 и представляющие собой обычные устройства такого рода. Самая крупная фракция - щебень - забирается транспортером 7 на первую стадию выделения, а фракция, содержащая песок, аналогичным образом по транспортеру 8 поступает на другой участок выделения. Последняя фракция (водно-цементная взвесь) стекает по желобу 9 в емкость 10. Можно использовать и вторую емкость 11, соединенную с емкостью 10 через перелив.

В резервуарах 10, 11 имеются мешалки 13, 14, насос для перекачки взвеси 16 и трубопровод 17, ведущий к участку производства бетона, а также линия возврата взвеси 18 и линия подачи воды 19, имеющая выход в каждую из емкостей.
Наличие второй емкости // позволяет обеспечить замкнутость цикла источника промывной воды для грузовиков 2 с помощью линии 20. Вместо мешалки 14 можно использовать рециркуляцию исходного раствора, для чего применяется перекачивающий насос/5, который перекачивает более плотную взвесь со дна отстойной емкости 11 в емкость с мешалкой 10.
Описанная система может также применяться на заводах по производству сборного бетона; для разделения - песка и гравия могут быть применены и более простые технические средства, например грязевые насосы.
Аппарат, разработанный В.Ф. Миллером предназначен для удаления бетонных смесей из грузовиков, перевозящих товарный бетон. Он состоит из приемной воронки, Устройства, извлекающего материал из грузовика, и направляющего его во вращающийся калибрующий барабан со спиральным транспортером, в который во время Работы впрыскивается вода. Второй транспортер и грязеотстойник расположены под барабаном таким образом, что отделенный песок, наполнитель и другие материалы, входящие в состав бетонных остатков, попадают в отстойник и в отдельную отстойную емкость, из которых может быть извлечен мелкий песок и подобные материалы.
Система, разработанная А.Р. Борджесом позволяет повторно использовать отходы цемента, остающиеся в грузовиках. В конце Рабочего дня остатки цемента сбрасывают на виброгрохот, где под действием струи воды, выходящей под давлением, большие куски наполнителя увлекаются на первый паточный транспортер. Оставшиеся цемент, вода и взвесь обираются в лотке откуда их перекачивают в отстойник, имеющий шнек для периодического перемешивания цемента и воды, чтобы предотвратить затвердевание. Пеносниматель, расположенный в верхней части отстойника, собирает чистую воду которая используется для промывки наполнителя и цемента на предыдущей стадии, цемент, вода и взвесь, собранные в отстойнике, вместе со свежими порциями сырь" поступают на загрузку цементных грузовиков. Таким образом, песок, цемент, вода и наполнитель, которые ранее направлялись в отходы, теперь включены в рецикл и подвергаются повторному использованию.
Глава 4. Экологический мониторинг атмосферного воздуха в зонах загрязнения отходами цементного производства
Производство цемента является источником загрязнения всех трех составляющих биосферы: атмосферы, гидросферы и литосферы. Промышленные предприятия цементного производства регулярно выбрасывают в окружающую среду большое количество твердых, газообразных и жидких отходов: пыль, газовые выбросы, сточные воды (рис.1).
Предприятиями цементной промышленности в окружающую среду выделяется ежегодно более 27 млн. тонн пыли [1]. На их долю приходится 2/3 промышленных выбросов твердых веществ и 44% газообразных [2].
В одном из законов Вернадского говорится о биохимическом единстве биосферы и все загрязнения, поступающие первоначально в атмосферу, гидросферу или литосферу, в конечном счете, оказываются распространенным в каждой из них. Таким образом, химические соединения являются составляющими промежуточных выбросов и претерпевают в любой из составляющих биосферы изменения физико-химического характера.
Одним из таких негативных преобразований в экосистеме является загрязнение атмосферного воздуха отходами цементного производства.
Возникает необходимость в выработке научно обоснованных мероприятий, создания специальных мониторинговых систем, обеспечивающих контроль качества и регулирование состояния экосистем, находящихся вблизи цементного производства.
Для решения задач мониторинга загрязнения атмосферного воздуха в районе производства цемента необходимо:
1. Наблюдение за уровнем загрязненности воздушной среды в реальном времени (измеряются химические показатели загрязненности воздуха в контрольных точках, и формируется база данных показателей состояния воздушной среды).
2. Выявление и анализ изменений состояния атмосферного воздуха (оценка полученных данных).
3. Моделирование соответствующей экологической ситуации и построение прогноза изменений в окружающей среде (прогнозирование ситуации).

Рисунок 1 - Схема-классификация вредных факторов воздействия цементного производства на экосистему
Таким образом, мониторинг загрязнения атмосферного воздуха в районе цементного производства должен включать две подсистемы: подсистему мониторинга состояния воздушной среды в реальном времени и подсистему прогнозирования, основным назначением которой является моделирование чрезвычайных ситуаций вблизи цементного производства в будущие периоды.
Чтобы реализовать поставленные цели мониторинга необходимо решить ряд следующих задач:
провести структурно-системный анализ существующих методов и моделей прогнозирования загрязнения воздушной среды;
провести анализ состояния природно-промышленного комплекса региона исследований (выявление и классификация негативных факторов цементного производства);
дать теоретическое обоснование целесообразности применения метода математического моделирования для оценки качества атмосферного воздуха; выбрать метод моделирования;
провести экспериментальные исследования по определению: дисперсного состава неорганической пыли, отходящих газов цементного производства; приземной концентрации загрязняющих веществ;
построить математическую модель, описывающую динамику распространения загрязняющих веществ цементной промышленности в атмосферном воздухе;
разработать методику для прогнозирования и модельного экологического мониторинга среды в зоне предприятий цементной промышленности.