Физико-химические аспекты переработки термореактивных полимеров
ФИЗИКО-ХИМИЧЕСКИЕ АСПЕКТЫ ПЕРЕРАБОТКИ ТЕРМОРЕАКТИВНЫХ ПОЛИМЕРОВ
Термореактивными полимерами (реактопластами) называют материалы, в которых фиксация формы при изготовлении изделий является результатом химической реакции образования трехмерного полимера («сшивания»), обычно называемой отверждением. При этом материал необратимо утрачивает способность переходить в вязкотекучее состояние и растворяться в растворителях.
Неспособность отвержденных реактопластов переходить в вязкотекучее состояние заставляет проводить синтез термореактивных полимеров в несколько стадий. Первую стадию заканчивают получением олигомеров (смол) с молекулярной массой 100—1000. Вторая стадия—это, по существу, приготовление композиций, основанное на том, что низковязкие олигомеры легко совмещаются с наполнителем, причем даже при 80—85%-ном наполнении композиции неотвержденного реактопласта обладают высокой текучестью, позволяющей перерабатывать их традиционными методами (литьем под давлением, экструзией, контактным формованием, прессованием и др.)
Олигомерные композиции, в которых в качестве наполнителя используют какое-либо мелкодисперсное вещество (мел, тальк, древесную муку, слюду, каолин, технический углерод, графит и т. д.), называют премиксами. Реактопласты, наполненные непрерывными волокнами, бумагой, тканью и т. д., называют препрегами. Наконец, третья стадия — это получение собственно полимера с трехмерной сетчатой структурой. Как правило, эта стадия совмещается с формованием изделия и обычно называется отверждением.
Олигомеры в реактопластах могут отверждаться самопроизвольно (с тем большей скоростью, чем выше температура) или с помощью полифункционального низкомолекулярного вещества — отвердителя. Отверждение может осуществляться по механизму поликонденсации (фенолоальдегидные, эпоксидные, карбамидные, кремнийорганические смолы) и полимеризации (полиалкиленгликольмалеинаты, олигоэфиракрилаты, форполимеры диаллилфталата).
Реактопласты изготавливают, применяя в качестве связующего фенолоформальдегидные смолы (модифицированные для большей эластичности поливинилбутирилем, бутадиен-нитрильным каучуком, полиамидами) или эпоксидные смолы (модифицированные феноло- или анилиноформальдегидными смолами или отверждающимися олигоэфирами); наполнитель может быть любым.
Моделирование процессов переработки термореактивных полимеров имеет два основных аспекта: а) анализ неизотермического течения, сопровождающегося химическими реакциями отверждения на стадиях пластикации и формования изделия;
б) анализ процессов полимеризации, сопровождающихся выделением тепла в условиях теплообмена с окружающей средой.
ОБОРУДОВАНИЕ ДЛЯ ПРИЕМА, ХРАНЕНИЯ И ТРАНСПОРТИРОВАНИЯ СЫРЬЯ
Химическая промышленность поставляет сырье (термопласты и реактопласты) упакованным в один из трех видов тары: а) мешки (полиэтиленовые или из крафт-бумаги) массой по 25 кг; б) контейнеры эластичные одноразового или многоразового использования массой 200 кг (емкостью около 0,5 м3); в) цистерны (автомобильные и железнодорожные) емкостью 30—50 м3.
Сырье, поступающее в мешках, с заводского склада перевозится в цех на электрокарах, где мешки растариваются или непосредственно возле перерабатывающего оборудования, или на растарочной установке цехового склада сырья.
Контейнеры с площадки хранения подаются в отделение рас-таривания, где с помощью грузоподъемных механизмов устанавливаются на устройства для растаривания. Конструктивно эти устройства представляют собой систему зажимов для крепления контейнера, приемный бункер, соединенный с системой пневмотранспорта, и приспособление для открытия клапана (при использовании оборотных контейнеров многоразового использования) или для разрезания боковины (у контейнеров одноразового использования). Попадающее в приемный бункер сырье подается пневмотранспортом в складские емкости или пересыпается непосредственно в технологические контейнеры.
Разгрузку цистерн производят с помощью систем пневмотранспорта с гибкими патрубками, снабженными наконечниками для быстрого подсоединения эластичных патрубков к выгрузочным патрубкам цистерн. При растаривании цистерн внутрь подается сжатый воздух под давлением 0,2 МПа. Удаленность складских емкостей от места разгрузки не должна превышать 25 м.
ОБОРУДОВАНИЕ СКЛАДОВ СЫРЬЯ
Основное оборудование, предназначенное для хранения сыпучих ингредиентов, составляют бункера (силосы), которые в зависимости от назначения подразделяются на бункера складского хранения и расходные бункера систем автоматического дозирования. Емкость и число бункеров, устанавливаемых на заводском складе, определяется мощностью предприятия, поскольку запас сырья на складе должен обеспечивать 10—15-суточную работу предприятия. Емкость бункера составляет от 100 м3 и более. Обычно бункер складского хранения (рис. 1) представляет собой сварной цилиндр / из листового дюралюминия диаметром около 5 м и высотой 10—15 м. К нижней части цилиндра приваривается коническое днище 2. Отверстие в днище диаметром примерно 1 м перекрывается шлюзовым затвором 3, через который материал поступает к питателю 4. Верхняя часть цилиндра перекрывается конической крышкой, внутри или над которой располагается циклон-отделитель 5 системы пневмотранспорта. Контроль за уровнем находящегося в бункере сырья может производиться с помощью радиационных уровнемеров или по весу с помощью тензометрических силоизмерителей, определяющих нагрузку в опорных стойках бункера. Угол наклона стенок днища бункера не должен превышать 20° по отношению к вертикали во избежание сводообразования и зависания в нем сыпучего сырья.
Непосредственно под бункером устанавливается разгрузочное устройство, в качестве которого чаще всего используется секторный дозатор (он описан ниже и показан на рис. 1). При достаточно хорошей сыпучести сырья (свойственной, например, гранулированным пластмассам) его выгрузку из бункера можно производить, не применяя никаких дополнительных устройств. В этом случае непосредственно над секторным дозатором устанавливают шлюзовой затвор с пневмоприводом и дистанционной системой управления.

Рис. 1. Схема бункера складского хранения

Рис. 2. Устройства для выгрузки материала из бункера: а — с аэрациокным рыхлителем; б — с двойным вибрирующим конусом.
Для выгрузки из бункеров материалов, склонных к слеживаемости, применяют аэрацию материала потоком воздуха и вибрационные устройства (рис. 2). В аэрационных рыхлителях (рис. 2, с) воздух подают через фильтр 5, распределительную заслонку 1 и перфорированное днище 2 в нижнюю часть бункера 3. Скорость воздушного потока должна быть достаточно велика для того, чтобы материал в бункере перешел в псевдоожиженное состояние. Под действием силы тяжести материал перемещается и поступает из бункера по наклонным перфорированным трубопроводам 4 непосредственно в технологическое оборудование или на дозирование.
Механические вибрационные устройства («активаторы», или «побудители») устанавливают как вне бункера, так и внутри его. Эти устройства включают в работу только во время отбора материала из бункера, так как в противном случае происходит лишь дополнительное уплотнение материала.
Разгрузочное вибрационное устройство с двойным вибрирующим конусом (рис. 2,6) включает в себя конический приемник /, закрепленный на стяжках 2 через виброизоляционные прокладки 3 на выходном патрубке бункера 4. Герметичность соединения обеспечивается эластичным уплотнением 5. Приемник 1 и установленный в нем конус-рассекатель 9 приводятся в колебательное движение с амплитудой 10 мм и частотой до 500 Гц с помощью механического или гидравлического вибратора 6. Высыпающийся из бункера материал выгружается через разгрузочный патрубок 8 с эластичным уплотнением 7. При работе вибратора приемник / колеблется в горизонтальной плоскости. Благодаря этому материал не зависает в выходном конусе бункера, ликвидируется его уплотнение и создаются оптимальные условия для его свободного и равномерного движения по поверхности конуса-рассекателя от его центра к периферии.

Рис.3. Червячное разгрузочное устройство.
Кроме аэрационных разгрузочных устройств и вибросит в некоторых случаях применяют червячные разгрузочные устройства (рис. 3). При вращении червяка 1 материал, находящийся в приемном окне бункера 2, захватывается его витками и перемещается к разгрузочному патрубку 3. Для регулирования и стабилизации производительности перед разгрузочным патрубком располагают цилиндрический участок 4 длиной не менее одного диаметра червяка. Радиальный зазор между внутренней поверхностью желоба и наружным диаметром червяка б должен выбираться таким образом, чтобы скомпенсировать все неточности сборки и прогиб червяка; при этом червяк не должен соприкасаться с поверхностью желоба. Следует, однако, избегать слишком больших значений радиального зазора во избежание заклинивания или защемления в зазоре частиц выгружаемого материала, так как при этом могут возникать чрезмерные изгибающие усилия и очень большие тормозные моменты.
Объемную производительность червячного разгрузочного устройства можно определить по формуле
>
>(2.1)
Угол 9>т> равен

Трение в зазоре между материалом и кромкой витка червяка и между материалом и желобом проявляется по-разному. При гладкой цилиндрической поверхности желоба материал скользит по ней; при этом эффективная площадь сечения транспортируемого материала увеличивается, а производительность несколько возрастает. Шероховатая поверхность и большой зазор приводят к сдвигу материала по цилиндрической поверхности радиусом R>B>. При этом на стенке желоба образуется слой практически неподвижного материала.
ПНЕВМОТРАНСПОРТ
Пневмотранспорт получил особенно широкое распространение за последние тридцать лет, и в настоящее время он практически полностью вытеснил на предприятиях по переработке пластмасс все другие виды транспорта (конвейеры, транспортеры). Широкое применение пневмотранспорта объясняется следующими причинами: 1) возможностью перемещения сыпучих материалов в горизонтальном, наклонном и вертикальном направлениях; 2) герметичностью трубопроводов и отсутствием потерь транспортируемых материалов; 3) сравнительной простотой конструкции, обслуживания и эксплуатации при незначительных площадях и объеме зданий; 4) возможностью полной автоматизации процесса транспортирования и распределения материала по бункерам; 5) возможностью совмещения транспортирования материала с его сушкой подогретым воздухом.
Пневматические транспортные установки (рис.4) могут быть всасывающими (вакуум-транспорт) и нагнетательными (пневмотранспорт). Принципиальной разницы между этими системами нет, поскольку в обоих случаях движущей силой является разность давлений на входе и на выходе из трубопровода, обеспечивающая нужную скорость воздушного потока.
В нагнетательных системах источник движущегося воздуха (вентилятор, воздуходувку или компрессор) располагают в начале установки, а во всасывающих системах (вакуум-насос) — в конце, возле места выгрузки. В первом случае перепад давлений в системе может достигать 0,3 МПа, так как более плотный воздух лучше поддерживает перемешиваемый материал, что особенно важно при большой длине трубопроводов. Во втором случае максимальный перепад давлений не превышает 0,04— 0,05 МПа, поэтому такие системы применяют для транспортирования сырья на небольшие расстояния.
Всасывающая пневмотранспортная установка (рис. 4, а) состоит из вакуум-насоса 7, приемного сопла 2, трубопровода 3, циклона-отделителя 4, фильтра 5 и шлюзовых затворов 8. Вакуум-насос создает разрежение в системе.

Под действием атмосферного давления сыпучий материал 1 вместе с воздухом засасывается через сопло 2 в трубопровод 3 и поступает в циклон-отделитель, в котором скорость воздушного потока резко снижается и происходит осаждение материала. Воздух, содержащий мелкую пыль, очищается в фильтре 5 и, пройдя через влагоотделитель 6, поступает в вакуум-насос, откуда он выбрасывается в атмосферу. Материал из циклона-отделителя и фильтра поступает через шлюзовые затворы 8, обеспечивающие достаточно надежную герметизацию системы, к секторным дозаторам 9.
Нагнетательная пнёвмотранспортная установка (рис. 4,6) состоит из воздуходувки /, калорифера 2, бункера-силоса 3, секторного дозатора 4, трубопровода 5, циклона-отделителя 6 и воздушного фильтра 7. Нагнетаемый воздуходувкой воздух проходит через калорифер 2 в трубопровод 5, в который из бункера 3 сыпучий материал подается секторным питателем 4. Воздушный поток подхватывает материал и транспортирует его по трубопроводу в циклон-отделитель 6, где и происходит его осаждение. Выгрузка материала из циклона 6 и воздушного фильтра 7 производится через шлюзовые затворы 8.
ПИТАТЕЛИ И ДОЗАТОРЫ ДЛЯ СЫПУЧИХ МАТЕРИАЛОВ
Механизмы для дозирования сыпучих материалов подразделяются на дозаторы для крупнокусковых, крупно- и мелкозернистых, а также порошкообразных материалов. По характеру действия дозаторы подразделяют на устройства непрерывного действия (поточные) и циклического действия (порционные). Регулирование производительности дозаторов может осуществляться изменением объема дозатора, изменением скорости или сечения потока подаваемого материала, причем регулирование может быть как дистанционным, централизованным, так и с индивидуального пульта управления вручную.
Дозаторы непрерывного действия состоят из механизмов, обеспечивающих перемещение материала; первичных датчиков, контролирующих расход и преобразующих измеряемую величину в управляющий сигнал; аппаратуры, выдающей закон управления; исполнительных механизмов; контрольно-измерительных и регистрирующих приборов, а также вспомогательных конструктивных элементов.
По принципу дозирования различают объемные и весовые дозаторы. Выбор конструкции дозатора для конкретного технологического процесса определяется физическими свойствами дозируемого материала, производительностью процесса и требованиями к точности дозирования. Из физических свойств дозируемого материала наибольшее значение имеют: плотность, однородность гранулометрического состава, склонность к слеживанию и уплотнению.

По конструкции дозаторы непрерывного действия подразделяют на секторные, лотковые, тарельчатые, ленточные, вибрационные и червячные. Наиболее широкое распространение в подготовительных производствах нашли секторные (объемные) дозаторы. К их преимуществам следует отнести низкую стоимость и простоту в эксплуатации. Основным их недостатком по сравнению с весовыми дозаторами является меньшая точность дозирования.
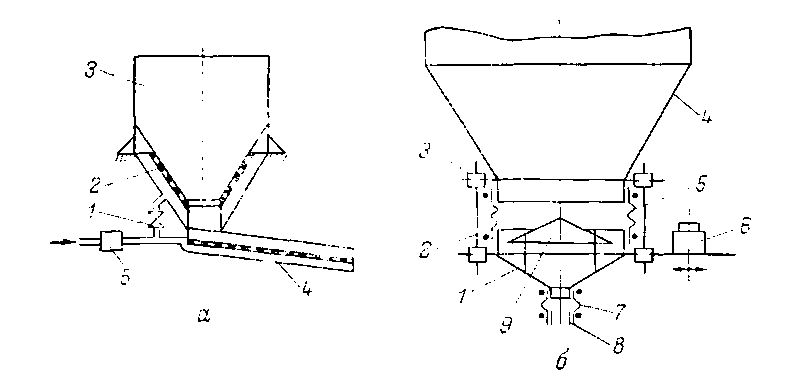
Секторные дозаторы применяют для дозирования гранулированных и сыпучих порошкообразных и кусковых материалов с размером частиц до 30 мм. Секторный дозатор (рис. 5) состоит из цилиндрического корпуса 1, в котором расположен секционированный ротор 2, имеющий регулируемый электрический привод. Дозируемый материал под действием своего веса ссыпается через патрубок 4 из бункера и поочередно заполняет секции ротора. При вращении ротора секции, оказывающиеся над разгрузочным патрубком 3, выгружаются, и материал поступает в приемник. Отверстие А, соединяющее внутреннюю полость ротора с атмосферой, служит для сброса избыточного давления. Шибер 6, приводимый в действие пневмоцилиндром 5, служит для перекрытия доступа материала к дозатору при его ревизии или ремонте. Часовая объемная производительность секторного дозатора Q (м3/ч) определяется по формуле

где а, — объем одной секции (отсека), м3; i — число секций; N — частота вращения, об/мин; — коэффициент заполнения (Чг = 0,8-0,9).
Лотковый дозатор (рис. 6) состоит из лотка (или трубы) 1, закрепленного непосредственно на вибраторе 2. Дозируемый материал поступает на лоток через патрубок 3; в нем расположена заслонка 4, меняя положение которой, можно регулировать толщину слоя подаваемого материала. Вибратор приводит лоток в колебательное движение, направление которого составляет угол р с направлением движения материала. Частоту колебаний выбирают таким образом, чтобы вся система работала в зарезонансном режиме. Привод дозатора может быть механическим, пневматическим, электромагнитным или магнитно-стрикционным.

Рис. 2.7 Одночервячный дозатор.
Часовая объемная производительность лоткового дозатора Q (м3/ч) определяется по формуле
>
>(2.22)
где s — площадь сечения лотка, м2; А — амплитуда колебаний вибратора, м; (о—частота колебаний вибратора, с-1, К — коэффициент заполнения лотка (Я=0,6-^0,8; меньшее значение соответствует порошкам, большее — гранулированным полимерам).
Производительность лотковых дозаторов регулируют, изменяя толщину слоя, амплитуду и частоту колебаний. Поскольку массовая производительность в значительной степени зависит от сыпучести и насыпной плотности материала, изменяющихся на практике в довольно широких пределах, лотковые дозаторы обычно используют в тех случаях, когда к точности и воспроизводимости дозы не предъявляют особенно высоких требований (транспортирование материалов из расходных емкостей, питание весовых дозаторов, просеивание, промывка и сушка изделий). К преимуществам лотковых дозаторов относятся малая инерционность, простота чистки, малое загрязнение дозируемого материала и большой диапазон производительности (от нескольких килограммов до нескольких сотен тонн в час). Недостатки состоят в невозможности транспортирования липких материалов, в значительных пульсациях и высоком уровне шума.
Червячные дозаторы применяют для транспортирования и дозирования мелкозернистых, гранулированных и порошкообразных материалов, склонных к сводообразованию. По числу червяков различают одно- и двухчервячные дозаторы, причем последние применяют для дозирования материалов, склонных к налипанию на нарезку червяков, поскольку в двухчервячных дозаторах осуществляется взаимная самоочистка находящихся в зацеплении червяков.
Одночервячный дозатор (рис. 7) состоит из корпуса 7, внутри которого на опорах 2 установлен червяк 1. Дозируемый материал поступает к червяку через загрузочный патрубок 4 и* выгружается через разгрузочный патрубок 6. Для предотвращения попадания транспортируемого материала в подшипники червяка на его концах вблизи разгрузочного и загрузочного патрубков располагают отбойную нарезку 3 и 5 длиной 1—1,5 витка. Червяки одночервячных дозаторов могут иметь как сплошную, так и прерывистую нарезку. Шаг винтовой нарезки обычно составляет 0,8—1,5 диаметра червяка.
Объемную производительность одночервячного дозатора Q можно рассчитать по формуле

где D — наружный диаметр червяка; d — диаметр сердечника; / — шаг нарезки; е — осевая толщина нарезки;
Для точного дозирования сыпучих материалов применяют весовые дозаторы, которые могут быть непрерывного или периодического действия. Конструктивно весовые дозаторы могут изготавливаться ленточного, червячного или роторного типа. Производительность таких дозаторов контролируют взвешиванием материала, находящегося в бункере или на подающем механизме дозатора. Наиболее распространены весовые дозаторы непрерывного действия с ленточными питателями производительностью от 0,5 до 20 000 кг/ч. Точность дозирования составляет от 0,5 до 4% часовой производительности. Управление дозаторами может осуществляться как с дистанционных пультов, так и вручную.