Фізичні основи механічних торцевих ущільнень
Содержание
1. Фізичні основи механічних торцевих ущільнень
1.1 Принцип роботи
1.2 Класифікація торцевих ущільнень
1.3 Режим тертя контактних поверхонь
1.4 Зношування пар тертя
1. Фізичні основи механічних торцевих ущільнень
1.1 Принцип роботи
В данний час торцеві механічні ущільнення знаходять все більш широке застосування завдяки таким важливим якостям, як герметичність та довговічність. За кордоном сформувалася спеціалізована галузь з виробництва торцевих механічних ущільнень. Провідні фірми Ф. Бургман, Пасифік, Меркель (ФРН), Флексибокс, Крейн Пекінг (Англія), Борг-Вонер, Гарлок, Локхід (США) та інші поставляють комплектні вузли ущільнень для широкого діапазону параметрів та умов роботи, гарантуючи ресурс десятки тисяч годин.

Рисунок 1 - Торцеве механічне ущільнення
Найпростіша конструкція торцевого ущільнення (рис.1) має нерухоме 2 та аксіально рухоме 3 ущільнювальне кільця із зносостійкого матеріалу, які закріплені в обоймах 1 та 5. Попередній контактний тиск між кільцями забезпечується силою стиснення пружини 6, а потім збільшується за рахунок сили тиску ущільнювальної рідини. Зазор між валом та аксіально рухомим кільцем 3 герметизується вторинним ущільненням 4; крутильний момент, необхідний для подолання тертя на контактних торцевих поверхнях, передається від вала на кільце, що обертається, через паводковий пристрій: штифт 7 та юбка кільця з поздовжнім пазом.
Герметизація здійснюється за рахунок стиснення торцевих поверхонь нерухомого 2 та рухомого 3 кілець. Із збільшенням контактного тиску герметичність підвищується, проте при цьому збільшуються втрати потужності на тертя, внаслідок чого підвищується знос поверхонь, що труться, їх нагрів та температурні деформації. Таким чином, працездатність ущільнення визначається перш за все контактним тиском та фізичними процесами на контактуючих та обертових стосовно одна одної торцевих поверхонь.
На підставі наявних експериментальних даних роботу ущільнення спрощено можна представити. Коли весь зазор заповнений рідиною, існують неминучі витоки, які відводять тепло від пари тертя, та в нормальних умовах встановлюється тепловий баланс. При збільшенні втрат потужності на тертя (наприклад, через зростання колової швидкості) температура в шарі зростає, та може настати момент, коли рідина в цьому шарі почне кипіти. Як правило, це відбувається в ділянці, прилеглій до зовнішньої камери з низьким тиском, де температура максимальна, оскільки температура рідини підвищується в міру її протікання у зазорі від області високого до області низького тиску. Утворюються рідка та пароподібна фази, а межа поділу між ними може рухатися по радіусу; область рідкої фази зменшується у міру збільшення втрат потужності на тертя.
На поверхні розділу за рахунок енергії тертя відбувається інтенсивне пароутворення. Тому температура в зазорі стабілізується, тим паче, що утворення пару зменшує силу в'язкого тертя. За несприятливих умов рідка фаза може зменшуватися настільки, що шар рідини в зазорі втратить суцільність. Це веде до різкого підвищення температури, та нормальна робота ущільнення порушується.
Таким чином, якщо допускаються видимі витоки, необхідно забезпечити нормальне відведення тепла, щоб запобігти пароутворенню. Якщо ж ущільнення повинні працювати без видимих витоків, необхідно стабілізувати положення межі поділу фаз. У зв'язку з цим при малих окружних швидкостях та в'язких рідинах може виявитися корисним навіть зменшення тепловідведення. При великих же швидкостях необхідно забезпечувати надійне охолоджування пар тертя.
Складністю процесів тертя та зношування обумовлені основні труднощі розрахунку торцевих механічних ущільнень та прогнозування їх експлуатаційних характеристик. У цьому випадку практика значно випереджає теорію: гострота проблеми герметизації роторів змушує часто на дотик шукати та знаходити правильні конструктивні та технологічні рішення для різних ущільнювальних рідин, їх тиску, колових швидкостей, температур, вимог до надійності, довговічності та герметичності при економічно виправданій вартості.
1.2 Класифікація торцевих ущільнень
Конструкція
ущільнення та його характеристики
визначаються експлуатаційними чинниками,
перш за все тиском р>1>
ущільнювальної рідини та середньою
коловою швидкістю
.
В якості загального показника
використовують p>1>v.
Є. Майєр [1] умовно
розділяє торцеві ущільнення за
експлуатаційними навантаженнями на
чотири групи (табл.1), що дозволяє у
загальних рисах уявити труднощі,
пов'язані з герметизацією роторів
конкретних насосів. Якщо ущільнення
першої та другої груп виробляються
серійно, то ущільнення четвертої, а
часто і третьої групи вимагають
індивідуального проектування і
виготовлення.
Таблиця 1

Подібна класифікація за експлуатаційними ознаками [2], що включає також характеристики ущільнювального середовища, наведена в таблиці 2. У цій класифікації відповідні групи навантаження у порівнянні з таблицею 1 відрізняються вищими параметрами. Для ущільнень специфічного призначення параметри навантаження не регламентуються.
Таблиця 2

В
якості універсальної експлуатаційної
характеристики ущільнень можна
використовувати безрозмірний критерій
режиму [3]
з точністю до множника, що збігається
із зворотним числом Зоммерфельда.
Класифікація за експлуатаційними
ознаками у неявному вигляді відображає
конструктивні особливості та
використовувані матеріали, що забезпечують
працездатність різних за умов роботи
груп ущільнень [4].
Різноманітність умов роботи та вимог до ущільнень спричинила до нескінченної безлічі конструкцій, які можна класифікувати [2] за обмеженим числом визначальних конструктивних ознак (рис.2). У наведеній класифікації показані лише принципові схеми одинарних торцевих ущільнень, з яких можна комбінувати складніші багатосекційні вузли із послідовно або паралельно сполученими секціями. Докладніша класифікація повинна враховувати характерні ознаки окремих елементів торцевих ущільнень: вторинних ущільнень, пружних елементів, стопорних пристроїв, геометрію контактних торцевих поверхонь, засоби відведення тепла і т.п.
При проектуванні торцевих ущільнень в якості критерію оптимальності доцільно брати показник довговічності, наприклад, середній ресурс, тобто математичне очікування напрацювання до настання граничного стану, коли подальша експлуатація стає технічно неможливою або недоцільною. Інші важливі вимоги - герметичність, безвідмовність, мінімум втрат потужності на тертя, допустимі габарити та вартість - потрібно розглядати як обмеження в задачі оптимізації.

Рисунок 2 - Класифікація торцевих ущільнень
Довговічність торцевих ущільнень визначається зносостійкістю матеріалів пар тертя, умовами експлуатації та контактним тиском, які, у свою чергу, залежать від ряду конструктивних та експлуатаційних чинників. До конструктивних чинників, окрім коефіцієнта навантаження та напряму радіальної течії, відносять геометричну форму радіального перетину ущільнювальних кілець, їх діаметр та спосіб кріплення. Основні експлуатаційні чинники: частота обертання ротора, фізичні властивості, тиск та температура ущільнювального середовища, зміст абразивних домішок у ній, величина та характер вібрацій ротора.
1.3 Режим тертя контактних поверхонь
Механічні торцеві ущільнення працюють за наявності плям контакту між торцевими поверхнями, які обертаються відносно один одного. При цьому основною причиною обмеження ресурсу є зношування змазаних шорстких поверхонь у результаті тертя. Таким чином, крім інших чинників, на знос впливають режим тертя та параметри поверхонь.
Характеристика мікронерівностей, що обумовлюють шорсткість поверхні незалежно від способу її отримання, визначається класом шорсткості (табл.3). В якості основних параметрів шорсткості (ГОСТ 2789-73) використовують середнє арифметичне відхилення R>a >профілю на базовій довжині l, висоту нерівностей R>z> за десятьма точками та найбільшу висоту нерівностей профілю R>max>.
Уявлення
про різні режими тертя дає узагальнена
крива Штрібека (рис.3), що відображає
якісний зв'язок коефіцієнта тертя f
з безрозмірною величиною
яка пропорційна відношенню сили рідинного
тертя до сили контактного тиску (
- динамічний коефіцієнт в'язкості
ущільнювальної рідини:
- частота обертання ротора). Права ділянка
І кривої
відповідає режиму рідинного змащення:
між поверхнями, що труться, зберігається
безперервний шар рідини. Значення
середнього зазору h
задовольняє умову
де
,
- середні арифметичні відхилення профілів
контактуючих шорстких поверхонь. У
режимі рідинного змащення коефіцієнт
тертя
легко обчислити, оскільки сила тертя
дорівнює
,
(1)
а
сила нормального тиску Р=p>c>S>c>,
де S>c>
- площа контакту,
- дотична напруга, р>с
- >средній контактний
тиск. У результаті
(2)
Таблиця 3


Рисунок 3 - Крива Штрібека
У
міру збільшення зовнішнього навантаження
Р та
відповідно контактного тиску зазор
зменшується настільки, що між окремими
виступами шорсткості виникає контакт
та порушується суцільність масляного
шару (ділянка ІІ
кривої Штрібека, що відповідає змішаному
змащенню). Характерні співвідношення
між середнім зазором та параметром
шорсткості такі:
.
Коефіцієнт тертя в основному визначається
в'язкістю мастила, але частково вже
виявляється його залежність від
антифрикційних властивостей матеріалів
пари тертя.
При
подальшому збільшенні навантаження та
зближенні контактних пар
)
деякі об'єми мастила зберігаються лише
в западинах, а решта поверхні покрита
адсорбованою плівкою, товщина якої
становить декілька молекулярних шарів
Коефіцієнт тертя в режимі граничного
змащення (ділянка ІІІ)
визначається антифрикційними властивостями
матеріалів та фізико-хімічною структурою
адсорбованих плівок мастила. Граничне
тертя - найхарактерніший режим тертя
механічних торцевих ущільнень. При
цьому ущільнення зберігають високу
герметичність: видимі витоки або взагалі
відсутні (встигають випаруватися), або
спостерігаються лише краплинні витоки.
При сухому терті (ділянка IV кривої Штрібека) мастило відсутнє, тому адсорбована плівка руйнується без відновлення. Між нерівностями шорстких поверхонь, що труться, відбуваються періодичні дотики, що супроводжуються пластичними деформаціями із значним підвищенням місцевого тиску та температур, що у результаті призводить до втомного руйнування поверхонь тертя. Крім того, посилюється молекулярний зв'язок (адгезія) між тілами, що труться, який може приводити до заїдання та схоплювання. Сухе тертя зустрічається рідко, зокрема, коли ущільнюється вакуум.
Між розглянутими режимами тертя немає чітких меж, оскільки процес тертя визначається випадковими чинниками та має випадковий характер, так само, як і процес зношування поверхонь, що труться.
1.4 Зношування пар тертя
Зношування
- процес поступової зміни розмірів тіла
при терті, що виявляється у відділенні
з поверхні тертя матеріалу та (або) його
залишкової деформації (ГОСТ 16429-70). Знос
- результат процесу зношування, його
кількісний вираз. В якості показників
зношування використовують: лінійний
знос U
- висоту зношеного шару матеріалу (ресурс
вузла тертя визначається гранично
допустимим лінійним зносом), мкм;
інтенсивність зношування і
= U/L - відношення лінійного
зносу до шляху, на якому відбувалося
зношування; швидкість зношування
- відношення лінійного зносу до часу
зношування, мкм/год.
Процес зношування правильно підібраних
пар тертя має, як правило, три стадії
(рис.4): І
- стадія мікроприпрацювання, протягом
якої відбувається зміна початкової,
технологічної шорсткості в рівноважну
експлуатаційну, відповідну даним умовам
тертя та зношування і яка має здатність
самовідтворюватися у процесі тертя.
Залежно від умов параметри початкової
шорсткості на стадії мікроприпрацювання
можуть як зменшуватися, так і збільшуватися.
Чим ближче початкова шорсткість до
рівноважної, тим коротше стадія
припрацювання. При терті заздалегідь
деформованих або неточно встановлених
(з перекосом) поверхонь існує також
період мікроприпрацювання, протягом
якого зношування приводить до зміни
номінальної площі контакту поверхонь
тертя.

Рисунок 4 - Залежність показника зношування від часу
Друга стадія (ІІ)
- стадія нормального, сталого зносу:
,
.
У багатьох випадках спостерігається
стадія катастрофічного зносу (ІІІ)
- стадія інтенсивного наростання
швидкості зношування, обумовленого
несприятливою зміною зовнішніх чинників
або зміною умов тертя через досягнення
гранично допустимого зносу.
Сталий
режим зношування при характерному для
торцевих ущільнень граничному терті
якнайповніше описується розробленою
І.В. Крагельським [5, 6] молекулярно-механічною
(адгезійно-деформаційною) теорією тертя
і втомного зношування. Відповідно до
цих теорій тертя обумовлене, з одного
боку, деформацією матеріалу, який проник
нерівностями (пружне або пластичне
відтиснення), з іншого - подоланням
молекулярних (адгезійних) зв'язків у
зоні контакту. В результаті повторно
багаторазових деформацій у процесі
тертя, пов'язаних як з механічним
відтисненням, так і з безперервним
утворенням та руйнуванням фрикційних
зв'язків у деформованих мікрооб'ємах
поверхневого шару накопичуються дефекти,
що приводять до втомного руйнування.
Для зменшення інтенсивності зношування
дуже важливо, щоб відшаровування
матеріалу через деформації зсуву
локалізувалися в тонкому поверхневому
шарі та не захоплювали увесь мікрооб'єм,
що деформується. Це можливо за умови,
що на поверхні тертя є ослаблений шар
з малим зсувним опором
.
Ця умова формулюється як універсальне
правило позитивного градієнта [5]:
,
тобто зсувний опір повинен зростати в
напрямку нормалі п
до поверхні тертя (нормаль спрямована
в глиб матеріалу).
На підставі викладених уявлень про процеси тертя та зношування запропоновані розрахункові формули для оцінки показників зношування, що містять ряд коефіцієнтів, які повинні визначатися експериментально для конкретних матеріалів та умов тертя. У монографіях Є. Майєра [1], А.І. Голубєва [4], Л.А. Кондакова [7] зібраний великий експериментальний матеріал щодо тертя та зносу торцевих ущільнень, що дозволяє орієнтовно прогнозувати довговічність ущільнень на стадії їх проектування.
Основним чинником, що визначає знос, є контактний тиск, який, у свою чергу, залежить не тільки від конструктивних та експлуатаційних параметрів, але і від ряду внутрішніх процесів, супутніх роботі ущільнення. Зокрема, значний вплив на процеси в парі тертя можуть робити силові та температурні деформації, які визначаються геометричною формою ущільнювальних кілець, потужністю втрат на тертя та умовами тепловідведення.
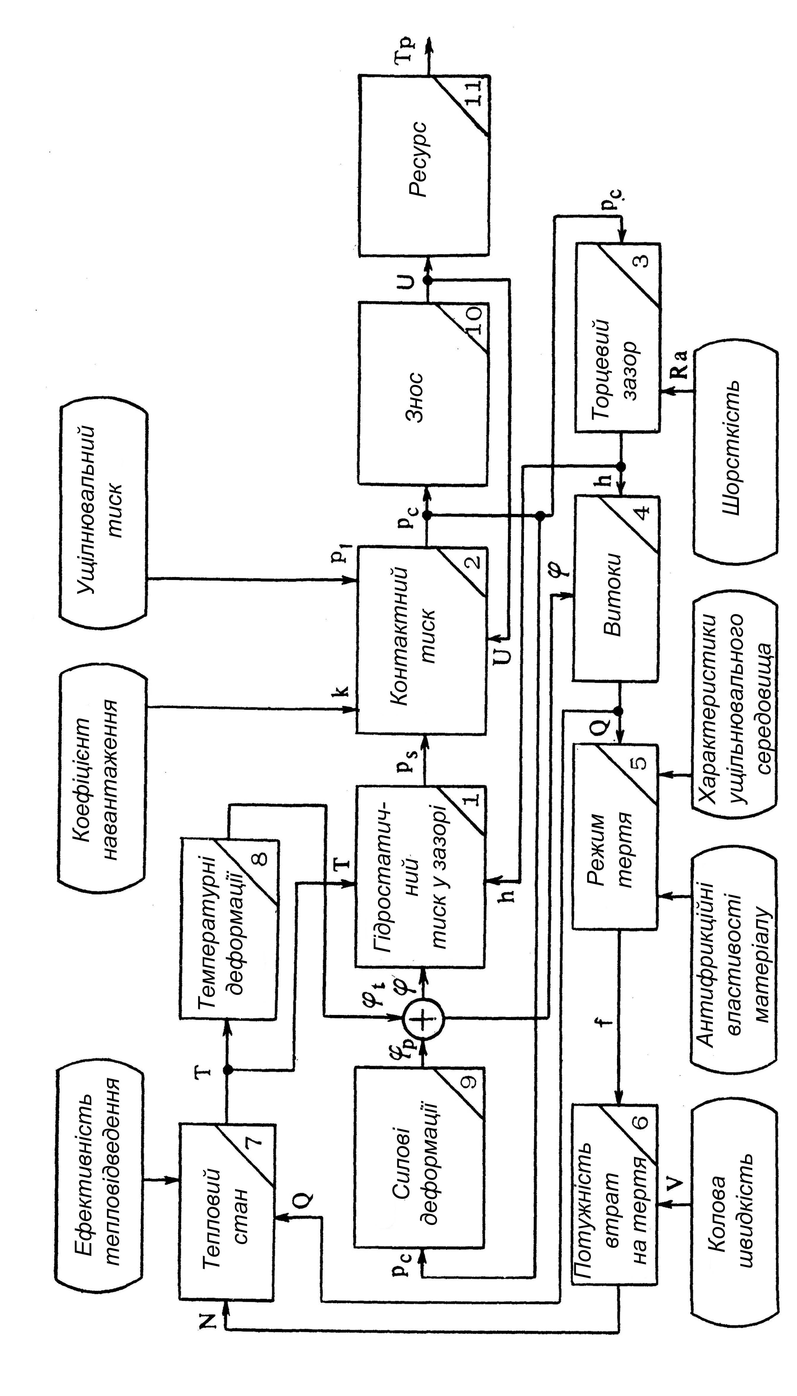
Таким чином, торцеві ущільнення є динамічною системою, спрощена структурна схема якої (рис.5) дає уявлення про зв'язки та взаємодію основних елементів системи, про характер їх передавальних функцій, про зовнішні дії та виходи системи. У той же час із структурної схеми видно задачі розрахунку, які зводяться до визначення передавальних функцій елементів та оцінки реакції (виходу) системи на зовнішні дії. Як вихід можна використати ресурс Т>р> ущільнення або лінійний знос U торцевих контактних поверхонь.

Рисунок 5 - Структурна схема торцевого ущільнення
Через складність процесів термогідропружності, тертя та зношування більшість передавальних функцій елементів системи не піддається достатньо точному визначенню. Тому розрахунок доводиться обмежувати приблизними оцінками та порівнянням знову проектованих ущільнень з перевіреними в експлуатації аналогами. У викладеній нижче методиці порядок розрахунку взятий відповідно до нумерації передавальних функцій структурної схеми (рис.5).