Характеристика производства полимерных труб и его технико-экономический уровень
Характеристика производства полимерных труб и его технико-экономический уровень
Производство полимерных труб включает следующие технологические операции:
входной контроль сырья и материалов;
изготовление корпуса трубы методом экструзии;
резка трубной заготовки для получения корпусов труб заданных размеров;
получение плечика трубы литьем под давлением с приформовкой их к корпусу трубы;
обработка поверхности труб коронным разрядом. Нанесение цветной печати на корпус труб.
Лакирование поверхности труб:
сверление отверстия в головках;
навинчивание бушонов;
декорирование поверхности труб тиснением;
контроль готовой продукции;
упаковка.
Трубы полимерные предназначены для упаковки пищевой и косметической продукции, средств бытовой химии и личной гигиены, медицинских мазей и кремов.
Для производства полимерных труб используется в основном полиэтилен различных марок и его сополимеры, а также различные добавки (СКП, модифицирующие).
Для производства труб могут быть использованы технологические отходы их производства, образуемые в процессе экструзии и литья путем добавки их в первичный материал в количестве до 30%. Добавке вторичного сырья должно предшествовать его измельчение.
Трубы полиэтиленовые изготавливаются из базовых марок полиэтилена высокого давления (низкой плотности) (ПЭВД) или смеси ПЭВД и полиэтилена низкого давления (высокой плотности) (ПЭНД) для цилиндрической части и ПЭНД для плечиков, предусмотренных технологическим регламентом в зависимости от назначения труб по заключенному договору с потребителем, или полиэтилена других марок с параметрами и характеристиками соответствующими базовым маркам.
Бушоны для труб изготавливаются из полипропилена, сополимеров пропилена, ПЭНД, соответствующих требованиям нормативной документации на трубы.
Базовые марки полиэтилена и полипропилена, рецептуры добавок, печатных красок, лаков и др. должны быть разрешены к применению Минздравом Украины.
Трубы полиэтиленовые выпускаются по ТУ У 25463020-02-99 "Трубы полиэтиленовые"
На поверхности корпусов труб должны быть отпечатаны красочные рисунки и текст в соответствии с оригиналом, представленным заказчиком и утвержденным в установленном порядке. На конце открытой части корпусов труб, по требованию заказчика, печатается метка из цветов оригинала вдоль труб для ее центрирования по рисунку при наполнении и укупоривании.
Для нанесения на трубы рисунка, текста и метки для центрирования должны применяться краски, выпускаемые по действующей нормативной документации.
На цилиндрическую часть трубы наносится бесцветная (прозрачная) лаковая пленка толщиной 3-5 мкм (обеспечивается технологически) для сохранения цветной печати и придания трубе гладкости и блеска. Лак должен соответствовать требованиям РТМ-27-72-15 или другой нормативной документации и иметь разрешение Минздрава Украины к применению для этих целей.
Трубы могут покрываться золотой и серебряной печатью с помощью горячего тиснения. Смещение отпечатка относительно основного рисунка не должно превышать 0,5 мм.
Бушоны должны быть навинчены на резьбовую часть трубы до упора. Не допускается проворачивание бушона.
Трубы с навинченными на них бушонами должны быть герметичными, не иметь свищей, сквозных порезов.
Комплектующие, сырье и материалы должны проходить входной контроль. Приемка должна производиться на основании паспортов или сертификатов поставщика, удостоверяющих качество.
Показатели свойств сырья, материалов, полуфабрикатов, имеющие принципиальное значение в технологическом процессе, должны контролироваться в лаборатории завода на их соответствие данным, указанным в паспортах и сертификатах на материал.
Размеры труб должны соответствовать размерам, указанным на рисунке 1 и в таблице 1 (основа трубы).
В зависимости от назначения согласно ТУ У 25463020-02-99 трубы выпускаются заводом следующих типов:
трубы типа АК с метрической резьбой (рисунок 2);
трубы типа ВК с инжекционным наконечником (рисунок 3);
трубы типа СК с трапецеидальной резьбой (рисунок 4).

Рис.1
Таблица 1
|
Номинальный диаметр |
Наружный диаметр d ±0,2 |
Длина трубы l |
Толщина Стенки, S1 ±0,03 |
Толщина плечика S2 ±0,2 |
Радиус г |
|
13,5 |
13,7 |
до90±1 |
0,4 |
1,0 |
2 |
|
16 |
16,2 |
до 100±1 |
0,4 |
1,2 |
2 |
|
19 |
19,2 |
до 120±1,2 |
0,4 |
1,2 |
2,5 |
|
22 |
22 |
до 150±1,5 |
0,4 |
1,2 |
2,5 |
|
25 |
25 |
до 175±1,6 |
0,5 |
1,2 |
3 |
|
30 |
30 |
до 175±1,8 |
0,5 |
1,2 |
3 |
|
35 |
35 |
до 165±2,0 |
0,5 |
1,2 |
4 |
|
40 |
40 |
до 165±2,2 |
0,5 |
1,3 |
4 |
|
50 |
50 |
до 180±2,2 |
0,5 |
1,5 |
6 |
|
1) Размеры указаны в мм |
|||||
|
2) Каждая длина может быть заказана до зависящего от номинального диаметра максимального значения. |

Рис.2 Форма горлышка трубы типа АК с метрической резьбой
Таблица 2
|
Резьба горлышка |
Отверстие горлышка |
Диаметр пояска |
Длина резьбы |
Высота пояска |
Номинальный диаметр для труб |
|
d1 8g |
d2 ±0,2 |
d3 |
H2 ±0,2 |
h3 |
|
|
М7 |
3,5 |
7,2 |
4,7 |
0,4 |
13,5 |
|
М9 |
4 |
9,2 |
5 |
0,4 |
16; 19; 22 |
|
М11 |
5,5 |
11,2 |
5,7 |
0,5 |
19; 22; 25; 30; 35 |
|
М 15x1,5 |
9 |
15,2 |
6 |
0,5 |
25; 30; 35; 40; 50 |
|
Отверстия горлышка труб s меньших размеров по договоренности Смещение оси отверстия d2 относительно резьбы d1 не более 0,3 мм 3) Размеры указаны в мм |

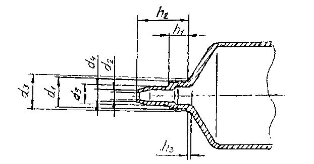
Рис.3 Форма горлышка трубы типа ВК с инжекционным наконечником
Таблица 3
|
Резьба горлышка |
Отверстие горлышка |
Диаметр пояска |
Диаметр конуса |
Диаметр наконечника |
Длина резьбы |
Длина наконечника |
Высота пояска |
Номинальный диаметр для труб |
|
d1 8g |
d2 ±0,2 |
d3 |
d4 0,2 |
d5 |
H2 ±0,2 |
H3 ±0,4 |
h3 |
|
|
Mllxl,25 |
2,5 |
11,2 |
4 |
7,3 |
5,8 |
20 |
0,5 |
25; 30; 35; 40 |
|
M15xl,5 |
5,5 |
15,2 |
8 |
9,8 |
6 |
25 |
0,5 |
50 |
|
Смещение оси отверстия d2 относительно резьбы d1 не более 0,3 мм. 2) Размеры указаны в мм. |

Рис.4. Форма горлышка трубы типа СК с трапецеидальной резьбой
Таблица 4
|
Резьба горлышка |
Отверстие горлышка |
Диаметр пояска |
Уплотни-тельный гофр |
Длина резьбы |
Высота пояска |
Номинальный диаметр для труб |
|
d1 8g |
d2 ±0,2 |
d3 |
d4 0,2 |
H2 ±0,2 |
h3 |
|
|
Тр 22x3 |
9 |
23,4 |
17 |
10,2 |
1 |
40; 50 |
|
Отверстия горлышка трубы меньших размеров по договоренности Смещение оси отверстия d2 относительно резьбы d1 не более 0,3 мм 3) Размеры указаны в мм |
Выпуск труб других типоразмеров и из других видов сырья, не предусмотренных данным технологическим регламентом, оформляется картой отклонения или извещением об изменении в установленном порядке.
Полиэтиленовые трубы не являются токсичными изделиями. Использование их при нормальных комнатных или атмосферных условиях не требует специальных мер предосторожности.
Свободный край корпуса труб должен быть обрезан ровно. В горловине труб не должно быть заусенцев и пластмассовой осыпи, стружки.
Красочный отпечаток должен быть четким. Допускается:
незначительные отклонения цветов и оттенков от образца-эталона не являются браковочным и претензионным признаком;
наличие полосы до 2 мм перекрытия круговой печати.
Покрытие труб должно быть устойчивым к воде, не должно стираться, размываться или облущиваться.
Лаковая пленка покрытия труб должна иметь ровную блестящую поверхность без посторонних включений.
Допускается:
наличие утолщения пленки на отдельных участках труб, выдерживающие испытания на эластичность лаковой пленки на трубе при изгибе;
наличие точечных включений смолы лака.
Трубы для упаковки, косметической продукции, средств личной гигиены, и кремов должны соответствовать следующим показателям:
трубы не должны придавать дистиллированной воде постороннего запаха и привкуса выше I балла и изменять цвет и прозрачность дистиллированной воды.
концентрация формальдегида в водной вытяжке на должна превышать 0,1 мг/л.
При несоответствии этим требованиям допускается использовать трубы для упаковки средств бытовой химии.
Таблица 5. Зависимость массы трубы от ее типа
|
Тип трубы |
Масса, г |
Масса трубы |
|
|
Корпуса |
Головки |
||
|
АК-25х145хМ15х1,5 |
5,682 |
1,03 |
6,712 |
|
АК-30х170хМ15х1,5 |
8,007 |
1,3 |
9,307 |
|
АК-35х170хМ15х1,5 |
9,366 |
1,8 |
11,166 |
|
АК-40х185хМ15х1,5 |
11,660 |
2,46 |
14,120 |
|
АК-50х185хМ15х1,5 |
14,614 |
3, 19 |
17,804 |
Трубы могут выпускаться натурального цвета или окрашенными в массе в различные цвета.
Изготовление полиэтиленовых труб осуществляется путем выдавливания рукавной заготовки через кольцевую щелевую головку с последующей вакуумной калибровкой в экструзионных агрегатах фирмы АН ХАРНГ КО ЛТД, порезкой трубчатой заготовки на отрезки заданной длинны (корпус труб), формирование головки труб с приформовкой их к корпусу методом литья под давлением на вертикальных литьевых машинах модели СС-32SBD и CC-36SBD, обработкой корпуса трубы коронным разрядом, нанесением на него многоцветной печати офсетным способом, структурированием (отверждением) типографских красок путем фотохимической полимеризации, лакированием печатного изображения, сушкой лака в сушильной камере, с последующим сверлением отверстия в головке трубы на сверлильном станке, навинчиванием бушонов и, если это предусмотрено дизайном трубы, декорированием путем горячего тиснения.
Технологическая схема производства полиэтиленовых труб состоит из следующих стадий
1. Подготовка и загрузка сырья.
2. Приготовление композиций.
3. Экструзия полиэтилена с формированием рукавной заготовки.
4. Вакуумная калибровка рукава, вытяжка его, охлаждение, разрезка трубчатой заготовки на корпуса.
5. Формирование головки труб с приформовкой их к корпусу методом литья под давлением.
6. Обработка корпусов труб коронным разрядом, нанесение многоцветной печати, структурирование (отверждение) печатных красок фотохимической полимеризацией.
7. Лакирование печатного изображения и сушка лака
8. Сверление отверстия в головках труб.
9. Навинчивание бушонов на головку трубы.
10. Декорирование труб путем горячего тиснения.
11. Упаковка готовой продукции, транспортировка ее на склад и хранение.
12. Переработка отходов производства.
Сырье на завод поступает на машинах в мешках. С машин сырье перегружается на электрокары или подъемник и доставляется на склад хранения сырья.
Растаривается сырье в мешках вручную. При организации узла растарки допускается доставка сырья на завод в полимеровозах.
Склад сырья и узел растарки располагаются отдельно и предназначены для временного хранения сырья.
Перед использованием сырья в производстве оно должно быть выдержано в цехе не менее 24часов.
1. Подготовка и загрузка сырья
В зависимости от вида выпускаемой трубы композиция для экструзии и литья под давлением может состоять из одной марки полиэтилена, либо из смеси различных марок полиэтилена с введением в композицию пигментов, суперконцентратов красителей, модифицирующих и скользящих добавок, дополнительных стабилизаторов или вторичного сырья. Перед приготовлением композиций растаренное сырье должно быть доставлено на участок приготовления композиций.
2. Приготовление композиций
Смешение компонентов композиции осуществляется в смесителе типа "пьяная бочка".
Загрузка компонентов композиции осуществляется путем весового или объемного дозирования на основании технологической карты, в которой указан состав приготавливаемой композиции.
Композиция требуемого состава должна быть приготовлена в количестве, необходимом для выполнения заказа на данный вид трубы. Приготовление композиции должно осуществляться централизованно, при строгом соблюдении рецептур загрузки.
Контроль осуществляет сменный мастер.
Время смешения компонентов в смесителе 15-20 мин при комнатной температуре.
Приготовленные композиции из смесителя "пьяная бочка" выгружаются в шлюзовые хранилища вручную или с помощью пневмотранспорта.
Составы композиций для приготовления различных видов труб приведены в таблице 8.
Таблица 8
|
№ трубы |
Характеристика трубы |
Диаметр |
Содержание ингредиентов, масс. % |
||||
|
ПЭВД |
ПЭНД |
Концентрат пигмента |
Полимерный модификатор |
Скользящая добавка |
|||
|
1М |
мягкая |
25 |
100 |
- |
0-3 |
- |
0-3 |
|
2М |
-/- |
30 |
100 |
- |
0-3 |
- |
0-3 |
|
3М |
-/- |
35 |
100 |
- |
0-3 |
- |
0-3 |
|
4М |
-/- |
40 |
100 |
- |
0-3 |
- |
0-3 |
|
5М |
-/- |
50 |
100 |
- |
0-3 |
- |
0-3 |
|
1С |
средняя |
25 |
70 |
30 |
0-3 |
15 |
0-3 |
|
2С |
-/- |
30 |
70 |
30 |
0-3 |
15 |
0-3 |
|
3С |
-/- |
35 |
70 |
30 |
0-3 |
15 |
0-3 |
|
4С |
-/- |
40 |
70 |
30 |
0-3 |
15 |
0-3 |
|
5С |
-/- |
50 |
70 |
30 |
0-3 |
15 |
0-3 |
|
1Ж |
жесткая |
25 |
40 |
60 |
0-3 |
25 |
0-3 |
|
2Ж |
-/- |
30 |
40 |
60 |
0-3 |
25 |
0-3 |
|
0-33Ж |
-/- |
35 |
40 |
60 |
0-3 |
25 |
0-3 |
|
4Ж |
-/- |
40 |
40 |
60 |
0-3 |
25 |
0-3 |
|
5Ж |
-/- |
50 |
40 |
60 |
0-3 |
25 |
0-3 |
Приготовленные композиции выгружаются из смесителя вручную или пневмотранспортом в шлюзовые накопители, из которых с помощью пневмотранспорта или вручную подаются в загрузочные бункеры экструдеров или литьевых машин.
3. Экструзия полиэтилена с формированием трубной заготовки
Перед пуском агрегата проверяется состояние узлов механизмов и их исправность, наличие смазки, величина зазора кольцевой щели головки, наличие и надежность крепления заземляющих устройств.
Включается обогрев зон цилиндра и формующей головки экструдера, которые, в зависимости от показателя текучести расплава сырья и состава композиции нагреваются до температур, указанных в таблице 9 или технологической карты.
Открывается вентиль водопроводной сети для охлаждения зон цилиндра и шнека, а также калибрующей системы и охлаждающих ванн.
По достижении данных температур машина выдерживается на данном тепловом режиме не менее 2-х часов для экструдера ЕДС -01 и не менее 3-х часов для экструдера ДС-02.
На период пуска экструдера после длительной аварийной остановки температурный режим завышают на 15-25°С во избежание чрезмерных нагрузок на привод шнека и головку. Конкретный, для данного вида сырья, температурный режим, скорость вращения шнека, указаны в табл.9.
В случае поступления нового сырья, импортного сырья, сырья из новых производств и др. технолог цеха производит корректировку технологических режимов, указанных в табл.9. Критерием при этом является получение корпусов труб, отвечающих требованиям ТУ У 25463020-02-99
В период подготовки машины к запуску производится установка кольцевого зазора по щупу.
Обогрев корпуса производится электрическими нагревателями, сгруппированными в 4 тепловые зоны, формующая головка имеет 3 электронагревателя. Установка режимов осуществляется согласно таблицы 9.
Температура по тепловым зонам экструдера регулируется автоматически в пределах 0-185°С (в зависимости от сырья). Примыкающий к загрузочному отверстию участок корпуса имеет систему водяного охлаждения до t=20° С, предотвращающего перегрев материала и его "запекание" в зоне загрузки.
Таблица 9
|
№ трубы |
Температура по зонам цилиндра, 0С |
Температура головки, 0С |
Показания тахометра |
Вакуум |
Температура, 0С |
||||||||
|
Шнека |
Конвеера |
1 |
2 |
Ванна |
Втулка |
||||||||
|
1 |
2 |
3 |
4 |
5 |
6 |
7 |
|||||||
|
1М |
120 |
130 |
135 |
147 |
130 |
140 |
135 |
265 |
568 |
15 |
14 |
20 |
8-10 |
|
2М |
120 |
130 |
140 |
143 |
145 |
145 |
145 |
501 |
359 |
14 |
14 |
20 |
8-10 |
|
3М |
120 |
120 |
135 |
147 |
162 |
170 |
170 |
398 |
635 |
16 |
14 |
20 |
8-10 |
|
4М |
120 |
120 |
135 |
147 |
162 |
170 |
170 |
398 |
635 |
16 |
14 |
20 |
8-10 |
|
5М |
120 |
130 |
140 |
147 |
151 |
159 |
158 |
660 |
568 |
7 |
14 |
20 |
8-10 |
|
1С |
120 |
120 |
135 |
147 |
162 |
170 |
170 |
398 |
635 |
16 |
14 |
20 |
10 |
|
2С |
120 |
120 |
135 |
147 |
152 |
150 |
145 |
398 |
640 |
16 |
14 |
20 |
10 |
|
3С |
120 |
120 |
135 |
147 |
152 |
150 |
145 |
398 |
640 |
16 |
14 |
20 |
10 |
|
4С |
120 |
120 |
135 |
147 |
152 |
150 |
145 |
398 |
640 |
16 |
14 |
20 |
10 |
|
5С |
120 |
130 |
140 |
147 |
152 |
159 |
158 |
786 |
694 |
6 |
11 |
20 |
10 |
|
1Ж |
120 |
130 |
140 |
147 |
152 |
159 |
158 |
786 |
694 |
6 |
11 |
20 |
10 |
|
2Ж |
120 |
130 |
140 |
147 |
152 |
159 |
158 |
786 |
694 |
6 |
11 |
20 |
10 |
|
3Ж |
120 |
130 |
140 |
147 |
152 |
159 |
158 |
786 |
694 |
6 |
11 |
20 |
10 |
|
4Ж |
120 |
130 |
140 |
147 |
152 |
159 |
158 |
786 |
694 |
6 |
11 |
20 |
10 |
|
5Ж |
120 |
130 |
140 |
147 |
152 |
159 |
158 |
786 |
694 |
6 |
11 |
20 |
10 |
Для улучшения качества труб, сокращения потерь от обрыва рукава, задержки инородных веществ в материалах на экструзионных линиях установлены фильтрующие сетки.
Количество фильтрующих сеток и частота их чистки зависит от качества перерабатываемого сырья и состава композиции трубы и толщины ее стенки (Ориентировочно - для труб диаметром до 40 мм - 2 сетки, 50 мм - 3 сетки. При добавлении вторичного сырья количество сеток увеличивают на одну)
Средняя частота чистки сеток -один раз в 3 дня или при переходе на другой цвет.
Пуск экструдера производят на малых оборотах шнека, которые в дальнейшем повышаются. Скорость набора частоты вращения на более 5 оборотов шнека за 5 мин (не более 200 по показаниям тахометра).
Шибер на подачу материала из загрузочного бункера в первый момент должен быть обязательно закрытым.
После пуска шнека открывание шибера производится постепенно.
Скорость вращения шнека в зависимости от показателя текучести расплава подбирается практически в пределах паспортных данных оборудования и исходя из внешнего вида корпуса труб (отсутствие царапин, щелей, разрывов).