Штанговые насосные установки
ШТАНГОВЫЕ НАСОСНЫЕ УСТАНОВКИ (ШСНУ)
Прекращение или отсутствие фонтанирования обусловило использование других способов подъема нефти на поверхность, например, посредством штанговых скважинных насосов. Этими насосами в настоящее время оборудовано большинство скважин. Дебит скважин — от десятков килограмм в сутки до нескольких тонн. Насосы опускают на глубину от нескольких десятков метров до 3000 м иногда до 3200 — 3400 м.
ШСНУ включает:
а) наземное оборудование — станок-качалка (СК), оборудование устья, блок управления;
б) подземное оборудование — насосно-компрессорные трубы (НКТ), штанги насосные (ШН), штанговый скважинный насос (ШСН) и различные защитные устройства, улучшающие работу установки в осложненных условиях.

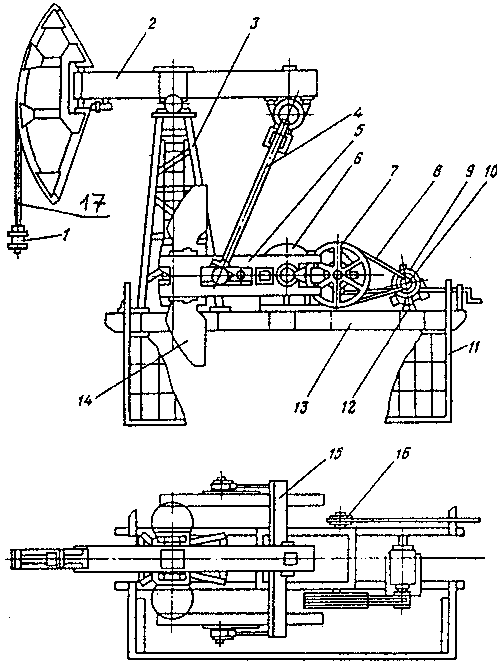
Рис. 1. Схема штанговой насосной установки
Штанговая глубинная насосная установка (рисунок 1) состоит из скважинного насоса 2 вставного или невставного типов, насосных штанг 4, насосно-компрессорных труб 3, подвешенных на планшайбе или в трубной подвеске 8 устьевой арматуры, сальникового уплотнения 6, сальникового штока 7, станка качалки 9, фундамента 10 и тройника 5. На приеме скважинного насоса устанавливается защитное приспособление в виде газового или песочного фильтра 1.
СТАНКИ-КАЧАЛКИ
Станок-качалка (рисунок 2), является индивидуальным приводом скважинного насоса.

Рисунок 2 — Станок-качалка типа СКД
1 — подвеска устьевого штока; 2 — балансир с опорой; 3 — стойка; 4 — шатун; 5 — кривошип; 6 — редуктор; 7 — ведомый шкив; 8 — ремень; 9 — электродвигатель; 10 — ведущий шкив; 11 — ограждение; 12 — поворотная плита; 13 — рама; 14 — противовес; 15 — траверса; 16 — тормоз; 17 — канатная подвеска.
Основные узлы станка-качалки — рама, стойка в виде усеченной четырехгранной пирамиды, балансир с поворотной головкой, траверса с шатунами, шарнирно-подвешенная к балансиру, редуктор с кривошипами и противовесами. СК комплектуется набором сменных шкивов для изменения числа качаний, т. е. регулирование дискретное. Для быстрой смены и натяжения ремней электродвигатель устанавливается на поворотной салазке.
Монтируется станок-качалка на раме, устанавливаемой на железобетонное основание (фундамент). Фиксация балансира в необходимом (крайнем верхнем) положении головки осуществляется с помощью тормозного барабана (шкива). Головка балансира откидная или поворотная для беспрепятственного прохода спускоподъемного и глубинного оборудования при подземном ремонте скважины. Поскольку головка балансира совершает движение по дуге, то для сочленения ее с устьевым штоком и штангами имеется гибкая канатная подвеска 17 (рисунок 13). Она позволяет регулировать посадку плунжера в цилиндр насоса для предупреждения ударов плунжера о всасывающий клапан или выхода плунжера из цилиндра, а также устанавливать динамограф для исследования работы оборудования.
Амплитуду движения головки балансира (длина хода устьевого штока — 7 на рисунке 12) регулируют путем изменения места сочленения кривошипа шатуном относительно оси вращения (перестановка пальца кривошипа в другое отверстие). За один двойной ход балансира нагрузка на СК неравномерная. Для уравновешивания работы станка-качалки помещают грузы (противовесы) на балансир, кривошип или на балансир и кривошип. Тогда уравновешивание называют соответственно балансирным, кривошипным (роторным) или комбинированным.
Блок управления обеспечивает управление электродвигателем СК в аварийных ситуациях (обрыв штанг, поломки редуктора, насоса, порыв трубопровода и т. д.), а также самозапуск СК после перерыва в подаче электроэнергии.
Долгое время нашей промышленностью выпускались станки-качалки типоразмеров СК. В настоящее время по ОСТ 26-16-08-87 выпускаются шесть типоразмеров станков-качалок типа СКД, основные характеристики приведены в таблице 1.
Таблица 1
Станок качалка |
Число ходов балансира, мин. |
Масса, кг |
Редуктор |
|
СКД3 — 1.5-710 |
5 15 |
3270 |
Ц2НШ — 315 |
|
СКД4 — 21-1400 |
5 15 |
6230 |
Ц2НШ — 355 |
|
СКД6 — 25-2800 |
5 14 |
7620 |
Ц2НШ — 450 |
|
СКД8 — 3.0-4000 |
5 14 |
11600 |
НШ —700Б |
|
СКД10 — 3.5-5600 |
5 12 |
12170 |
Ц2НШ — 560 |
|
СКД12 —3.0-5600 |
5 12 |
12065 |
Ц2НШ — 560 |
В шифре,
например, СКД8 — 3.0-4000, указано Д —
дезаксиальный; 8 — наибольшая допускаемая
нагрузка >
>
на головку балансира в точке подвеса
штанг, умноженная на 10 кН; 3.0 — наибольшая
длина хода устьевого штока, м; 4000 —
наибольший допускаемый крутящий момент
>
>
на ведомом валу редуктора, умноженный
на 10-2 кН*м.
АО «Мотовилихинские заводы» выпускает привод штангового насоса гидрофицированный ЛП — 114.00.000, разработанный совместно со специалистами ПО «Сургутнефтегаз».
Моноблочная конструкция небольшой массы делает возможным его быструю доставку (даже вертолетом) и установку без фундамента (непосредственно на верхнем фланце трубной головки) в самых труднодоступных регионах, позволяет осуществить быстрый демонтаж и проведение ремонта скважинного оборудования.
Фактически бесступенчатое регулирование длины хода и числа двойных ходов в широком интервале позволяет выбрать наиболее удобный режим работы и существенно увеличивает срок службы подземного оборудования.
|
Техническая характеристика |
|
|
Нагрузка на шток, кН (тс) |
60 (6) |
|
Длина хода, м |
1.2 2.5 |
|
Число двойных ходов в минуту |
1 7 |
|
Мощность, кВт |
18.5 |
|
Масса привода, кг |
1800 |
Станки-качалки для временной добычи могут быть передвижными на пневматическом (или гусеничном) ходу. Пример — передвижной станок-качалка «РОУДРАНЕР» фирмы «ЛАФКИН».
УСТЬЕВОЕ ОБОРУДОВАНИЕ
Устьевое оборудование предназначено для герметизации затрубного пространства, внутренней полости НКТ, отвода продукции скважины, подвешивания колонны НКТ, а также для проведения технологических операций, ремонтных и исследовательских работ в скважинах.
В оборудовании устья колонна насосно-компрессорных труб в зависимости от ее конструкции подвешивается в патрубке планшайбы или на корпусной трубной подвеске.
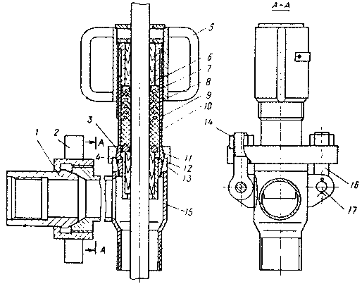
Для уплотнения устьевого штока применяется устьевой сальник типа СУС1 или СУС2 (рисунок 3.).

Рисунок 3 — Устьевой сальник типа СУС1
1 — ниппель; 2 — накидная гайка; 3 — втулка; 4 — шаровая крышка; 5 — крышка головки; 6 — верхняя втулка; 7 — нажимное кольцо; 8, 10 — манжеты; 9 — шаровая головка; 11 — опорное кольцо; 12 — нижняя втулка; 13 — кольцо; 14 — гайка; 15 — тройник; 16 — болт откидной; 17 — палец.
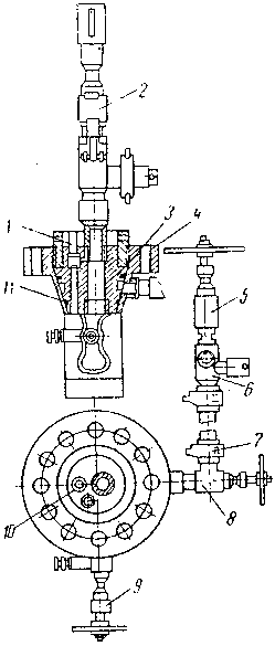
Арматура устьевая типа АУШ-65/50х14 состоит из устьевого патрубка с отборником проб, угловых вентилей, клапана перепускного, устьевого сальника и трубной подвески (рисунок 15).
Трубная подвеска, имеющая два уплотнительных кольца, является основным несущим звеном насосно-компрессорных труб с глубинным насосом на нижнем конце и сальниковым устройством наверху. Корпус трубной головки имеет отверстие для выполнения исследовательских работ.
Проекция скважины поступает через боковое отверстие трубной подвески, а сброс давления из затрубного пространства производится через встроенный в корпус трубной подвески перепускной клапан.
|
Техническая характеристика АУШ 65/50 Х 14: |
|
|
Рабочее давление, МПа в устьевом сальнике СУС при работающем станке-качалке при остановленном станке-качалке |
4 14 |
|
Условный проход, мм: ствола обвязки |
65 50 |
|
Подвеска насосно-компрессорных труб |
конусная |
|
Диаметр подвески труб, мм |
73 |
|
Присоединительная резьба (ГОСТ 632—80) |
Резьба НКТ |
|
Диаметр устьевого патрубка, мм |
146 |
|
Габариты, мм |
3452х770х1220 |
|
Масса, кг |
160 |

Рисунок 4 — Устьевая арматура типа АУШ
1 — отверстие для проведения исследовательских работ; 2 — сальниковое устройство; 3 — трубная подвеска; 4 — устьевой патрубок; 5, 8 и 9 — угловые вентили; 6 — отборник проб; 7 — быстросборная муфта; 10 — перепускной патрубок; 11 — уплотнительное кольцо.
ШТАНГИ НАСОСНЫЕ (ШН)
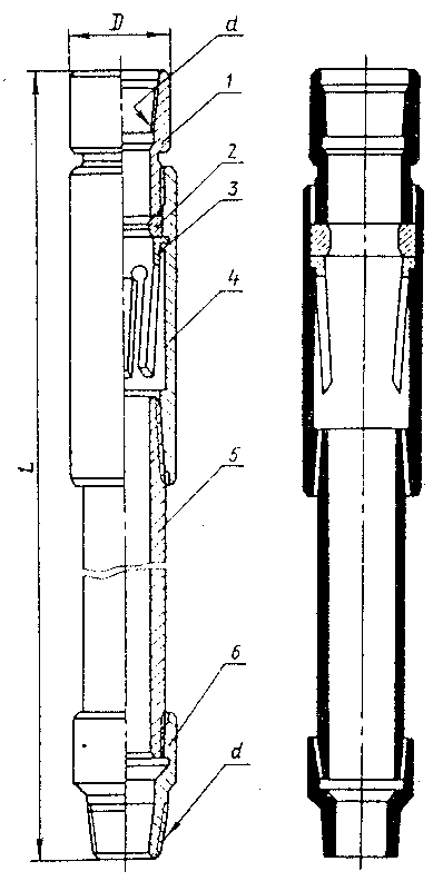
ШН предназначены для передачи возвратно-поступательного движения плунжеру насоса (рисунок 16). Изготавливаются основном из легированных сталей круглого сечения диаметром 16, 19, 22, 25 мм, длиной 8000 мм и укороченные — 1000 - 1200, 1500, 2000 и 3000 мм как для нормальных, так и для коррозионных условий эксплуатации.

Рисунок 5 — Насосная штанга
Шифр штанг — ШН-22 обозначает: штанга насосная диаметром 22 мм. Марка сталей — сталь 40, 20Н2М, 30ХМА, 15НЗМА и 15Х2НМФ с пределом текучести от 320 до 630 МПа.
Насосные штанги применяются в виде колонн, составленных из отдельных штанг, соединенных посредством муфт.
Муфты штанговые выпускаются: соединительные типа МШ (рисунок 6) — для соединения штанг одинакового размера и переводные типа МШП — для соединения штанг разного диаметра.

Рисунок 6 — Соединительная муфта
а — исполнение I; б — исполнение II
Для соединения штанг применяются муфты — МШ16, МШ19, МШ22, МШ25; цифра означает диаметр соединяемой штанги по телу (мм).
АО «Очерский машиностроительный завод» изготавливает штанги насосные из одноосноориентированного стеклопластика с пределом прочности не менее 80 кгс/мм2. Концы (ниппели) штанг изготавливаются из сталей. Диаметры штанг 19, 22, 25 мм, длина 8000 11000 мм.
Преимущества: снижение веса штанг в 3 раза, снижение энергопотребления на 18 20 %, повышение коррозионной стойкости при повышенном содержании сероводорода и др. Применяются непрерывные штанги «Кород».
СКВАЖИННЫЕ ШТАНГОВЫЕ НАСОСЫ
ШСН предназначены для откачивания из нефтяных скважин жидкости обводненностью до 99 %, температурой не более 130 С, содержанием сероводорода не более 50 мг/л, минерализацией воды не более 10 г/л.
Скважинные насосы имеют вертикальную конструкцию одинарного действия с неподвижным цилиндром, подвижным металлическим плунжером и шариковыми клапанами. Насосы спускают в скважину на штангах и насосно-компрессорных трубах. Различают следующие типы скважинных насосов (рисунок 7).

Рисунок 7 — Типы скважинных штанговых насосов
НВ1 — вставные с заулком наверху;
НВ2 — вставные с замком внизу;
НН — невставные без ловителя;
НН1 — невставные с захватным штоком;
НН2 — невставные с ловителем.
Выпускают насосы следующих конструктивных исполнений:
а) по цилиндру:
Б — с толстостенным цельным (безвтулочным) цилиндром;
С — с составным (втулочным) цилиндром.
б) специальные:
Т — с полным (трубчатым) штоком для подъема жидкости по каналу колонны трубчатых штанг;
А — со сцепляющим устройством (только для насосов типа НН), обеспечивающим сцепление колонны насосных штанг с плунжером насоса;
Д1 — одноступенчатые, двухплунжерные для создания гидравлического тяжелого низа;
Д2 — двухступенчатые, двухплунжерные, обеспечивающие двухступенчатое сжатие откачиваемой жидкости;
У — с разгруженным цилиндром (только для насосов типа НН2), обеспечивающим снятие с цилиндра технической нагрузки при работе.
Насосы всех исполнений, кроме Д1 и Д2, одноступенчатые, одноплунжерные.
в) по стойкости к среде:
без обозначения — стойкие к среде с содержанием механических примесей до 1.3 г/л — нормальные;
И — стойкие к среде с содержанием механических примесей более 1.3 г/л — абразивостойкие.
Скважинные штанговые насосы являются гидравлической машиной объемного типа, где уплотнение между плунжером и цилиндром достигается за счет высокой точности их рабочих поверхностей и регламентируемых зазоров. При этом в зависимости от размера зазора (на диаметр) в паре «цилиндр-плунжер» выпускают насосы четырех групп (таблица 2).
Таблица 2
|
Группа посадки |
Размер зазора между цилиндром и плунжером насоса при исполнении цилиндра, мм |
|
|
Б |
С |
|
|
0 |
0.045 |
0.045 |
|
1 |
0.01 0.07 |
0.02 0.07 |
|
2 |
0.06 0.12 |
0.07 0.12 |
|
3 |
0.11 0.17 |
0.12 0.17 |
В условном обозначении насоса, например, НН2БА-44-18-15-2, первые две буквы и цифра указывают тип насоса, следующие буквы — исполнение цилиндра и насоса, первые две цифры — диаметр насоса (мм), последующие длину хода плунжера (мм) и напор (м), уменьшенные в 100 раз и последняя цифра — группу посадки.
Цилиндры насосов изготовляют двух исполнений: ЦБ и ЦС.
ЦБ — цельный безвтулочный толстостенный;
ЦС — составной из набора втулок, стянутых внутри кожуха переводниками.
Исходя из назначения и области применения скважинных насосов, выпускают плунжеры и пары «седло-шарик» клапанов различных поверхностей.
Плунжеры насосов изготавливают четырех исполнений:
ПХ1 — с кольцевыми канавками, цилиндрической расточкой на верхнем конце и с хромовым покрытием наружной поверхности;
ПХ2 — то же, без цилиндрической расточки на верхнем конце;
П111 — с кольцевыми канавками, цилиндрической расточкой на верхнем конце и упрочнением наружной поверхности напылением износостойкого порошка;
П211 — то же, без цилиндрической расточки на верхнем конце.
Пары «седло-шарик» клапанов насосов изготавливают в трех исполнениях:
К — с цилиндрическим седлом и шариком из нержавеющей стали;
КБ — то же, с седлом и буртиком;
КИ — с цилиндрическим седлом из твердого сплава и шариком из нержавеющей стали.
Скважинные насосы нормального исполнения по стойкости к среде, применяемые преимущественно для подъема жидкости с незначительным содержанием (до 1.3 г/л) механических примесей, комплектуют плунжерами исполнения ПХ1 или ПХ2 с парами «седло-шарик» исполнения К или КБ. Скважинные насосы абразивостойкого исполнения И, применяемые преимущественно для подъема жидкости, содержащей более 1.3 г/л механических примесей, комплектуют плунжерами исполнения П1И или П2И и парами «седло-шарик» исполнения КИ.
Конструктивно все скважинные насосы состоят из цилиндра, плунжера, клапанов, замка (для вставных насосов), присоединительных и установочных деталей, максимально унифицированных.
Скважинные насосы типа НВ1 выпускают шести исполнений:
НВ1С — вставной с замком наверху, составным втулочным цилиндром исполнения ЦС, нормального исполнения по стойкости к среде;
НВ1Б — вставной с замком наверху, цельным (безвтулочным) цилиндром исполнения ЦБ, нормального исполнения по стойкости к среде;
НВ1Б И — то же абразиовостойкого исполнения по стойкости к среде;
НВ1БТ И — то же, с полым штоком, абразивостойкого исполнения по стойкости к среде;
НВ1БД1 — вставной с замком наверху, цельным цилиндром исполнения ЦБ, одноступенчатый, двухплунжерный, нормального исполнения по стойкости к среде;
НВ1БД2 — вставной с замком наверху, цельным цилиндром исполнения ЦБ, двухступенчатый, двухплунжерный, нормального исполнения по стойкости к среде.
Скважинные насосы всех исполнений, кроме исполнения НВ1БД1 и НВ1БД2, одноплунжерные, одноступенчатые.
Скважинные насосы типа НВ2 изготовляют одного исполнения:
НВ2Б — вставной с замком внизу, цельным цилиндром исполнения ЦБ, одноплунжерный, одноступенчатый, нормального исполнения по стойкости к среде (рисунок 8).

Рисунок 8 — Скважинный штанговый насос исполнения НВ2Б
1 — защитный клапан; 2 — упор; 3 — шток; 4 — контргайка; 5 — цилиндр; 6 — клетка плунжера; 7 — плунжер; 8 — нагнетательный клапан; 9 — всасывающий клапан; 10 — упорный ниппель с конусом.
Скважинные насосы типа НН выпускают двух исполнений:
ННБА — невставной без ловителя, с цельным цилиндром исполнения ЦБ, сцепляющим устройством, одноступенчатый, одноплунжерный, нормального исполнения по стойкости к среде;
ННБД1 — невставной без ловителя, с цельным цилиндром исполнения ЦБ, одноступенчатый, двухплунжерный, нормального исполнения по стойкости к среде.
Скважинные насосы типа НН1 изготовляют одного исполнения:
НП1С — невставной с захватным штоком, составным цилиндром исполнения ЦС, нормального исполнения по стойкости к среде.
Скважинные насосы типа НН2 выпускают пяти исполнений:
НН2С — невставной с ловителем, составным цилиндром исполнения ЦС, нормального исполнения по стойкости к среде;
НН2Б — невставной с ловителем, цельным цилиндром исполнения ЦБ, нормального исполнения по стойкости к среде (рисунок 20);
НН2Б…И — то же, абразивостойкого исполнения по стойкости к среде;
НН2БТ…И — то же, с полым штоком, абразивостойкого исполнения по стойкости к среде;
НН2БУ — невставной с ловителем, разгруженным цельным цилиндром исполнения ЦБ, нормального исполнения по стойкости к среде.

Рисунок 9 — Скважинный штанговый насос исполнения НН2Б и НН2Б…И 1 — цилиндр; 2 — шток; 3 — клетка плунжера; 4 — плунжер; 5 — нагнетательный клапан; 6 — шток ловителя; 7 — всасывающий клапан; 8 — седло конуса.
Все насосы типа НН2 — одноплунжерные, одноступенчатые.
Замковая опора типа ОМ предназначена для закрепления цилиндра скважинных насосов исполнений НВ1 и НВ2 в колонне насосно-компрессорных труб. Высокая точность изготовления поверхностей деталей опоры обеспечивает надежную герметичную фиксацию цилиндра насоса в насосно-компрессорных трубах на заданной глубине скважины и одновременно предотвращает искривление насоса в скважине.
Замковая опора ОМ (рисунок 10) состоит из опорного кольца 2, пружинного якоря 3, опорной муфты 4, кожуха 5 и переводников 1 и 6.
Переводник имеет на верхнем конце гладкую коническую резьбу, при помощи которой опора соединяется с колонной насосно-компрессорных труб. Кольцо изготавливают из нержавеющей стали. Конической внутренней фаской оно сопрягается с ответной конической поверхностью конуса замка насоса и обеспечивает герметичную посадку насоса.
Якорь предотвращает срыв насоса с опоры от усилий трения движущегося вверх плунжера в период запуска в работу подземного оборудования. Максимальное усилие срыва замка 3 3.5 кН.

Рисунок 10 — Замковая опора
Варианты крепления насосов приведены на рисунке 11.

Рисунок 11 — Крепление вставных насосов

Рисунок 12 — Область применения ШСН Сураханского машиностроительного завода
Применение насосов НН предпочтительно в скважинах с большим дебитом, небольшой глубиной спуска и большим межремонтным периодом, а насосы типов НВ в скважинах с небольшим дебитом, при больших глубинах спуска (рисунок 11). Чем больше вязкость жидкости, тем принимается выше группа посадки. Для откачки жидкости с высокой температурой или повышенным содержанием песка и парафина рекомендуется использовать насосы третьей группы посадки. При большой глубине спуска рекомендуется применять насосы с меньшим зазором.
Насос выбирают с учетом состава откачиваемой жидкости (наличия песка, газа и воды), ее свойств, дебита и глубины его спуска, а диаметр НКТ — в зависимости от типа и условного размера насоса.
ПРОИЗВОДИТЕЛЬНОСТЬ НАСОСА
Теоретическая
производительность ШСН равна — >
>,
м3/сут.,
где 1440 - число минут в сутках;
>
>
— диаметр плунжера
наружный;
>
>
— длина хода плунжера;
>
>
— число двойных качаний
в минуту.
Фактическая подача >
>
всегда >
>.
Отношение >
>,
называется коэффициентом подачи, тогда
>
>,
где >
>
изменяется от 0 до 1.
В скважинах, в которых
проявляется так называемый фонтанный
эффект, т.е. в частично фонтанирующих
через насос скважинах может быть >
>.
Работа насоса считается нормальной,
если >
>.
Коэффициент подачи зависит
от ряда факторов, которые учитываются
коэффициентами >
>,
где коэффициенты:
>
>
— деформации штанг и
труб;
>
>
— усадки жидкости;
>
>
— степени наполнения
насоса жидкостью;
>
>
— утечки жидкости.
Где >
>,
где >
>
— длина хода плунжера (определяется из
условий учета упругих деформаций штанг
и труб); >
>
— длина хода устьевого штока (задается
при проектировании).
>
>,
>
>,
где >
>
— деформация общая; >
>
— деформация штанг; >
>
— деформация труб.
>
>,
где >
>
— объемный коэффициент жидкости, равный
отношению объемов (расходов) жидкости
при условиях всасывания и поверхностных
условиях.
Насос наполняется жидкостью и свободным газом. Влияние газа на наполнение и подачу насоса учитывают коэффициентом наполнения цилиндра насоса
>
>,
где >
>
— газовое число (отношение расхода
свободного газа к расходу жидкости при
условиях всасывания).
Коэффициент, характеризующий
долго пространства, т.е. объема цилиндра
под плунжером при его крайнем нижнем
положении от объема цилиндра, описываемого
плунжером. Увеличив длину хода плунжера,
можно увеличить >
>.
Коэффициент утечек
>
>
где >
>
— расход утечек жидкости (в плунжерной
паре, клапанах, муфтах НКТ); >
>
— величина переменная (в отличие других
факторов), возрастающая с течением
времени, что приводит к изменению
коэффициента подачи.
Оптимальный коэффициент подачи определяется из условия минимальной себестоимости добычи и ремонта скважин.
Уменьшение текущего коэффициента подачи насоса во времени можно описать уравнением параболы:
>
>,
где >
>
— начальный коэффициент подачи нового
(отремонтированного) насоса; >
>
— полный период работы насоса до
прекращения подачи (если причина —
износ плунжерной пары, то >
>
означает полный, возможный срок службы
насоса); >
>
— показатель степени параболы, обычно
равный двум; >
>
— фактическое время работы насоса после
очередного ремонта насоса. Исходя из
критерия минимальной себестоимости
добываемой нефти с учетом затрат на
скважино-сутки эксплуатации скважины
и стоимости ремонта, А.Н. Адонин определил
оптимальную продолжительность
межремонтного периода
>
>,
где >
>
— продолжительность ремонта скважины;
>
>
— стоимость предупредительного ремонта;
>
>
— затраты на скважино-сутки эксплуатации
скважины, исключая >
>.
Подставив >
>
вместо >
>,
определим оптимальный конечный
коэффициент подачи перед предупредительным
подземным ремонтом >
>.
Если текущий коэффициент
подачи >
>
станет равным оптимальному >
>
(с точки зрения ремонта и снижения
себестоимости добычи), то необходимо
остановить скважину и приступить к
ремонту (замене) насоса.
Средний коэффициент подачи за межремонтный период составит:
>
>.
Анализ показывает, что
при >
>
допустимая степень уменьшения подачи
за межремонтный период составляет 15
20 %, а при очень больших значениях >
>
она приближается к 50 %.81850Увеличение
экономической эффективности эксплуатации
ШСН можно достичь повышением качества
ремонта насосов, сокращением затрат на
текущую эксплуатацию скважины и ремонт,
а также своевременным установлением
момента ремонта скважины.
ПРАВИЛА БЕЗОПАСНОСТИ ПРИ ЭКСПЛУАТАЦИИ СКВАЖИН ШТАНГОВЫМИ НАСОСАМИ
Устье скважины должно быть оборудовано арматурой и устройством для герметизации штока.
Обвязка устья периодически фонтанирующей скважины должна позволять выпуск газа из затрубного пространства в выкидную линию через обратный клапан и смену набивки сальника штока при наличии давления в скважине.
До начала ремонтных работ или перед осмотром оборудования периодически работающей скважины с автоматическим, дистанционным или ручным пуском электродвигатель должен отключаться, а на пусковом устройстве вывешивается плакат: «Не включать, работают люди».
На скважинах с автоматическим и дистанционным управлением станков-качалок вблизи пускового устройства на видном месте должны быть укреплены плакаты с надписью «Внимание! Пуск автоматический». Такая надпись должна быть и на пусковом устройстве.
Система замера дебита скважин, пуска, остановки и нагрузок на полированный шток (головку балансира) должны иметь выход на диспетчерский пункт.
Управление скважиной, оборудованной ШСН, осуществляется станцией управления скважиной типа СУС-01 (и их модификации), имеющий ручной, автоматический, дистанционный и программный режим управления. Виды защитных отключений ШСН: перегрузка электродвигателя (>70 % потребляемой мощности); короткое замыкание; снижение напряжения в сети (<70 % номинального); обрыв фазы; обрыв текстропных ремней; обрыв штанг; неисправность насоса; повышение (понижение) давления на устье.
Для облегчения обслуживания и ремонта станков-качалок используются специальные технические средства такие, как агрегат 2АРОК, маслозаправщик МЗ-4310СК