Элементы приборов автоматического титрования
Элементы приборов автоматического титрования
Автоматические бюретки
Под автоматической бюреткой понимают комплекс устройств для дозирования и измерения объема титранта, поданного в титровальную ячейку при титровании. Автоматические бюретки применяются в титрографах, полуавтоматических и автоматических титраторах. От конструкции применяемой автоматической бюретки и ее работы в значительной степени зависит не только правильное определение объема израсходованного титранта, но и правильное определение конечной точки титрования. Слишком интенсивная подача титранта в области эквивалентной точки приводит к перетитровыванию и, следовательно, к искажению результатов анализа.
Среди автоматических бюреток наибольшее распространение получили два вида. К первому из них относят бюретки, близкие по конструкции к обычным лабораторным бюреткам, но снабженные рядом дополнительных приспособлений, такими, как запорные клапаны, индикаторы уровня титранта и др. Ко второму виду относят так называемые шприцевые или поршневые бюретки.
В ряде конструкций автоматических бюреток во избежание перетитровывания применяются устройства для замедления подачи титранта при приближении к эквивалентной точке титрования.
Измерение израсходованного титранта в бюретках лабораторного типа производится либо визуально, либо автоматически. При автоматическом измерении чаще всего применяют два вида устройств — бесконтактные и контактные. Измерение производится либо по уровню титранта в бюретке, либо по числу капель титранта, падающих в титровальную ячейку. В автоматических бюретках шприцевого типа количество израсходованного титранта обычно определяется по величине перемещения поршня или плунжера бюретки.
Емкость автоматических бюреток колеблется от 0,2 до 100 мл. Наибольшее распространение получили бюретки с объемами 10, 25, 5 и 50 мл.
Чаще всего автоматические бюретки изготовляются из стекла. Иногда применяют шприцевые бюретки из органического стекла или нержавеющей стали.
Точность измерения израсходованного титранта у бюреток с автоматическим отсчетом зависит от конструкции бюретки и системы измерения.
В бюретках лабораторного типа существенным фактором, определяющим точность измерений, является длина бюретки, а в шприцевых бюретках — длина хода поршня. При счете капель существенным являются условия формирования капель.
При измерении числа капель титранта погрешность отсчета составляет около ±2—3%. При автоматическом измерении уровня титранта в бюретках лабораторного типа получают точность отсчета более высокую — около ±0,5—2%. Шприцевые бюретки обеспечивают точность измерения объема израсходованного титранта примерно ±1%.
Автоматические бюретки лабораторного типа
Характерным примером автоматического титратора прерывистого действия с автоматической бюреткой лабораторного типа и фотоэлектрическим отсчетом уровня израсходованного титранта может служить автотитратор Analmatic фирмы Baird and Tatlock.
На рис. 9 показана система титрования прибора. Кроме автоматической бюретки, на рисунке изображены также титровальная ячейка, дозаторы пробы и фона, а также компенсатор отклонения концентрации титранта от номинальной.
В приборе применяются стеклянные бюретки емкостью 10, 25-ти 50 мл. Диаметры трубок таковы, что длины бюреток всех типоразмеров одинаковы. Это позволяет легко заменять бюретку одной емкости на бюретку другой емкости. Объем титранта, израсходованного во время титрования, определяется с помощью следящей за положением мениска титранта фотоэлектрической системы. Чувствительным элементом следящей системы является фотоэлемент, освещаемый небольшой лампочкой. Лампочка и фотоэлемент смонтированы на подвижной каретке так, что оптическая ось проходит через бюретку. Каретка движется на роликах по двум направляющим, установленным параллельно бюретке, с помощью вертикально расположенного ведущего винта, приводимого во вращение электродвигателем. Верхний предел движения каретки определяет нуль бюретки; бюретка наполняется титрантом до тех пор, пока мениск не достигнет оптической оси фотоэлектрической системы, при этом клапан наполнения бюретки закрывается. При титровании клапан слива из бюретки открывается и титрант подается в титровальную ячейку. По окончании титрования клапан закрывается, а ведущий винт начинает вращаться, и каретка с фотоэлектрической системой перемещается вниз. Когда оптическая ось фотоэлектрической системы достигнет мениска титранта, мотор, приводящий в движение ведущий винт, останавливается, а результат титрования, определяемый углом поворота измерительного реохорда, связанного с движением ведущего винта, регистрируется. После этого каретка возвращается в верхнее нулевое положение.
Другая разновидность автоматической бюретки, где уровень титранта определяется с помощью контактной иглы, применена в автоматическом титраторе типа 707. В этом приборе применена бюретка объемом 10 мл и длиной около 500 мм. В бюретку опущена тяжелая игла, подвешенная на ролике с помощью электропроводящего тросика. Тросик может наматываться на шкив, связанный с электродвигателем и с измерительным реохордом. В нижней части бюретки имеется электрический контакт, включенный в цепь индикации уровня. Игла, находящаяся в верхнем положении, определяет нулевой уровень, до которого поднимается титрант в бюретке при ее наполнении. По окончании титрования электродвигатель опускает иглу до тех пор, пока последняя не коснется поверхности титранта. При этом замыкается электрическая цепь индикации уровня, движение иглы прекращается, а с измерительного реохорда снимается сигнал, пропорциональный объему израсходованного титранта. После того как уровень титранта в бюретке определен, игла вновь возвращается в верхнее нулевое положение. Применение гибкой подвески иглы вместо жесткой, непосредственной связи ее с перемещающим механизмом позволило значительно увеличить длину бюретки, а следовательно, повысить точность измерения.
В тех автоматических бюретках, где производится подсчет падающих капель титранта, применяются специальные наконечники для формирования капель. Фиксирование каждой падающей капли производится с помощью фотоэлектрической или контактной схемы. В первом случае капля падает в пространстве между осветителем и фоточувствительным элементом; во втором — капля при своем падении замыкает два электрода, включенных в схему счета.
Автоматические шприцевые бюретки
Шприцевая бюретка представляет собой цилиндр или шприц, поршень которого связан с помощью ходовой гайки и ведущего винта с реверсивным электродвигателем. При вращении электродвигателем в ту или иную сторону ведущего винта он перемещает ходовую гайку и связанный с ней поршень вдоль оси цилиндра. При этом движении поршень либо засасывает в цилиндр титрант, либо подает его в ячейку для титрования. Шприцевая бюретка обычно снабжена распределительным клапаном, который перераспределяет потоки титранта, направляя их либо в цилиндр из сосуда, где он хранится, либо из цилиндра в титровальную ячейку.
Первая модель автоматической шприцевой бюретки была разработана Лингейном в 1948 г. В современных приборах этот тип бюретки нашел широкое распространение.

На рис. 10 представлена шприцевая бюретка, разработанная Тбилисским СКВ аналитического приборостроения.
Основным узлом бюретки является шприц-дозатор 3 с поршнем /. Шприц установлен на верхнем кронштейне 5. Последний закреплен на плате 7. На этой плате установлены реверсивный электродвигатель 11 реохорд 12, а также нижний кронштейн 7. В опорах верхнего и нижнего кронштейнов установлен ходовой винт 20, несущий на себе ходовую гайку 18. Последняя через пластину 19 скреплена с плунжером шприца.
На оси ходового винта закреплена коническая шестерня 6, сцеп-лепная с конической шестерней, сидящей на валу электродвигателя. На ходовой гайке прикреплена зубчатая рейка 15, с которой сцеплено зубчатое колесо 14, сидящее на валу 13. С последним связан ползунок // реохорда. На кронштейне 17 расположен конечный выключатель 16, останавливающий плунжер бюретки в крайнем нижнем положении. Уплотнение плунжера достигается с помощью мемб-аны 2. Реохорд расположен в корпусе 10, установленном на плате с помощью стоек 9. Раствор в шприц подается через штуцер 4.
Бюретка работает следующим образом. Для ее заполнения раствором электродвигатель и связанный с ним ходовой винт вращаются в таком направлении, что плунжер бюретки с помощью ходовой гайки и пластины 19 перемещается вниз, засасывая через штуцер 4 раствор. В крайнем нижнем положении электродвигатель отключается конечным выключателем. Ползунок реохорда устанавливается в начале реохорда. С началом титрования электродвигатель вращается в противоположную сторону и раствор начинает плунжером выдавливаться через штуцер 4 из шприца. Штуцер соединен с трехходовым клапаном, который направляет титрант сначала из емкости в шприц, а затем из шприца в титровальную ячейку.
Ползунок реохорда с помощью зубчатого колеса 14, поворачиваемого зубчатой рейкой 15, перемещается синхронно с движением плунжера. Угол поворота ползунка пропорционален ходу плунжера или объему поданного титранта. К концам реохорда приложено стабилизированное напряжение постоянного тока. Напряжение, снимаемое с ползунка реохорда, пропорционально количеству израсходованного титранта. В одной из модификаций "бюретки ползунок реохорда начинает движение не одновременно с плунжером, а лишь после того как последний пройдет некоторое расстояние. Это позволяет иметь шкалу вторичного прибора с «утопленным» нулем.
Автоматические клапаны
В полуавтоматических и автоматических титраторах прерывистого действия все перепускные операции с растворами совершаются с помощью автоматических клапанов различного типа, которые определяют надежность работы прибора. Конструкция автоматических клапанов должна обеспечивать их длительную работу в условиях агрессивных сред, надежность запирания и быстроту действия. Этим требованиям удовлетворяют электромагнитные и поворотные клапаны, которые н получили наибольшее распространение. Среди электромагнитных клапанов следует выделить три конструкции: первая — с плоской запорной мембраной, прижимаемой к плоскости; вторая — использует пары поверхностей различных форм; третья — с пережимаемой резиновой трубкой.
Принцип действия клапана первого вида показан па рис. 11, а. Основание / клапана имеет входной и выходной каналы, выходящие на внутреннюю поверхность основания под мембраной 2. Под действием пружины 3 мембрана и скрепленный с ней сердечник 4 электромагнита 5 прижаты к плоской поверхности основания, перекрывая оба или один из каналов. При включении электромагнита сердечник и мембрана поднимаются — запорное действие клапана прекращается. В клапане имеется подвижный стоп 6, с помощью которого регулируют величину воздушного зазора электромагнита.
Эта конструкция чрезвычайно надежна в работе и нашла преобладающее распространение в автоматических и полуавтоматических титраторах.
На рис. показан клапан с конусным плунжером и седлом. В этом клапане, изготовленном из стекла, внутри плунжера / находится железный сердечник 2, благодаря которому электромагнит 3 Может поднимать плунжер, тем самым открывая путь жидкости через клапан. При обесточенной катушке плунжер клапана под действием своего веса опускается на седло 4, закрывая клапан. Обычно запорные поверхности таких клапанов тщательно притирают. Надежность работы этих клапанов довольно низкая, поэтому они были вытеснены из автоматических титраторов мембранными клапанами и нашли применение лишь в полуавтоматических титраторах.

В полуавтоматических титраторах иногда применяют и автоматические клапаны, работающие по принципу пережимания резиновой трубки. Резиновая трубка прижимается к основанию 2 фигурной скобой 3 с помощью пружины 4. В этом положении клапан закрыт. При срабатывании электромагнита 5 трубка освобождается и благодаря упругости резины восстанавливает проходимость своего сечения — клапан открывается.
Достоинствами клапанов с пережимпен трубкой является их простота. Однако из-за усталости резины необходимо периодически передвигать трубку вдоль своей оси, подставляя под зажимную скобу свежий участок трубки, либо заменять ее повой.
Поворотные переключающие клапаны, получившие наряду с электромагнитными мембранными клапанами широкое применение в автоматических титраторах, чаще всего изготовляются двух видов: плоскоцилиндрические и конусные.
Плоскоцилиидрический переключающий клапан состоит из неподвижного цилиндрического основания 1 с каналами 2, по которым подводится и уводится жидкость, и подвижного цилиндра 3, прижатого к торцу основания пружиной 4. В подвижном диске имеются переключающие каналы 5. Подвижной цилиндр вращается с помощью электродвигателя все время в одну сторону и при своем Движении перекоммутирует направление потоков жидкости. Одностороннее вращение подвижной части клапана и высокая точность обработки соприкасающихся поверхностей обеспечивают высокую надежность работы клапана.
На рис. показан конический переключающий клапан. Клапан имеет неподвижную коническую втулку 1 и вращающийся переключающий конус 2, плотно посаженный на вал 3. Конус прижат к втулке пружиной 4. Во втулке имеются штуцера по которым подводится жидкость, и штуцера 6, по которым она уводится, а в конусе— переключающие каналы 7. При вращении конуса происходит попеременное подключение входных штуцеров к тому или другому выходному штуцеру. В промежуточных положениях конуса поток жидкости через штуцера перекрывается.


Переключающие клапаны применяются в автоматических титраторах как прерывистого, так и непрерывного действия.
При анализах растворов с большим содержанием солей возникает опасность их выпадения из раствора и кристаллизации в каналах запорных устройств.
Это приводит к засорению каналов и вынуждает эксплуатационный персонал производить частые профилактические ремонты прибора.
Особенно опасны перерывы при работе автоматического титратора. В этом случае кристаллизация солей происходит более интенсивно из-за охлаждения раствора в каналах запорных устройств неработающего прибора. Чтобы избежать этого явления при кратковременных или длительных остановках прибора, применяют принудительный нагрев запорных устройств.
Седло клапана, подводящий и выводной каналы подогреваются с помощью нихромовой спирали, включенной в цепь электропитания последовательно с регулировочным реостатом. Необходимая степень нагрева устанавливается положением движка регулировочного реостата.
Дозирующие устройства
Дозирование как анализируемых растворов, так и реактивов в автоматических титраторах осуществляется с помощью дозирующих устройств различных конструкций. Все дозирующие устройства образуют два крупных класса — прерывистого и непрерывного действия. В свою очередь каждый класс имеет три группы дозирующих устройств.
Первая группа предназначена для дозирования тех растворов и реактивов, от правильности и точности дозирования которых непосредственно зависит правильность и точность работы автоматического титратора. Это дозирование анализируемых растворов, вспомогательных растворов, индикатора и т. п.
Вторая группа предназначена для дозирования фона. Дозирование этого вида реактивов может осуществляться с меньшей точностью и дозирующие устройства этой группы могут быть значительно упрощены.
Третья группа дозирующих устройств предназначена для подачи в титровальную ячейку растворителя. Точность дозирования этих реактивов практически не влияет на точность работы прибора.
Дозирующие устройства прерывистого действия
Наибольшее распространение, нашли следующие дозирующие устройства: поршневые, переливные, контактные, отсечные, мембранные и дроссельные.
Поршневые дозирующие устройства, примененные в автоматическом титраторе Analmatic, были показаны на рис. 9.
Сходное устройство, примененное в автоматическом титраторе типа 707, представлено на рис. 14. Устройство имеет мерный сосуд выполненный в виде цилиндра, в котэррм находится пустотелый поршень-поплавок 2 со штоком 3, электромагнитные мембранные клапаны 4 и конечный выключатель 5. Весь узел скомпонован на корпусе 6. Устройство работает следующим образом. При открытии одного из клапанов реактив поступает в мерный сосуд, поднимая поршень-поплавок до тех пор, пока его шток не разомкнет контакты конечного выключателя. При этом клапан закрывается. После того как открылся другой клапан, жидкость вытекает из мерного сосуда, а поршень-поплавок опускается на дно сосуда. Для настройки прибора конечный выключатель 5 может в небольших пределах перемещаться по вертикали. При этом соответственно увеличивается или уменьшается дозируемый объем анализируемого раствора. Вариация дозируемого объема Жидкости составляет порядка 0,01 мл при объеме мерного сосуда Д) мл.
Дозирующие устройства с переливом примененные в серии автоматических титраторов фирмы Bran und Lubhe, имеет моторный привод. Принцип действия устройства пояснен на рис. 17. Между двумя неподвижными дисками 2 помещен подвижный диск 1. Торцевые соприкасающиеся между собой поверхности дисков прошлифованы и прижаты друг к другу. Диск / жестко связан с осью 3, приводимой во вращение электрическим двигателем. В неподвижных дисках имеются по два вертикальных канала, а в подвижном диске мерный канал 4.
При вращении диска 1, когда мерный канал 4 проходит мимо соответствующих каналов неподвижных дисков, жидкость поступает через входной канал в мерный канал, заполняя последний. Излишек жидкости сливается через отверстие в верхнем диске. Когда мерный канал при вращении диска / попадает между сливными каналами неподвижных дисков, жидкость из мерного канала сливается в титровальную ячейку. Данных о величине вариации объемов у подобных устройств нет.


Мембранные дозирующие устройства, примененные в автоматическом титраторе прерывистого действия фирмы Bran und Liibbe под названием Titrometer, используют следующий принцип работы. Вялая мембрана /. расположенная посередине чечевицеобразной полости, делит доследнюю на две симметричные половины. В корпусе устройства расположены два одинаковых поворотных распределительных хлапана 2 и 3, приводимых в действие синхронными электродвигателями.

Левый и правый клапаны соединены системами каналов соответствено с левой и правой половинами чечевицеобразной погости, а также со входным 4 и 5 и сливными б и 7 штуцерами. Дозирующее устройство работает следующим образом, о том положении распределительных клапанов, которое показано на рис. 18, жидкость под напором поступает через штуцер 4 в левую половину чечевицеобразной полости, при этом мембрана выталкивает Жидкость из правой половины полости через штуцер 7. После одновременного поворота распределительных Клапанов на 180° жидкость поступает через штуцер 5 в правую половину чечевицеобразной полости, а мембрана выдавливает жидкость из левой полости через штуцер 6.
В приборе Titrometer с помощью двух мембранных дозирующих устройств подаются в титровальную ячейку анализируемый раствор и титрант. При подаче анализируемого раствора входные штуцера 4 и 5 объединены. Таким образом, дозирующее устройство подает в титровальную ячейку анализируемый раствор при каждом повороте па 180° распределительных клапанов. При подаче титранта в левую полость мембраны поступает инертная жидкость через штуцер 4, а штуцер 5 подключен к сосуду с титрантом. Таким образом, титраит подается в титровальную ячейку прибора при каждом полном обороте распределительного клапана. Данные по вариации мембранных дозирующих устройств отсутствуют. Однако точность прибора Titrometer, где используются эти устройства, доставляет ±1%.

Рассмотренные выше дозирующие устройства могут применяться как для дозирования основных растворов, правильное дозирование которых непосредственно влияет на величину погрешности при титровании, так и для дозирования вспомогательных растворов.
Дроссельные дозирующие устройства применяются в основном для дозирования вспомогательных растворов. Среди дроссельных дозирующих устройств нашли наибольшее распространение устройства со стабилизируемым напором столба жидкости. Стабилизация напора столба жидкости осуществляется либо с помощью поплавкового регулятора уровня либо с помощью сосуда Мариотта. Существенной частью устройств является капилляр Л создающий дросселирование потока жидкости. При постоянстве напора столба жидкости Н, поддерживаемого поплавковым регулятором 2 или сосудом Мариотта 3, и неизменной вязкости жидкости ее расход за время, определяемое временем открытия электромагнитного клапана 4, будет постоянным. Так как вязкость жидкости, протекающей через капилляр, меняется с температурой, точность подобных устройств невелика, около 4—5%, однако точность может быть значительно улучшена при термостатированни жидкости, протекающей через капилляр.
Дозирующие устройства, используемые в непрерывных автоматических титраторах, бывают двух видов: с постоянной и переменной производительностью.
С постоянной производительностью дозируют обычно исследуемый раствор фои, растворитель и индикатор. Дозаторы переменной производительности чаще всего используются для дозирования титраита.
Требования, предъявляемые к точности дозирующих непрерывных устройств, аналогичны требованиям, предъявляемым к прерывистым дозирующим устройствам.
Наибольшей точностью и стабильностью должны обладать устройства, дозирующие исследуемый раствор, титрант и индикатор.
Менее жесткие требования предъявляются к устройствам, до-аирУющим растворитель и фои.
В качестве дозирующих устройств применяют поршневые, мембранные, плунжерные, перистальтические и некоторые другие насосы с постоянной или переменной производительностью, а также различного вида дроссельные устройства. Ра усмотренное в предыдущем разделе мембранное дозирующее устройство можно рассматривать как дозирующее устройство для непрерывных титраторов. В этом случае вращение распределительных клапанов производится непрерывно, а входные и сливные штуцера попарно объединены между собой. Дозируемая жидкость попеременно подается то в правую, то в левую полость мембраны и также поочередно выдавливается из этих полостей.
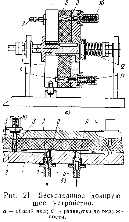
Ряд мембранных, а также поршневых и плунжерных дозирующих устройств имеют всасывающие и нагнетательные клапаны. ИХ действие, основанное на создании в рабочей полости попеременно разряжения и давления, ничем не отличается от действия одноименных насосов. Производительность этих устройств зависит от частоты движений поршня, плунжера, мембраны и от объема рабочей полости. При малой производительности эти устройства имеют малую надежность из-за наличия всасывающих и нагнетательных клапанов. В связи с этим за последние годы появилось значительное количество бесклапанных дозаторов малых расходов, два вида которых будут рассмотрены ниже.
Перистальтический дозатор малых расходов состоит из пластмассовой упругой трубки /, по которой катается каретка 2 с роликами 3. Вращение каретки производится через ось 4 от электродвигателя. Ролики прижимают трубку* к корпусу 5 и при своем передвижении вдоль трубки создают в ней перемещающуюся камеру. Жидкость в этой камере перегоняется от входного конца трубки к сливиому.
Недостатком подобных насосов является то обстоятельство, что со временем трубка теряет свои упругие свойства и может быть приведена в негодность под действием некоторых реактивов.

На рис. 21 показан бесклапанный дозатор малых расходов, разработанный в СКВ «Цветметавтоматика». Дозатор имеет неподвижный диск / из нержавеющей стали или титана с концентрическим незамкнутым пазом 2. Паз ограничен скосами с отверстиями 5 и 9, направленными во входной 6 и сливной 7 штуцера. К неподвижному диску / прижат пружиной 12 вращающийся диск 5 из фторопласта. На диске 5 укреплены подвижные фторопластовые пальцы 3 и 4, входящие и паз 2 под действием пружин 10 и П. При вращении диска 5 пальцы, в плотно входящие и паз, перегоняют жидкость вдоль паза, засасывая ее через штуцер 6 и выдавливая через штуцер 7. На отрезке своего пути между штуцерами палец покидает полость нагнетания, поднимается по скосу, выходя из паза, а затем по второму скосу вновь опускается в паз, попадая в полость всасывания, Этот дозатор выполнен в двух исполнениях, как дозатор постоянного расхода и как дозатор переменного расхода. В последнем случае диапазон дозирования составляет от О до 15 мл/мин.
Все рассмотренные выше виды дозаторов в зависимости от примененного привода могут быть отнесены либо к дозаторам постоянной, либо к дозаторам переменной производительности.

Дозирующие дроссельные устройства с постоянной производительностью отличаются от описанных ранее, лишь тем, что в них отсутствует запорный электромагнитный клапан на сливной трубке.

Среди дроссельных устройств переменной производительности различают два основных вида: устройства с переменным напором и устройства с переменным дросселированием.
В первом случае напорный сосуд, из которого подается жидкость, имеет возможность подниматься и опускаться с помощью исполнительных механизмов гак, чтобы соответственно изменялась высота столба жидкости выше дросселя.
Во втором случае величина напора жидкости поддерживается постоянной, а меняется степень дросселирования. Хорошие результаты были получены в устройстве, показанном на рис. 22. Жидкость поступает во входной штуцер 1, проходит по внутренней полости цилиндра 2, затем по кольцевому зазору между цилиндром и плунжером 3 и вытекает через штуцер 4. Зазор между цилиндром н плунжером 0,15 мм, рабочий ход плунжера около 75 мм. С изменением длины кольцевого зазора изменяется гидравлическое сопротивление устройства. Плунжер через зубчатую рейку и шестеренчатую передачу связан с реверсивным электродвигателем.
Титровальные ячейки
В титровальных ячейках протекает реакция титрования и производится определение конечной точки.
В зависимости от назначения и конструктивного оформления прибора применяются титровальиые ячейки различных видов — от простого химического стакана до специально разработанных устройств с применением различных конструкционных материалов. Любая титровальная ячейка должна удовлетворять следующим требованиям:
а) обеспечивать быстрое проведение химической реакции обмена во всем объеме ячейки;
б) обеспечивать непрерывную индикацию конечной точки титрования;
в) для некоторых видов приборов обеспечивать возможность подачи в ячейку растворов, слива отработанных растворов и промывку ячейки между анализами;
г) обеспечивать генерацию титранта в приборах с кулонометрической внутренней генерацией титранта.
Скорость проведения во всем объеме химической реакции обмена помимо кинетики самой реакции зависит от интенсивности перемешивания раствора. В современных титраторах в основном используются магнитные мешалки и обычные моторные мешалки. Перемешивание раствора сжатым воздухом большого распространения не получило. На рис. 23 показаны три вида мешалок, применяемых при автоматическом титроваиии. Скорость перемешивания у магнитных мешалок и моторных мешалок устанавливается с помощью регулировочных реостатов, включенных в цепь питания электродвигателей. У пневматических мешалок степень перемешивания определяется давлением воздуха шли другого газа, подаваемого в барботажную кольцевую трубку. У мешалок с приводом от электродвигателя направление вращения перемешивающего элемента устанавливается таким, чтобы последний перегонял в зоне своего действия раствор из глубины к поверхности Это делается во избежание засасывания с поверхности жидкости пузырьков воздуха в глубь раствора.
В пневматических мешалках обычно устанавливается защитный цилиндр в зоне чувствительного элемента, чтобы предотвратить попадание в эту зону пузырьков барботируемого воздуха.
Конструкции перемешивающих элементов, применяемых при автоматическом титровании, чрезвычайно разнообразны. Применяют двух- и четырехлопастные плоские элементы, винтовые элементы; в некоторых конструкциях с целью лучшего перемешивания титранта последний подается через полую ось мешалки в отверстия, расположенные между лопастями мешалки, и т. д.
Перемешивающие элементы магнитных мешалок отличаются меньшим разнообразием. Они имеют железный стержень, помещенный внутри стеклянного корпуса, иногда имеющего лопасти.

Как правило, мешалки не составляют с титровальными ячейками титрометров единый конструктивный комплекс, так как у титрометров в качестве титровальных ячеек применяются обычные химические стаканы с объемами от 50 до 500 мл.
При фотометрических титрованиях эти стаканы ставятся между источником света и светочувствительным элементом. В других видах титрования в стаканы опускаются электроды схемы индикации конечной точки титрования.
В ряде полуавтоматических и во всех автоматических титра-торах титровальные ячейки представляют собой целый комплекс устройств, связанных в единую систему.
На рис. показана титровальная ячейка полуавтоматического фотометрического титратора типа ТЛП-1, разработанного СКВ «Цветметавтоматика». Титровальная ячейка имеет рабочую и сравнительную 2 кюветы, мешалку 3, соединенную с моторным приводом 4 через коническую шестеренчатую передачу, сливной электромагнитный мембранный клапан 5. С левой стороны ячейки находится осветительная лампа 6 с системой конденсорных линз 7, с правой стороны — фоточувствительный элемент 8, на поверхность которого свет фокусируется с помощью системы собирательных линз 9. На фотосопротивление поочередно падают потоки света, проходящие через титруемый раствор, находящийся в рабочей кювете титровальной ячейки, и через сравнительный раствор, находящийся в сравнительной кювете. На пути последнего потока помещен сравнительный светофильтр 10. Поочередное перекрытие световых потоков производится с помощью колеблющейся с заданной частотой штерки // электромагнитного вибратора. Электродвигатель привода мешалки и подшипник конической передачи крепятся на крышке титровальной ячейки. В крышке имеется ряд отверстий для впуска пробы 0 реактивов. Титрант вводится через капельницу с капиллярным отверстием на ее конце ниже уровня титруемого раствора. Титровальная ячейка выполнена из оргстекла. Объем раствора, заливаемого в титровальную ячейку, примерно 50—60 мл. Титровальная ячейка оборудована аварийным переливом, через который стекает жидкость при переполнении ячейки.
Титровальная ячейка английского автоматического потенциометрического титратора Analmatic прерывистого действия фирмы Baird and Tatlock выполнена из органического стекла и состоит из двух половин, объединенных между собой болтовыми соединениями. В верхней части ячейки видна система электродов, в центральной части ячейки помещена мешалка, приводимая в действие электродвигателем, а в нижней — электромагнитные клапаны, через которые подаются и сливаются растворы в ячейку и из ячейки.

Если для большинства приборов прерывистого действия объем титровальной ячейки не имеет особого значения, то в автоматических непрерывных титраторах объем и конструктивное выполнение титровальной ячейки оказывают большее влияние на динамическую устойчивость системы измерения. Характерной особенностью титровальной ячейки непрерывных титраторов является также наличие свободного перелива из ячейки — раствор непрерывно протекает через ячейку в процессе титрования.
Одна из конструкций титровальной ячейки непрерывного действия показана на рис. и кондуктометрического титрования, которые рассматриваются ниже.
Кулонометрическая генерация титранта
Кулонометрическое титрование стало известно сравнительно недавно — в 1938 г.
В кулонометрических приборах автоматического титрования в отличие от волюмометрических титрант генерируется электрохимическим путем в процессе титрования. Поэтому в кулонометрических приборах отсутствует такой элемент, как бюретка, подающая титрант. Генерация титранта происходит путем электролиза специальных растворов. Электролиз про изводится путем пропускания через раствор электролита постоянного тока, называе мого генераторным. Ток через раствор пропускается с помощью двух генераторных электродов. На рабочем электроде генерирует титрант, второй электрод — вспомогательный. В том случае, кода генераторные электроды помещают в титровальную ячейку и гене рация титранта происходит непосредственно в ней, говорят о приборе с внутренней генерацией титранта. Те приборы, где генерация титранта происходит вне титровальной ячейки, называют приборами с внешней генерацией титранта.
Определение количества полученного в процессе генерации титранта, необходимого для проведения реакции от начала титрования до конечной точки, производится по израсходованном} количеству электричества. Количество вещества W, выделяющееся на электроде, требует для его генерации количество электричестве! Q, согласно закону Фарадея

где Л — атомный вес вещества; Э — грамм эквивалент выделенного вещества; F — постоянная Фарадея, численно равная количеству электричества, при прохождении которого через электролит на электроде выделяется один грамм-эквивалент вещества; п — число электронов, принимающих участие в электрохимической реакции.
Количество электричества определяется чаще всего с помощью электрического секундомера, включаемого на время проведения реакции титрования. Генераторный ток при этом стабилизируется. Количество электричества Q составляет:

где / — сила тока, а\ t — время, сек;
Необходимым условием для использования той или иной реакции для генерации титранта является то, что практически все расходуемое количество электричества должно затрачиваться на превращение лишь одного определенного вещества. Выход по току г) численно равен отношению массы практически выделенного вещества т к массе вещества W7, которое должно выделиться:

При кулонометрическом титровании величина г] должна оставаться постоянной. В большинстве реакций это условие обеспечивается, поэтому применяют более простую по выполнению внутреннюю генерацию титранта.

В некоторых случаях, когда получению 109% выхода по току мешают побочные реакции, применяют внешнюю генерацию титранта.
Конечная точка в кулонометрическом титровании определяется, как и при волюмометрическом титровании, любыми методами: потенциометрическими, амперометрическими, фотометрическими и др.
Типичная ячейка для кулонометрического титрования с внутренней генерацией титранта представлена па рис. 26,а. В титровальной ячейке / находятся магнитная мешалка 2, трубка 3 с пористой перегородкой 4, генераторные электроды 5, а также индикаторные электроды 6.
Титровальная ячейка для кулонометрического титрования с внешней генерацией титранта отличается тем, что она комплектуется специальным электролизером, где генерируется титрант. В титровальную ячейку / тигрант поступает из электролизера 7, где он генерируется при пропускании тока через электроды 5. Электроды разделены от входной камеры 10, куда поступает генерируемый реагент, пористыми перегородками //. Титрант в титровальную ячейку направляется через капиллярную трубку 8, а второй компонент, получающийся при электролизе, через трубку 9 сбрасывается в слив. Титровальная ячейка оснащена мешалкой 2 и электродами 6 для индикации конечной точки титрования.
На рис. 27 показана упрощенная схема кулонометрического полуавтоматического титратора с внутренней генерацией титранта.

Титратор снабжен титровальной ячейкой 1, схемой индикации конечной точки 2, имеющей на своем выходе электромагнитное реле Р с двумя нормально замкнутыми контактами IP—2Р>f> источником постоянного тока 3 с балластным сопротивлением R и миллиамперметром тА в цепи генераторных электродов, электрическим секундомером 4 и пусковой кнопкой К. Напряжение, создаваемое источником постоянного тока, обычно устанавливается довольно высоким, примерно 100—200 в. При значительной величине балластного сопротивления R достигают хорошей стабилизации генераторного тока. При нажатии кнопки К включается цепь генераторных электродов и запускается секундомер. В конечной точке титрования срабатывает реле Р, размыкая цепь генераторных электродов и останавливая секундомер По установленной сопротивлением R величине генераторного тока п времени, необходимом для проведения титрования, рассчитывают искомую концентрацию титруемого компонента в растворе. Погрешность электрического секундомера зависит от стабильности частоты электрической сети, поэтому подобные схемы где количество электричества измеряется по длительности пропускания генераторного тока, не могут обеспечить погрешность меньше 1 — 1,5%.
Лучшие результаты получают, используя компенсационные схемы. В такой схеме генераторный ток, вырабатываемый нестабилизнрованпым источником тока /, проходит через генераторные электроды 8 и сопротивление R, создавая на последнем падение напряжения U>x> = iR. Тахогенератор 2, связанный через редуктор 3 с конденсаторным электродвигателем 4, вырабатывает напряжение U>2>, почти равное и противоположно направленное напряжению U\. Всегда имеющееся небольшое напряжение небаланса U>0>=U\ — U>2> преобразуется вибропреобразователем 5 в переменное и через трансформатор 6 подается на вход электронного усилителя 7.

Усиленное напряжение поступает на управляющую обмотку электродвигателя 4, скорость которого пропорциональна величине генераторного тока L С редуктором 3 связан счетчик оборотов 9, показания которого равны интегралу от функции генераторного тока во времени, т. е. количеству электричества, прошедшему через генераторные электроды 8:

Эта схема обеспечивает высокую точность измерения количества электричества.
Другие способы измерения количества электричества с помощью электрохимических кулонометров или интегрирующих электродвигателей нашли значительно меньшее применение в практике автоматического титрования из-за неудобства пользования первыми и малой точности вторых.
Координатные самопишущие устройства
Координатные самопишущие устройства применяются и титрографах для регистрации полной кривой титрования, включая области кривой до и после эквивалентной точки.
На диаграммной бумаге титрографа фиксируются изменения физико-химических величин, происходящие в титруемом растворе, в зависимости от объема подаваемого титранта.
В соответствии с назначением титрографа движение диаграммы связано обычно с объемом подаваемого титранта, а движение пера, перемещаемого перпендикулярно движению диаграммы, связано в величиной физико-химического параметра титруемого раствора. В некоторых моделях титрографов бывает наоборот — движенце диаграммы зависит от хода реакции, а перемещение пера пропорционально количеству подаваемого титранта.

Для подачи титранта в титрографах используются в основном шприцезыс бюретки. Движение поршня бюретки синхронизовано с движением одной из координат либо путем непосредственной кинематической связи, либо с использованием двух одновременно включаемых и выключаемых синхронных электродвигателей. Первый способ лредпочгптслыиее, так как в этом случае возможно замедление подачи тпгранта в области эквивалентной точки.
На рис. представлена координатная система титрографа Titromatic фирмы Jouan. Координатное устройство состоит из подвижного стола 1, перемещаемого в направляющих 2, и «мостика» 3, вдоль которого передвигается каретка 4 с пером. В правой части прибора установлена шприцевал бюрегка 5, поршень которой кинематически связан с подвижным столом /. На поверхности стола закрепляется диаграммная бумага, па которой перо в процессе титрования вычерчипает кривую титрования. Перемещение пера пропорционально концентрации компонентов и титруемом растворе.
В некоторых титрографах координатное устройство выделено в самостоятельный блок, а кинематическая связь между поршнем и приводом одной из координат осуществляется с помощью гибкого нала.
Программные устройства
Программные устройства служат для обеспечения последовательности операций титрования в полуавтоматических и автоматических титраторах прерывистого действия.
В полуавтоматических титраторах программа работы прибора задается вручную путем последовательного нажатия соответствующих клавиш или включения выключателей. Так, станция управления полуавтоматического фотометрического тптратора типа ТЛП-1 состоит пз пяти клавши: «О», «Реактив», «Мешалка», «Титрование», «Слив». При нажатии клавиши «Реактив» бюретка прибора пополняется титрант ом до нулевой отметки. Клавиша при этом остается в «утопленном» положении. При нажатии клавиши «Мешалка» клавиша «Реактив» восстанавливает свое первоначальное положение, а нажатая клавиша остается в своем новом положении — мешалка в титровальной ячейке начинает работать, перемешивая заранее налитый в ячейку анализируемый раствор. При нажатии клавиши «Титрование» мешалка продолжает работать, начинает подаваться титрант. После окончания титрования и считывания результатов нажимается клавиша «Слив» — раствор из титровальной ячейки сливается в дренаж. После нажатия клавиши «О» станция управления готова" к следующему циклу работы.
В автоматических титраторах прерывистого действия станции управления представляют собой более сложные устройства, имеющие импульсаторы, селекторные переключатели, систему реле.
Для автомагических титраторов применяют два варианта работы программного устройства: со свободным циклом и с фиксированными циклами последовательности операций.
В первом — каждая операция начинается немедленно после окончания предыдущей. С этой целью ряд узлов прибора снабжаются дополнительными устройствами сигнализации конца каждой операции.
По такому принципу работает титратор Analmatic фирмы Baird and Tatlock.
Во втором — длительность каждой операции фиксирована и определяется частотой следования управляющих импульсов, получаемых от задающего имцульсатора. По такому принципу построено программное устройство титратора типа «707» СКВ «Цветметавтоматика».
Для целей регулирования второй вариант более предпочтителен. При первом же способе легко осуществляется схема обнаружения неисправности работы прибора в той или иной операции.
Существуют программные устройства смешанного вида, в которых все подготовительные и промывочные операции имеют строго фиксированный цикл, а само титрование происходит по свободному Циклу — следующая операция начинается немедленно по окончании Титрования. Такая программа заложена в автоматическом потенциометрическом титраторе прерывистого действия типа АТ-64, разработанного СКВ АП.