Испытание теплообменников
Министерство образования и науки РФ
Иркутский Государственный Технический университет
Кафедра химической технологии
Отчет по лабораторной работе: испытание теплообменников
Выполнил:
Проверил:
Иркутск 2007 г.
Цель работы: Изучить процесс теплообмена в змеевике, кожухотрубчатом теплообменниках, экспериментально определить коэффициенты теплопередачи, рассчитать коэффициенты теплопередачи по предложенным зависимостям и сравнить опытные и рассчитанные значения. Исследовать влияние скорости потока на интенсивность теплопередачи, сравнить коэффициенты теплопередачи, полученные для двух теплообменников при одинаковых расходах теплоносителей.
Таблица1: конструктивные размеры теплообменников
|
Параметры |
зМЕЕВИКОВЫЙ |
Кожухотрубчатые |
|
|
Водяной |
Воздушный |
||
|
Высота (длинна), м |
0,68 |
2,3 |
1 |
|
Наружный диаметр кожуха (кожуховых труб), м |
0,34 |
0,21 |
0,32 |
|
Внутренний диаметр кожуха (кожуховых труб), м |
0,328 |
0,20 |
0,30 |
|
Наружный диаметр трубок, м |
0,015 |
0,025 |
0,025 |
|
Внутренний диаметр трубок, м |
0,012 |
0,019 |
0,020 |
|
Количество трубок |
1 |
8 |
37 |
|
Поверхность теплообмена, м2 |
0,35 |
1,27 |
2,60 |
|
Диаметр змеевика, м |
0,25 |
||
|
Число витков |
10 |
||
|
Число ходов |
1 |
2 |
1 |
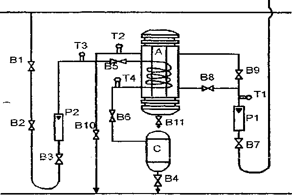
Змеевиковый теплообменник
Змеевиковый теплообменник представляет собой змеевик, помещённый в кожух. Горячая вода движется по змеевику, а холодная внутри кожуха. Кроме горячей воды в змеевик может подаваться пар, и для этого случая предусмотрен сборник конденсата С. Для того, чтобы увеличить скорость движения холодной воды и, следовательно, повысить интенсивность теплообмена внутри змеевика помещен цилиндр, диаметр которого равен 150 мм. Благодаря ему холодная вода движется не по всему аппарату, а по кольцевому зазору, образованному кожухом и цилиндром. При нормальной работе холодная вода движется противотоком через вентиль В8. Вентиль В9 открывается в случае промывки аппарата.

А - теплообменник;
С - сборник конденсата;
Р - ротаметры;
В - вентили;
Т - точки замера температуры.
Рисунок 1— Схема змеевикового теплообменника.
Расход холодной воды измеряется ротаметром Р1 и регулируется вентилями В7, В8, В9. Температура холодной воды на входе измеряется термометром Т1, а на выходе - термометром Т2 работающим в комплекте с электронным мостом. Горячая вода подаётся в верхнюю часть аппарата. Расход её измеряется ротаметром Р2 и регулируется вентилями В1, В2, ВЗ. Температура горячей воды на входе измеряется термометром ТЗ, а на выходе Т4. Вентиль В11 служит для полного опорожнения кожуха от жидкости. Для подачи горячей воды необходимо плавно открыть вентили В1, В2, ВЗ, В4, В5, В6 и вентилем В3 установить по указанию преподавателя по ротаметру Р2 расход горячей воды. Для подачи холодной воды открыть вентили В10, В8 и вентилем В7 по ротаметру Р1 установить расход холодной воды. После прогрева установки (через 15-20 минут) снять показания температур по шкале электронного автоматического моста.
Таблица 2: опытные данные
|
№ |
Расход теплоносителя м3/с |
Температура горячего теплоносителя |
Температура холодного теплоносителя |
|||
|
Горячего |
Холодного |
На входе |
На выходе |
На входе |
На выходе |
|
|
1 |
0,0003 |
0,00003 |
80,6 |
71,7 |
15,5 |
72 |
|
2 |
81 |
71,9 |
15,3 |
72,6 |
||
|
3 |
81,2 |
72 |
15,2 |
73,2 |
Для расчета берем значения 3строки. У нас противоток.
Расчет: Количество передаваемого тепла

Средняя разность температур:

Из основного уравнения теплопередачи рассчитываем опытное значение коэффициента теплопередачи:

По таблицам [1] определяем необходимые данные для дальнейшего расчета исходя из значений температур:
для горячего при t>ср>=76,6 К - µ>г>=372,34∙10-6 Па∙с;
λ>г>=67,262∙10-2 Вт/м∙К;
r>загр.Г>=0,0005 м2∙К/Вт;
Pr>Г>=2,3256
для холодного при t>ср>=44,2 К - µ>Х>=611,64∙10-6 Па∙с;
λ>Х>=63,988∙10-2 Вт/м∙К;
r>загр.Х>=0,0003 м2∙К/Вт;
Pr>Х>=3,9866
Для стальной стенки λ>СТ>=46,5 Вт/м∙К.
Расчетный коэффициент теплопередачи:



Расчетный коэффициент теплопередачи:

Таблица 3: рассчитанные величины:
|
№ п/п |
Количество тепла, Q, Дж/с |
Потери тепла, Q>П>, Дж/с |
Средняя разность температур ΔТ>ср>, К |
Коэффициенты теплопередачи, Вт/ |
||
|
Отданное горячим теплоносителем |
Принятое холодным теплоносителем |
Опытный |
Расчетный |
|||
|
1 |
11263,73 |
7217,69 |
4046,04 |
24,89 |
828,52 |
30,4 |
2. Кожухотрубчатый водяной теплообменник
Кожухотрубчатый водяной теплообменник представляет собой аппарат с плавающей головкой, по трубам которого проходит холодная вода, а горячая подается в межтрубное пространство.
Рисунок
2 - Схема кожухотрубчатого водяного
теплообменника
А – теплообменник;
В – вентили;
Р – ротаметры;
Т – точки замера температур.
Расход горячей воды измеряется ротаметром Р1 и регулируется вентилями В1, В2, ВЗ, В4, В5. Расход холодной воды измеряется ротаметром Р2 и регулируется вентилями В6, В7. Вместо горячей воды в межтрубное пространство может подаваться пар. Для этого случая предусмотрен сборник конденсата С. Температура горячей и холодной воды на входе выходе измеряется термометрами Т1, ТЗ, Т2, Т4, работающими в комплекте с электронным мостом.
Для подачи горячей воды необходимо открыть вентили В1, В2, ВЗ, В4, В5 на 1-1.5 оборота и с помощью вентиля ВЗ по ротаметру Р1 установить заданный преподавателем расход горячей воды. Для подачи холодной воды открыть вентиль В7 и с помощью вентиля В6 по ротаметру Р2 установить расход холодной воды.
После прогрева установки (через 15-20 минут) снять показания термометров Т1, Т2, ТЗ, Т4 по шкале электронного автоматического моста.
Таблицу 4: опытные данные
|
№ |
Расход теплоносителя м3/с |
Температура горячего теплоносителя |
Температура холодного теплоносителя |
|||
|
Горячего |
Холодного |
На входе |
На выходе |
На входе |
На выходе |
|
|
1 |
0,00032 |
0,000047 |
91 |
59,9 |
17,1 |
79,6 |
|
2 |
91,1 |
60,2 |
16,9 |
79,9 |
||
|
3 |
91,1 |
60,3 |
16,7 |
79,9 |
||
|
4 |
91,03 |
60,13 |
16,9 |
79,8 |
Для расчета берем из таблицы усредненные значения строки 4.
Расчет: Количество передаваемого тепла

Средняя разность температур:

Из основного уравнения теплопередачи рассчитываем опытное значение коэффициента теплопередачи:

По таблицам [1] определяем необходимые данные для дальнейшего расчета исходя из значений температур:
для горячего при t>ср>=75,58К - µ>г>=377,542∙10-6 Па∙с;
λ>г>=67,1906∙10-2 Вт/м∙К;
r>загр.Г>=0,0005 м2∙К/Вт;
Pr>Г>=2,354
для холодного при t>ср>=48,35 К - µ>Х>=566,82∙10-6 Па∙с;
λ>Х>=64,569∙10-2 Вт/м∙К;
r>загр.Х>=0,0003 м2∙К/Вт;
Pr>Х>=3,678
Для стальной стенки λ>СТ>=46,5 Вт/м∙К.
Расчетный коэффициент теплопередачи:



Расчетный коэффициент теплопередачи:

Таблица 5: рассчитанные величины:
|
№ п/п |
Количество тепла, Q, Дж/с |
Потери тепла, Q>П>, Дж/с |
Средняя разность температур ΔТ>ср>, К |
Коэффициенты теплопередачи, Вт/ |
||
|
Отданное горячим теплоносителем |
Принятое холодным теплоносителем |
Опытный |
Расчетный |
|||
|
1 |
40394,9 |
12123,3 |
28271,6 |
11,87 |
804,2 |
72,6 |
Кожухотрубчатый воздушный теплообменник
Кожухотрубчатый воздушный теплообменник предназначен для подогрева воздуха горячей водой. Воздух нагнетается вентилятором 2 в трубы теплообменника. Расход воздуха устанавливается с помощью заслонки 6. Горячая вода подается в межтрубное пространство теплообменника. Расход её регулируется с помощью вентиля В3 и измеряется ротаметром Р1.
Температура
теплоносителей на входе и выходе
теплообменника измеряется с помощью
термометров сопротивления.
1 – теплообменник;
2 – вентилятор;
В3, В4, В5 – вентили;
6 – заслонка;
Т1, Т2, Т3 – термометры.
Рисунок 3 – Схема кожухотрубчатого воздушного теплообменника
Таблица 6: опытные данные
|
№ |
Расход теплоносителя м3/с |
Температура горячего теплоносителя |
Температура холодного теплоносителя |
|||
|
Горячего |
Холодного |
На входе |
На выходе |
На входе |
На выходе |
|
|
1 |
0,00032 |
0,021 |
90 |
74 |
24 |
56 |
|
2 |
92 |
74 |
23 |
56 |
||
|
3 |
92 |
74 |
23 |
56 |
||
|
4 |
91,3 |
74 |
23,3 |
56 |
Для расчета берем из таблицы усредненные значения строки 4.
Расчет: Количество передаваемого тепла


Средняя разность температур:
Из основного уравнения теплопередачи рассчитываем опытное значение коэффициента теплопередачи:

По таблицам [1] определяем необходимые данные для дальнейшего расчета исходя из значений температур:
для горячего при t>ср>=82,65К - µ>г>=344,4∙10-6 Па∙с;
λ>г>=67,6∙10-2 Вт/м∙К;
r>загр.Г>=0,0005 м2∙К/Вт;
Pr>Г>=2,1347
для холодного при t>ср>=39,65
К -

λ>Х>=2,7∙10-2 Вт/м∙К;
r>загр.Х>=0,0004 м2∙К/Вт;
Pr>Х>=0,7328
Для стальной стенки λ>СТ>=46,5 Вт/м∙К.
Расчетный коэффициент теплопередачи:



Расчетный коэффициент теплопередачи:

Таблица 7: рассчитанные величины:
|
№ п/п |
Количество тепла, Q, Дж/с |
Потери тепла, Q>П>, Дж/с |
Средняя разность температур ΔТ>ср>, К |
Коэффициенты теплопередачи, Вт/ |
||
|
Отданное горячим теплоносителем |
Принятое холодным теплоносителем |
Опытный |
Расчетный |
|||
|
1 |
|
247,37 |
|
42,5 |
2,23 |
6,76 |
Используемая литература:
1. Павлов К.Ф., Романков П.Г., Носков А.А.: «Примеры и задачи по курсу процессов и аппаратов химической технологии» - учебное пособие для вузов.

