Історія освоєння та сучасні методи обробки металів
1. Освоєння металів
Перші метали в житті людини
Метали відносяться до числа найбільш поширених матеріалів, які людина використовує для забезпечення своїх життєвих потреб. На протязі багатьох років людина оточувала себе металевими предметами домашнього вжитку, зброєю і прикрасами. Тому історію освоєння металів слід розглядати на фоні історичного розвитку людства.
Метали з’явились в людини не зразу, не в результаті якогось революційного стрибка, вони з’явились поступово на протязі перехідного періоду між кам’яним віком і віком металів.
В палеоліті, початок якого відділений на сотні тисяч років від нас, людина не знала металу, їй тільки траплялися шматки металу (самородки), які вона використовувала, в основному, як прикраси. Людина помітила, що на відміну від крихкого каміння, такі шматки піддаються куванню. Але про техніку обробки металів не було ще й мови. Тому можна зробити висновок: людині спочатку стало відомо золото, потім срібло, бронза і, нарешті, залізо. Правда, з золота неможливо зробити зброю, але знайомство з ним принесло людям досвід роботи з металом. Прикладом цього може бути гробниця фараона Тутанхамона, який помер в 1350 році до нашої ери. Вага лише одного саркофагу становила близько 110,4 кг золота. Важко собі уявити, що б знайшли сучасні археологи в гробницях великих фараонів, якщо б їх не пограбували.
В той час золото плавили в горнах, і майстер виливав розплавлене золото із тигля в форму, яка стояла на землі. Подача повітря до горнів виконувалася за допомогою трубок і легенів людини. Для кування металу застосовувалося каміння.
Після золота людина зустрілась з міддю, яка також знаходиться в природі у вигляді самородків. Тому зараз вчені вважають, що перед бронзовим віком йшов кам’яно-мідний. З міді виготовляли наконечники для стріл і списів. Люди відкрили, що зміцнену холодним куванням мідь знову можна зробити м’якою, якщо нагріти її на вогні. Потім люди навчились плавити мідь і виливати її в форми так, як і золото. Мідна сокира, яка була вилита у відкриту форму, була знайдена близько 4000 років до нашої ери, мідний котел, діаметром 0,5 м був знайдений в гробниці фараона Перибсена (2695–2665 рік до нашої ери). З’явилися постійні форми, в які можна багато разів розливати метал. Люди навчились паяти мідь срібним дротом.
При всіх своїх перевагах, мідь мала великий недолік: мідна зброя і інструменти, наприклад ножі, швидко затуплювалися. Навіть в холоднозміцненому стані міцність, зносостійкість та інші властивості міді були настільки високі, що вони могли повністю замінити кам’яні. Вирішальний крок в цьому напрямку дозволив зробити сплав міді – бронза.
Бронзовий вік
Якщо до міді добавити олово, то отримаємо сплав, який називається олов’яниста бронза. Крім неї існують і інші бронзи: свинцевиста бронза, миш’яковиста бронза, сурмиста бронза і т. ін.
Головна перевага бронзи в порівнянні з міддю полягає в кращих її ливарних властивостях, більшій твердості і міцності, а також в більшій міцності в результаті холодної деформації.
Датський знавець древньої історії Христіан Юргенс Томсон (1788–1865 рр.), основоположник Національного музею в Копенгагені, систематизував всі археологічні знахідки в хронологічному порядку і прийшов до звичного для нас ділення старовинної історії на три періоди: кам’яний вік, бронзовий вік і залізний вік.
Бронзовий вік, його металургія і металообробка зародилися в перших великих культурних центрах – в долинах річок Тигр, Євфрат і Ніл. В той час бронзу плавили в тиглях, які нагрівали деревним вугіллям. Необхідну температуру підтримувало роздування вогнища міхами, які замінили скляні трубки. Виготовлення бронзових дверей храмів, прикрас, зброї і предметів вжитку говорять про набуті певні знання і навички металургів. Великий попит на бронзу стимулював розвиток гірничого ремесла, а також торгівлі.
Залізний вік
Можна передбачити, що перше залізо людина отримала з космосу, у вигляді метеоритів. Саме таке залізо знайдено в Єгипті, відноситься воно до IV тисячоліття до нашої ери і представляє собою намисто з прокованих смуг метеоритного заліза. Метеоритний метал легко відрізнити від заліза земного походження, тому що він має 8…10% нікелю. Метеоритне залізо обробляли так як і мідь (при холодному куванні воно набуває необхідну форму і одночасно підвищує свою міцність і твердість). Для повернення металу міцності його необхідно відпалити у вогні.
В ті часи залізо було оточене ореолом таємності, його називали "небесною міддю". Єгиптяни завжди зображали залізні предмети синім кольором неба. Це збереглося навіть і тоді, коли залізо почали отримувати із руд (воно почало мати земне походження).
Навіть в наші дні можна знайти ножі і наконечники, які зроблені із метеоритного заліза. Американський полярний дослідник Роберт Едвін Пірі (1856–1970) в звіті про експедицію в Гренландію писав про зустріч з ескімосом, який привів його до великого метеориту, поблизу мису Йорк. Метеорит сторіччями слугував ескімосам джерелом матеріалу для виготовлення зброї і інструментів. Вони просто відбивали від нього куски і без всякого нагрівання надавали йому необхідної форми куванням. Залізний метеорит важив біля 37 тон.
В II тисячолітті до нашої ери залізо було в 15–20 разів дорожчим за мідь. Поступово ціна на нього падала. Залізо не витіснило бронзу. Один із ассірійських царів, який жив три тисячі років тому, славився своїми залізними скарбами, які були для нього дорожчими золота.
Спочатку цей метал представляв собою ковке залізо, чи дуже м’яку сталь (сталь – залізо з малою кількістю вуглецю). Ковке залізо отримували в сиродувних горнах (рис. 1.1).

Рис. 1.1 Сиродувний горн
З технологією сиродувного процесу можна ознайомитися по описах і гравюрах, які дійшли до нашого часу. В робочий простір горну шарами завантажували деревне вугілля і подрібнену руду. Через повітряний канал 3 подавалося повітря для підтримання горіння. Сам сиродувний горн представляв собою яму, над якою виготовлялася куполоподібна шахта 1, кожух якої був із вогнетривкої глини і закріплювався дерев’яними жердинами 2. Дно сиродувного горна викладалося камінням 4. Крицю діставали з печі через пролом в стінці шахти.
Приблизно 1500 років до нашої ери багато заліза з’явилося у легендарного народу халібрів, які жили в Закавказзі і виплавляли його з руд. Це дало велику перевагу перед міддю, тому що руда з вмістом заліза зустрічається значно частіше.
Грецькі архітектори при будівництві великих будівель застосовували залізні дюбелі. Гермоген із Приона (біля 200 р до нашої ери), один із прославлених зодчих еллінської епохи, побудував храм Артеміди в місті Магнезія, який по розмірах і величі поступався тільки дідонському і ефеському храмам. Барабани колон храму, зроблені з білого мармуру, скріплені потужними залізними дюбелями довжиною 130 мм, шириною 90 мм і товщиною 15 мм. Як показало металографічне дослідження, дюбелі складаються із неоднорідного залізного матеріалу: одна із ділянок – сталь (має високий вміст вуглецю, що дозволяє її загартовувати), а друга – м’яке залізо високої чистоти. Міцність дюбеля складає в середньому 38 кг/мм2, тоді як у сучасної конструкційної сталі – 38.
В центральній Європі ранній залізний вік приходиться приблизно на 1000 – 450 роки до нашої ери. Цю епоху називають гальштатською – за назвою міста в Австрії, в околицях якого археологи знайшли багато залізних предметів того періоду. Поряд з залізними інструментами тоді широко застосовувались і бронзові. З заліза спочатку робили тільки зброю, а потім стали виготовляти робочі інструменти та інші знаряддя праці. Тому залізо лише в незначній мірі сприяло розвитку виробничих сил. Але по мірі поширення цей новий металічний матеріал все більше впливав на характер виробництва. Бронза також широко застосовувалася в багатьох галузях, в першу чергу для виготовлення прикрас. Вона має ту перевагу, що її можна без особливих затрат розплавляти і заливати в форму. З залізом, в якого температура плавлення значно вища, в ті часи так працювати не вміли.
В наступний період – пізній залізний вік – стало з’являтися все більше залізних предметів. Великий вклад в розповсюдження заліза внесли кельти. Європейський пізній залізний вік названий латенсною культурою (по місцевості в Швейцарії, де в основному були знайдені сліди кельтської культури).
Вже в гальштатський період виникли зв’язки між нащадками кельтів і грецькими містами-державами. Пізніше ці зв’язки і торгові відносини широко розвивалися. Всюди залишала сліди передова, для тих часів, кельтська технологія добування і переробка заліза. Велике переселення кельтів почалося на, рубежі V сторіччя до нашої ери. Кельтські племена населяли східну Галію, західну і середню Германію, Англію і Шотландію на півночі, сучасну Польщу на сході. Вони досягли Балкан і Піренейського (тоді Іберійського) півострова. Кельти освоїли обробку заліза і ковалі в германських сагах мали своїм праобразом кельтських ковалів. Кельтську назву заліза "ізарнон" перейняли всі германські племена (сьогодні по-німецькі це звучить "айзен", а англійською – "айрон"). Іберійські кельти (кельтибери) прославилися свою сталлю. Щоб отримати особливо хорошу сталь, вони закопували залізні смуги в землю, для того щоб ті частково ржавіли, а потім метал, який залишився, проковували. Звичайне залізо в той час було неоднорідне: воно складалося з м’якого заліза і сталі. Іржа руйнувала, в першу чергу, м’яке залізо, так що описаний метод кельтиберських ковалів дозволяв отримати більш однорідну і тверду сталь.
Способи одержання більш твердих сортів сталі ковалі тримали під великим секретом. А секрет був перш за все в підвищенні вмісту вуглецю. Така сталь отримувала властивість до загартування.
Існує старовинна древньо-германська сага. Коваль Вілану своєму конкуренту запропонував підступні умови: нехай він виготовить шолом і кольчугу, а він меч, тоді буде відомо, чия робота краща. Вони взялися за роботу. Вілану розділив залізо на малі шматки і підмішав в корм гусям метал, який пройшовши шлунок птиці став міцнішим, тому що шлунковий сік краще діє на м’яку сталь. Також метал з’єднався з азотом, а азотована сталь більш твердіша. Шматочки заліза після гусячого перетравлення краще підходять для виготовлення мечей. Повторивши ще раз цю операцію Вілану викував меч. В день змагання Вілану встав перед своїм суперником, поклав меч на його голову і без особливих зусиль перерізав шолом, голову, кольчугу і тіло.
Освоєння інших металів
Поряд із золотом, сріблом, міддю, оловом і залізом люди знали свинець, ртуть, сурму і платину.
Індійці Америки давно були знайомі з платиною. М’який і відносно легкодоступний свинець використовувався для різних цілей. Відомо, що з гнутих свинцевих листів виготовляли труби, чеканили монети, медалі і печатки, виготовляли грузила для рибної ловлі. Римляни називали свинець і олово одним словом, "плюмбум". Тільки добавляли "плюмбум" білий і чорний.
Набагато менше відома сурма – сріблясто білий, дуже крихкий метал. У Вавилоні з нього виготовляли посуд. Також сурма служила як легуючий елемент при виплавленні сурмистих бронз.
Ртуть римляни називали "аргентум вів ум" – живе срібло. Перша письмова згадка про неї належить Аристотелю і відноситься приблизно до 350 року до нашої ери. Ртуть застосовували для позолочення. Золото легко розчиняється в ртуті і утворює сплав – золоту амальгаму, яку наносили на виріб, який оброблювали. Потім його нагрівали, ртуть випаровувалася, а на виробі залишався шар золота. В наш час від цього відмовилися, тому що пари ртуті дуже шкідливі для здоров’я. Подібний процес був покладений в основу розробленого в XVI столітті способу отримання різних металів (амальзанірування): подрібнену руду обробляли ртуттю, в якій метали розчинялися, потім ртуть випаровувалася, а метали залишалися в твердому стані.
У період розпаду Римської імперії почався перехід до феодалізму, люди вже мали великі знання в області металургії. Знали добуток і переробку золота, срібла, міді, заліза, олова, свинцю, ртуті і сурми. Почали застосовувати сурмисті і миш’яковисті бронзи. З’явилися мідні сплави (латунь). Якщо мідь легувати цинком, то вона буде нагадувати золото. Мідь сплавляли з цинковою рудою і чеканили латунні монети.
2. Виробництво сталі і чавуну
2.1 Перші спроби промислового отримання заліза і сталі (пудлінговий метод)
З стародавніх часів ковке губчасте залізо отримували методом прямого відновлення безпосередньо з руди. В XVIII столітті цей сиродувний процес був широко розповсюджений. В Європі він зберігся до 1850 року, в Північній Америці – до 1890 року. В наш час сиродувні горни можна зустріти у народів центральної Африки і Китаю.
В 90-х роках, недалеко від річки Оскол в Бєлгородській області (Росія) знайшли старовинний горн для отримання заліза (рис 2.1).

Рис. 2.1 Старовинний горн для отримання залізної криці
Цінність знахідки перевірили і підтвердили при розкопках вчені експедиції. Вони встановили, що діяв він більше тисячі років тому – в VIII–IX віці. В той час тут жили хазари – войовничі кочівники, які і займалися металургією. Залізної руди в цих краях було багато, тут знаходиться гігантське природне сховище заліза (курська магнітна аномалія). Вихідною сировиною для отримання залізної криці є залізна руда, а паливом – дрібне деревне вугілля. Отримували в горні кусок залізної криці – губчастого заліза.
Процес отримання заліза із руди в горні увійшов в історію металургії під назвою "сиродувний", тому що в горн вдувалося не підігріте сире повітря (гаряче дуття з’явилося на металургійних заводах лише в XIX столітті). Отримане в сиродувному горні залізо інколи було не міцним і не твердим, а вироби з нього – ножі, сокири, піки – недовго залишалися гострими, гнулися, швидко виходили із ладу.
На дні горна, поряд з порівняно м’якими шматками заліза траплялись і більш тверді – ті, що безпосередньо контактували з деревним вугіллям. Помітивши цю закономірність, люди почали збільшувати зону контакту з вугіллям і тим самим навуглецьовувати залізо. Це була сталь – сплав заліза, який і зараз служить основним конструкційним матеріалом.
Для управління процесом дуття в горн, плавильник або горновий керує засувкою, яка приводить в рух кузнечний міх (рис. 2.2).

Рис. 2.2 Горн з повітряним дуттям XVI сторіччя. 1 - горн; 2 - кузнечний міх; 3 - водяне колесо
Лице плавильника захищене войлочною маскою. З горна через бічний отвір стікає шлак. Після 4…8 годин важкої ручної праці, працівники за допомогою залізних стержнів дістають з горна губчасту масу, яка включає зерна металу разом із шлаковими частинками, крицю. В залежності від розмірів горна, криця могла мати вагу до 150 кг. Двоє робітників довго обробляли крицю молотами, для того щоб ущільнити її і виділити частину шлаку. Потім крицю розділяють на частини, які проковують на наковальні і надають їй форму, необхідну для продажу.
Таким чином, розвиток горнів йшов від простих плавильних ям, які встановлювалися на відкритому місці, до шахтних печей з відкритим випускним порогом і міхом для дуття. Продуктивність ще більше збільшилася завдяки введенню викладання із цегли сиродутних печей замість подових. Подрібнену руду і деревне вугілля і деревне вугілля завантажували в піч зверху. Для виймання криці із печі потрібно відкрити її поріг, який закритий цегляною кладкою і обмазаний глиною. В XI сторіччі металурги користувалися сиродувними горнами об’ємом 1,1…1,7 м3. Вони давали за добу 1200…1300 кг металу. В Росії ці печі називали доминцями, від древньоруського слова "дмение", що означало "дуття". Ці печі "дихали" за допомогою енергії води: повітродувні міхи приводились в рух спочатку спеціальними водяними трубами, а пізніше великими водяними колесами.
В шахтній печі в одиницю часу згоряло більше палива, ніж в горни, і більше виділялося тепла. Високі температури в печі і привели до того, що частина відновленого заліза звільнялась від кисню, але сильно насичувалася вуглецем, розплавлялася і витікала із печі. Охолоджуючись, такий залізовуглецевий сплав мав у декілька разів більший вміст вуглецю ніж сталь. Він ставав більш твердим, але водночас і більш крихким. Таким чином, металурги стали отримувати побічний продукт – чавун. Спочатку його просто викидали, тому що під ударами молота такий метал розлітався на шматки і зробити із нього зброю чи інструмент було просто неможливо. В той же час через цей сплав міцність добротного продукт – залізної криці – різко скоротилась. Яких тільки назв не давали металурги новому сплаву в XV–XVII сторіччях. В країнах Центральної Європи його називали "диким камінням", "гусаком", в Англії – "свинячим залізом" (по-англійські чавун так називається і зараз), і російське слово "чушка" (чавунний виливок) має теж саме походження.
Оскільки ніякого застосування чавун не знаходив, його, звичайно, викидали. Але потім комусь прийшла в голову ідея завантажити чавун знову в піч і переплавити разом з рудою. Ця спроба зробила переворот в металургії заліза. Такий спосіб дозволяє порівняно легко отримати потрібну сталь, причому в великих кількостям. Історія не зберегла ім’я цього середньовічного винахідника, який отримав з чавуну ковке залізо, видаливши з нього вуглець. Цей процес називається в металургів "кричний переділ".
Нововведення призвело до чіткого розподілу праці: в доминцях, які в той час стали більш досконалими доменними печами, з руди виплавляли чавун, а в кричних горнах з нього видаляли вуглець, виконуючи процес перетворення чавуну в сталь – "кричний переділ". Так виник двостадійний спосіб отримання сталі з залізної руди: руда – чавун, чавун – сталь. Це приклад, як просте збільшення розмірів обладнання (в даному випадку – сиродутних горнів) призвело до принципово нової технології.
Тепер попит на чавун, перш за все як на напівпродукт, який потім перетворюється в сталь, різко збільшився. І доменні печі почали використовувати всюди. Але оскільки для доменної плавки потрібно було багато деревного вугілля, то це призвело до того, що в багатих рудою районах ліси були швидко вирубані. Особливо це стосується Англії. І металургія, залишившись без палива, пішла на збиток.
Тяжке положення, в якому опинилась в зв’язку з цим англійська промисловість, яка довгий час займала головні позиції в металургії, змушена була шукати заміну деревного вугілля. Металурги звернули увагу на кам’яне вугілля, яким Британські острови були багаті. Але всі спроби виплавити на ньому чавун кінчалися невдачею: вугілля в процесі нагріву подрібнювалося, а це сильно сповільнювало дуття. В 1735 році Абрахаму Дербі з англійського міста Колбрукдейл вперше вдалося застосувати в доменній печі кам’яновугільний кокс і тим самим модернізувати першу ступінь процесу виробництва сталі. Кокс – це паливо, отримане з кам’яного вугілля при його нагріванні без доступу повітря при високих температурах (950 – 1050 °С), при цьому вугілля не подрібнювалось, а спікалось в куски. Сьогодні без коксу неможливі ні доменна плавка, ні ряд інших металургійних процесів.
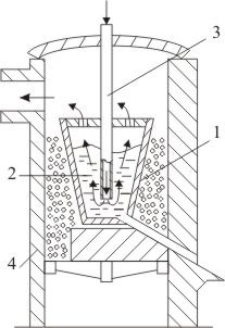
Але для переробки чавуну в сталь необхідно було деревне вугілля. Кам’яне вугілля ще не вміли застосовувати для цієї мети. Сірка, яка знаходилася в ньому, переходила в сталь і робила її непридатною. Проблему вирішив англієць Генрі Корт, який в 1784 році винайшов спосіб пудлінгування (puddle – місити, перемішувати).
В пудлінговій печі (рис. 2.3) паливо не контактує з чавуном, який переробляється.

Рис. 2.3 Пудлінгова піч
Кам’яне вугілля 1 горить в топці, яка віддалена від горна 2 порогом 3. Перші пудлінгові печі мали дві димові труби 4: одну безпосередньо над топкою, другу з протилежного кінця печі, над плавильним горном чи ванною. Пудлінгування – це очистка чавуну в полум'яній печі. Процес починається з завантаження чавуна в горн. Для того, щоб прискорити плавку, куски чавуна (вагою 10 – 30 кг, всього близько 150 кг) розміщують поблизу топки, де температура сама висока. Приблизно через 45 хвилин чавун розплавляється. Пудлінгувальник вставляє в завантажувальне вікно 5 печі залізну штангу з крюком на кінці і проводить нею борозди по тістоподібній чавунній масі. При цьому чавун добре перемішується і поверхня ванни збільшується. Закриваючі горн і закидаючи вологий шлак, пудлінгувальник регулює температуру ванни. Крім того, в ванну добавляють пісок, який вступає в хімічну реакцію з футеровкою печі, при цьому утворюється шлак; останній окислює вуглець, і чим більше його окислюється, тим сильніше розріджується ванна і залізні зерна збираються в грудки.
Пудлінгувальник штангою багато разів перевертає масу і під кінець розділяє її на три – п’ять частин криць. Вони ще гарячі попадають до коваля, який до кожної криці приварює залізний стержень дюймової товщини, і проковує їх в ковбаски діаметром 7 -10 см і довжиною 50 см. Ці заготовки в прокатній машині розкачують в полоси, потім знову розділяють на куски довжиною 50 см і ще раз прокатують, накладаючи по 4 полоси одна на другу. Для процесу пудлінгування були характерні ці операції прокатки криць, які потрібно не стільки для надання заготовці форми, скільки для того, щоб зварити зерна і грудки заліза. В результаті отримуємо зварювальне залізо (чи зварювальну сталь). Одна пудлінгова піч за добу давала 3500 кг великозернистого кричного заліза або 1600 кг мілкозернистого заліза – пудлінгової сталі.
Пудлінгування означало суттєвий прогрес в порівнянні з попереднім сиродувним способом і кричним переділом. Замість дефіцитного деревного вугілля застосовувалось кам’яне вугілля. Пудлінгові печі набагато продуктивніші. В результаті пудлінгування отримували зварювальне залізо з відмінною якістю.
Але зварювальне залізо і зварювальна сталь мали суттєвий недолік – нерівномірність складу в поперечному перерізі. Англійський майстер годинникової справи Бенджамін Хантсмен (1704–1776) прийшов до думки, що склад цих матеріалів можна вирівняти шляхом переплавки. Для того, щоб отримати сталь, Хантсмен використовував тигель із вогнетривкого матеріалу і підігрівав коксом піч з дуттям і високим горном. Це принесло успіх.
Французькі ковалі перші виготовили із литої сталі ножі, які були кращі шефілдських, завдяки своїй твердості. Старшини шефілдського цеху ковалів звернулись в палату общин англійського парламенту з проханням заборонити вивіз із країни литої сталі. Їх прохання було відхилено. Тоді шефілдським ковалям довелося переглянути свої погляди на литу сталь. Виробництво стальних виробів в Англії стало швидко розвиватись. Значно розширився експорт не тільки готових стальних виробів, але і стальних злитків
Високоякісна тигельна сталь мала добрі властивості в литому стані. Після винаходу Хантсмена, через 100 років з них робили паровозні осі, гарматні стволи. В 1851 році на Лондонській всесвітній виставці був показаний стальний злиток вагою 2150 кг. Для того щоб отримати таку виливку, прийшлось зливати в міксер (копильник) розплавлену сталь із багатьох тиглів ємністю по 45 кг кожний.
В епоху промислової революції потреба в залізі настільки виросла, що її не міг задовольнити і пудлінговий процес. Різні нові технічні застосування пудлінгового заліза показали, що воно не витримує великих навантажень. Наприклад, локомотиви стали важчі і швидкохідніші, і рейки, які виготовлялись із пудлінгової сталі, все частіше руйнувались. Назріло питання отримання більш якісної сталі.
2.2 Бесемерівський і томасівський процес отримання сталі
Основоположником сталеплавильного виробництва є Генрі Бесемер (1813–1898). Свої перші досліди він проводив в закритому тиглі 1, продуваючи розплав 2 повітрям через введену зверху трубку 3 (рис. 2.4). Тигель був встановлений в печі 4 для того щоб надати йому додатковий підігрів, який, як з’ясувалося пізніше, був непотрібний. В 1885 році Бесемер вперше отримав ковке залізо (сталь) шляхом продування повітрям 5 кг сирого чавуну, який розплавлений в тиглі з вогнетривкої глини.

Рис. 2.4 Продування чавуну повітрям для отримання сталі
Виявилось, що при продуванні повітрям розплавленого чавуну він не тільки не охолоджується, як думали раніше, але навпаки його температура зростає настільки, що ванна залишається рідка, не дивлячись на те, що сталь, яка утворилась з чавуну має вищу температуру плавлення. В 1855 році Бесемер отримав англійський патент на свій винахід. Прусське патентне відомство в Берліні відмовились видати йому патент, мотивуючи свою відмову таким чином: "не можна нікому заборонити продувати повітря через рідке залізо" – приклад нерозуміння суті технічного прогресу.
Новий процес отримання сталі з чавуну без палива і печі пройшов довгий час, перш ніж стало зрозумілим, що добру сталь дає тільки малофосфористий чавун. Якщо чавун має багато фосфору, то продукт отримується гіршим, ніж ковке залізо, – він стає "червоноламким" і "холодноламким" (крихким в гарячому і холодному стані). Завдяки цьому бесемерівський процес поширювався дуже повільно – спочатку він був прийнятий в Швеції, потім – в Австрії і пізніше в Англії. Широкому його поширенню протидіяло те, що він потребував малофосфористого чавуну.
Чавун з малим вмістом фосфору, завантажувався в тигель, який мав грушоподібну форму (є прототипом сучасного кисневого конвертора). Цей конвертор мав кислу футерівку і мав можливість повертатись на цапфі при виливанні отриманої сталі. В конверторі шлак збирався в верхній частині. Продування виконувалось через трубку, яка вводилась через вікно.
Широке застосування цього процесу стримувалось проблемою очистки чавуну від фосфору. Серед багатьох металургів, які вирішували цю проблему, першим досяг успіху Сідней Джілкріст Томас (1850–1885). Томас мав дві спеціальності. Він служив писарем в лондонському поліцейському суді, чим заробляв собі на життя, і одночасно вивчав хімію і металургію в гірничому училищі, де й зацікавився проблемою виведення фосфору із чавуну.
Немає суттєвої різниці між бесемерівським і томасівським процесом. В основі обох лежить один і той же принцип: чавун, з якого отримують сталь, очищують, продувають через нього повітря. Місткість, де проходить реакція (конвертор), має грушоподібну форму з відкритою горловиною зверху і має можливість нахилятись завдяки горизонтальній осі – цапфі.
Основна різниця між цими процесами в тому, що бесемерівський конвертор всередині викладений кислою (за хімічним складом вогнетривкою футеровкою) і в ньому неможливо виділити фосфор з чавуну в основний шлак тому, що такий шлак швидко роз’їдає кислу футеровку. Томасівський конвертор мав основну футеровку, тому, додаючи вапно, можна отримати основний шлак, який добре виводить фосфор з чавуну, але не роз’їдає основної футеровки.
Конвертор дозволяє за 20 хв. перетворити в сталь 20 т чавуну. Для виробництва такої кількості сталі в горні способом кричного переділу потрібно було б 3 тижні, а в пудлінговій печі – тиждень.
Бесемерівський і томасівський конвертори були необхідні для масового виробництва сталі загального призначення, тоді як високоякісні спеціальні сталі продовжували виплавляти в тиглях.
Брати Вільгельм і Фрідріх Сіменси винайшли регенеративний спосіб підігріву печей, і після того, як був отриманий патент на цей винахід, була побудована перша піч. Суть регенеративного підігріву полягає в попередньому підігріві повітря, яке необхідне для горіння палива. Для підігріву використовувався газ, який відходив під час горіння і є продуктом горіння. Для цього через деякий проміжок часу повітря направляється то через один, то через другий регенератор (коли повітря для горіння проходить через один регенератор і охолоджує його, саме нагрівається, гази, які відходять, підігрівають другий регенератор). В дослідній печі братів Сіменсів стальні частини всередині печі через 6 годин розплавились, а тигель, який був розміщений в топ-очній камері, перетворився в шлак.
Перші практичні спроби виплавити тигельну сталь в подібних печах на сталеливарному заводі в Шеффілді закінчилися невдачею (разом зі сталлю плавився тигель і стінки печі).
В 1846 році на одному із заводів південної Франції Сьєру Мартену (1824–1915) вперше вдалося зварити хорошу сталь в регенеративній печі, яку побудували при участі Вільгельма Сіменса. Шихта складалася з чавуна, який виплавлявся з гематиту – червоного залізняка з острова Ельба, чушок пудлінгового заліза і стального лому.
Мартенівський процес (німці називали його Сіменс – мартенівським) поряд з бесемерівським і томасівським визначив ще один великий крок в розвитку металургії. Цей процес зберіг велике практичне значення до наших днів для повторного виробництва сталі з лому і стальних відходів. Цікаво відзначити, що Генрі Бесемер винайшов свій конвертор, а Вільгельм Сіменс – регенеративну піч в один і той же час і жили вони на сусідніх вулицях Лондона й нічого не знали один про одного.
Мартенівський процес отримав широке поширення після Паризької виставки 1867 року. В Росії першу мартенівську піч побудували в 1869–1870 роках на Сормовському заводі. В той час виробництво сталі в Англії перевищило 5 млн. т. і продовжувало швидко зростати (в середньому за рік виплавлялось 50 – 100 тис. тон).
2.3 Сучасні методи виплавки сталі
Чавун – це сплав на основі заліза, який включає 2,14% і більше вуглецю, а також в незначній мірі інші домішки, в тому числі і шкідливі (фосфор і сірку). Отримують його в доменних печах з червоних, магнітних, бурих і шпатових залізняків, марганцевих руд шляхом відновлення заліза і насичення його вуглецем та іншими елементами. Основна частина чавуна (більше 80%) використовується для виплавки сталі.
Залізні руди – це гірська порода, яка складається із хімічних з’єднань заліза (Fе>2>O>3>; Fe>3>O>4>; 2Fe>2>O>3>3Н>2>O; Fe>3>CO>3>) і пустої породи (пісковику, глини, вапняку чи доломіту). До руд ставляться такі вимоги: високий вміст заліза (в межах ЗО – 70%); добра відновлюваність; склад і стан пустої породи, що забезпечує легкість її видалення у вигляді шлаку; задовільна кусковатість; низька вартість.
Магнітний залізняк (магнетит) включає 40…65% заліза у вигляді магнетиту Fe>3>O>4>; червоний залізняк (гематит) – 58…60% заліза у вигляді окисла Fе>2>O>3>; бурий залізняк – 50…60% заліза у вигляді сполуки 2Fe>2>O>3>3Н>2>O і шпатовий залізняк (сидерит) – 30…45% заліза у вигляді карбонату Fe>3>CO>3>. Також в доменній плавці використовують комплексні руди: хроміти, які включають крім заліза 37,5% окисла хрому, хромонікелеві залізні руди (1,5% хрому і 0,5% нікелю), титаномагнетити (0,4% ванадію і до 13% двуокисла титану).
Крім руд, в доменній плавці застосовують відходи металургійного виробництва: скрап, залізні і марганцеві шлаки, спечений рудний пил, окалина, огарки і т. ін. Марганцеві руди використовують для введення марганцю в склад чавуна. Вони містять 25…50% марганцю у вигляді окислів МnО; Мn>2>О>3>; Мn>3>O>4>.
Поряд з рудами вихідним матеріалом для отримання чавуну є паливо, флюс і повітря. Паливом є кокс. В природі він не існує, а отримують його з кам’яного вугілля, яке може коксуватись і спікатись. Такого вугілля в природі не дуже багато, тому воно з кожним роком дорожчає. Це вугілля не треба перетворювати в кокс. Процес цей складний, трудомісткий і супроводжується виділенням шкідливих побічних продуктів. Щоб по можливості не дати проникнути їм в атмосферу, воду і грунт, будуються дорогі очисні споруди.
Також в якості палива для доменних печей може застосовуватися природний газ.
Флюси використовуються для оплавлення тугоплавкої пустої породи руди і попелу палива з утворенням низькоплавкого шлаку визначеного складу, який легко витікає з доменної печі, а також для часткового переведення сірки в шлак. Так як частіше за все пуста порода має кислотний характер, то в якості флюсів застосовують основні матеріали – вапняк СаСО>3>, доломіт СаСО>3>МgСО>3>, основний марганцевий шлак. Якщо склад породи має основний характер, то в якості флюсу застосовують кварц, пісковик і т. ін. Флюси не повинні вміщувати значної кількості сірки і фосфору і не більше 2…4% кремнезему і глинозему, які збільшують витрати флюсів і кількість шлаку, який отримується. Вміст кальцію повинен бути не менш 50…52%. Флюси перед плавленням подрібнюються на куски розміром 30…80 мм.
Повітря забезпечує горіння палива і отримання високих температур в доменній печі. Вдувають його нагрітим до температури 980…1200°С. Разом з повітрям частково подається до 32% кисню, який забезпечує підвищення температури і різко прискорює хід плавлення.
Вихідні матеріали для отримання чавуну, які беруться в певних пропорціях, називають шихтою. Всі шихтові матеріали перед завантаженням в домну проходять певну підготовку. В першу чергу це стосується руд. Їх сортують по вмісту заліза, по величині шматків; хімічному складу і т. ін. Потім руди збагачують і отримують концентрат, який вміщує підвищену кількість металу. Збагачення виконується миттям, гравітаційними методами, магнітними і т.ін. Миття руди сильним струменем води дозволяє частково видалити піщано-глиняну пусту породу від мінералів, багатих на залізо.
Гравітаційний метод (мокре відсадження) представляє собою розділення тяжких, багатих металом кусків руди від більш легкої, пустої породи в струменях води, яка піднімається чи тяжких суспензіях. Магнетити збагачують електромагнітними сепараторами після їх подрібнення.
Після збагачення руди виконується окусковування концентратів (брикетування, агломерація або отримання окатишів). Найбільш поширеним є агломерація (спікання) на потужних машинах безперервної дії продуктивністю до 3000 тон за добу. В результаті спікання шихти при температурі 1200…1500°С утворюється пористий агломерат, який має певну міцність, добре відновлюється і має знижений вміст сірки.
Окусковування можна проводити методом отримання окатишів (розміром 10…30 мм) в барабанах, які обертаються. Для отримання окатишів дрібний концентрат змішують з вапном чи глиною і зволожують до 8…10%. В барабанах шихта пересипається і скатується в окатиші.
Доменна піч – це вертикальна плавильна піч шахтного типу. Свою назву вона отримала від домниці, яка застосовувалась в Росії в ХVІІІ – IX сторіччі.
Сучасна доменна піч – це потужний і високопродуктивний агрегат з об’ємом, який займає шихтний матеріал (корисний об’єм) 3000…5000 м3, продуктивністю більше 5000 т. чавуна за добу.
В 1975 році в Кривому Розі почала працювати найбільша домна в світі об’ємом 5000 м3, яка була побудована за два роки. Кожен рік ця піч дає більше 4 млн. т. чавуну. Домні "зразка 1800 року" "необхідно працювати" 24 роки, щоб виплавити стільки чавуну, скільки дає криворізька домна за добу.
Корисна висота таких печей досягає 30 м і більше. Доменна піч (рис. 2.6) зовні заключна в сталевий кожух, а всередині футерована вогнетривкою (шамотною) цеглою. Внутрішня будова печі включає колошник 1, шахту 2, розпар 3, заплечики 4 і горн 5.
Колошник обладнаний литими сталевими сегментами, які захищають вогнетривку футерівку від руйнування при ударах шихти, яка завантажується в піч.
В верхній частині печі є завантажувальний пристрій, який включає воронку 6, малий конус 7, великий конус 8 з воронкою 9. Шихта подається на колошник по похилому мосту стрічковим транспортером 10. З нього шихта спочатку попадає на малий конус, який повертається навколо осі, для більш рівномірного завантаження. Далі шихта попадає на великий конус. Малий і великий конус опускаються не одночасно, для того, щоб запобігти викиданню доменних газів із печі в атмосферу. У великий конус через малий конус засипають певну кількість шихтових матеріалів, які утворюють, так звану колошу. В процесі опускання великого конуса колоша падає в піч. Рудну частину шихти і коксу завантажують роздільно, тому в печі утворюються два шари – коксу і рудної частини.
Для подавання визначеної кількості шихти служать бункери-дозатори 11, які подають останню на стрічковий транспортер.
В нижній частині домни знаходяться фурми 12, через які вдувається в піч нагріте повітря, або повітря збагачене киснем, а інколи – газоподібне, рідке чи пилоподібне паливо для економії коксу. Чавун і шлак безперервно стікають вниз і періодично випускаються через чавунний льоток 13 в чавуновоз 14 і шлаковий льоток 15 в шлаковоз 16.
Процес доменної плавки неперервний, а завантаження шихтових матеріалів і випуск чавуна і шлаку виконується періодично за встановленим режимом. Вихідні матеріали поступають в доменну піч зверху, а в нижню частину печі через фурми 12 подається нагріте повітря 17, яке отримується із холодного дуття 18. Нагрів холодного повітря виконується в повітронагрівачі (каупері) 19. Каупер працює завдяки згорянню колошникового газу, який поступає з верхньої частини домни. Через фурми 12 також може подаватись повітря, збагачене киснем, або газоподібне паливо. Гази, які утворюються при згорянні палива, піднімаються назустріч шихтним матеріалам, які опускаються, нагріваючи їх, відновлюють і плавлять. Таким чином, піч працює за принципом протипотоку, що дозволяє повніше використовувати тепло. Монтується доменна піч на бетонному фундаменті 20, а між фундаментом і горном знаходиться лещадь (холодильник) 21.
Як правило, біля кожної доменної печі є три – чотири повітронагрівачі, які працюють поперемінно. В результаті взаємодії кисню повітря і окислів руди з вуглецем утворюється доменний газ, який піднімається вверх зі швидкістю 20…60 м/сек. Враховуючи опір матеріалів шихти тиск газів при підході до колошника знижується до 1,5…3,7 атм. (0,15…0,37 МПа). Після очищення від пилу газ використовується для нагрівання повітронагрівачів, мартенівських, кузнечних, термічних печей, опалення адміністративних приміщень і як паливо для двигунів внутрішнього згоряння. Колошниковий пил, який отримується при очищенні доменного газу застосовується в процесі агломерації.
2.4 Фізико-хімічні процеси плавлення чавуна в доменній печі. Продукти доменного виробництва
Під час плавлення чавуна в печі виконується два основних процеси: відновлення заліза з окислів руди, навуглецьовування його і видалення у вигляді рідкого чавуна визначеного хімічного складу; оплавлення пустої породи руди, утворення шлаку, розчинення в ньому золи коксу і видалення його із печі.
Шихтні матеріали при завантаженні в колошник зустрічаються з температурою 200…300С, при переміщенні вниз на рівні фурм зустрічають температуру 1800…1900 °С і понижуються в горні до 1450 °С. Повітря, яке вдувається через фурми, обумовлює горіння коксу по реакції:
C + CO>2 >= CO>2 >+ 94052 кал (394 кДж)
Зустрічаючи розкалений кокс при високій температурі, вуглекислий газ відновлюється: СО>2> + С = 2СО – 42012 кал (176 кДж)
Також, окис вуглецю утворюється в результаті взаємодії водяної пари і вуглецю коксу: Н>2>О + С = СО + Н>2> – 31382 кал (132 кДж)
У верхніх горизонтах доменної печі при температурі 100…200°С випаровується волога, а при 300…350 °С видаляється гідридна вода. З палива видаляються летучі речовини. При вищих температурах (до 900°С) розкладається вапняк з виділенням вуглекислоти:
СаСО>3> =СаО + СО>2> – 42490 кал (Г78 кДж)
Відновлення заліза проходить послідовно за схемою:
Fе>2>О>3 > Fе>3>O>4> FеО Fе
При невисоких температурах проходить непряме відновлення руди окислом вуглецю:
ЗFе>2>О>3> + СО = 2Fе>2>O>4> + СО>2> + 12136 кал (50,7 кДж)
2Fе>3>O>4> + 2СO = 6FеО + 2СО>2> – 16528 кал (69,2 кДж)
6FеО + 6СО = 6Fе + 6СО>2> + 23616 кал (99,1 кДж)
При високих температурах (>950 °С) в нижній частині печі проходить пряме відновлення заліза за рахунок сажистого вуглецю, який осаджується в порах матеріалів:
FеО + С = Fе + СО – 37284 кал (155,5 кДж)
Газами відновлюється близько 60% заліза, яке отримується в доменній печі, а твердим вуглецем – близько 40%. Крім заліза, в доменній печі відновлюється кремній, марганець, сірка, фосфор та інші елементи. Відновлення кремнію і марганцю проходить при високих температурах (близько 1450°С) твердим вуглецем і потребує великих витрат тепла і палива:
SiO>2> + 2С = Si + 2СО – 152568 кал (639,5 кДж)
МnО + С = Мn + СО – 65584 кал (275,8 кДж)
Сірка, як шкідливий домішок чавуна, повинна бути якнайповніше видалена із нього. В доменну піч сірка попадає разом з шихтою (є в коксі, руді і флюсах). Близько 10–16% сірки вивітрюється з газами у верхніх горизонтах печі. Для видалення сірки забезпечують надлишок вапна в шлаках і високу температуру в горні. Сірка видаляється за реакцією.
FeS + СаО = СаS + FеО + 4380 кал (18,4 кДж)
Сульфід кальцію, який утворився, не розчиняється в чавуні, переходить в шлак і разом з ним виводиться з печі. Додатково сульфід кальцію видаляється після випускання його з доменної печі за рахунок взаємодії сірки з марганцем, якого для цього повинно бути в чавуні достатньо:
FeS + Мn = Fе + МnS + 21700 кал (90,9 кДж)
Фосфор також є шкідливою домішкою чавуна, але його видалення з рідкого чавуна в умовах доменної плавки є затрудненим. Фосфор, який потрапив в доменну піч разом з шихтою, розчиняється в чавуні і запишається в ньому.
Безпосередньо після відновлення в доменній печі отримується тверде пористе губчате залізо з високою температурою плавлення 1539°С. При його взаємодії з окисом вуглецю утворюється карбід заліза (цементит) Fе>3>С:
ЗFе + 2СО = Fе>3>С + СО>2> + 36220 кал (150,4 кДж)
Цементит розчиняється в залізі, навуглецьовує його до 4,3% і понижує температуру плавлення до 1140…1150°С. Навуглецьоване низькоплавке залізо розплавляється, краплинами стікає в горн і по шляху розчиняє кремній, марганець, сірку, фосфор та інші елементи. Сплав, який утворився і є чавун – головний продукт доменної плавки.
Шлакоутворення повинно проходити після закінчення процесів відновлення заліза з руди, так як інакше легкоплавкий холодний шлак стікає в низ печі, захолоджує її, порушує нормальний хід плавки і призводить до зміни хімічного складу чавуна і шлаку. Узгодження процесів відновлення і шлакоутворення досягається підтриманням визначеного хімічного складу і температури плавлення шлаків, а також регулювання всього ходу плавки.
Утворення шлаку починається після опускання шихти приблизно до розпаду при температурі 1200°С, коли пуста порода сплавляється з флюсами (вапном). При стіканні шлаку вниз він збіднюється окислами заліза і марганцю, збагачується вапном і набуває заданого складу.
Продуктами доменного виробництва є чавун, шлак і доменний газ.
Чавун, як головний продукт, виплавляють трьох видів: передільний, ливарний і спеціальний (феросплави). Передільний чавун іде на переплавку при виробництві сталі його відсоток складає близько 80%. Ливарний чавун застосовується для отримання фасонних виливок і його виплавляється близько 16% від виробництва всього чавуна. Він має підвищений вміст кремнію, який покращує ливарні властивості чавуна.
Доменні феросплави застосовуються у виробництві сталі як присадки і як розкислювачі, в сталеплавильних печах і при виробництві чавуна в вагранках. Їх виплавляють приблизно 4% від всього виробництва чавуна. Феросплави відрізняються від передільного і ливарного чавуна підвищеним вмістом марганцю і кремнію. Розрізняють три види феросплавів: феросиліцій, з вмістом 10…15% кремнію, феромарганець, з 70…80% марганцю і дзеркальний чавун, з 10…25% марганцю.
Другим по значимості продуктом доменного виробництва є доменні шлаки, які після отримання гранулюють водою для отримання дрібнозернистої маси. Отримані шлаки використовуються для виготовлення цементу, цегли, шлакоблоків та інших будівельних матеріалів.
Третім продуктом доменного виробництва є доменний газ, який після очищення від пилу використовують як газоподібне паливо в повітронагрівачах, для опалення різних печей, нагрівання ковшів тощо.
Доменні
печі працюють безперервно протягом 5…6
років, після чого їх зупиняють на
капітальний ремонт. Основною причиною
зупинки на ремонт є вигорання вогнетривкої
футеровки. Для визначення часу зупинки
домни на ремонт служить радіоактивний
ізотоп 60Со,
який замуровують в вогнетривку кладку
в найненадійнішому місці під час
будівництва або капітального ремонту
печі. Періодично до даного місця підносять
лічильник Гейгера, за допомогою якого
виявляють
-
випромінювання. Послаблення такого
випромінювання або відсутність його
зовсім говорить про те, що ізотоп 60Со
відійшов разом із чавуном і кладка
вигоріла до критично-можливого місця,
що є сигналом для зупинки печі на
капітальний ремонт.