Контакторы и магнитные пускатели
Министерство образования и науки РФ
Федеральное агентство по образованию
Департамент образования Кировской области
ГОУ НПО профессиональное училище № 5
Письменная экзаменационная работа
Тема: «Магнитные пускатели, контакторы».
Выпускник: Касимов Андрей Игоревич
Группа № 21
Руководитель работы
Бакулин Николай Анатольевич
г. Киров 2010 год
ВВЕДЕНИЕ
В промышленности и мелкомоторном секторе, гражданском и коммерческом строительстве, задачи связанные с пуском и остановкой электродвигателей, а также с дистанционным управлением электрическими цепями возложены на контакторы и магнитные пускатели. Данные устройства применяются там, где необходимы частые пуски либо коммутация электрических устройств с большими токами нагрузки.
Для начала установим: чем это оборудование отличается друг от друга:
Контактор - это дистанционно управляемый коммутационный аппарат, позволяющий коммутировать мощные (в том числе индуктивные) нагрузки как переменного, так и постоянного тока.
Отличительной особенностью электромагнитных контакторов, по сравнению с близкими к ним электромагнитными реле является то, что контакторы разрывают электрическую цепь в нескольких точках одновременно, в то время как электромагнитные реле обычно разрывают цепь только в одной точке.
Контакторы – это аппараты дистанционного действия, предназначенные для частых включений и отключений силовых электрических цепей при нормальных режимах работы.
Электромагнитный контактор представляет собой электрический аппарат, предназначенный для коммутации силовых электрических цепей. Замыкание или размыкание контактов контактора осуществляется чаще всего с помощью электромагнитного привода.
Общепромышленные контакторы классифицируются:
по роду тока главной цепи и цепи управления (включающей катушки) - постоянного, переменного, постоянного и переменного тока;
по числу главных полюсов - от 1 до 5;
по номинальному току главной цепи - от 1,5 до 4800 А;
по номинальному напряжению главной цепи: от 27 до 2000 В постоянного тока; от 110 до 1600 В переменного тока частотой 50, 60, 500, 1000, 2400, 8000, 10 000 Гц;
по номинальному напряжению включающей катушки: от 12 до 440 В постоянного тока, от 12 до 660 В переменного тока частотой 50 Гц, от 24 до 660 В переменного тока частотой 60 Гц;
по наличию вспомогательных контактов - с контактами, без контактов.
Контакторы также различаются по роду присоединения проводников главной цепи и цепи управления, способу монтажа, виду присоединения внешних проводников и т.п.
На сегодняшний день существует огромный выбор контакторов и пускателей всех типов для всех возможных видов электроустановок.
Контакторы КМ – модульные контакторы, применяемые в основном в системах управления и автоматизации жилых, офисных, промышленных и прочих помещениях для управления и коммутации осветительных, обогревательных и вентиляционных и прочих инженерных систем. Применяются в сетях с напряжением до 380В переменного тока частотой 50Гц. Главные достоинства контактора КМ – малошумная коммутация, высокая коммутационная мощность и долговечность, свободный от фона переменного тока магнитный привод.
Контакторы серии КМЭ – малогабаритные контакторы, предназначенные для дистанционного пуска, остановки и реверсирования трехфазных асинхронных двигателей с короткозамкнутым ротором в сетях переменного тока частотой 50/60Гц с напряжением до 660В (категория применения АС-3) и для дистанционного управления электрическими цепями в которых ток включения равен номинальному току нагрузки (категория АС-1).

Контакторы этой серии отличают: компактные размеры, широкий ассортимент исполнений и катушек управления, большой выбор дополнительных устройств и возможность реализации реверсивного варианта управления, простота в обслуживании и эффективность работы.
Контакторы серии КТЭ – также используются для использования в схемах управления трехфазных асинхронных электродвигателей с короткозамкнутым ротором в сетях с напряжением до 660В. Могут использоваться для включения и отключения таких систем как: нагревательных установок, освещения, насосных систем, печей, вентиляции и т.д. В ассортименте компании как одиночные нереверсивные контакторы, так и блочные реверсивные контакторы.


реверсивный контактор нереверсивный контактор

Контакторы КТ-6000
Применяются для включения и отключения приемников электрической энергии с номинальным напряжением до 660В переменного тока частотой 50Гц. Сфера применения – включение мощных электрических машин в аппаратуре автоматического включения резерва (АВР). Изготавливаются только в открытом исполнении с естественным воздушным охлаждением. Выпускаются в трехполюсном исполнении на номинальные токи от 100 до 630А, категория применения АС3.
НАЗНАЧЕНИЕ контактора
Контакторы бывают трех видов: постоянного тока, контакторы переменного тока и контакторы постоянно-переменного тока.
Контакторы постоянного тока предназначены для коммутации цепей постоянного тока и, как правило, приводятся в действие электромагнитом постоянного тока.
Контакторы постоянного тока применяются для включения и отключения приемников электрической энергии в цепях постоянного тока; в электромагнитных приводах высоковольтных выключателей; в устройствах автоматического повторного включения.
Контакторы постоянного тока выпускаются в основном на напряжение 22 и 440 В., токи до 630 А., однополюсные и двухполюсные.
Контакторы переменного тока применяются для управления асинхронными трехфазными двигателями с короткозамкнутым ротором, для выведения пусковых резисторов, включения трехфазных трансформаторов, нагревательных устройств, тормозных электромагнитов и других электротехнических устройств.
Контакторы переменного тока предназначены для коммутации цепей переменного тока. Электромагниты этих цепей могут быть как переменного, так и постоянного тока.
КОНСТРУКЦИЯ контактора
Схема контактора постоянного тока представлена на рис. 330.

Контактор состоит из следующих основных узлов: главных контактов, дугогасительной системы, электромагнитной системы, вспомогательных контактов.
Конструктивно контакторы состоят из электромагнитной системы, состоящей из сердечника? (электромагнита, магнитопровода) (7), якоря (8), катушки (3) и крепежных деталей (1,2); системы главных контактов (4,5); дугогасительной системы (токоведущая связь (6).
Дугогасительная система обеспечивает гашение электрической дуги, возникающей при размыкании главных контактов.
Главные контакты осуществляют замыкание и размыкание силовой цепи. Они должны быть рассчитаны на длительное проведение номинального тока и на производство большого числа включений и отключений при большой их частоте. Нормальным считают положение контактов, когда втягивающая катушка контактора не обтекается током и освобождены все имеющиеся механические защелки. Главные контакты могут выполняться рычажного и мостикового типа. Рычажные контакты предполагают поворотную подвижную систему, мостиковые – прямоходовую.
Дугогасительные камеры контакторов постоянного тока построены на принципе гашения электрической дуги поперечным магнитным полем в камерах с продольными щелями. Магнитное поле в подавляющем большинстве конструкций возбуждается последовательно включенной с контактами дугогасительной катушкой.
Дугогасительная система обеспечивает гашение электрической дуги, которая возникает при размыкании главных контактов. Способы гашения дуги и конструкции дугогасительных систем определяются родом тока главной цепи и режимом работы контактора.
Электромагнитная система контактора обеспечивает дистанционное управление контактором, т. е. включение и отключение. Конструкция системы определяется родом тока и цепи управления контактора и его кинематической схемой.
Электромагнитная система контактора может рассчитываться на включение якоря и удержание его в замкнутом положении или только на включение якоря. Удержание же его в замкнутом положении в этом случае осуществляется защелкой.
Отключение контактора происходит после обесточивания катушки под действием отключающей пружины, или собственного веса подвижной системы, но чаще пружины.
Вспомогательные контакты. Производят переключения в цепях управления контактора, а также в цепях блокировки и сигнализации. Они рассчитаны на длительное проведение тока не более 20 А, и отключение тока не более 5 А. Контакты выполняются как замыкающие, так и размыкающие, в подавляющем большинстве случаев мостикового типа.
Контакторы переменного тока выполняются с дугогасительными камерами с деионной решеткой. При возникновении дуга движется на решетку, разбивается на ряд мелких дуг и в момент перехода тока через ноль гаснет.

Электрические схемы контакторов, состоящие из функциональных токопроводящих элементов (катушки управления, главных и вспомогательных контактов), в большинстве случаев имеют стандартный вид и отличаются лишь количеством и видом контактов и катушек.
Важными параметрами контактора являются номинальные рабочие ток и напряжения.
Номинальный ток контактора - это ток, который определяется условиями нагрева главной цепи при отсутствии включения или отключения контактора. Причем, контактор способен выдержать этот ток три замкнутых главных контактах в течение 8 часов, а превышение температуры различных его частей не должно быть больше допустимой величины.
При повторно-кратковременном режиме работы аппарата часто пользуются понятием допустимого эквивалентного тока длительного режима.
ПРИНЦИП ДЕЙСТВИЯ контактора
Принцип работы контактора: на катушку управления подается напряжение, якорь притягивается к сердечнику и контактная группа замыкается или размыкается в зависимости от исходного состояния каждого из контактов. При отключении происходят обратные действия.
Магнитный пускатель - это модифицированный контактор. В отличие от контактора, магнитный пускатель комплектуется дополнительным оборудованием: тепловым реле, дополнительной контактной группой или автоматом для пуска электродвигателя.
Пускатель электромагнитный (магнитный пускатель) — это низковольтное электромагнитное (электромеханическое) комбинированное устройство распределения и управления для пуска и разгона электродвигателя до номинальной скорости, обеспечения его непрерывной работы, отключения питания и защиты электродвигателя и подключенных цепей от рабочих перегрузок.
КОНСТРУКЦИЯ МП
Пускатель представляет собой контактор, комплектованный дополнительным оборудованием: тепловым реле, дополнительной контактной группой или автоматом для пуска электродвигателя, плавкими предохранителями.

Помимо простого включения, в случае управления электродвигателем пускатель может выполнять функцию переключения направления вращения его ротора (т. н. реверсивная схема), путем изменения порядка следования фаз для чего в пускатель встраивается второй контактор.переключения обмоток трехфазного двигателя со «звезды» на «треугольник» производится для уменьшения пускового тока двигателя.
Исполнение магнитных пускателей может быть открытым и защищенным (в корпусе); реверсивным и нереверсивным; с встроенной тепловой защитой электродвигателя от перегрузки и без нее.
Реверсивный магнитный пускатель представляет собой два трёхполюсных контактора, укреплённых на общем основании и сблокированных механической или электрической блокировкой, исключающей возможность одновременного включения контакторов.
НАЗНАЧЕНИЕ МП
Магнитные пускатели предназначены для применения в стационарных установках для дистанционного пуска непосредственным подключением к сети, остановки и реверсирования трехфазных асинхронных электродвигателей с короткозамкнутым ротором при напряжении до 660В и номинальном токе частотой 50 и 60 Гц. При наличии тепловых реле пускатели осуществляют защиту управляемых электродвигателей от перегрузки недопустимой продолжительности и от токов, возникающих при обрыве одной из фаз. Пускатели, комплектуемые ограничителями перенапряжений, пригодны для работы в системах управления с применением микропроцессорной техники.
Наиболее распространенные серии пускателей с контактной системой и электромагнитным приводом: ПМЕ, ПМА, ПА, ПВН, ПМЛ, ПВ, ПАЕ, ПМ12.
ПРИНЦИП РАБОТЫ МП
Принцип действия нереверсивного магнитного пускателя (рис. 1) заключается в следующем: при включении пускателя по катушке проходит электрический ток, сердечник намагничивается и притягивает якорь, при этом главные контакты замыкаются, по главной цепи протекает ток. При отключении пускателя катушка обесточивается, под действием возвратной пружины якорь возвращается в исходное положение, главные контакты размыкаются.
При отключении магнитного пускателя вследствие перебоев в электроснабжении размыкаются все его контакты, в том числе и вспомогательные.

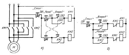
Рис. 1. Схема включения нереверсивного магнитного пускателя: а - монтажная схема включения пускателя, электрическая принципиальная схема включения пускателя
Принцип действия схем включения реверсивного магнитного пускателя: (рис. 2)
Для изменения направления вращения асинхронного электродвигателя необходимо изменить порядок чередования фаз статорной обмотки.
В реверсивном магнитном пускателе используют два контактора: КМ1 и КМ2. Из схемы видно, что при случайном одновременном включении обоих контакторов в цепи главного тока произойдет короткое замыкание. Для исключения этого схема снабжена блокировкой.

Рис. 2. Схемы включения реверсивного магнитного пускателя
Если после нажатия кнопки SB3 «Вперед» к включения контактора КМ1 нажать кнопку SB2 «Назад», то размыкающий контакт этой кнопки отключит катушку контактора КМ1, а замыкающий контакт подаст питание в катушку контактора КМ2. Произойдет реверсирование электродвигателя.
Электрическая схема цепи управления реверсивного пускателя с блокировкой на вспомогательных размыкающих контактах изображена на рис. 2, б.
В этой схеме включение одного из контакторов, например КМ1, приводит к размыканию цепи питания катушки другого контактора КМ2. Для реверса необходимо предварительно нажать кнопку SB1 «Стоп» и отключить контактор КМ1. Для надежной работы схемы необходимо, чтобы главные контакты контактора КМ1 разомкнулись раньше, чем произойдет замыкание размыкающих вспомогательных контактов в цепи контактора КМ2.
Это достигается соответствующей регулировкой положения вспомогательных контактов по ходу якоря.
Возможные неисправности и способы их устранения

Разновременность замыкания и состояние главных контактов
Разновременность замыкания главных контактов можно устранить затяжкой хомутика, держащего главные контакты на валу. При наличии на контактах следов окисления, наплывов или застывших капель металла, контакты надо зачистить.
Сильное гудение магнитной системы электромагнитного пускателя
Сильное гудение магнитной системы может привести к выходу из строя катушек пускателя. При нормальной работе пускатель издает лишь слабый шум. Сильное гудение пускателя свидетельствует о его неисправности.
Для устранения гудения пускатель надо отключить и проверить:
а) затяжку винтов, крепящих якорь и сердечник,
б) не поврежден ли короткозамкнутый виток, уложенный в прорезы сердечника. Так как через катушку протекает переменный ток, то и магнитный поток изменяет свое направление и в какие то моменты времени становится равным нулю. В этом случае противодействующая пружина будет отрывать якорь от сердечника и возникнет дребезг якоря. Короткозамкнутый виток устраняет это явление.
в) гладкость поверхности соприкосновения обеих половин электромагнитной системы пускателя и точность пригонки их, так как в электромагнитных пускателях ток в обмотке сильно зависит от положения якоря. При наличии зазора между якорем и сердечником ток, проходящий через катушку больше номинального.
Для проверки точности соприкосновения между якорем и сердечником электромагнитного пускателя между ними можно подложить листок копировальной бумаги и листок тонкой белой бумаги и замкнуть пускатель от руки. Поверхность соприкосновения должна быть не менее 70% сечения магнитопровода. При меньшей поверхности соприкосновения этот дефект можно устранить правильной установкой сердечника электромагнитной системы пускателя. Если же образовался общий зазор, то необходимо шабровать поверхность вдоль слоев листовой стали магнитной системы.
Отсутствие реверса в реверсивных магнитных пускателях
Отсутствие реверса в реверсивных пускателях можно устранить подгонкой тяг механической блокировки
Прилипание якоря к сердечнику происходит в результате отсутствия немагнитной прокладки или недостаточной ее толщины. Пускатель может не отключиться даже при полном снятии напряжения с катушки. Необходимо проверить наличие и толщину немагнитной прокладки или воздушный зазор.
Необходимо проверить состояние блокировочных контактов пускателя. Контакты во включенном положении должны плотно прилегать друг к другу и включаться одновременно с главными контактами пускателя. Зазоры блок-контактов (кратчайшее расстояние между разомкнутым подвижным и неподвижным контактом) не должны превышать допустимых значений. Необходимо произвести регулировку блок-контактов пускателя. Если провал блок-контакта становится меньше 2 мм, то блок-контакты надо заменить.
Своевременные испытания и регулировка электромагнитных пускателей позволяют заблаговременно избежать неполадок и повреждений.
Характерные неисправности магнитных пускателей, вероятные причины, вызывающие эти неисправности, и методы их устранения приведены в таблице:
|
Признаки неисправности |
Вероятная причина |
Метод управления |
|
I. Пускатель не включается |
Повреждена катушка контактора (коммутирующего пускателя у ПВИ-32) Сгорела плавкая вставка предохранителя в цепи управления Сработала максимальная токовая защита. Горит сигнальная лампа с красным светофильтром Силовые контакты контактора касаются стенок дугогасительных камер (кроме ПВВ-320) Неисправна кнопка «Пуск» поста управления Пробит диод в кнопочном посту управления Повреждены провода уп- равления (обрыв, корот- кое замыкание), увеличе- ние сопротивления цепи управления свыше 20 Ом Снижение сопротивления изоляции между жилами дистанционного управления ниже 300 Ом (кабель пережат) Неисправность в блоке управления |
Заменить катушку Заменить предохранитель Определить и устранить причину срабатывания защиты Отрегулировать положение подвижных контактов Проверить кнопку и устранить неисправность Заменить диод Перейти на исправные жилы кабеля или заменить кабель Измерить сопротивление цепи управления, зачистить контакты и подтянуть крепежные элементы в местах электрических соединений, в случае необходимости заменить кабель Измерить сопротивление изоляции между жилами и в случае необходимости заменить кабель Неисправный блок заменить на резервный |
|
2. Пускатель включается, но не остается включенным при отпускании кнопки «Пуск» |
Нет цепи, шунтирующей зажимы кнопки «Пуск» Неисправность блока БДУ |
Проверить наличие цепи и устранить неисправность. Заменить блок |
|
3. При нажатии кнопки БРУ или БКИ не горит сигнальная лампа |
Нарушение цепи в кнопке «Проверка БРУ» или «Проверка БКИ». Сгорела сигнальная лампа. Неисправность внутри блока |
Проверить цепь кнопки и устранить неисправность. Заменить лампу. Заменить блок управления |
|
4. Не включается автоматический выключатель (только для ПВИ-32) |
Неисправен автоматический выключатель |
Заменить автоматический выключатель |
|
5. Пускатель включается и сразу же отключается под действием максимальной токовой защиты, загорается сигнальная лампа с красным светофильтром |
Короткое замыкание в защищаемой силовой цепи Несоответствие установки максимальной токовой защиты пусковому току. Неисправность блока защиты УМЗ или ПМЗ |
Определить место короткого замыкания и устранить повреждение. Проверить установку защиты и привести ее в соответствие с пусковым током. Заменить блок. |
|
6. При срабатывании максимальной токовой защиты или защиты от перегрузки не загорается сигнальная лампа |
Сгорела сигнальная лампа |
Заменить лампу |
|
7. Пускатель самопроизвольно отключается, повторное включение невозможно |
Обрыв или увеличение сопротивления цепи дистанционного отключения свыше 100 Ом или снижение сопротивления изоляции между жилами управления (кабель пережат) Увеличение сопротивления цепи заземления свыше 50 Ом (для пускателей ПВ-1140-250) |
Измерить сопротивление цепи управления, зачистить контакты и подтянуть крепления в местах электрических соединений. В случае необходимости перейти на ре- зервные жилы или заменить кабель |
|
8. Пускатель сильно гудит |
Якорь контактора неплотно прилегает к сердечнику вследствие: загрязнения повреждения перекоса плохого закрепления якоря и сердечника большого нажатия контактов повреждения на короткозамкнутом витке низкого напряжения сети |
Удалить смазку и пыль. Устранить повреждения. Устранить перекос. Закрепить якорь и сердечник. Отрегулировать нажатие силовых контактов.Заменить виток. Проверить напряжение сети и привести в соответствие с нормами |
|
9. Чрезмерный нагрев контактов силовой цепи |
Недостаточное усилие нажатия контактов Чрезмерный износ контактов |
Отрегулировать нажатие контактов Проверить износ контактов и при необходимости заменить новыми |
|
10. Чрезмерный нагрев всего пускателя |
Токоприемник не соответствует пускателю Плохо затянуты винты, гайки, крепящие токоведущие части |
Заменить пускатель в соответствии с нагрузкой токоприемника Подтянуть крепежные элементы |
|
11. Нет напряжения 36 В в цепи питания светильника местного освещения (системы автоматики) |
Сгорел предохранитель в цепи освещения (автоматики) вторичной обмотки понижающего трансформатора пускателя |
Заменить предохранитель |
|
12. При включении пускателя привариваются силовые контакты контактора |
Неисправность в системе форсировки включения контактора Чрезмерное или ослабленное нажатие силовых контактов Низкое напряжение в сети в момент замыкания силовых контактов контактора (для пускателей ПВИ-1140) |
Отрегулировать нажатие контактов. Замерить напряжение и принять меры к обеспечению нормируемой величины напряжения на за жимах пускателя Проверить работу системы форсировки включе ния контактора |
Техническое обслуживание и ремонт электромагнитных пускателей
Для предотвращения быстрого износа и отказов, поддержания в постоянной готовности к использованию по назначению, обеспечения безопасной работы проводится техническое обслуживание (ТО) пускателей. Виды и регламенты технического обслуживания и испытаний определены Правилами безопасности (ПБ) и Положением о планово-предупредительной системе технического обслуживания и ремонта оборудования промышленных предприятий (Положение о ППР). Пуска в процессе эксплуатации должны периодически осматриваться:
а) лицами, работающими на технологических машинах, а также
дежурными электрослесарями, электромонтерами участка — ежесменно;
б) механиками участков или лицами, их замещающими — еженедельно;
в) главным энергетиком (главным механиком) или назначенными им лицами
— не реже 1 раза в 3 мес.
Ежесменный осмотр производят в начале каждой смены без вскрытия оболочки пускателя. При этом проверяют следующее:
1. Место установки пускателя, где должно быть исключено возможное
обрушение кровли, повреждение транспортными средствами, попадание воды. Пускатель должен быть собран и укомплектован в соответствии с инструкцией завода-изготовителя.
2. Чистоту наружных поверхностей пускателя, т. е. отсутствие на них
угольной пыли и другого горючего материала.
3. Целость оболочки. Взрывобезопасная оболочка не должна иметь трещин,
прожогов, отверстий, неисправных защитных стекол и других повреждений.
4. Наличие крепежных гаек и болтов, их затяжку. Гайки и болты должны быть полностью затянуты так, чтобы фланцы крыш и корпуса взрывобезопасной оболочки плотно прилегали по всему периметру. Запрещается эксплуатация пускателя при отсутствии или недостаточной затяжке хотя бы одного болта или гайки.
5. Исправность вводных устройств, наличие элементов уплотнения и крепления кабеля. Кабель не должен проворачиваться или перемещаться в осевом направлении. Ослабленные болты или гайки, предназначенные для уплотнения резинового кольца и закрепления кабеля от выдергивания, необходимо подтянуть.
6. Отсутствие не закрытых взрывонепроницаемой заглушкой кабельных вводов пускателя, которые не используются в работе.
7. Исправность устройств для облегчения открывания крышки и наличие специальных ключей к ним.
8. Наличие пломб на пускателях и надписей, указывающих включаемую технологическую машину, величину установки тока максимальной токовой защиты и максимальной токовой защиты от перегрузки.
9.Ширину щели (зазора) в плоских соединениях между наружными частями оболочки, подвергавшейся вскрытию, при нормальной затяжке крепежных болтов.
Ежеквартальную ревизию проводят с открыванием крышек взрывобезопасной оболочки, разборкой вводов (в случае необходимости), осмотром всех электрических элементов пускателя и выполнением необходимого технического ремонта. Перед ревизией следует: посредством ближайшего выключателя снять напряжение с подвергающегося ревизии пускателя и на его рукоятке повесить плакат «Не включать, работают люди»; открыть крышку вводного отделения пускателя и убедиться в отсутствии напряжения.
10. Чистоту внутренних поверхностей оболочки. Для этого открывают все крышки оболочки и, если надо, очищают поверхность и установленные элементы пускателя от влаги и пыли. Ввод коробки снимают в случае необходимости.
11. Состояние взрывозащитных поверхностей. При наличии загрязнений очищают поверхность ветошью от смазки и пыли, шлифовальной шкуркой — от ржавчины.
12. Наличие и состояние эластичных уплотняющих прокладок (если предусмотрено конструкцией пускателя). Смятые или разорванные прокладки должны быть заменены.
13. Качество уплотнений гибких и бронированных кабелей при сухой заделке последних.
14. Исправность охранных колец для головок крепежных болтов и гаек.
15. Качество затяжки присоединенных кабельных жил к зажимам и состояние этих зажимов. Ослабленные гайки или болты подтягивают, изоляционные втулки, имеющие сколы или трещины, заменяют.
16. Состояние монтажа внутренней проводки и элементов пускателя: гайки и болты на зажимах подтягивают, поврежденные места изоляции проводников изолируют, а в случае необходимости проводник заменяют.
17. Исправность механической блокировки крышки, которая должна работать четко и надежно.
18. Состояние смотровых окон. Окна проверяют без разборки, обращая внимание на целость стекол и отметку «В», наличие на них крепежных элементов и их затяжку.
В условиях напряженной работы предприятий ремонт электрооборудования должен выполняться в предельно сжатые сроки, что возможно при высоком уровне организации ремонтных работ. Поскольку пока не полностью удовлетворяются потребности предприятий в трансформаторах, электрических машинах и аппаратах, своевременный и качественный ремонт этого электрооборудования стал одним из основных факторов, обеспечивающих нормальную работу предприятий.
В процессе ремонта возможны модернизация электрооборудования, изменение в нужном направлении его технических характеристик, повышение экономичности работы. Многолетняя практика работы электроремонтных цехов предприятий и электроремонтных заводов показала, что свыше 70% поступающего в ремонт поврежденного электрооборудования составляют трансформаторы, электрические машины и коммутационные аппараты, в ремонте которых значительное место занимают электрослесарные работы.
В своей работе я рассмотрел вопросы технического обслуживания и ремонта магнитных пускателей
Техническое обслуживание
В период между ремонтами проводится техническое обслуживание электроустройств, которое представляет собой комплекс операций или операцию по поддержанию работоспособности или исправности устройства при пользовании по назначению, ожидании, хранении и транспортировании. Устройство при этом не разбирается.
В типовой объем работ по техническому обслуживанию магнитных пускателей входят: очистка от пыли и грязи, смазка трущихся частей, ликвидация видимых повреждений, затяжка крепежных деталей, очистка контактов от грязи и наплывов, проверка исправности кожухов, оболочек, корпусов, проверка работы сигнальных и заземляющих устройств.
Ремонтные работы
В результате эксплуатации, аварий, перегрузок и естественного износа часть электрооборудования и сетей выходит из строя и подлежит ремонту.
Ремонт - это комплекс операций по восстановлению исправности или работоспособности электротехнических устройств, восстановлению их ресурсов или их составных частей. Под операцией ремонта понимают законченную часть ремонта, выполняемую на одном рабочем месте исполнителями определенной специальности, например: очистка, разборка, сварка, изготовление обмоток и т.д.
В электрических аппаратах чаще всего повреждаются подвижные, неподвижные и дугогасительные контакты. Ремонт в основном заключается в определении неисправности, устранении ее, замене поврежденных и изношенных деталей с последующей регулировкой и испытанием. При эксплуатации контакты очищают от нагара металла, копоти, окислов. Очищают напильником с тонкой (мелкой) насечкой. Устраняют сильный и слабый нажим контактов. Для этого между контактами помещают бумагу (фольгу), оттягивая подвижные контакты через динамометр, вытягивают фольгу. Нормальное усилие 0,5-0,7кГ. Магнитная система контактов может создавать шум, гудение, причины этого: неплотно прилегает якорь к сердечнику, повреждение короткозамкнутого витка, очень большое натяжение контактов, якорь перекошен по отношению к сердечнику, в местах прикосновения якоря и сердечника имеется ржавчина, у магнитных пускателей и контакторов нельзя допускать разновременности замыкания силовых контактов.
Короткозамкнутые витки у контакторов и магнитных пускателей выполняются из меди, латуни и алюминия. Они укладываются в штампованные пазы на концах сердечника. Обращается внимание на дугогасительные камеры. Отсутствие их может вызвать перекрытие дугой отдельных фаз. Катушки ремонтируют при повреждении каркаса, обрывах, витковых замыканиях и полном сгорании. Обрыв в катушке определяется, если не развивается тяговое усилие и не потребляется ток. Витковое замыкание обнаруживается по ненормальному нагреву и уменьшению тяги.
У контакторов чаще меняют главные контакты, гибкие соединения, дугогасительные камеры, катушки, пружины, короткозамкнутые витки. Сопротивление изоляции обмоток не должно превышать 0,5 МОм. У реле чаще перегорают нагревательные элементы. Для нагревательных элементов применяют нихром, фехраль. Отдельные нагревательные элементы изготавливают методом штамповки. Спиральные нагревательные элементы кадмируют для предохранения от окисления. На рисунке 6 показан контактор магнитного пускателя.
Ремонт контактов. Загрязнения, износ, обгорание, копоть или окисления, наплывы и брызги металла на поверхности подвижных (включая и ножи рубильников) или неподвижных (губки ножей) контактов, а также на пластинах и контактных мостиках устраняются хлопчатобумажной салфеткой, смоченной в бензине, или надфилем.
При изломе или ослаблении контактных пружин, повреждениях антикоррозийного покрытия, пружины заменяют.
Ремонт катушек электромагнитов. Катушки бывают каркасными и бескаркасными. Наиболее часто встречающееся повреждение - трещины длиной до 15мм в каркасе. Их устраняют следующим образом. Поверхность каркаса вокруг трещины очищают от пыли и масла хлопчатобумажной салфеткой, смоченной в бензине.
При повреждении наружного слоя изоляции катушки или обрыве обмоточного провода в верхних слоях обмотки снимают наружную изоляцию обмотки и поврежденные витки до места повреждения или обрыва, припаивают, изолируют место пайки нового обмоточного провода и доматывают требуемое количество витков, повторив операции, которые выполняются при намотке новых катушек.
При значительных повреждениях каркаса, междувитковых замыканиях, обгорании изоляции обмотки на большую глубину катушка должна быть заменена новой.
Ремонт каркасных катушек. Подбирают необходимый для катушки каркас и провод, параметры которого должны соответствовать паспортным данным. Перед установкой на намоточный станок каркас следует обернуть двойным слоем электроизоляционной бумаги толщиной 0,02-0,03мм и конец ее приклеить к каркасу. При намотке необходимо следить за тем, чтобы натяжение провода не было чрезмерным, это может вызвать обрыв провода. Провод при намотке должен ложиться ровным плотным слоем. Между 1-м и 2-м слоями обмотки укладывают межслоевую изоляцию из изоляционной бумаги. Если катушка нагревостойкая, то для межслоевой изоляции используют тонкую стеклоткань.
Ремонт магнитопровода. Загрязнения удаляют хлопчатобумажной салфеткой, смоченной в бензине; следы коррозии тщательно зачищают стальной щеткой и шлифовальной шкуркой; наклеп на поверхностях соприкосновения сердечника и ярма удаляют шлифовкой поверхности напильником на шлифовальном станке.
Техника безопасности при эксплуатации
Электрические установки и устройства должны быть в полной исправности, для чего в соответствии с правилами эксплуатации их нужно периодически проверять. Нетокопроводящие части, которые могут оказаться под напряжением в результате пробоя изоляции, должны быть надежно заземлены.
Запрещается проводить работы или испытания электрического оборудования и аппаратуры, находящихся под напряжением, при отсутствии или неисправности защитных средств, блокировки ограждений или заземляющих цепей. Для местного переносного освещения должны применяться специальные светильники с лампами на напряжение 12 В.
Пользоваться неисправным или непроверенным электроинструментом (электродрелями, паяльниками, сварочным и другими трансформаторами) запрещается. В помещениях с повышенной опасностью поражения электрическим током (сырые, с токопроводящими полами, пыльные) работы должны выполняться с особыми предосторожностями. Большое значение уделяется защитным средствам.
Отключение токоведущих частей. Отключают оборудование, которое требует ремонта, и те токоведущие части, к которым можно случайно прикоснуться или приблизиться на опасное расстояние. Отключенный участок должен иметь видимые разрывы с каждой стороны токоведущих частей, на которые может быть подано напряжение.
Видимые разрывы обеспечивают отключенными разъединителями, выключателями нагрузки, рубильниками, снятыми предохранителями, отсоединенными перемычками или частями ошиновки.
При отключении напряжения необходимо выполнять меры безопасности (например, плавкие предохранители снимают с помощью изолированных клещей в диэлектрических перчатках и защитных очках).
Вывешивание запрещающих плакатов и ограждение не отключенных токоведущих частей. На отключенных коммутационных аппаратах вывешивают плакаты: «Не включать - работают люди!», «Не включать - работа на линии!», «Не открывать - работают люди!» (на приводах вентилей подачи воздуха); при необходимости на не отключенных токоведущих частях устанавливают ограждения.
Проверка отсутствия напряжения. Сначала снимают постоянные ограждения. Подключают переносное заземление к металлической шине, соединенной с заземляющим устройством. Указателем напряжения проверяют отсутствие напряжения, но перед этим необходимо обязательно проконтролировать его исправность, приблизив щуп (контакт-электрод) к находящейся под напряжением токоведущей части на расстояние, достаточное для появления свечения лампы (светодиода). Если она начинает светиться, значит, указатель исправен.
Исправным указателем проверяют отсутствие напряжения между фазами, между каждой фазой и землей, между фазами и нулевым проводом. Если указатель покажет напряжение на токоведущей части, необходимо установить на место снятые ограждения и найти причину появления напряжения. Делать заключение об отсутствии на установке напряжения по показаниям сигнальных ламп, вольтметра нельзя, так как они являются только дополнительными средствами контроля.
Наложение и снятие заземления. После проверки отсутствия напряжения, отключенные части немедленно заземляют с помощью переносного заземления, один конец которого уже был соединен с заземляющим устройством. При этом зажимы переносного заземления накладывают на отключенные токоведущие части сначала с помощью изолирующей штанги, а затем уже закрепляют эти зажимы штангой или вручную. Снимают заземление (после окончания работ) в обратном порядке: сначала с токоведущих частей, а затем с заземляющей шины с помощью изолирующей штанги. Все работы выполняют в диэлектрических перчатках.
Ограждение рабочего места и вывешивание плакатов безопасности. Вдоль пути от входа в электроустановку до места ремонтных работ устанавливают временные ограждения или переносные щиты, на которых (а также на постоянных ограждениях соседних ячеек) вывешивают предупреждающие плакаты («Стой - напряжение»), на месте работ - предписывающие плакаты («Работать здесь», «Влезать здесь»).
Работы в электроустановках должен выполнять обученный персонал, имеющий квалификационные группы электробезопасности (I-V), а технические мероприятия - оперативный персонал (один из них должен иметь квалификационную группу не ниже IV).
Организационные мероприятия при подготовке рабочего места и в период выполнения ремонтных работ включают: оформление наряда-допуска (наряда) или распоряжения; допуск к работе; надзор во время работы; занесение в журнал записей о перерывах в работе, переходов на другое рабочее место, об окончании работы.
Наряд-допуск (наряд) - составленное на специальном бланке распоряжение на безопасное проведение работы, определяющее ее содержание, место, время начала и окончания, необходимые меры безопасности, состав бригады и лиц, ответственных за безопасное выполнение работы.
Работающие отвечают за выполнение ими правил безопасности и указаний, полученных при допуске к работе и во время работы.
Список используемой литературы
ГОСТ Р 50030.4.1-2002 (МЭК 60947-4-1-2000) Аппаратура распределения и управления низковольтная. Часть 4-1. Контакторы и пускатели.
ГОСТ 2491-82 «Пускатели электромагнитные низковольтные. Общие технические условия».
Рожкова Л.Д., Козулин В.С. Электрооборудование станций и подстанций: учебник для техникумов.-М.:Энергоатомиздат, 1987.
Сибикин М.Ю. Техническое обслуживание, ремонт электрооборудования и сетей промышленных предприятий. – ПрофОбрИздат, 2001.