Кожухотрубный одноходовой теплообменный аппарат с линзовым компенсатором на корпусе
Курсовая работа
на тему: «Кожухотрубный одноходовой теплообменный аппарат с линзовым компенсатором на корпусе»
Содержание
Вступ
1. Назначение аппарата
2. Область применения
3. Материал, технология изготовления
4. Эскиз
Вывод
Список литературы (информационных источников)
Вступ
Теплообменный аппарат (ТО) - устройство, в котором осуществляется процесс передачи тепла от одного теплоносителя (рабочей среды) к другому. В качестве теплоносителя может применяться жидкость, пар или газ. В теплообменных аппаратах передача тепла от одной среды к другой обусловлена тремя составляющими теплообменного процесса: теплопроводностью, конвекцией и тепловым излучением. Наибольшее значение для эффективной работы теплообменного аппарата имеет конвективный теплообмен, или теплоотдача, которая осуществляется при совокупном и одновременном действии теплопроводности и конвекции. Процессы теплообмена осуществляются в теплообменных аппаратах различных типов и конструкций.
В настоящее время все теплообменные аппараты, используемые в химической промышленности, подразделяются на определённые группы по следующим признакам: по назначению (нагреватели, испарители и кипятильники; холодильники, конденсаторы и т. д.),по режиму работы, по особенностям конструкции и т. д. Холодильники и конденсаторы служат для охлаждения потока или конденсации паров с применением специальных хладоагентов (вода, воздух, пропан, хлористый метил, фреоны и т. д.).
Поверхностные теплообменные аппараты можно разделить на следующие типы по конструктивным признакам:
а) кожухотрубчатые теплообменники (жёсткого типа; с линзовым компенсатором на корпусе; с плавающей головкой; с U-образными трубками);
б) теплообменники типа “труба в трубе”;
в) подогреватели с паровым пространством (рибойлеры);
г)конденсаторы воздушного охлаждения.
Теплообменные аппараты составляют исключительно многочисленную группу теплосилового оборудования, занимая значительные производственные площади и превышая зачастую 50% стоимости общей комплектации в теплоэнергетике, химической и нефтеперерабатывающей промышленности и ряде других отраслей. Поэтому правильный выбор теплообменников представляется исключительно важной задачей.
К настоящему времени среди используемого теплообменного оборудования можно выделить два наиболее распространенных типа аппаратов - кожухотрубные и пластинчатые.
Кожухотрубчатые теплообменники в настоящее время наиболее широко распространены, по некоторым данным они составляют до 80% от всей теплообменной аппаратуры.
Трубчатые теплообменники водят таким образом, чтобы во всех секциях находилось примерно одинаковое число труб.
Вследствие меньшей площади суммарного поперечного сечения труб, размещенных в одной секции, по сравнению с поперечным сечением всего пучка труб скорость жидкости в трубном пространстве многоходового теплообменника возрастает (по отношению к скорости в одноходовом теплообменнике) в число раз, равное числу ходов. Так, в четырехходовом теплообменнике скорость в трубах при прочих равных условиях в четыре раза больше, чем в одноходовом. Для увеличения скорости и удлинения пути движения среды в межтрубном пространстве служат сегментные перегородки.
Повышение интенсивности теплообмена в многоходовых теплообменниках сопровождается возрастанием гидравлического сопротивления и усложнением конструкции теплообменника. Это диктует выбор экономически целесообразной скорости, определяемой числом ходов теплообменника, которое обычно не превышает 5—6. Многоходовые теплообменники работают по принципу смешанного тока, что, как известно, приводит к некоторому снижению движущей силы теплопередачи по сравнению с чисто противоточным движением участвующих в теплообмене сред.
Одноходовые и многоходовые теплообменники могут быть вертикальными или горизонтальными. Вертикальные теплообменники более просты в эксплуатации и занимают меньшую производственную площадь. Горизонтальные теплообменники изготавливаются обычно многоходовыми и работают при больших скоростях участвующих в теплообмене сред для того, чтобы свести к минимуму расслоение жидкостей вследствие разности их температур и плотностей, а также устранить образование застойных зон.
Если средняя разность температур труб и кожуха в теплообменниках жесткой конструкции, т. е. с неподвижными, приваренными к корпусу трубными решетками, становится значительной (приблизительно равной или большей 50° С), то трубы и кожух удлиняются неодинаково. Это вызывает значительные напряжения в трубных решетках, может нарушить плотность соединения труб с решетками, привести к разрушению сварных шпов, недопустимому смешению обменивающихся теплом сред. Поэтому при разностях температур труб и кожуха, больших 50° С, или при значительной длине труб применяют кожухотрубчатые теплообменники нежесткой конструкции, допускающей некоторое перемещение труб относительно кожуха аппарата.
Для уменьшения температурных деформаций, обусловленных большой разностью температур труб и кожуха, значительной длиной труб, а также различием материала труб и кожуха, используют кожухотрубчатые теплообменники с линзовым компенсатором, у которых на корпусе имеется линзовый компенсатор , подвергающийся упругой деформации. Такая конструкция отличается простотой, но применима при небольших избыточных давлениях в межтрубном пространстве, обычно не превышающих 6-105 н/м* (6 am).
1. Назначение аппарата
Используют кожухотрубчатые теплообменники с линзовым компенсатором для уменьшения температурных деформаций, обусловленных большой разностью температур труб и кожуха, значительной длиной труб, а также различием материала труб и кожуха, , у которых на корпусе имеется линзовый компенсатор , подвергающийся упругой деформации.
В химической промышленности широко распространены тепловые процессы - нагревание и охлаждение жидкостей и газов и конденсация паров, которые проводятся в теплообменных аппаратах. Теплообменные аппараты или просто теплообменники используются практически во всех отраслях промышленности. Их основная задача обеспечить температурный режим технологических процессов.
Кожухотрубные теплообменники предназначены для нагрева или охлаждения, испарения или конденсации различных жидких и парообразных сред в различных технологических процессах.
Компенсаторы линзовые круглые и прямоугольные предназначены для компенсации температурных удлинений круглых и прямоугольных газовоздуховодов (ПГВУ) и круглых трубопроводов вода-пар (ОСТ) тепловых электростанций и других предприятий потребителей. Работают в условиях неагрессивных и малоагрессивных средах, включая трубопроводы, на которые распространяются "Правила пара и горячей воды".
2. Область применения
Кожухотрубные теплообменники применяются в случаях, когда требуется большая поверхность теплообмена - теплопередающая поверхность аппаратов может составлять от нескольких сотен квадратных сантиметров до нескольких тысяч квадратных метров.
Также теплообменники используются на современных электростанциях. Назначение теплообменников – повысить тепловой КПД электростанции. Теплообменники значительно улучшают экономические и эксплуатационные характеристики электростанций. Применяя теплообменники с электростанциями можно подготавливать воду для обеспечения систем отопления и горячего водоснабжения (ГВС). Эффективны теплообменники для нагрева воздуха в помещениях и на различных производственных линиях.
Теплообменники несут важную функцию на атомных электростанциях (АЭС). Теплообменники применяют в энергетической, нефтеперерабатывающей, химической, газодобывающей и других отраслях промышленности.
Области применения:
• Химическая промышленность;
• Нефтехимическая промышленность;
• Пищевая промышленность;
• Целлюлозно-бумажная промышленность;
• Холодильная техника;
• Компрессорные станции;
• Энергетика и машиностроение.
Функциональные возможности:
• Водяные охладители газов;
• Водо-водяные охладители;
• Масляно-водяные охладители;
• Подогреватели;
• Конденсаторы и испарители для всех типов химических веществ и химических процессов;
• Охладители машин и механизмов;
• Масляные охладители гидравлических систем;
• Масляные или водяные охладители силовых установок;
• В холодильных установках и системах кондиционирования воздуха.
Компенсаторы применяются в:
• нефтяной и газовой промышленности
• химической, нефтехимической и нефтеперерабатывающей промышленности
• коммунального хозяйства
• энергетического комплекса
• металлургии
• строительства
• судостроения
• военно-промышленного и авиа-космического комплексов
Преимущества:
• Малая стоимость
• Специфичность использования
• Круглые и прямоугольные
• Не требует обслуживания
Характеристики
Диаметр от 100 мм до 6000 мм
Давление от 0 до 1.6. МПа
Проводимая среда ОСТ, ПГВУ
Исполнение фланцевое, под приварку
Компенсирующая способность от 0 до 144 мм
Смещение осевое, угловое
Температура до 425 °С
3. Материал. Технология изготовления
Предусмотрены различные варианты материального исполнения конструктивных элементов теплообменных аппаратов. Корпус аппарата изготовляют из сталей ВСтЗсп, 16ГС или биметаллическим с защитным слоем из сталей 08X13,12Х18Н10Т, 10Х17Н13М2Т. Для трубного пучка применяют трубы из сталей 10, 20 и Х8 с размерами 25x2, > 25x2,5 и 20x2 мм, из высоколегированных сталей 08X13, 08Х22Н6Т, 08Х18Н10Т, 08Х17Н13М2Т с размерами 25x1,8 и 20x1,6 мм, а также трубы из алюминиевых сплавов и латуни. Трубные решетки изготовляют из сталей 16ГС, 15Х5М, 12Х18Н10Т, а также биметаллическими с наплавкой высоколегированного хромоникелевого сплава или слоя латуни толщиной до 10 мм.
Основной частью такого теплообменника является пучок труб, закреплённых в трубных решётках. Трубки располагаются в трубном пучке в шахматном порядке или по вершинам треугольников. Одна из теплообменивающихся сред движется по трубкам, а другая – внутри корпуса между трубками.
Теплообменники могут быть вертикального горизонтального исполнения. Оба варианта установки одинаково широко распространены и выбираются в основном по соображениям монтажа: вертикальные занимают меньшую площадь в цехе, горизонтальные могут быть размещены в сравнительно невысоком помещении. Материал изготовления теплообменников – углеродистая или нержавеющая сталь.
По оценкам экспертов на изготовление трубчатых теплообменников расходуется около трети всего металла, потребляемого машиностроением. Поэтому разработка методов интенсификации теплообмена способствующих снижению массы теплообменников, экономии материалов, является актуальной проблемой, которой занимаются специалисты многих стран. Одним из наиболее простых и эффективных путей интенсификации теплообмена является изменение формы и режима движения теплоносителя.
В кожухотрубчатых теплообменниках для достижения больших коэффициентов теплоотдачи необходимы достаточно высокие скорости теплоносителей: для газов 8...250 м/с, для жидкостей не менее 1,5 м/с. Скорость теплоносителей обеспечивают при проектировании соответствующим подбором площади: сечения трубного и межтрубного пространства.
Если площадь сечения трубного пространства (число и диаметр труб) выбрана, то в результате теплового расчета определяют коэффициент теплопередачи и теплообменную/ю поверхность, по которой рассчитывают длину трубного пучка. Последняя может оказаться больше длины серийно выпускаемых труб. В связи с этим применяют многоходовые (по трубному пространству) аппараты с продольными перегородками в распределительной камере. Промышленностью выпускаются двух-, четырех- и шестиходовые теплообменники жесткой конструкции.
Компенсатор линзовый предназначен для компенсации температурных изменений длины трубопроводов в осевом, П-образном, Г-образном, Z-образном и других шарнирных схемах компенсации, работающих в условиях неагрессивных и малоагрессивных сред, включая трубопроводы. Эксплуатируется компенсатор линзовый при рабочем давлении до 16 кгс/см2 и температуре до +3000С и может применяться в качестве компенсатора теплового на теплотрассах.
Изготовление компенсатора линзового осуществляется методом горячей и холодной штамповки на гидравлических и механических прессах в зависимости от конфигурации, материала и толщины стенки деталей. Для обеспечения качества компенсатора линзового используются неразрушающие методы контроля.
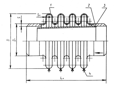
4. Эскиз
Основными элементами кожухотрубных теплообменников являются пучки труб, скрепленных при помощи трубных решеток и ограниченных кожухами и крышками с патрубками. Для крепления концов труб в трубных решетках применяются разные способы: развальцовка, сварка или пайка.
Корпус (кожух) кожухотрубного теплообменника представляет собой цилиндр, сваренный из одного или нескольких стальных листов. Кожухи различаются способом соединения с трубной решеткой и крышками. Толщина стенки кожуха определяется максимальным давлением рабочей среды и диаметром аппарата (но не тоньше 4 мм) . К цилиндрическим кромкам кожуха привариваются фланцы для соединения с крышками или днищами. На наружной поверхности кожуха привариваются патрубки и опоры аппарата.
Кожух и трубки связаны трубными решетками и поэтому нет возможности компенсации тепловых удлинений. Такие аппараты просты по устройству, но могут применяться только при сравнительно небольших разностях температур между корпусом и пучком труб (до 50 oС). Они имеют низкие коэффициенты теплопередачи вследствие незначительной скорости теплоносителя в межтрубном пространстве.

Рис. - Схема кожухотрубного одноходового ТО
Линзовые компенсаторы типа КЛО
Линзовые компенсаторы предназначены для компенсации температурных линейных расширений за счет перемещения сильфона (сжатия и растяжения) в осевом направлении. Компенсаторы изготавливают из сваренных между собой штампованных полугофров с U-образным профилем, образующих осевую деталь компенсатора — сильфон. К крайним деталям компенсатора приварены патрубки.

Пояснения к иллюстрации:
1 - Сильфон (гидроформованный)
2 - Патрубок
3 - Внутреннея обечайка
4 - Дренажная трубка
Вывод
Компенсационные устройства сложны в изготовлении (мембранные, сильфонные, с гнутыми трубами) или недостаточно надежны в эксплуатации (линзовые, сальниковые). Более совершенна конструкция теплообменника с жестким креплением одной трубной доски и свободным перемещением второй доски вместе с внутренней крышкой трубной системы . Некоторое удорожание аппарата из-за увеличения диаметра корпуса и изготовления дополнительного днища оправдывается простотой и надежностью в эксплуатации.
Достоинством кожухотрубчатого теплообменника является возможность получения значительной поверхности теплообмена при сравнительно небольших габаритах и хорошо освоенная; недостатком – более высокий расход материала по сравнению с некоторыми современными типами теплообменных аппаратов (спиральными, пластинчатыми теплообменниками и т. д.).
По оценкам экспертов на изготовление трубчатых теплообменников расходуется около трети всего металла, потребляемого машиностроением. Поэтому разработка методов интенсификации теплообмена способствующих снижению массы теплообменников, экономии материалов, является актуальной проблемой, которой занимаются специалисты многих стран.
В большинстве процессов нефтегазопереработки используется нагрев исходного сырья, а также применяемых при его переработке растворителей, реагентов, катализаторов и др. Полученные в результате того или иного технологического процесса целевые продукты или полуфабрикаты обычно требуется охлаждать до температуры, при которой возможны их хранение и транспорт.
На современном нефтеперерабатывающем заводе, где осуществляется глубокая переработка нефти, на изготовление аппаратов, предназначенных для нагрева и охлаждения, затрачивается до 30 % общего расхода металла на все технологические установки. Высокая эффективность работы подобных аппаратов позволяет сократить расход топлива и электроэнергии, затрачиваемой на тот или иной технологический процесс, и оказывает существенное влияние на его технико-экономические показатели. Поэтому изучению устройства и работы этих аппаратов, а также освоению, методов их расчета необходимо уделять особое внимание.
Список литературы (информационных источников)
1. Лебедев П.Д., Щукин А.А. «Теплоиспользующие установки промышленных предприятий. (Курсовое проектирование). Учеб. пособие для энергетических вузов. «Энергия», Москва, 1970.
2. Лебедев П.Д. «Теплообменные сушильные и холодильные установки». Учебник для студентов технических вузов. 2-е издание. «Энергия», Москва, 1972.