Водонапірні башти та баки
План
Загальні відомості
Водонапірні башти
Резервуари
Гідропневматичні установки
Регулюючі та запасні споруди в системі водопостачання
Список використаної літератури
1. Загальні відомості
У системах водопостачання широко використовують ємкісні споруди, які за призначенням виконують функції запасних, регулювальних, запасно-регулювальних об'ємів води. За матеріалом ємкісні споруди можуть бути залізобетонні, бутові, цегляні, сталеві, дерев'яні, скляні. За способом подавання з них води споживачам їх поділяють на такі види:
напірні;
безнапірні.
Із напірних вода потрапляє споживачеві під потрібним напором, а із безнапірних воду забирають насосами. До напірних ємностей належать такі споруди:
водонапірні башти;
напірні резервуари;
водонапірні колони;
гідропневматичні установки. Водонапірні башти потрібний напір перед споживачем забезпечують встановленням на певній висоті бака на спеціальних підтримуючих конструкціях. Напірні резервуари розміщуються на природних, домінуючих, підвищених місцях із необхідними позначками для забезпечення потрібного напору. Водонапірні колони займають проміжне положення між напірними резервуарами й баштами. Проте при малих рівнях води в них потрібний напір перед споживачем не завжди забезпечується. Гідропневматичні установки забезпечують потрібний напір тиском повітря на поверхню води в герметично закритих резервуарах.
2. Водонапірні башти
Водонапірні башти використовують найчастіше для зберігання регулювальних і пожежних запасів води. їх розташовують у місці з найвищою позначкою, якнайближче до мережі та найбільших водоспоживачів, а також до районів мережі, які потребують більших вільних напорів. Доцільно розміщувати їх у центрі територій, які обслуговуються у годину максимального водоспоживання з мережі. Розташування башти має бути таким, щоб можна було організувати зону санітарної охорони радіусом 15 м. У складних випадках місце розташування башти встановлюють на основі техніко-економічних розрахунків, пов'язаних із розрахунком мережі, башти, напору насосів другого підняття. При великих об'ємах баків башт можна встановлювати декілька башт, купно в одному місці або розкиданими по території населеного пункту чи підприємства.
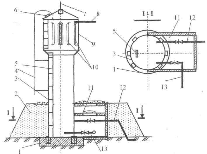
Основні елементи водонапірної башти (будівельні й монтажні) показано на рис. 1. До будівельних елементів належать фундамент і підвальне приміщення, підтримуюча конструкція (стовбур), бак або резервуар, шатро, драбини. Монтажні елементи – це система трубопроводів, арматура, допоміжні монтажні деталі. Воду подають у бак трубопроводом 1, а забирають із нього трубами 4 і 7. Верхній зріз труби 7 встановлюють на рівні верху 10-хвилинного пожежного запасу (позначка Z). Отже, у звичайних умовах рівень води в баці то піднімається до максимальної позначки Z>1>> >з наповненням бака, то знижується знову до позначки Z>2> при відбиранні води з башти. Об'єм води між позначками Z>1> Z>2> є регулювальним запасом. Об'єм води між позначками Z>2> і Z>3> – це пожежний запас. Його можна забрати лише у разі пожежі відкриттям засувки на трубопроводі 6 (у звичайних умовах ця засувка завжди закрита). Якщо бак переповнюється, то залишки води стікають трубами 11 і 13 у каналізацію, у знижене місце поблизу башти або, у крайньому випадку, на вимощення біля башти. Періодично бак башти треба звільняти від води. Для цього закривають засувки на трубопроводі 1, відкривають засувку на трубопроводі 12 і скидають воду з башти, після чого бак миють і дезінфікують. Описана система подачі і відбору води із башти одним стояком називається однотрубною. Існує також двотрубна система, при якій подача і відбір води виконується самостійними стояками. Щоб бак і труби не руйнувалися через температурні деформації, на трубах 4 і 13 встановлюють компенсатори.

Рис. 1. Схема водонапірної башти: 1-трубопроводи підключення башти до мережі; 2 – фундамент і підвальне приміщення; 3 – стовбур; 4 – подавально – відвідний стояк; 5 сальникові компенсатори; 6 – трубопрвід для відбирання води на пожежні потреби; 7 трубопрвід для відбирання води на господарсько-питні потреби; 8 – бак; 9 – шатро; 10 – блискавковідвід: 11 – переливна труба; 12 – грязевідвідний трубопровід; 13 – скидний стояк
Шатро використовують для того, щоб уберегти бак від дії температури зовнішнього повітря. Прохід між баком і шатром має бути не меншим за 0,7 м. Нині використовують безшатрові башти меншої вартості, в яких бак зверху закритий конічною кришкою. Безшатрові башти можуть бути з теплоізоляцією і без неї. Баки без теплоізоляції використовують при подаванні підземних вод, при температурі повітря до –25 °С і обміні води не менше одного разу на добу. При температурі зовнішнього повітря не нижче за –15 °С і двох обмінах води на добу їх можна застосовувати у разі подавання поверхневих вод.

Рис. 2. Типи баків водонапірних башт: а – з плоским днищем; б – з вгнутим днищем; в-з вгнутим днищем і шахтою в центрі; г – з випуклим днищем; д – конструкції
Баки башт виготовляють металевими або залізобетонними, круглими в плані та з плоским, сферичним, конічним і іншими днищами (рис. 2). Більш складна форма днища робиться в баках більшого об'єму з метою економії матеріалів та підвищення конструктивної міцності бака.
Співвідношення висоти бака до діаметра повинно бути 0,5… 1,2.
Загальний об'єм бака башти, м3,
W=W>pe>,+ W>m>>3>
де Wpez – регулювальний об'єм бака башти, м, W>Hn>>3> – непорушний десятихвилиннии пожежний запас, м.
Визначення регулювального запасу розглядалось в сьомій главі. Пожежний запас, м3, встановлюють за формулою
W>m>>3> = 0,6 (Цс.тах + Цпож),
де Цс.тах – розрахункові витрати води на господарсько-питні й виробничі потреби в години максимального споживання води, л/с; Цпож – витрати води на гасіння однієї зовнішньої та однієї внутрішньої пожежі, л/с.
Висоту водонапірної башти обчислюють після гідравлічного розрахунку водопровідної мережі та визначення п'єзометричних позначок в усіх вузлах мережі. У загальному випадку висота башти (рис. 3)
Н>6> = г>йж> + Н>Ат> + Ih>w> – z (9.3)
де г>йж> – позначка землі в диктуючій точці; Н>Ат> – вільний напір в диктуючій точці; Ih>w> – втрати напору на шляху потоку води від башти до цієї точки; z – позначка землі в місці розташування башти.

Рис. 3. Схема для визначення висоти башти 1 – башта; 2 п'єзометрична лінія при максимально-господарському водоспоживанні; З – водопровідна мережа; 4 – вільні напори
Непорушність пожежного запасу в баці башти забезпечується тим, що засувка на трубопроводі для відбирання води на пожежні потреби відкривається за командою з диспетчерського пункту. Башту можуть обладнювати автоматичним пристроєм для відключення її під час пуску пожежних насосів на насосній станції її підняття.

Рис. 4. Металева башта-колона:
1 – фундамент; 2 – земляний насип: З – стовбур; 4 – зовнішня драбина; 5 – внутрішня драбина; 6 – лаз; 7 – блискавковідвід: 8 – переливна труба; 9 – бак; 10 – льодоутримувачі; 11 – камера переключення; 12 – подавально-відвідний трубопровід; 13 – грязьова труба
Типові башти мають висоту від 10 до. 40 м, місткість бака-15…800м3. За кордоном використовуються башти з баками на 2000…3000 м3. У сільській місцевості дуже рідко об'єми баків башти перевищують 100м3, але можна встановлювати 3…10 типових башт із загальною місткістю до 100 м.
Стовбур башти виконують суцільним з цегли, залізобетону або решітчастим із металевої решітки чи у вигляді залізобетонних колон.
Суцільні стовбури можна опалювати електронагрівальними елементами. Стовбур із цегли більш трудомісткий, але у цьому разі використовується місцевий матеріал, що більше відповідає конкретним умовам. Для зовсім малих водоспоживачів та для тимчасового споживання можна використовувати дерев'яні башти, в яких металевий або дерев'яний клепаний бак установлюють на дерев'яний решітчастий стовбур. Висота таких башт дорівнює 9…12 м. Нині в багатьох селах широко використовують металеві башти-колони заводського виготовлення конструкції Рожновського (рис. 4). Таку башту-колону встановлюють автокраном на фундамент. Воду в башту подають і забирають з неї трубопроводом із нижньої частини стовбура. Рівень води може коливатися від поверхні землі до максимальної позначки води в баці. При заповненні башти надлишки води по переливній трубі витікають безпосередньо на землю біля башти. Така башта є відносно дешевою, простою за конструкцією, швидко монтується, об'єм бака – 15… 50 м, а висота стовбура 12…18 м.
3. Резервуари
Резервуари застосовують для зберігання великих запасів води на господарські, пожежні, технологічні, аварійні потреби. їхня місткість може становити 50…20 000 м», а розмір у плані від 3 х 6 м до 66 х 66 м, висота – 1,8…4,8 м. Вони можуть бути круглими в горизонтальній або вертикальній площинах та прямокутними. Найчастіше використовуються закриті зверху, але можуть бути і відкритими. Резервуари роблять заглибленими в землю, напівзаглибленими або наземними. Для того щоб запобігти прогріванню води влітку, промерзанню взимку, резервуари обваловують місцевим грунтом. У цьому разі найменшу будівельну вартість мають напівзаглиблені резервуари. При високих рівнях ґрунтових вод та забруднених радіонуклідами підземних водах (Чорнобильська зона) резервуари роблять наземними. Резервуари роблять із залізобетону, буту, металу тощо. Найчастіше використовують залізобетонні, при чому вони можуть бути як із монолітного, так і зі збірного залізобетону. Останні більш індустріальні, їх швидше будувати.
При очисних станціях будують резервуари чистої води. Принципову схему обладнання такого резервуара зображено на рис. 5. Корпус резервуара напівзаглиблений у землю і обвалований ґрунтом 5. Для того щоб можна було спускатися в резервуар, для обслуговуючого персоналу роблять кілька лазів. Вентиляційні труби забезпечують вентиляцію простору над поверхнею води. Нині такі труби обладнують ще спеціальними всмоктувальними фільтрами для очищення повітря від радіоактивного та інших забруднень. В резервуарі між позначками z>3> і z>2> зберігається непорушний пожежний запас, а між z) і z>2> – регулювальний і об'єм на власні потреби. Максимальний рівень води в резервуарі z>h> як правило, перевищує позначку землі на 0,5.– 1,0 м, що забезпечує можливу фільтрацію з резервуара в ґрунт (а не навпаки) і сприяє збереженню високої якості води. Щоб вода в резервуарі не застоювалась, слід передбачити перемішування її. Для цього воду подають (трубопровід 2) з одного боку, а відбирають (трубопроводи 8, 9) з іншого.
На трубопроводі відбирання води на господарські потреби обов'язково треба передбачити пристрій для збереження непорушності пожежного запасу. Для цього використовують колодязь 7. Колодязь відкритий зверху, а позначка його верху перебуває на рівні пожежного запасу z>2>. Тому коли при відбиранні води рівень зменшується до позначки z>2> вода не потраплятиме до колодязя 7 і не надходитиме в трубопровід 8. Для забирання пожежного запасу на рівні дна резервуара передбачається трубопровід 9, до якого підключають пожежні насоси. З переповненням резервуара залишки води перетікають трубопроводом 6 у каналізацію. Періодично резервуари миють і дезінфікують. Брудну від миття і дезінфікуючого розчину воду відводять трубопроводом 10. Для того щоб брудна вода повністю видалялася з резервуара, дно його має нахил у бік приямка. На всіх трубопроводах установлюють засувки, виведені або в окремі колодязі, або в загальну камеру керування роботою резервуара.

Рис. 5. Резервуар чистої води:
1 – корпус резервуара; 2 – подавальний трубопровід; 3 – оглядові колодязі (лази); 4 – вентиляційна труба; 5 – обвалування; 6 – переливна труба; 7 – колодязь для забезпечення непорушності пожежного запасу; 8 – трубопровід для відбирання води для господарських потреб; 9 – трубопровід для відбирання води на пожежні потреби; 10 – грязевідвідна труба; 11 – приямок; 12 – камера переключень
Непорушність пожежного запасу забезпечують (крім уже вказаного методу) установленням на трубопроводі 8 замість колодязя сифона, нижній зріз якого розміщують трохи вище дна, а перегин на рівні z>2>.Y вищій точці сифона роблять отвір діаметром 20…30 мм. Вода сифоном забирається з дна і подається трубопроводом 8. Це забезпечує обмін усього об'єму води, навіть пожежного. Коли рівень води доходить до отвору, повітря всмоктується в сифон, порушує вакуум, і вода не потрапляє в трубопровід 8. Непорушності пожежного запасу можна досягти автоматизацією насосної станції. З цією метою в резервуарі встановлюють датчики, і коли рівень води знижується до позначки z>2>, господарські насоси відключаються і не всмоктують воду трубопроводом 8.
Щоб запобігти переповненню резервуара, на подавальному трубопроводі на рівні максимальної позначки встановлюють поплавковий клапан. Скидний трубопровід обов'язково підключають до каналізації через гідравлічний затвор, зворотний клапан і решітки. Його можна підключати до відкритої канави з розривом струменя.
У резервуарах із водою для питних потреб горловина люка повинна бути вищою за рівень засипки не менш ніж на 0,7 м. Висота засипки може бути 0,5; 0,7; 1,0 м. Зараз практично всі резервуари забезпечуються покажчиками рівня і пристроями для передавання цих даних на насосні станції і диспетчерські пункти.
Для забезпечення надійності роботи потрібно не менше двох резервуарів, що дає змогу виключати на ремонт, миття та дезінфекцію один із резервуарів. Резервуари можуть бути різних розмірів, проте пожежний запас повинен розподілятися між ними рівномірно. Повна місткість резервуарів чистої води
W=W>pe>>2>+W>en> + W>no>>ж> (9.5)
де W>pe>>2> – регулювальний об'єм, який визначається суміщенням графіка подавання води в резервуар від очисної станції і графіка роботи насосної станції II підняття: W>en> – об'єм води на власні потреби очисної станції (він дорівнює 3… 14% кількості води, поданої споживачам); W>no>>ж> – тригодинний пожежний запас, м.
4. Гідропневматичні установки
Гідропневматичні установки в системах водопостачання виконують ту саму роль, що й водонапірні башти. Потрібний напір у водопровідній мережі забезпечується тиском стисненого повітря на водну поверхню в герметично закритих сталевих резервуарах – баках. Гідропневматичні установки поділяють на установки змінного та постійного тиску,
Установка зі змінним тиском може мати два баки (рис, 6): один для повітря (2), другий – для води (4). Баки з'єднані трубопроводом 3. Бак для води підключено до мережі трубопроводом. У момент пуску установки компресор нагнітає повітря в бак 2, трубопроводом 3 воно потрапляє в бак 4 і заповнює обидва баки. В години, коли насосна станція II підняття подає води більше, ніж цього потребує споживач (тобто споживання з мережі менше), залишки води потрапляють трубопроводом 7 у бак 4. Одночасно повітря з цього бака витискується трубопроводом 3 у бак 2, тиск повітря збільшується.
Коли рівень води в баці 4 дійде до позначки z>max>, тиск повітря стане максимальним – р>тах>, клапан 5 закриється, отже, вода не потраплятиме у трубопровід 3 і бак 2. Якщо споживання води з мережі зросте й перевищуватиме подавання води в мережу, то стиснене повітря з бака 2 почне перетікати по трубопроводу 3 у бак 4 і витискати з бака 4 воду В трубопровід 7 і в мережу. Рівень води в баці 4 поступово почне зменшуватись, одночасно зменшуватиметься і тиск повітря; коли рівень води дійде до позначки z>mm> тиск повітря стане мінімальним клапан 6 закриється і не випускатиме повітря в мережу. Таким чином, вода то надходить в установку, то витікає з неї, а тиск повітря іо збільшується, то зменшується. Тому установки називають установками змінного тиску.

Рис. 6. Гідропневматична установка:
1 – компресор; 2 – бак для повітря; 3. – з'єднувальний трубопровід; 4 – бак для води; 5 – повітряний клапан; 6 – водяний клапан; 7 – трубопровід подавання води; 8 – водопровідна мережа
Часто такі установки працюють з автоматичними включеннями і відключеннями насосів в кількості п = 2…6 протягом години. У цьому разі
W = Q I4n,
де Q – подача насоса, м/год.
При цьому
Q = QamKom/24,
ДС Qam – середньодобове водоспоживання, м/добу; Kom – коефіцієнт добової нерівномірності. Напір насосів, м, як правило, дорівнює
Н = (Р>тах>-0,1) 100.
Повітря може частково розчинятися у воді або надходити через нещільні з'єднання. Тому компресор періодично поповнює бак 2 повітрям.
В установках постійного тиску на трубопроводі 3 ставлять редукційний клапан, який пропускає повітря тільки з повітряного бака у водяний під постійним тиском Р>тах>. Крім того, у вищій точці водяного бака встановлюють запобіжний клапан, який під час підняття рівня в баці 4 випускає із нього повітря, тобто в баці 2 є постійний тиск повітря, що діє на поверхню води. Як правило, компресор діє постійно, що призводить до перевитрат електроенергії. Установки постійного тиску застосовують тільки на промислових підприємствах, де є устаткування з постійним тиском води.
У невеличких чи локальних водопроводах гідропневматичні установки компонують із насосними станціями над свердловинами. Останнім часом такі установки виконують з одним баком, в якому об'єднано водяний (нижня частина) і повітряний (верхня частина) баки. Між ними встановлюють еластичну гумову оболонку, яка запобігає безпосередньому контакту води і повітря.
5. Регулюючі та запасні споруди в системі водопостачання







Регулюючі
та запасні споруди в системі водопостачання
– це напірні або безнапірні резервуари
з певним об'ємом води, який потрібний
для регулювання роботи системи і для
утворення недоторканного запасу на
випадок, пожежі або аварій. Регулювання
полягає в узгодженні різних режимів
подачі та споживання води за допомогою
акумулюючи ємностей. При подачі води
поверх споживання вона накопичується
в ємностях, а при недостачі – забирається
з них. Регулювання забезпечує відносно
рівномірну роботу водозаборів, очисних
споруд і насосних станцій.
Регулюючі та запасні ємності рекомендується об'єднувати в одній споруді. Це не тільки вигідно економічно, але і дозволить уникнути зниження якості води при тривалому зберіганні.
До напірно-регулюючих споруд відносять водонапірні башти, високорозташовані надземні напірні резервуари, а також повітряно-водяні (гідропневматичні) баки. їх розташовують в найвищих точках місцевості біля або безпосередньо на мережі населеного пункту. Крім регулювання, водонапірні башти і резервуари, вирівнюють напір в мережі і при цьому зміни подачі насосів не передаються в мережу.
Безнапірні регулюючі та запасні споруди (надземні і підземні резервуари) влаштовують, як правило, біля насосних станцій. Вони служать для регулювання роботи водозаборів, очисних і насосних станцій, зберігання аварійних, протипожежних та інших запасів води.
Регулюючий об'єм баку водонапірної башти чи резервуару рекомендується визначати за ступеневими або інтегральними графіками надходження і відбору води (рис. 7). На рис. 7 показано добовий ступеневий графік водоспоживання. Якщо насоси будуть працювати протягом доби безперервно і рівномірно, їх годинна подача складе 100/24=4,17% добових витрат.
З графіка 7 видно, що за період від 0 до 6 і від 20 до 24 годин вживання води менше за подачу насосів, а від 6 до 20 годин – більше. Таким чином, при наявності резервуару є можливість зібрати в ньому воду від 0 до 6 годин і від 20 до 24 годин та подати її споживачеві в період від 6 10 20г (додатково до подачі насосів). При відсутності регулюючого резервуару необхідно було б підбирати насоси з годинною подачею 6,2% добових витрат, що привело б до збільшення потужності станції та зниження ефективності її роботи, оскільки більшу частину доби насоси працювали б з недовантаженням.

Рис. 7. Добовий графік надходження і відбору води:
а – ступеневий; б – інтегральний; 1 – відбір води; 2 – подача насосною станцією його підняття; 3 – подача насосною станцією 1-го підняття
При відсутності графіків водоспоживання і подачі води регулюючий об'єм слід розраховувати за СниП 2.04.01–85 залежно від режиму роботи і продуктивності насосів.
Протипожежний запас води визначають з розрахунку тривалості гасіння розрахункової кількості пожеж. Для водонапірних башт і напірних резервуарів ця тривалість складає 10 хв., для резервуарів чистої води – З години.
В конкретних розрахунках регулюючий об'єм визначають з поправочними компенсаціями які приховують підвищення надійності роботи споруди або її міст розташування (наприклад, мережа з контррезервуаром чи прохідною баштою) значення цих коефіцієнтів коливається в межах 0,6–1,3 і визначається за 15,1 – 1,151.
За своєю конструкцією водонапірні башти представляють собою водонапірний бак, який встановлений на опорі розрахункової висоти (рис. 8). Висота водонапірної башти:
H>6>=H>p>+Eh – (z>e>-Z),
де Н>р> – вільний розрахунковий напір в диктуючій точці мережі в межах зони впливу башти, м; Eh – втрати напору в трубопроводі від башти до диктуючої точки, м; Z>e>> >і Z – геодезичні відмітки землі відповідно біля башти і диктуючої точки, м.
З формули видно, що розташування в найвищих місцях водонапірних башт зменшить їх висоту.

Рис. 8. Водонапірна башта:
І – бак; 2 – приймальна сітка; 3 – відвідний трубопровід; 4 – зворотний клапан; 5 – п мпературний компенсатор; 6 – ствол башти; 7 – трубопровід для подачі або відводу води; 8 – пі-рсливний трубопровід; 9 – засувки; 10 – трубопровід для спорожнення баку; 11 – гідрозатвір
Водонапірні башти в залежності від рельєфу місцевості і конфігурації мережі можуть бути розташовані на початку мережі (прохідна башта), в кінці мережі (контррезервуар) або в її проміжних точках.
Залежно від матеріалу ствола, башти можуть бути цегляні, залізобетонні, сталеві тощо. Всередині ствола розміщують необхідне обладнання – труби, арматуру, прилади (рис. 8). Баки в баштах можуть бути металевими або залізобетонними. Водонапірні башти в залежності від кліматичних умов, температури води, розмірів баку і режиму роботи башт (тривалості обміну води в баці) можуть бути з шатром для запобігання промерзання чи перегріву води або без нього. В порівнянні з шатровими безшатрові водонапірні башти дешевші на 15–20%. Розроблені типові рішення водонапірних башт з об'ємом бака 15–800 м3 і висотою ствола 6–42 м.
В окремих випадках замість водонапірних башт влаштовують гідропневматичні баки. Необхідний напір в таких установках створюється стисненим повітрям (рис. 9). Недоліками таких систем є потреба у вищих напорах насосних станцій, що зумовлює додаткові витрати електроенергії, і наявність компресорів. Перевагою гідропневматичних установок є те, що їх можливо розташувати в будь-якому місці водонапірної мережі, а також в спеціальних приміщеннях під землею (рис. 10).

Рис. 9. Пневматична напірно-регулююча установка:
1 – електродвигун; 2 – насос; 3 – всмоктувальна труба: 4 – напірна труба; 5 – повітряно-водяний бак; 6 – блок управління; 7 – реле тиску; 8 – запобіжний клапан (розміри в мм).

Рис. 10. Пневматична напірно-регулююча установка із заглибним насосом, яка змонтована в підземній камері (розміри в мм)
Гідропневматичні установки доцільно використовувати при невеликих витратах води (місцеві або внутрішні системи).
Як раніше зазначалось, резервуари, що розташовані на високих відмітках, можуть служити як напірні, замінюючи при цьому дорожчі водонапірні башти. Але частіше у зовнішніх системах водопостачання використовують безнапірні резервуари, що розташовані на очисних спорудах (резервуари чистої води). Найбільше поширення отримали залізобетонні, в основному збірні, резервуари з плоским перекриттям (рис. 11). Резервуар заглиблюють В землю на половину висоти і обсипають землею шаром товщиною 0,8–1,2 м з метою ізоляції верхньої частини.

Рис. 11. Залізобетонний резервуар:
І труба для подачі води; 2 – всмоктувальна труба господарських насосів; 3 – всмоктувальна Груба пожежних насосів; 4 – труба для спорожнення і видалення осаду; 5 – переливна труба; 6 – труба з отвором для зриву вакууму після спрацювання господарського запасу води; 7 – поплавковий клапан; 8 – вентиляційна шахта; 9 – лаз
Для забезпечення надійності безперебійної роботи системи недопостачання влаштовують не менше двох резервуарів. Між ними розташовують спеціальні перемикаючі камери. В резервуарі чистої води Необхідно забезпечити обмін всієї води у термін не більше 48 годин або при обґрунтуванні – до 3–4 діб. Для цього забезпечують циркуляцію води з встановленням перегородок чи циркуляційних насосів.
У резервуарах необхідно забезпечити недоторканість пожежного запасу води, що досягається відбором води на господарські і протипожежні цілі з різних відміток або влаштуванням сифона. Останній спосіб має ту перевагу, що вода весь час зберігається біля дна резервуару і не виникає застійних зон по висоті. При пониженні рівня води нижче відмітки протипожежного запасу через отвори на згині сифону засмоктується повітря, зривається вакуум і відбір води припиняється.
При визначенні об'єму резервуарів чистої води враховують не лише регулюючий і протипожежний запаси води, а і запас води на власні потреби станції (промивання фільтрів тощо) та аварійний об'єм:
W = W>per> + W>3an> + W> вир> + W>aB>,
де W>per> – регулюючий об'єм, м3; W>3>>an> – протипожежний об'єм, м3; W> вир> – об'єм на власні потреби водопроводу, м3; W>aB> – аварійний об'єм води, м.
В цілому доцільність влаштування регулюючих і запасних ємностей, вибір місця їх розташування і типу слід визначати на основі розрахунку сумісної роботи мережі, водопроводів і насосних станцій з урахуванням місцевих умов і технологічних вимог.
Список використаної літератури
Абрамов Н.Н. Водоснабжение. - М.: Стройиздат, 1982. – 440 с.
Абрамов С.К., Алексеев B.C. Забор вода из подземного источника. - М.: Колос, 1980. – 239 с.
Белан А.Б., Хоружий П.Д. Проектирование и расчет устройств водоснабжения. – К.: Будивельник, 1981. – 188 с.
Бочевер Ф.М. и др. Проектирование водозаборов подземньїх вод. – М.: Стройиздат, 1976. – 291 с.
ВБН 46/33–2.5–5–96. Сільськогосподарське водопостачання. Зовнішні мережі і споруди. Норми проектування. – К., 1996. – 152 с.
Водне господарство в Україні/ За ред. А.В. Яцика, В.М. Хорєва.-К. Генеза, 2000.-456 с.
ГОСТ 2761–84. Источники централизованного хозяйственно-питьевого водоснабжения. – М.: Стройиздат, 1985. – 12 с.
Душкин С.С, Дегтярева Л И. Водоподготовка и процессм микробиологии: Учебное пособие. – К.: Вища школа, 1996.-164 с.
Залуцкий З.В., Петрухно А.И. Насосные станции. Курсовое проектирование. - К.: Вища школа. Головное изд-во, 1987. – 167 с.
Кульский Л.А., Строкам П.П. Технология очистки природных вод. – К.: Вища школа, 1986. – 352 с.