Особенности проектирования товарного парка нефтеперерабатывающих заводов
СОДЕРЖАНИЕ
Введение
1 Прием и хранение сырья
2 Приготовление товарной продукции
3 Хранение товарной продукции
4 Отгрузка товарной продукции
Список использованной литературы
ВВЕДЕНИЕ
К общезаводскому хозяйству (ОЗХ) современных НПЗ и НХЗ относятся объекты приема и хранения сырья, приготовления из компонентов товарной продукции, хранения и отгрузки товарной продукции; ремонтно-механическая база; складское хозяйство; объекты, предназначенные для снабжения воздухом, водородом, инертным газом, топливом; вспомогательные службы (факельное хозяйство, газоспасательная служба, пожарная охрана, медицинская служба и служба питания). В более широком смысле в ОЗХ включают также объекты энергоснабжения, водоснабжения, канализации, очистных сооружений.
Объекты ОЗХ занимают большую часть территории предприятия, а стоимость их строительства превышает 40% от общей стоимости заводов.
Состав объектов ОЗХ зависит от профиля предприятия, его технологической схемы. Например, на заводах топливно-масляного профиля заметное место принадлежит узлам приготовления товарных масел, приема многочисленных присадок со стороны, хранения и затаривания твердых парафинов и т. д. Эти объекты на заводах топливного профиля отсутствуют.
1. ПРИЕМ И ХРАНЕНИЕ СЫРЬЯ
Сырье поставляется на НПЗ и НХЗ по магистральным трубопроводам, железной дороге и, в незначительной степени, водным (танкеры, баржи) и автомобильным (автоцистерны) транспортом.
Трубопроводный транспорт нефти и нефтехимического сырья. Трубопроводным транспортом в нашей стране перевозится около 80% сырой нефти и 8% нефтепродуктов. Общая протяженность нефтепроводов и нефтепродуктопроводов на конец 1980 г. составила 69,7 тыс. км. Средняя дальность перекачки нефти достигла 1400 км. Все нефтеперерабатывающие заводы Советского Союза связаны трубопроводными магистралями с районами добычи нефти. Нефтепроводы проектируются и эксплуатируются организациями Министерства нефтяной промышленности. Пропускная способность нефтепровода определяется мощностью НПЗ, а диаметр, кроме того, зависит от схемы перекачивания нефти (непрерывная или периодическая). При расширений НПЗ зачастую оказывается необходимо предусмотреть увеличение пропускной способности нефтепровода. Эта задача решается прокладкой параллельных трубопроводов на всей протяженности нефтепровода или на отдельных, наиболее перегруженных участках.
Для организации учета и контроля подачи нефти на НПЗ непосредственно перед предприятием (а иногда и на его территории) размещается приемо-сдаточный пункт. В состав пункта входят: площадка приема шара — специального устройства, которое время от времени прогоняется по нефтепроводу с целью очистки трубы от парафинистых отложений и грязи; фильтры-грязеуловители счетчики. Показания счетчиков служат для контроля количества «Поступающей на НПЗ нефти. Они передаются на головную станцию нефтепровода и на центральный диспетчерский пункт НПЗ. Перед фильтрами приемо-сдаточного пункта устанавливаются предохранительные клапаны для . защиты последних участков нефтепровода от разрыва. Причиной разрыва может быть недопустимо высокое давление, возникающее вследствие закрытия задвижки перед приемо-сдаточным пунктом. Сброс от предохранительных клапанов направляют в резервуары сырьевой базы НПЗ. С приемо-сдаточного пункта нефть подается в резервуары сырьевой базы НПЗ. Участок трубопровода от пункта до резервуаров является собственностью НПЗ. Этот трубопровод, как правило, прокладывается в земле и выводится на поверхность перед резервуарами-,
У Нефтехимические предприятия получают по трубопроводам сырье с близлежащих нефте- и газоперерабатывающих заводов. Обычно по трубопроводам подаются на НХЗ бензиновые фракции, сжиженные газы, ароматические углеводороды. Эксплуатируются, также магистральные трубопроводы, по которым сырье подается в НХЗ с предприятий, расположенных на расстоянии 150—200 км и выше.
Нефтехимические заводы часто используют в качестве сырья (например, для установок оксосинтеза) природный газ. Газ поступает на НХЗ из систем магистральных газопроводов через газораспределительные пункты (ГРП). На ГРП происходит снижение давления газа до величины, которая необходима нефтехимическому предприятию, здесь же организуется учет природного газа, Передаваемого на НХЗ. ГРП проектируются и эксплуатируются организациями Министерства газовой промышленности. Трубопровод природного газа, выходящий с ГРП, является собственностью НХЗ.
Транспорт сырья по железной дороге. Нефть на НПЗ подается в железнодорожных цистернах маршрутами, грузоподъемность которых определяется путевым развитием и пропускной способностью сети железных дорог. Для перевозки нефти используются цистерны различных типов — двух-, четырех-, шести- и восьмиосные. Подробная характеристика цистерн приведена в литературе.

Рис. 1.1. Комбинированная двухсторонняя железнодорожная эстакада для слива нефти и налива темных нефтепродуктов:
1 — наливной стояк; 2 — установка нижнего слива нефти; 3 — коллектор слива нефти; 4 — коллекторы темных нефтепродуктов.
Длина маршрута достигает 720 м, а грузоподъемность —3900 т.
На вновь строящихся НПЗ проектируются для приема нефти двухсторонние сливные эстакады длиной 360 м, вдоль которых устанавливается состав после его расцепки на две части. С целью более полного использования территории и уменьшения капитальных и эксплуатационных затрат практикуется оснащение железнодорожных эстакад устройствами для налива нефтепродуктов — мазута или дизельного топлива. В этом случае эстакада называется сливо-наливной и на ней поочередно осуществляется слив нефти и налив нефтепродукта. На рис. 5.1 изображена комбинированная двухсторонняя железнодорожная эстакада для слива нефти и налива темных нефтепродуктов.
Цистерны для перевозки нефти оснащены нижними сливными патрубками, к которым подводится и герметично присоединяется установка для нижнего слива (налива), представляющая собой систему шарнирно сочлененных труб. Промышленностью выпускаются установки для нижнего слива по ТОСТ 18194—79. Стандартом предусмотрен выпуск установок без подогрева (УСН), с паровым подогревом (УСНПп), с электроподогревом (УСНПэ). Установки типа УСН имеют диаметр условного прохода 150 и 175 мм, УСНПп — 175 мм, а УСНПэ — 150 мм.
Из сливной установки нефть поступает в сливной трубопровод. Ранее сливным трубопроводом нефть передавалась в резервуары, расположенные ниже отметки рельса («нулевые» резервуары). Вместимость этих резервуаров принималась такой, чтобы обеспечить слив всего маршрута. Из «нулевых» резервуаров нефть забиралась насосами заглубленной насосной и подавалась в резервуары сырьевой базы завода.
Практика показала, что в сооружении «нулевых» резервуаров и заглубленных насосных нет необходимости. Следует предусматривать поступление нефти от сливных приборов к насосам, расположенными на поверхности земли через сливную буфер.
Внимание необходимо уделять расчету гидравлических сопротивлений сливного трубопровода, учитывать всасывающую способ-Юность сырьевого насоса.
При проектировании сливо-наливных железнодорожных эстакад следует учитывать требования по нормативной продолжительности сливных операций, установленные «Правилами перевозок жидких грузов наливом в вагонах — цистернах и бункерных полувагонах», утвержденными МПС 25 мая 1966 г. Эти правила устанавливают следующую продолжительность слива (в ч) в пунктах механизированного (1) и немеханизированного (2) слива.
1 Двухосная цистерна - 1,25 2,0
2 Цистерна с числом осей 4 и выше - 2;0 4,0
В зимнее время слив некоторых сортов нефтей и других продуктов, обладающих высокой температурой застывания затруднен, поскольку они поступают на пункты слива загустевшими. Правила перевозки грузов предусматривают увеличение продолжительности слива таких продуктов в период с 15 октября по 15 апреля, а также выделение специального времени на разогрев;
Для разогрева нефти в цистернах предусматривают паровые t гидромеханические подогреватели ПГМП-4 конструкции ВНИИСПТ Нефти, электрогрелки, погруженные змеевиковые подо-греватели, а также системы циркуляционного разогрева, сущность которых заключается в том, что холодный продукт, забираемый из цистерны, подогревается в специальном теплообменнике и в горячем состоянии возвращается в цистерну. Учитывая недостаточную эффективность вышеупомянутых способов непрямого разогрева

Рис. 1.2. Схемы обвязки эжекторов.
Q— .производительность слива; QH — подача основного насоса; Qд —подача дополнительного насоса.
В проектах следует предусматривать также подачу в цистерны острого пара. Сырье нефтехимических предприятий перевозится в цистернах с нижним сливом (и в этих случаях схема сливных операций аналогична описанной выше для нефти), в цистернах с верхним сливом и в специализированных цистернах.
Верхний слив из железнодорожных цистерн менее удобен, чем нижний. При верхнем сливе имеют место значительные потери от испарения, частые срывы работы насосов при сливе продуктов с высоким давлением насыщенных паров. Зачастую не, удается достичь полного удаления продукта из цистерн. Слив может осуществляться самотеком (при благоприятном рельефе местности) или с помощью, насосов.
В тех случаях, когда для верхнего слива применяют центробежные насосы, не обладающие самовсасывающей способностью, необходимо предусматривать установку поршневых насосов для первоначального (перед началом откачки) заполнения трубопроводов продуктом и зачистки цистерн. В летнее время слив продуктов с высоким давлением насыщенных паров сопровождается образованием газовых пробок во всасывающих трубопроводах насосов. Для уменьшения вакуума во всасывающих линиях рекомендуется предусматривать в проектах применение эжекторов. В качестве рабочей жидкости в эжекторах используется сливаемый продукт. При работе с погруженным эжектором не только полностью исключается вакуум во всасывающих линиях, но в отдельных случаях создается избыточное давление (подпор).
Схема обвязки эжекторов определяется разностью отметок между нижней образующей котла цистерны и резервуаром или насосом. На рис. 1.2 приведены различные варианты обвязки эжектора. Схема, изображенная на рис. 1.2, а применяется в тех случаях, когда разность геодезических отметок цистерны и резервуара позволяет (с учетом дополнительного подпора, развиваемого эжектором) обеспечить заданную производительность слива Q0. Подача и напор насоса обеспечивают работу эжектора. В тех случаях, когда разность отметок цистерны и резервуара не позволяет организовать самотечный слив или резервуар находится выше цистерны, применяют схемы, изображенные на рис. 1.2, б. Если давление, развиваемое основным насосом недостаточно для работы эжектора, то следует предусмотреть дополнительный насос для подачи рабочей жидкости в эжектор (рис. 5.2, б). Производитель-Юность дополнительного насоса выбирают равной расходу рабочей жидкости через эжектор, а дифференциальный напор равным разности между давлением рабочего продукта перед эжектором и давлением, развиваемым основным насосом.
Слив продукта может быть значительно ускорен, если создать повышенное давление над поверхностью продукта в цистерне. Для создания избыточного давления применяют подачу сжатого воздуха, инертного газа (азота) или пара.
Промыво-пропарочные станции. Для подготовки цистерн под налив и ремонта цистерн предназначены промыво-пропарочные станции (ППС), которые проектируются в составе НПЗ и НХЗ.
Заданием на проектирование ППС устанавливается суточная программа по очистке и промывке цистерн и бункерных полувагонов, оговариваются виды очистки (горячая или холодная). Обычно ППС на НПЗ должны ежесуточно обрабатывать 400—600 цистерн и 50—100 полувагонов.
На ППС предусматривается проведение следующих операций: удаление остатка светлых нефтепродуктов; пропарка котлов цистерн с одновременным сливом остатков темных нефтепродуктов; промывка горячей водой внутренних стенок котлов цистерн; удаление промывочных вод с помощью вакуумных установок; дегазация котлов цистерн вентиляционной установкой; обезвоживание слитых остатков темных нефтепродуктов; очистка сточных вод. ППС проектируются по заказам генпроектировщиков НПЗ проектными институтами МПС СССР.
Водный транспорт сырья. Перевозка нефти и нефтепродуктов . по воде осуществляется в самоходных нефтеналивных судах, морских и речных танкерах, а также в несамоходных морских , (лихтеры) и речных (баржи) судах. Внутренним водным транспортом перевозится более 60 млн. т. нефтепродуктов. Основной объем речных перевозок нефти и нефтепродуктов приходится на Волго-Камский и Обь-Иртышский бассейны. Сырая нефть перевозится с полуострова Мангышлак и из Махачкалы в Волгоград, а также из Куйбышева в районы Черного, Балтийского и Каспийского морей.
Для создания благоприятных условий слива нефти и для предотвращения загрязнения водоемов устраиваются специальные нефтяные гавани, в которых сооружаются пристани, пирсы или причалы. Гавани могут быть естественными (бухты, заливы, затоны) или искусственными.
Хранение сырья. Для хранения нефти на НПЗ предназначаются сырьевые резервуарные парки. Нормы технологического проектирования предлагают предусматривать в проектах такую вместимость парков, чтобы она обеспечивала бесперебойную работу НПЗ, получающего нефть по нефтепроводу, в течение 7. суток. Если предприятие снабжается нефтью по железной дороге или водным путем вместимость сырьевых парков должна быть увеличена. В этом случае величина нормативного запаса оговаривается в задании на проектирование.
Для предотвращения потерь нефти от испарения ее хранят в резервуарах с плавающими крышами или понтонами. На сырьевых базах НПЗ обычно устанавливаются резервуары объемом 20— 50 тыс. м3. Число резервуаров определяется общей вместимостью парка и принятым единичным объемом резервуара. При проектировании сырьевых складов НПЗ и НХЗ руководствуются СНиП II-106—79 [44]. Этот нормативный документ разработан для использования при проектировании складов нефти и нефтепродуктов; его допускается применять при проектировании складов легковоспламеняющихся, и горючих жидкостей, условия хранения которых в зависимости от их свойств сходны с условиями хранения нефти и нефтепродуктов. СНиП П-106—79, однако, не распространяется на проектирование складов (товарных баз) сжиженных газов, нефтепродуктов с упругостью паров выше 93,6 кПа (700 мм рт.ст.) при 20°С, складов синтетических жирозаменителей, подземных хранилищ в горных породах, отложениях каменной соли, ледогрунтовых хранилищ.
СНиП П-106—79 делит склады нефти и нефтепродуктов на две группы, причем товарно-сырьевые склады НПЗ и НХЗ отнесены к первой группе. Склады первой группы подразделяются на три категорий в зависимости от общей вместимости. В СНиП регламентированы расстояния от зданий и сооружений складов (товарно-сырьевых баз) до зданий и сооружений соседних предприятий, жилых и общественных зданий, расстояния от резервуаров для нефти и нефтепродуктов до зданий и сооружений склада (сливо-наливных устройств, насосных, канализационных сооружений, складов для нефтепродуктов в мелкой таре и т. п.), расстояния от зданий и сооружений склада до трубопроводов. СНиП П-106—79 рекомендует размещать резервуары группами, устанавливает предельную вместимость резервуаров в группе и расстояния между стенками резервуаров, расположенных в одной и соседних группах.
2. ПРИГОТОВЛЕНИЕ ТОВАРНОЙ ПРОДУКЦИИ
Товарная продукция, вырабатываемая на НПЗ, может быть условно разделена на две группы: 1) продукция, производимая непосредственно на технологических установках, и 2) продукция, приготавливаемая из различных компонентов. Непосредственно на установках НПЗ вырабатывают индивидуальные углеводородные фракции С3—Cs (пропановую, бутановые, пентановые), ароматические углеводороды (бензол, толуол, индивидуалыше ксилолы), различные марки твердых парафинов, присадки к маслам и т.д.
Значительное количество крупнотоннажных товарных продуктов — бензин, дизельное и котельное топлива, смазочные масла — получают на НПЗ смешением (компаундированием) из компонентов, вырабатываемых на различных установках. Так, для приготовления автомобильных бензинов на некоторых НПЗ используют до 10—15 компонентов.
На нефтехимических предприятиях товарная продукция — спирты, альдегиды, кислоты, полиолефины, сырье для производства синтетического каучука и др. — вырабатывается непосредственно в цехах и на установках.
Для осуществления операций по приготовлению товарной продукции из компонентов проектируются специальные объекты, на которых используются следующие основные методы компаундирования:
1) циркуляционный — приготовление производится в смесительных резервуарах;
2) смешение в аппаратах с перемешивающими устройствами;
3) непосредственное смешение в трубопроводах. Разработке проекта узла приготовления товарной продукции должен предшествовать расчет ожидаемых показателей качества товарных продуктов на основе сведений о качестве компонентов. В расчетах следует учитывать, что только некоторые из показателей качества являются аддитивными. Так, плотность смеси, содержание в ней серы, температуру анилиновой точки, показатели фракционного состава, определенные по ИТК, находят суммированием произведений массовых долей компонентов на соответствующие показатели каждого из компонентов. Давление насыщенных паров смеси с достаточной степенью точности можно определить суммированием произведений мольных долей компонентов на давления паров этих компонентов.
В известной степени аддитивными являются показатели октанового и цетанового чисел: Однако определенное по правилу аддитивности октановое число смеси может оказаться выше или ниже реального. Более Точно рассчитать реальное октановое число позволяет формула:
Осм = (О.А.k. + 0вВ)/\00
Здесь Осм — реальное октановое число смеси; О А, Ов — октановые числа ; высокооктанового и низкооктанового компонента смеси, соответственно; А и В — содержания компонентов в смеси, % (об.); k — поправочный коэффициент, определяемый по специальному графику,приведенному в литературе. -
Для расчета октанового числа смеси могут быть также использованы формулы, разработанные ВНИИНП и НПО «Нефтехим-автоматика» и фирмой «Этил Корпорейшн».
Более точные уравнения, по которым можно определить смесительные характеристики мазутов, зная показатели отдельных компонентов, приводятся в литературе.
Метод приготовления товарной продукции многократной циркуляцией через смесительные резервуары применяется в течение многих лет. Сущность метода заключается в следующем. Компоненты товарных продуктов с технологических установок поступают в компонентные,
резервуары парков смешения, анализируются, а затем насосами подаются в смесительный резервуар. Приготовленный в смесительном резервуаре продукт забирается специальными насосами и многократно перекачивается по схеме «резервуар—насос— резервуар» до тех пор, пока в резервуаре не будет получена однородная по составу смесь, показатели которой соответствуют требованиям, предъявляемым к готовому продукту.
Вместимость компонентных резервуаров при приготовлении топлив должна соответствовать 48-часовому запасу каждого компонента, а смесительных резервуаров— 16-ч-асовой выработке данного вида топлива. При получении товарных масел предусматриваются компонентные резервуары, исходя из 36-часового запаса каждого компонента, и смесительные резервуары, исходя из суточной выработки масел.
В табл. приводится пример расчета необходимой вместимости резервуарных парков смешения, автобензина.
Для улучшения условий перемешивания резервуары оборудуют смесительными устройствами: маточниками с большим числом отверстий, направленных вверх, вниз или под углом; так называемыми «пауками» с установленными на них инжекторами-смесителями; подъемными трубами, через которые продукт закачивают на определенную высоту от днища.
В аппаратах с перемешивающими устройствами готовят товарные масла. Для ряда НПЗ была запроектирована установка приготовления масел, в состав которой входят компонентные резервуары, смесители с принудительным перемешиванием, насосная, емкости для присадок и камеры для плавления присадок.
Оба описанных выше метода обладают рядом серьезных недостатков: повышенным расходом электроэнергии, малой производительностью смешения, необходимостью строительства смесительных резервуаров.

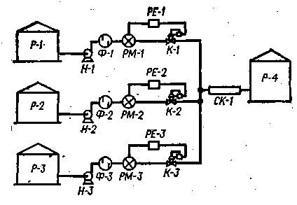
Рис. 1.3. Схема автоматической станции смешения:
Р-1—Р-3 — компонентные резервуары; Р-4 — товарный резервуар; Н-1—Н-3 — насосы; Ф-1—Ф-3 —фильтры; PM-J—PM-3— расходомеры; РЕ-1—РЕ-3— регуляторы; К-1—К-3 — регулирующие клапаны; СК-1 — смесительный коллектор.
Более эффективным является приготовление товарной продукции смешением в потоке. Для каждого НПЗ разрабатываются индивидуальные проекты автоматизированных систем (автоматических станций) смешения. Схема автоматической станции смешения, на которой приготавливается продукт из трех компонентов, приведена на рис. 1.3. В состав оборудования станции входят: компонентные резервуары, насосы, фильтры для очистки компонентов от механических примесей, газоотделитель (при приготовлении бензинов), измерители расхода, регулирующие клапаны, обратные, клапаны.
Объем резервуарного парка для хранения компонентов обуславливается производительностью станции смешения, необходимостью остановки для профилактического осмотра и ремонта, потребностью во времени для лабораторного анализа. Нормы технологического проектирования не регламентируют объема компонентных резервуаров, представляя право решать эту задачу проектировщикам. Оптимальные условия эксплуатации, как показывает практика, обеспечиваются при наличии 2-3 резервуаров для каждого компонента, общая вместимость которых соответствует 16—20-часовой выработке этого компонента.
Для перекачки каждого компонента следует предусматривать индивидуальные насосы, причем нежелательно, чтобы одним насосом компонент перекачивался в разные смесительные коллекторы.
В качестве измерителей расхода на станциях смешения применяются объемные счетчики или турбинные расходомеры. Широкое распространение получили венгерские турбинные расходомеры «Турбоквант», достоинством которых являются небольшие размеры, малая металлоемкость, простота ремонта. При разработке проектов станций смешения следует стремиться, чтобы максимальная производительность по компоненту не превышала 75% от пропускной способности расходомера, а минимальная не была близка к нижнему пределу пропускной способности.
Для управления процессом смешения в Рязанском СКВ Московского НПО «Нефтехимавтоматика» разработаны комплексы приборов управления «Поток». В состав комплексов входят блоки компонентов и управления.
Если схема автоконтроля блока компонента фиксирует отклонение действительного расхода компонента от заданного более чем на 0,5% в сторону уменьшения расхода, то формируется команда «Ошибка-1», по которой блок управления снижает скорость смешения.
В составе комплексов имеются основные и резервные блоки. При нарушении режима работы основных блоков резервные блоки подключаются к сети и форсированно выводятся на режим работы основного блока.
3. ХРАНЕНИЕ ТОВАРНОЙ ПРОДУКЦИИ
Хранение и отгрузка основного количества товарной продукции на НПЗ и НХЗ производится через товарно-сырьевые базы (ТСБ) предприятий. Отдельные виды продукции — битумы, элементарную серу, нефтяной кокс — отправляют потребителям непосредственно с технологических установок. При проектировании предприятий следует стремиться к тому, чтобы объекты по хранению и отгрузке продукции были сосредоточены в одном месте, что облегчает управление товарной базой, упрощает работу железнодорожного транспорта. Исключение делают для объектов по отгрузке сжиженных газов, которые в соответствии с противопожарными нормами проектирования следует размещать на расстоянии не менее 300—500 м от территории предприятия. Вместимость товарных складов (парков) зависит от устанавливаемых нормами технологического проектирования сроков хранения. Товарные парки должны обеспечивать возможность приема и хранения в них 15-суточной выработки, каждого из товарных нефтепродуктов. Вместимость складов сжиженных газов не должна превышать трехсуточной выработки этих продуктов. Если отгрузка товарных нефтепродуктов потребителям производится по трубопроводам, нормативный срок хранения сокращается до 7 суток.
Число устанавливаемых резервуаров зависит от количества подлежащего хранению продукта и единичной вместимости выбранного резервуара. Экономически целесообразно устанавливать меньшее число резервуаров большей вместимости. Так, расход металла на сооружение 6 резервуаров по 10 тыс. м3 составляет 955 т, а при строительстве 3 резервуаров по 20 тыс. м3 — 825 т.Сооружение резервуаров большей вместимости взамен мелких позволяет также уменьшить территорию, занимаемую парками.
Для каждого вида товарной продукции рекомендуется предусматривать не менее 3 резервуаров (в один поступает товарная продукция, второй находится на анализе, из третьего производится отгрузка продукции).
По, расположению и планировке резервуары делятся на подземные (если наивысший уровень жидкости в резервуаре ниже наинизшей планировочной отметки прилегающей площадки не менее, чем на 0,2 м) и наземные (если они не удовлетворяют вышеуказанным условиям). Для хранения товарной продукции НПЗ и НХЗ используются стальные емкости вместимостью 200 м3 (до ОСТ 26-02-1496—76); стальные резервуары вертикальные цилиндрические со щитовой кровлей вместимостью от 100 м3 до 30 тыс. м3 с понтоном и щитовой кровлей вместимостью от 100 м3 до 30 тыс. м3, с плавающей крышей вместимостью от 10 тыс..м3 до 50 тыс. м3; стальные резервуары с коническими днищами; горизонтальные емкости для хранения продуктов под давлением 0,6—1,8 МПа вместимостью отг25 м3 до_200_м,3 (по ОСТ 26-02-1159^-76); шаровые резервуары для хранения продуктов под давлением 0,25—1,2 МПа железобетонные резервуары.
В табл. 1.3 приведены рекомендации по выбору типа емкости для хранения продукции НПЗ и НХЗ. На рис. 1.4 изображен резервуар с плавающей крышей, применяемый для хранения бензина и других легкокипящих продуктов.
Безопасная и удобная эксплуатация резервуаров обеспечивается применением дополнительного оборудования, которое предназначено для заполнения и опорожнения резервуаров, замера уровня продукта, зачистки, .отбора проб, сброса подтоварной воды,

Рис. 1.4. Резервуар с плавающей , крышей:
1 — верхний настил крыши; 2 — нижний настил крыши; 3 — днище; 4- подвижная лестница.

Рис. 1.5. Схема расположения оборудования на вертикальных резервуарах для маловязких нефтепродуктов:
1— световой люк; 2 — вентиляционный патрубок; 3 — дыхательный клапан; 4 — огневой предохранитель; 5 — замерный люк; 6 — прибор для замера уровня; 7— люк-лаз; 8 —сифонный кран; 9 — хлопушка; 10 — при-емо-раздаточный патрубок; 11 — перепускное устройство; 12 — управление хлопушкой; 13 — крайнее положение приемо-раздаточных патрубков по отношению к оси; 14 — предохранительный клапан.
Пенотушения, поддержания определенного давления в резервуарах. На рис. 1.5 приводится схема расположения оборудования на вертикальных резервуарах, для маловязких нефтепродуктов.
При разработке проектов товарных баз для НПЗ и НХЗ рекомендуется использовать СНиП II-106—79
4. ОТГРУЗКА ТОВАРНОЙ ПРОДУКЦИИ
Товарная продукция НПЗ и НХЗ отгружается трубопроводным, железнодорожным, автомобильным - и речным транспортом.
Трубопроводный транспорт. По трубопроводам транспортируются потребителям светлые и темные нефтепродукты — бензин, дизельное и котельное топлива, а также сжиженные газы, этилен, аммиак. Экономически целесообразным трубопроводный транспорт становится при концентрированном потреблении продукта в одной точке и районе, когда по трубопроводу перекачиваются не менее 300—500 тыс. т продукта в год.
В ближайшие годы намечается значительно расширить сеть нефтепродуктопроводов. Постановление Совета Министров СССР о развитии сети нефтепродуктопроводов в 1981—1985 годах предусматривает сооружение новых трубопроводов для перекачки бензина и дизельного топлива в центральных районах страны, Сибири, Казахстане, создание ряда мазутопроводов, связывающих НПЗ с крупными тепловыми электростанциями, и керосинопроводов между заводами и аэропортами.
На территории НПЗ и НХЗ обычно размещаются головные сооружения нефтепродуктопроводов: склады (парки), головные насосные. Некоторые продуктопроводы имеют в составе головных сооружений собственные резервуарные парки, в которые продукт подается из резервуаров товарной базы НПЗ насосами товарной насосной. Более экономичным решением является использование в качестве головных сооружений резервуаров заводской товарной базы. Продукт в магистральный трубопровод подается непосредственно c этих резервуаров насосами головной насосной станции, размещаемой рядом с резервуарами.
Железнодорожный транспорт. Транспортировка продукции НПЗ и НХЗ по железной дороге является основным видом перевозки нефтепродуктов и ее ведущее значение сохранится в ближайшие годы. Основным видом тары для перевозки по железной дороге нефтяных и химических продуктов служат цистерны. Цистерны подразделяются на универсальные, предназначенные для перевозки различных грузов (нефти и светлых нефтепродуктов, нефти и мазута и т. д.) и специальные. В специальных цистернах перевозится какой-либо один вид продукции (например, сжиженные газы, кислоты, спирты). Характеристика Цистерн, изготавливаемых вагоностроительными заводами и используемых при перевозке нефтяных и химических .продуктов, приводится в литературе. Для отгрузки продукции нефтеперерабатывающих и нефтехимических предприятий в составе товарных баз проектируются специальные устройства. Если объем отгрузки ограничен десятками тысяч тонн в год, то предусматривают одиночные стояки или небольшие односторонние эстакады, состоящие из 5—10 стояков. Для отгрузки многотоннажных продуктов (бензин, реактивное, дизельное и котельное топлива, смазочные масла) сооружаются двухсторонние эстакады галерейного типа. Эстакады для налива реактивного топлива, авиационных бензинов, смазочных масел, присадок к маслам и других ЛВЖ и горючих жидкостей, в которые недопустимо попадание воды, должны быть оборудованы навесами и крышами. Температура ЛВЖ, подаваемых на налив, должна быть не менее, чем на 10°С, ниже температуры начала кипения наливаемого продукта.
Налив нефтепродуктов осуществляется в одиночные цистерны, группы и маршруты цистерн. Маршрутный налив цистерн более экономичен и должен предусматриваться при проектировании эстакад как основной вид налива.
Длина эстакады не должна быть меньше половины длины маршрута. Конструкция эстакад должна обеспечивать техническую возможность налива продуктов в железнодорожные цистерны всех типов, пригодные для перевозки данных продуктов. Проектирование железнодорожных эстакад на ограниченное число типов (моделей) цистерн допускается только при наличии согласования с Управлением железной дороги, обслуживающей предприятие, или с' предприятием — собственником цистерн.
В последние годы осуществляется постепенный переход железнодорожного транспорта на цистерны новых типов — шести восьмиосные вместимостью 90 и 120 м3. В проектах следует принимать во внимание особенности налива этих цистерн.
При разработке проектов железнодорожных эстакад необходимо учитывать возможность поступления под налив неисправных цистерн. Чтобы иметь возможность удалить из этих цистерн имеющийся в них продукт, проектом предусматриваются- самостоятельные эстакады с верхним и нижним сливом, которые оборудуются отдельными стояками и коллекторами для сливаемых продуктов. При небольших объемах отгрузки для слива неисправных цистерн могут быть запроектированы отдельно стоящие
СТОЯКИ.
Особые требования предъявляются к проектированию железнодорожных эстакад для слива и налива сжиженных газов. Эти эстакады должны быть отделены от прочих эстакад, оборудованы Самостоятельными коллекторами, трубопроводами, сливо-наливными устройствами и газоуравнительными системами для каждого вида наливаемых и сливаемых сжиженных газов. Одновременно с эстакадами для слива и налива сжиженных газов в составе товарно-сырьевых баз сжиженных газов следует проектировать эстакады для подготовки цистерн сжиженного газа под налив. Опыт проектирования эстакад освещен. Эксплуатация железнодорожных эстакад галерейного типа отличается большой трудоемкостью и применением ручного труда. Наиболее трудоемки подготовительные и вспомогательные операции, открытие и закрытие люков цистерн, заправка и подъем наливных шлангов и телескопических устройств и т. д. При проектировании железнодорожных эстакад следует предусматривать их оснащение средствами механизации и автоматизации: ограничителями налива, которые служат для автоматического прекращения подачи жидкости в цистерну при достижении в ней определенного уровня (ПОУН-1, ПОУН-2, НО-2М), устройствами механизации подъема— спуска наливных средств.
Автомобильный транспорт. Продукция НПЗ и НХЗ перевозится автомобильным транспортом в ограниченных размерах, На отдельных предприятиях имеются устройства для налива в автоцистерны мазута, битумов, бензина. Сооружения, предназначенные для полуавтоматического налива нефтепродуктов в автоцистерны и автотопливозаправщики, называются станциями налива. Станции налива оборудуются стояками, которые различаются по виду наливаемого продукта, По способу налива (герметизированные и негерметизированные), по виду управления процессом (автоматизированные и неавтоматизированные), по виду управления, (с механизированным и ручным управлением).
Станция налива состоит из 4—12 наливных «островков», располагаемых под навесом. Каждый островок оборудуется одним или двумя наливными стояками, в качестве которых применяются установки: автоматизированного налива с местным управлением АСН-5П, автоматизированного налива с дистанционным управлением АСН-5Н, автоматизированного и герметизированного налива АСН-12.
Водный транспорт. Нефтеперерабатывающие, заводы, расположенные вблизи крупных рек, отправляют в навигационный период часть своей продукции водным путем (в танкерах, баржах и лихтерах). Для налива сооружаются специальные причалы.
Налив нефтепродуктов осуществляется по трубопроводам, прокладываемым от резервуаров к причалам. Возможны два варианта организации налива: 1) подача продукта насосами из резервуаров товарного парка непосредственно в наливные суда; 2) подача продукта по трубопроводам в промежуточные резервуары, расположенные в непосредственной близости от причала с последующим поступлением нефтепродуктов в суда самотеком. Последний вариант применяют обычно 'в тех случаях, когда НПЗ расположен на расстоянии нескольких километров от причала.
В составе нефтепричалов проектируют следующие сооружения: водные подходы, причальные устройства (подходные эстакады, центральные платформы, швартовые палы, отбойные устройства), шлангующие устройства и установки.
При проектировании водных подходов необходимо определить глубину и ширину полосы акватории, глубину водных подходов. Проект причальных устройств включает выбор типа причальных сооружений, определение суточной пропускной способности одного причала и числа причалов, необходимого для отгрузки всего количества грузов. В проекте нефтепричала также решаются вопросы выбора шлангующих устройств, подготовки резервуаров, трубопроводов и нефтеналивных судов к сливо-наливным операциям, определяются методы борьбы с потерями нефтепродуктов при наливе и защиты водных бассейнов от загрязнения нефтепродуктами.
СПИСОК ИСПОЛЬЗОВАННОЙ ЛИТЕРАТУРЫ
1. Рудин М. Г., Смирнов Г. Ф. Проектирование нефте-перерабатывающих и нефтехимических заводов. –Л.: Химия, 1984.