Технология получения пива
Оглавление
1.Сырьевые компоненты
2.Аппаратурно-технологическая схема производства пива
3.Этапы процесса пивоварения
3.1 Соложение
3.1.1 Замачивание
3.1.2 Проращивание
3.1.3 Сушка
3.1.4 Отбивание ростков и хранение
3.2 Варка
3.2.1.Дробление
3.2.2.Затирание
3.2.3 Фильтрация
3.2.4 Кипячение
3.2.5 Отделение сусла от хмелевой дробины
3.2.6 Осветление и охлаждение
3.3 Брожение
3.3.1 Пивные дрожжи
3.3.2 Условия развития дрожжей
3.3.3 Бродильная активность дрожжей
3.3.4 Процессы, протекающие при главном брожении
3.3.5 Ведение главного брожения
3.3.6 Стадии и условия брожения
3.4 Дображивание
3.4.1 Процессы, протекающие при дображивании и созревании
3.4.2 Насыщение диоксидом углерода
3.5 Осветление
3.6 Созревание
3.7 Фильтрация
3.8 Пастеризация
3.9 Розлив
4.Список литературы
Введение
Как известно, самый древний рецепт пива был найден на глиняных табличках Месопотамии (стране, располагавшейся между Тигром и Евфратом на территории современного Ирака и Сирии). Этот рецепт относится приблизительно к 5000 году до нашей эры.
Появившись на заре цивилизации пиво, стало быстро распространяться по территории Африки, Азии и Европы.
Истории известны различные рецепты приготовления пива. К примеру, славяне в качестве сырья использовали рожь. Один из египетских рецептов требовало того, чтобы хлеб оставляли под дождём и затем давали ему бродить. В результате этого должна была получиться таинственная бодрящая стряпня. Пиво варилось из любого зерна, которое было под рукой. Большая часть европейцев выбрала традиционный ячмень и пшеницу в качестве материалов для слоения. Это и привило к рождению того напитка, который сегодня мы называем пивом.
В XII веке на развитие и пропаганду пивоварения в значительной степени повлияли монастыри. Прием напитков не считался нарушением религиозных постов, а густое пиво являлось еще и калорийным продуктом. Поэтому пиво было одним из наиболее важных элементов питания монахов в их скудном рационе.
Далее эволюция пивоварения прошла через следующие этапы: использование хмеля и переход на низовое брожение. Для данного типа брожения необходима низкая температура (5-9° С) и более длительные сроки.
Первые эксперименты по низовому брожению начали проводиться в Германии. После изучения и воспроизводства различных видов дрожжей популярность этого способа приготовления пива резко возросла. Появилось пиво, способное сохраняться несколько месяцев.
В первом известии о разведении хмеля говорилось: "От примеси этой пряности пиво стало прочнее, стало меньше бояться перевозок и мало-помалу сделалось предметом оживленной торговли". Традиционно для пивоварен закупались обычно два сорта хмеля - более ценный, для так называемых "лагерных1" сортов пива, сохранявшихся до лета, и более посредственный - для быстрого потребления (распивочного пива). Сегодня все ведущие производители производят «лагер».
Если суммировать определения, даваемые пиву, то можно сказать, что пиво - это слабоалкогольный, содержащий обычно от 2 до 6% спирта, пенящийся напиток, получаемый из крахмалистых веществ, проросших зерен (солода) различных злаков с добавлением воды, дрожжей, в настоящее время также хмеля и различных ароматических веществ, посредством брожения, но без перегонки.
1.Сырьевые компоненты
Солод
Солод, как правило, получают из ячменя. Вид ячменя, степень проращивания, температура, при которой он сушится, - все это влияет на цвет и вкус пива.
Кукуруза, рис, мальтозный сироп и иногда сахар могут быть добавлены во время приготовления сусла. Эти добавки изменяют вкус и характер солода и действуют как более дешевые сбраживаемые виды экстракта.
Солод сушат при более высоких температурах, чтобы получить разные виды специального солода: карамельный, шоколадный и черный солод.
Карамельный солод: сладкий солод медного цвета, который придает золотой цвет и ореховый вкус пиву. Часто используется при приготовлении темных сортов. Он также называется кристаллический солод.
Шоколадный солод: схож с черным солодом, но прожаривается меньше - до шоколадно-коричневого цвета.
Черный солод: прожаривается при повышенной температуре до очень темного цвета.
Стандартом на пиво допускается использование несоложеного ячменя, рисовой сечки, пшеницы, обезжиренной кукурузной муки. Главные требования, предъявляемые к качеству заменителей солода — это чистота и соответствие требованиям на продовольственное сырье. Применение несоложеного сырья экономически выгодно и технологически обосновано. Поэтому при приготовлении 10...11 % светлого пива следует обязательно применять не менее 20 % несоложеного сырья без использования ферментных препаратов. При использовании свыше 20 % несоложеного ячменя применение ферментных препаратов обязательно.
Хмель
Хмель - вьющееся растение с плодами-шишками, из женских особей которого путем перемалывания и прессования делают гранулы зеленого цвета. При добавлении в горячее сусло они растворяются и придают суслу/пиву горький вкус и аромат хмеля.
Он является одним из основных видов специфического сырья для производства пива, плюс ко всему очень дорогостоящим. Хмель придает пиву специфический горький вкус и аромат, способствует удалению из сусла некоторых белков, служит антисептиком, подавляя жизнедеятельность посторонней микрофлоры, участвует в осветление пены и её стойкости и увеличивает способность пива к хранению.
В пивоварении используют соцветия хмеля — хмелевые шишки, содержащие ароматические и горькие вещества. Горькие вещества представляют мягкие и твёрдые смолы. Ароматические вещества представлены в основном эфирным маслом, содержание которого колеблется от 0,3 до 2 %. Важная составная часть хмеля — дубильные вещества, количество которых достигает 3 %. В пивоварении используют высушенные хмелевые шишки, молотый брикетированный хмель, а также различные хмелевые экстракты.
Вода
Соли, содержащиеся в ней, влияют на вкус, аромат, цвет, органолептические показатели пива. Для приготовления светлых сортов пива используют в основном мягкую воду. Для темного пива жесткость воды может быть выше. В жесткой воде хмель дает более грубую горечь, цвет сусла получается более темным. К тому же вода, употребляемая для пивоварения, должна иметь слабокислую или нейтральную реакцию. Регулировать это можно за счёт способов водоподготовки: реагентного, ионообменного, электродиализного и мембранного. Для удаления неприятного запаха воду дезодорируют путем пропускания через колонку, заполненную активированным углем. Щелочная вода для пивоварения непригодна.
Дрожжи
Это одноклеточные микроорганизмы, грибы, растительного происхождения, которые являются возбудителями брожения, используемые для приготовления хлеба, вина, пива, кваса, виски и др. путем брожения. Для пивоварения используются пивные дрожжи, годные для многократного производства. На эти микpооpганизмы могут быть установлены авторские права. Многие пивные компании используют свои особые дрожжи, штаммы которых содержится в секрете.
Ферментные препараты
Используют при применении более 20 % несоложеного сырья в количестве от 0,001 до 0,075 % к массе перерабатываемого сырья.
Применяют амилолитические (Амилосубтилин Г10х, Амилоризин Пх и др.), протеолитические (Протосубтилин Г10х), цитолитические (Цитороземин П10х, Целлоконингин П10х и др.) ферментные препараты, а также их смеси в виде мультиэнзимных композиций.
Амилолитические препараты применяют при затирании при повышенном количестве несоложеного сырья и низком качестве исходного сусла. Они существенно повышают выход экстракта и улучшают качество сусла.
Протосубтилин Г10х используют при повышенных количествах несоложеного сырья и для улучшения качества сусла из некачественных солодов, а также для ликвидации коллоидных помутнений в пиве. Цитолитические препараты повышают выход экстракта за счет гидролиза некрахмальных полисахаридов, в основном гемицеллюлозы. Одновременно повышаются качество сусла и стойкость пива.
Наиболее перспективным средством является применение мультиэнзимных композиций (МЭК), которые, позволяют сохранить высокое качество «Жигулевского» пива при использовании до 60 % несоложеного сырья.
2.Аппаратурно-технологическая схема производства пива
Пиво – один из наиболее популярных освежающих напитков в России и в мире. Его производство – сложный биотехнологический процесс, требующий наличия серьезной технической и научной базы. Процесс усложняется необходимостью соблюдения довольно строгих экологических и санитарно-гигиенических норм, определенных государством.
Стадии технологического процесса
Приготовление пива можно разделить на следующие стадии:
- соложение
- варка
- брожение
- осветление
- созревание
- фильтрация
- осветление
- пастеризация
- розлив
Характеристика комплексов оборудования
Начальные стадии технологического процесса выполняются при помощи комплексов оборудования для измельчения солода и приготовления пивного сусла (варочные агрегаты, заторные и сусловарочные аппараты, фильтрационные аппараты и фильтр-прессы, гидроциклонные и хмелеотборные аппараты).
Следующим идет комплекс оборудования линии для охлаждения и осветления пивного сусла, состоящий из холодильных компрессионных установок, теплообменньгх аппаратов и пластинчатых теплообменников, отстойных аппаратов и сепараторов.
Ведущий комплекс оборудования линии предназначен для брожения (дображивания) пива и состоит из бродильных аппаратов и танков, установок для непрерывного брожения и дображивания.
Завершающим является комплекс оборудования линии для осветления пива, включающий фильтр-прессы, диатомитовые установки, фильтры и сепараторы для осветления пива, а также упаковочное оборудование.
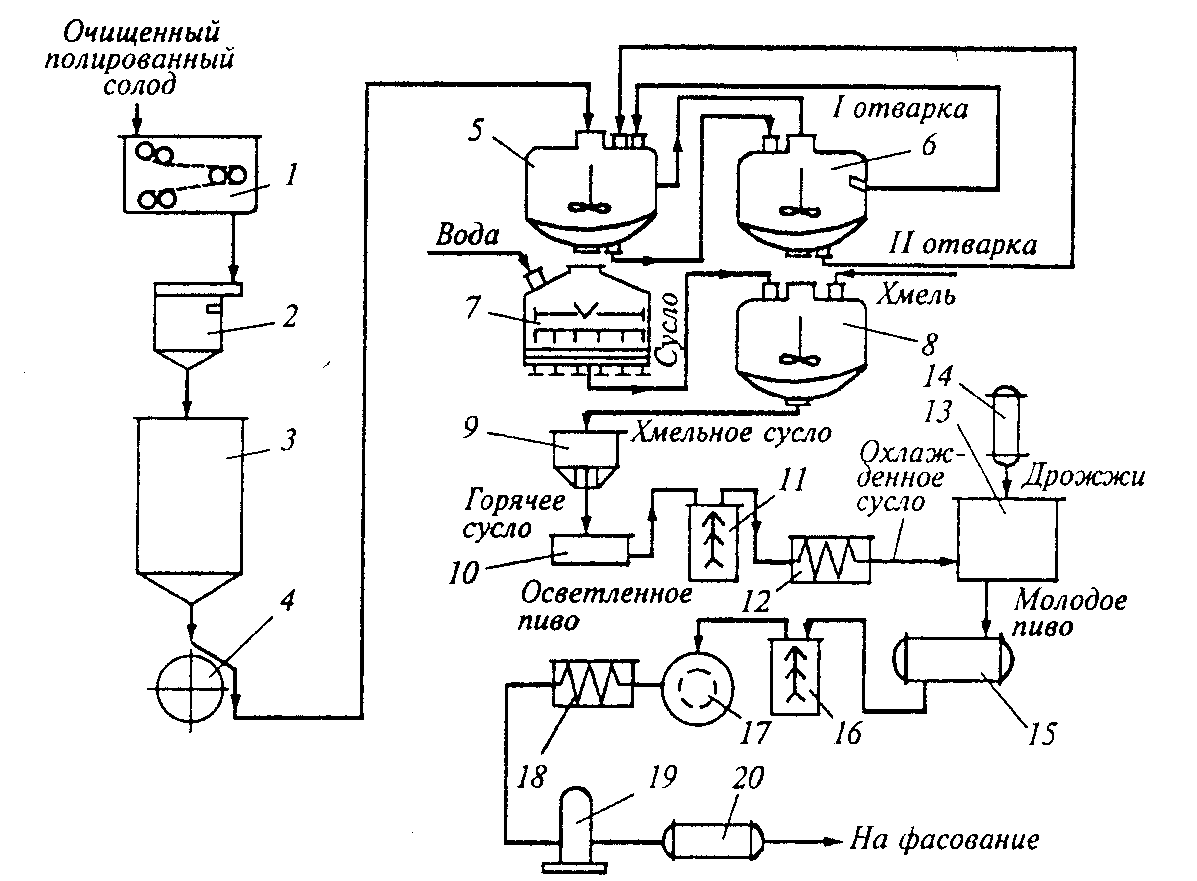
Машинно-аппаратурная схема линии производства пива представлена на рис. 1.
Устройство и принцип действия линии
Очищенный солод измельчается в вальцовой дробилке 1 в целях получения максимального количества мелкой однородной крупки и сохранения шелухи. Дробленый солод взвешивают весами 2 и ссыпают в бункер 3. Отлежавшийся дробленый солод проходит магнитную очистку в магнитоуловителе 4 и подается в заторный аппарат 5, где смешивается с теплой водой (около 20 °С) и перемешивается. По окончании перемешивания (затирания) часть заторной массы (около 40 %) перекачивают в другой заторный аппарат 6, где нагревают до температуры осахаривания (около 70 °С), а по окончании осахаривания — до кипения. При кипячении крупные частицы солода развариваются, после чего первую отварку возвращают в аппарат 5. При смешивании кипящей части затора с затором, оставшимся в аппарате 5, температура всей массы достигает 70 °С. Затор оставляют в покое для осахаривания. По окончании осахаривания часть затора снова перекачивают в аппарат 6 (вторая отварка) и нагревают до кипения для разваривания крупки. Вторую отварку возвращают в аппарат 5, где после смешивания обеих частей затора температура его повышается до 75...80 °С. Затем весь затор перекачивают в фильтрационный аппарат 7. Прозрачное сусло стекает в сусловарочный аппарат 8.
В аппарате 8 сусло кипятится с хмелем. При кипячении выпаривается некоторое количество воды, происходят частичная денатурация белков сусла и его стерилизация. Горячее охмеленное сусло спускают в хмелеотделитель 9, где вываренные хмелевые лепестки задерживаются, а сусло перекачивается в сборник горячего сусла 10.
Горячее сусло из сборника 10 подается в центробежный тарельчатый сепаратор 11, в котором оно очищается от взвешенных частиц коагулированных белков. Из сепаратора 11 сусло нагнетается в пластинчатый теплообменник 12, где охлаждается до 5...6 °С. Охлажденное сусло сливают в бродильный чан 13 вместе с дрожжами из чана 14. Брожение длится 6...8 сут. По окончании главного брожения молодое пиво отделяют от дрожжей и перекачивают в танк 15 для дображивания в течение 11...90 сут. По окончании дображивания пиво под давлением диоксида углерода нагнетается в сепаратор-осветлитель 16 и фильтр 17, где оно освобождается от взвешенных в нем дрожжей, других микроорганизмов и мелкодисперсных частиц. Осветленное пиво охлаждается рассолом в теплообменнике 18, насыщается (при необходимости) диоксидом углерода в карбонизаторе 19 и сливается в танк 20. Отфильтрованное пиво из танка 20 под давлением подается в отделение упаковывания в потребительскую и торговую тару.

Рис.1. Машинно-аппаратурная схема линии производства пива.
1 – вальцевая дробилка; 2 – весы; 3 – бункер; 4 – магнитоуловитель; 5,6 – заторный аппарат; 7 – фильтрационный аппарат; 8 – варочный аппарат; 9 – хмелеотделитель; 10 – сборник; 11 – сепаратор; 12 – пластинчатый теплообменник; 13 – бродильный чан; 14 – чан с дрожжами; 15 – танк; 16 – сепаратор-осветлитель; 17 – фильтр; 18 – теплообменник; 19 – карбонизатор; 20 – танк.
3.Этапы процесса пивоварения
3.1 Соложение
Солод является основным сырьем для производства пива. Солод, как правило, готовят из ячменя. Для определенных сортов пива в качестве сырья для соложения используют рожь или пшеницу.
Соложение проходит в 4 этапа:
3.1.1 Замачивание
Ячмень для производства солода хранится на элеваторе при определенных влажности и температуре. По галерее он поступает на солодовню. Из галереи зерно попадается в чаны замачивания. Здесь ячмень смешивается с водой, промывается и впитывает влагу. Проводится так называемое барбатирование, т.е. пробулькивание воздухом через слой зерна и воды. Замачивание длится двое суток - сутки в чане первого дня и сутки в чане второго дня. Когда зерно наберет определенную влажность (около 45%), оно поступает в отделение проращивания.
3.1.2 Проращивание
Зерно рассыпается по конвейеру ровным тонким слоем. Чтобы процесс протекал одинаково для всех зерен, их перемешивают специальным ворошителем. Проращивание длится 5 суток, и за это время из зерна пробивается корешок, внутри зерна формируется листок. В процессе регулируется влажность, температура и объем продуваемого воздуха, чтобы придать зерну свойства, требуемые для производства пива.
3.1.3 Сушка
Когда зерно достигнет пивоваренных кондиций, проращивание останавливается путем пропускания сквозь слой ячменя горячего (около 80°С) воздуха. При этом испаряется содержащаяся в зернах вода, и влажность снижается до 5%. Продолжительность процесса - сутки.
3.1.4 Отбивание ростков и хранение
У зерен отбиваются корешки, и затем солод по галерее транспортируется на элеватор. Готовый солод хранится на элеваторе около 1,5 месяцев. За это время происходит выравнивание свойств (влажности, температуры) отдельных зерен. Затем солод подается в варочный цех.
3.2 Варка
Варка - это процесс, в результате которого солод превращается в сладкую жидкость, называемую суслом.
Варка проходит в несколько этапов:
3.2.1 Дробление
Зерно очищается от грубых примесей и пыли. После этого зерно дробится. В результате дробления получается смесь шелухи, крупки и муки.
3.2.2 Затирание
Дробленый солод помещается в заторный котел. Здесь он смешивается с водой и нагревается. При затирании ферменты расщепляют компоненты солода. В пиво могут перейти только растворимые вещества. Все вещества, переходящие в раствор называются экстрактом. Растворимые вещества – это различные сахара, минеральные вещества и определенные белки.
Превращения при затирании.
На первых стадиях затирания в раствор переходят углеводы, частично белки и продукты их гидролиза, пектиновые, дубильные и горькие вещества, ферменты и минеральные соли, составляющие 10...15 % сухих веществ солода. В несоложеном сырье их примерно в 2...3 раза меньше. Основные же компоненты зернопродуктов — крахмал и белки нерастворимы. Поэтому их перевод в растворимое состояние осуществляется в результате направленного действия соответствующих ферментов.
Гидролиз крахмала начинается при солодоращении. При затирании крахмал проходит три стадии: клейстеризацию, разжижение и осахаривание. Собственно гидролиз крахмала (осахаривание) представляет собой разжижение крахмального клейстера, которое сопровождается накоплением в среде декстринов, мальтозы и глюкозы.
Схематически гидролиз крахмала можно представить в виде схемы: Крахмал —> Амилодекстрины -> Эритродекстрины -> Ахродекстрины -> Мальтодекстрины -> Мальтоза -» Глюкоза.
Процесс осахаривания контролируется по йодной реакции, так как крахмал и декстрины дают различный цвет с йодом: крахмал и амилодекстрины — синий, Эритродекстрины — краснобурый, ахродекстрины и другие продукты гидролиза цвет йодного раствора не изменяют. Поэтому термин «осахаривание» в бродильном производстве означает не процесс превращения крахмала в сахара, а исчезновение окраски йодного раствора.
К гидролизу крахмала при затирании предъявляют следующие требования: сусло не должно содержать амило- и эритродекстринов, дающих окраску с йодом, но кроме мальтозы в сусле должны содержаться ахро- и мальтодекстрины, придающие пиву полноту вкуса и повышающие его вязкость. При правильно проведенном затирании, из крахмала должно образоваться 20... 30 % декстринов и 70.-.80 % «сырой» мальтозы, к которой относятся все продукты гидролиза крахмала, обладающие редуцирующей способностью, в пересчете на мальтозу.
Цитолитические ферменты гидролизуют гемицеллюлозы и гумми-вещества, входящие в состав клеточных стенок зернового сырья. При этом образуются декстрины, глюкоза, ксилоза и арабиноза. Продукгы гидролиза некрахмальных полисахарилов повышают выход экстракта, снижают вязкость раствора, благоприятно влияют на вкус пива, образование пены и ее устойчивость.
Однако гидролиз некрахмальных полисахаридов зависит от действия протеолитических ферментов на белок, с которым эти вещества связаны.
Как и крахмал, белки начинают гидролизоваться в процессе солодоращения. Их гидролиз происходит в основном под действием эндопептидаз солода. Ферментативное расщепление белков можно представить в следующем виде: Белки -> Альбумозы —> Пептоны -> Полипептиды -> Пептиды —> Аминокислоты. Около 35 % белков (от общего содержания в сырье) должно переходить при затирании в сусло. Рекомендуется следующее соотношение фракций продуктов гидролиза белка (%): А:В:С = 25:15:60. Пептоны и полипептиды (фракция В) обусловливают образование пены пива, а пептиды и аминокислоты (фракция С) необходимы для питания дрожжей. Высокомолекулярные продукты гидролиза белка (фракция А) влияют на стойкость пива. Поэтому недостаточный гидролиз белка приводит к резкому снижению органолептических свойств пива и его стойкости при хранении.
При затирании протекают также многочисленные неферментативные процессы: экстракция образующихся растворимых веществ, образование меланоидинов, частичная коагуляция белка и др.
3.2.3 Фильтрация
Затем масса перемещается в фильтр-чан, где на перфорированном дне осаждается зерновой слой, а жидкость становится прозрачной и поступает в сусловарочный котел. Сладкая янтарная жидкость, получаемая в результате фильтрации, называется суслом. Остающееся после фильтрации зерно - дробина - используется на корм скоту.
Превращения при фильтровании затора.
Фильтрование первого сусла представляет собой в основном физический процесс. При выщелачивании дробины водой протекает конвективная диффузия, а также различные химические процессы, главным образом обменные реакции. С понижением концентрации сусла его рН возрастает от 5,7 до 6,2, что приводит к увеличению растворения кремниевой кислоты, полифенольных, дубильных, горьких и других веществ оболочки зернопродуктов. Это повышает цветность пива, что может служить причиной ухудшения его вкуса.
3.2.4 Кипячение
Сусло передается из фильтр-чана в сусловарочный котел и доводится до кипения. При кипении добавляется хмель, который придает суслу горечь и аромат. Как правило, хмель, который был добавлен на раннем этапе кипячения, придает пиву остроту и легкую горечь. Добавление хмеля в конце процесса кипячения придает аромат и смягчает горечь. Хмель также является природным консервантом, повышающим стойкость пива.
Превращения при кипячении сусла с хмелем.
Дробленые зернопродукты всегда содержат некоторое количество микроорганизмов. При кислой реакции среды сусла стерилизация достигается уже через 15 мин кипячения.
При кипячении хмеля в сусло переходит значительная часть его углеводов, белковых, горьких, дубильных, ароматических и минеральных веществ. Ароматизация сусла происходит в результате растворения в нем специфических составных частей хмеля и продуктов реакции меланоидинообразования.
С повышением температуры сусла происходит денатурация белков, которая внешне характеризуется появлением мути. Кипячение сусла с хмелем сопровождается снижением его вязкости и повышением цветности в результате реакции меланоидинообразования, карамелизации сахаров, окисления полифенольных веществ и растворения красящих веществ хмеля.
3.2.5 Отделение сусла от хмелевой дробины
Сразу после кипячения сусло освобождают от хмеля в хмелеотборном аппарате, который устанавливают под сусловарочным аппаратом. В хмелевой дробине остается 6—7 дм3 сусла на 1 кг хмеля, поэтому с промывают горячей водой для дополнительного выщелачивания экстрактивных веществ хмеля, и промывную воду присоединяют к суслу. Затем аппарат заполняют водой, смешивают с хмелевой дробиной и смесь удаляют насосом 15 в отходы. Вместе с хмелевой дробиной удаляется значительная часть скоагулировавших белков.
Хмелевую дробину промывают горячей водой, которую присоединяют к суслу. Воды следует использовать столько, на сколько объем сусла уменьшился за счет испарения во время перекачнвания и охлаждения. Последнюю промывную воду можно использовать на затирание.
3.2.6 Осветление и охлаждение
После кипячения сусло перекачивается в турбулентный чан (гидроциклон) - цилиндрический сосуд, в котором сусло закручивается, и хлопья белка собираются в центре. После отделения белка таким образом прозрачное сусло передается на охлаждение и аэрацию. Сусло охлаждается с температуры около 100° С, до 15 °С за несколько секунд. Затем в сусло впрыскивается кислород, необходимый для питания дрожжей при брожении.
Превращения при охлаждении и осветлении сусла.
В охлаждаемом сусле остаются скоагулированные белки, которые находятся в состоянии тонких взвесей (суспензий). При понижении температуры они осаждаются.
В течение всего процесса охлаждения сусло поглощает кислород воздуха, который при температуре выше 40 °С расходуется на окисление органических веществ сусла, что приводит к потемнению сусла, снижению хмелевого аромата и хмелевой горечи.
Охлаждение сусла сопровождается испарением некоторого количества воды, что приводит к уменьшению его объема и повышению концентрации.
3.2.7 Выход экстрактивных веществ и потерь при получении пивного сусла
Оценить работу варочного цеха и определить правильность режима затирания можно на основании расчета выхода экстракта (%):
Э = V*m*d * 0,96/М,
где V — количество горячего сусла в сусловарочном аппарате, л: т — содержание сухих веществ в сусле, %; d— плотность сусла, кг/л; 0,96 — поправочный коэффициент на уменьшение объема сусла при его охлаждении: М — масса перерабатываемых зернопродуктов, кг.
При хорошей работе варочного отделения разница между выходом экстракта и экстрактивностью переработанных зернопродуктов не должна превышать 1,6...2,2 %.
В зависимости от сорта пива потери экстракта в варочном цехе колеблются от 2,6 до 2,8 %, а потери в пивной и хмелевой дробине (к объему горячего сусла) на стадии осветления и охлаждения сусла — от 5,5 до 7,0 %, в том числе 4 % составляют мнимые потери объема в результате сжатия сусла при его охлаждении от 100 до 20 °С.
3.3 Брожение
Процесс брожения представляет собой переваривание дрожжами сахаров сусла с выделением дрожжами этилового спирта и углекислого газа, как основных продуктов процесса. В ходе брожения происходит образование сотен сложных органических веществ, которые обуславливают аромат, вкус, цвет готового пива.
В охлажденное сусло добавляют специальные культурные дрожжи. На первом этапе брожения они размножаются, их количество увеличивается в несколько раз, потом они (с уменьшением количества питательных веществ в среде и накоплением спирта) прекращают свою активность, объединяются в группы по несколько клеток и оседают на дно ЦКТ (цилиндро-конический танк - емкость, в которой происходит процесс брожения).
Процесс активного брожения занимает около недели, после чего температура в ЦКТ снижается с 15° С до 0° С. При охлаждении дрожжи еще активнее и плотнее осаждаются на дно ЦКТ.
Осевшие дрожжи удаляются со дна ЦКТ насосом и собираются в дрожжевые сборники, откуда могут повторно (несколько раз) добавляться в свежее сусло для проведения нового процесса брожения. Цикл жизни дрожжей за время одного брожения называется генерацией. Дрожжи, сделавшие пиво из сусла, например, 3 раза, называются дрожжами третьей генерации.
3.3.1
Пивные дрожжи
В пивоваренном производстве используют только культурные дрожжи, которые относятся к семейству Saccharomycetaceae и роду Saccharomyces. Различают дрожжи низового брожения и дрожжи верхового брожения. Дрожжи верхового брожения относят к виду Saccharomyces cerevisiae, дрожжи низового брожения первоначально были отнесены к виду S. carlsbergensis, затем S. uvarum или к S. cerevisiae. Но в настоящее время пивовары-практики продолжают считать низовые дрожжи относящимися к виду S. carlsbergensis.
Первоначально были известны дрожжи верхового брожения, так как брожение проходило только при обычной температуре (в виноделии, хлебопечении). Желая получить напитки, насыщенные диоксидом углерода, стали проводить брожение при низких температурах под влиянием изменившихся внешних условий и были получены дрожжи низового брожения с определенными свойствами.
В пивоваренном производстве применяют разновидности дрожжей, отличающихся друг от друга одной или несколькими особенностями. Их получают из одной клетки. Такие культуры называют расами (штаммами).
Дрожжи верхового брожения в процессе интенсивного брожения всплывают на поверхность сбраживаемой жидкости, накапливаются в виде слоя пены и остаются в таком виде до конца брожения. Затем они оседают, образуя весьма рыхлый слой на дне бродильного аппарата. По своей структуре эти дрожжи относятся к пылевидным дрожжам, не слипающимися между собой, в отличие от хлопьевидных низовых дрожжей, оболочки которых клейкие, что приводит к слипанию (агглютинации) и быстрому осаждению клеток.
Дрожжи низового брожения не переходят в поверхностный слой пива - пену, а по окончании брожения быстро оседают и образуют плотный слой на дне бродильного аппарата.
3.3.2 Условия развития дрожжей
Флокуляция - это объединение дрожжей в рыхлые хлопьевидные агрегаты. В пивоварении под флокуляцией понимают обратимую агрегацию дрожжевых клеток, которая зависит как от свойств расы дрожжей, так и от состава, концентрации, температуры сусла.
После образования дрожжами хлопьев начинается физический процесс седиментации - оседание под действием сил тяжести.
Способность дрожжей к хлопьеобразованию (флокуляции) имеет большое значение для технологии сбраживания пивного сусла, так как способствует ускорению осветления пива и облегчает съем дрожжей из бродильного аппарата после брожения с последующим повторным использованием их в качестве семенных дрожжей. Низкая температура при брожении, кислотность среды (рН 4-4,4) содействуют хлопьеобразованию.
Реакция среды сильно влияет на свойства дрожжей. Например, в кислой среде при рН менее 3 и в щелочной среде при рН более 8 хлопьевидные дрожжи становятся пылевидными. Хлопьевидные дрожжи по сравнению с пылевидными имеют более крупные клетки, меньше подвержены автолизу, дают больший прирост биомассы, обладают меньшей бродильной активностью, образуют меньше диацетила и высших спиртов в пиве, что положительно сказывается на его качестве.
Дрожжи низового брожения отличаются от дрожжей верхового брожения тем, что они полностью сбраживают рафинозу, имеют оптимальную температуру для роста 25—27 °С и минимальную 2—3°С, и при 60-65 °С - отмирают. Максимальное размножение низовых дрожжей происходит при рН 4,8-5,3. Кислород, растворенный в сусле, способствует размножению дрожжей, в то время как продукты брожения (этиловый спирт, диоксид углерода, высшие спирты, ацетальдегид, кислоты), а также повышенная концентрация сахара угнетают развитие дрожжей.
Пивные дрожжи должны отвечать следующим требованиям: быстро сбраживать сусло, придавать пиву чистый вкус и приятный аромат, активно образовывать хлопья, осветляя таким образом пиво и ходе брожения.

3.3.3
Бродильная активность дрожжей
Определяют по степени сбраживания сусла.
Степень сбраживания (V) ~ это показатель, выражений в процентах, характеризующий отношение массы сброженного экстракта (Е-е) к массе сухих веществ в начальном сусле (Е):
V = 100 (E-e)/ Е,
е — содержание экстрактивных веществ в пиве, % к массе пива.
По степени сбраживания дрожжи делятся на сильно- или высокосбраживающие (степень сбраживания 90-100%), среднесбраживающие (80-90%), слабо- или низкосбраживающие (менее 80%).
К сильносбраживающим относятся дрожжи рас: 11, f-чешская, 4, 308, 129, Ф-2, 8аМ, 70. Дрожжи расы 11 сразу начинают сбраживать мальтозу (в отличие от других дрожжей, которые сначала сбраживают глюкозу), не требовательны к качеству сырья, хорошо оседают, пиво характеризуется полным вкусом. Дрожжи расы f-чешская хорошо осветляют пиво, придают ему приятный аромат, устойчивы к инфекции и автолизу. Дрожжи штамма 8аМ имеют высокую бродильную активность, повышенный коэффициент размножения, хорошо оседают, а дрожжи штамма Ф-2 способны сбраживать мальтотетрозу и низкомолекулярные декстрины, поэтому глубоко выбраживают сусло. Использование дрожжей этих двух рас дает возможность сократить длительность главного брожения с 7 до 5 сут. и получить пиво с хорошим вкусом. Дрожжи расы 34 быстросбраживающие, но прихотливы к качеству сырья. Также повышенные требования к сырью у дрожжей расы 308. Пиво, сбраженное дрожжами рас 8аМ, 11, f-чешская, более устойчиво к холодному помутнению.
К среднесбраживающим относятся дрожжи рас 776, 41, 44, S-львовская, Р (получена из Чехии), А (выделена на рижском пивоваренном заводе «Алдарис»), гибрид 131-К. Дрожжи расы 776 неприхотливы к сырью, их можно использовать для приготовления пива с применением несоложеных материалов. Готовое пиво имеет удовлетворительный вкус, резкую хмелевую горечь. Дрожжи рас 41, 44, S и Р обладают хорошей способностью оседания, вкус пива получается истым, мягким. Дрожжи расы 44 дают возможность получать хорошее пиво при применении воды повышенной жесткости. Дрожжи расы А хорошо осветляют пиво, устойчивы к инфекции.
Дрожжи расы 131-К не сбраживают сахарозу, лактозу и рафинозу и используются только для приготовления темных сортов пива со сладким вкусом.
Для темных и специальных сортов, вырабатываемых на некоторых минипивоваренных заводах, и для домашнего приготовления рекомендуется применять дрожжи верхового брожения.
Хранят дрожжи чистой культуры в стерильных пробирках на скошенном охмеленном сусло-агаре при температуре 4° С и пересевают раз в полгода.
Следует учитывать, что дрожжи могут быть кислородзависимыми и кислороднезависимыми, то есть их жизнедеятельность зависит или не зависит от количества растворенного в сусле кислорода. Например, дрожжи 11-й расы кислороднезависимые, 776-й - средне-кислородзависимые, а для дрожжей штамма 8аМ требуется дополнительная аэрация сусла.
Активность дрожжей зависит от состава сусла, содержания солей в воде, поэтому на разных заводах пиво, полученное с применением одних и тех же дрожжей, имеет разный вкус.
Требования, предъявляемые к качеству дрожжей, не всегда удовлетворяются одной расой, поэтому иногда в производстве применяют смесь рас или ведут брожение сусла отдельно на разных расах, а затем смешивают молодое пиво.
3.3.4 Процессы, протекающие при главном брожении
Большая часть экстракта сусла состоит из углеводов, из них около 75% сбраживается (сбраживаемые сахара). Часть экстракта - несбраживаемые вещества, к ним относятся декстрины, белки, минеральные вещества и др. При спиртовом брожении в сусле протекают биологические, биохимические и физико-химические процессы. Питательные вещества, поступающие в дрожжевые клетки из сусла, под действием ферментов превращаются в различные промежуточные продукты, расходуемые на спиртовое брожение и рост дрожжей. Наиболее интенсивное размножение дрожжей (биологический процесс) происходит в начальной стадии сбраживания пивного сусла и заканчивается задолго до конца брожения.
Основным биохимическим процессом брожения является превращение сбраживаемых сахаров в результате культивирования дрожжей в этиловый спирт и диоксид углерода, описываемое уравнением Гей-Люссака:
С>6>Н>12>0>6>= 2C>2>Н>5>ОН + 2С0>2> + 234,5 кДж/ммоль.
Из 180,1 г глюкозы можно получить 92,1 г этилового спирта и 88 г диоксида углерода. Но наряду с этими первичными продуктами часть сахара расходуется на образование побочных вторичных продуктов, в результате из сахара получается не 92,1 г, а примерно 87 г этилового спирта.
Сахара сбраживаются в определенной последовательности, что обусловлено скоростью их проникновения в дрожжевую клетку. В первую очередь сбраживаются свободные фруктоза и глюкоза. Сахароза предварительно гидролизуется ферментом β-фруктофуранзидазой дрожжей до глюкозы и фруктозы. После фруктозы и глюкозы дрожжи расходуют мальтозу, которая также под действием фермента -глюкозидазы превращается в легкосбраживаемую глюкозу. Мальтотриоза расходуется дрожжами медленно и не полностью. В сусле, богатом мальтозой, мальтотриоза почти не сбраживается. Около 2% сахаров используется на построение дрожжевых клеток.
Этиловый спирт и диоксид углерода являются основными продуктами спиртового брожения. Кроме того, в сусле накапливаются вторичные продукты брожения, образующиеся из Сахаров: биомасса дрожжей, глицерин, уксусный альдегид, уксусная, янтарная, лимонная молочная кислоты, ацетоин; 2,3-бутиленкгликоль, диацетил. В качестве побочных продуктов брожения из аминокислот образуются высшие спирты, оказывающие влияние на аромат и вкус пива.
Вредное влияние на качество пива оказывают продукты брожения диацетил и ацетоин, которых много в молодом пиве. Диацетил придает пиву медовые запах и привкус, а ацетоин — затхлый привкус. При дображивании концентрация этих веществ резко снижается их влияние на вкус и запах становится незначительным.
На букет пива влияют диацетил, высшие спирты, сложные эфиры, альдегиды, серосодержащие соединения.
В результате сбраживания Сахаров, преимущественно в аэробных условиях, пивное сусло превращается в молодое пиво. В образовавшиеся в нем продукты спиртового брожения участвуют в формировании специфического вкуса и аромата пива (букет пива). При дображивании, когда температура молодого пива снижаете в бродильном аппарате, создается избыточное давление и условия брожения становятся близкими к анаэробным. Размножение дрожжевых клеток в это время резко ограничено и сбраживаемые сахара расходуются преимущественно на образование спирта и диоксида углерода.
Сбраживание сусла сопровождается изменением рН сусла: в молодом пиве рН 4,2-4,6, что обусловлено образованием из сахаров диоксида углерода и органических кислот, преимущественно янтарной и молочной. Наибольшее снижение рН происходит на третий день брожения. Увеличивается титруемая кислотность пива.
Физико-химические процессы характеризуются изменением окислительно-восстановительного потенциала (гН>2>). Быстрое снижение гН>2> объясняется тем, что при брожении в сусле происходит уменьшение концентрации продуктов окисления и накопление продуктов восстановления. В охлажденном сусле гН>2> больше 20, а в период интенсивного брожения, когда дрожжи потребляю: весь растворенный кислород, на обменные процессы внутри клетки значение гН>2> снижается до минимума, достигая 10.
В закрытых бродильных аппаратах гН>2 >пива ниже, чем в открытых, где кислород, хотя и слабо, но проникает через тонкий слой пены. Чем ниже величина гН>2> в процессе брожения, тем выше качество получаемого пива. При высоких значениях гН>2> сусло и молодое пиво темнеют, вкус готового пива ухудшается, оно быстро мутнеет.
Для своего развития, роста и размножения дрожжи потребляют азотсодержащие соединения сусла (аммонийные соединения, аминокислоты, несколько хуже дипептиды и в очень незначительном количестве трипептиды). При этом 40~45% азота они поглощают, а 1/3 от потребленного азота выделяют в окружающую среду. В результате меняется состав азотистых веществ сбраживаемого сусла.
При сбраживании сусла растворенные белковые вещества частично денатурируют, а затем флокулируют (слипаются) и осаждаются. Во время главного брожения, в результате осаждения белка и усвоения дрожжами азотистых веществ, содержание их в сбраживаемом сусле уменьшается примерно на 1/3.
При брожении осаждаются также полифенольные вещества. Образование этилового спирта, эфиров, снижение рН способствуют коагуляции высокомолекулярных соединений сусла.
Диоксид углерода, который образуется при брожении, сначала растворяется в сбраживаемом сусле, а потом (после насыщения им сусла) начинает выделяться в виде пузырьков, на поверхности которых адсорбируются поверхностно-активные вещества (белки, пектин, хмелевые смолы). Пузырьки газа, покрытые слоем этих веществ, слипаются и образуют на поверхности сусла слой пены. В определенный период брожения внешний вид пены приобретает форму завитков, которая характеризует определенную стадию брожения.
При брожении цветность сусла для светлых сортов пива заметно уменьшается, а для темных сортов - изменяется меньше. Снижение цветности объясняется тем, что часть красящих веществ выводится с пеной, часть окисленных полифенольных веществ восстанавливается, а уменьшение рН при брожении снижает интенсивность цветности пива (проявляются индикаторные свойства красящих веществ).
3.3.5 Ведение главного брожения
Ведение главного брожения включает три основные технологические операции: наполнение бродильного аппарата охлажденным суслом, введение в сусло дрожжей и сбраживание его до получения молодого пива. Дополнительными операциями являются снятие деки (тонкий слой опавшей коричневой пены), перекачивание молодого пива на дображивание, отбор и подготовка семенных дрожжей, мойка, дезинфекция и подготовка аппарата для следующего цикла.
3.3.6 Стадии и условия брожения
Главное брожение протекает в несколько стадий, которые различаются по внешнему виду поверхности сбраживаемого сусла, а также по изменению экстрактивности и степени осветления молодого пива.
В первой стадии брожения, называемой забелом, на поверхности бродящего сусла по периферии появляется полоса нежно-белой пены. Эта стадия продолжается 1-1,5 суток и характеризуется интенсивным почкованием и размножением дрожжей. При этом экстрактивность сусла снижается от 0,2 до 0,5% в сутки; рН - на 0,15-0,2, температура поднимается на 0,2-0,3°С в сутки.
Вторая стадия брожения - период низких завитков характеризуется более интенсивным выделением диоксида углерода, образованием густой, компактной, поднимающейся пены, которая по внешнему виду представляет собой завитки красивой формы. Пена, вначале белая, постепенно темнеет из-за окисления хмелевых смол и частичного обезвоживания. Экстрактивность сусла в этой стадии снижается на 0,5—1% в сутки; рН в конце стадии становится 4,9-4,7 (при начальном 5,6); температура растет на 0,5-0,8"С в сутки. Продолжительность стадии 2—3 сут.
Третья стадия брожения — стадия высоких завитков характеризуется наибольшей интенсивностью брожения, максимальной температурой процесса. Убыль экстракта достигает 1-1,5% в сутки. Пена становится рыхлой, объемной, завитки достигают наибольшей величины, верхние участки завитков имеют коричневый цвет, нижние - белый, рН снижается до 4,6-4,4. Размножение дрожжей приостанавливается в связи с недостатком кислорода и уменьшением питательных веществ. Стадия длится 3-4 сут. В начале этой стадии сусло необходимо охлаждать.
В четвертой стадии, называемой стадией опадания завитков или формирования деки, пена опадает, исчезают завитки, в результате чего поверхность сусла покрывается тонким слоем деки. Опадание завитков продолжается 2 суток. Экстрактивность сбраживаемого сусла понижается на 0,5-0,2% в сутки. Прекращается размножение дрожжей и брожение.
Каждой стадии брожения соответствуют изменения химического состава сусла и определенная концентрация дрожжевых клеток. Например, при сбраживании сусла для пива с концентрацией начального сусла 11 % (Жигулевского) содержание дрожжевых клеток во взвешенном состоянии будет следующим:
Стадия брожения Содержание дрожжевых клеток, млн/см3
Исходное сусло 20-25
Забел 60-50
Низкие завитки 60-50
Высокие завитки 30-25
Формирование деки 16-5
Осветление 3,5-1,5
Для сусла с более высокой массовой долей сухих веществ число дрожжевых клеток в исходном сусле увеличивают до 30—40 млн./см3.
По мере сбраживания и снижения рН сусла дрожжевые клетки покрываются слизистой пленкой из веществ, обладающих клеящими свойствами. Слипаясь между собой, они оседают на дно аппарата.
В хлопьеобразовании и оседании дрожжевых клеток важную роль играет их электрический потенциал. Во время размножения дрожжевые клетки заряжены отрицательно, а к концу брожения, когда рН сусла снижается до 4,4—4,2, клетки приобретают положительный заряд. Белковые частицы в сусле заряжены отрицательно, поэтому в конце главного брожения они соединяются с дрожжевыми клетками, образуя агрегаты (крупные хлопья), что влечет за собой интенсивное выпадение осадка. После оседания дрожжей брожение прекращается, и пиво становится более прозрачным. На этом процесс главного брожения считают законченным. Полученный продукт называют молодым пивом.
При спиртовом брожении 1 кг сброженного сахара выделяет 560,8 кДж теплоты, что приводит к повышению температуры сусла. Для поддержания в сусле определенного температурного режима через змеевики, установленные внутри бродильных аппаратов, пропускают охлажденную воду температурой 0,5 °С. Вместо змеевиков иногда используют также холодильные пояса, приваренные снаружи к боковым стенкам бродильного аппарата. Такая система охлаждения более удобна и экономична.
Наибольшая температура сусла достигается примерно на 3-й день брожения, и ее поддерживают на этом уровне 1-2 дня по возможности без колебаний. Затем молодое пиво постепенно охлаждают со скоростью °С в сут, так как дрожжи весьма чувствительны к резкому понижению температуры.
Известно, что растворимость С0>2> увеличивается с понижением температуры, поэтому, чтобы сохранить в молодом пиве максимально возможную концентрацию растворенного газа, температуру перед передачей пива на дображивание снижают до 5-4 °С. Содержание диоксида углерода в молодом пиве обычно составляет около 0,2%.
При главном брожении большая часть экстрактивных веществ превращается в продукты брожения. Ход этого процесса контролируют по степени сбраживания. Различают видимую и действительную степени сбраживания. Если содержание экстракта определяют в пиве в присутствии спирта и СО>2>, то это видимый экстракт. Используя его значение, вычисляют видимую степень сбраживания. Действительную степень сбраживания находят по величине истинного содержания экстракта, которое определяют после удаления спирта и диоксида углерода пикнометрическим методом (по относительной плотности сусла или пива). Значение действительной степени сбраживания ниже, чем видимой и примерно равно V = 0,81 V .
В целях регулирования процесса брожения по стадиям введено понятие «конечная степень сбраживания» (КСС), т.е. максимально возможная степень сбраживания. В процессе брожения конечная степень сбраживания не достигается, ее определяют в лаборатории завода. У светлых сортов пива видимая конечная степень сбраживания составляет 77-82%.
Молодое пиво, перекачиваемое в цех дображивания, должно содержать около 1 % сбраживаемого экстракта, чтобы при дображивании получить необходимое насыщение пива диоксидом углерода.
В готовом пиве нельзя оставлять много сбраживаемого экстракта. Чем меньше разница между степенью сбраживания готового пива и конечной степенью сбраживания, тем больше его биологическая стойкость. Если между этими величинами имеется значительная разница, то микроорганизмы готового пива будут размножаться на сбраживаемых веществах готового пива и образовывать муть, снижая его биологическую стойкость и вкусовые качества.
Процесс главного брожения длится около 7 суток с момента введения дрожжей для сортов пива с начальным содержанием экстракта в сусле 11-13% и 8-10 сут для сортов с большим содержанием экстракта. При сбраживании сусла с высоким содержанием экстракта повышается начальная и максимальная температура брожения, тогда увеличивают количество семенных дрожжей до 1 дм3 на 10 дал сусла, используя дрожжи, начиная с третьей генерации. На пример, сусло для пива концентрацией начального сусла 11 % (Жигулевское) сбраживают 7 суток, а для пива плотностью 20% (Ленинградское) - 11 суток.
О ходе главного брожения в производстве судят по изменению (убыли) содержания экстрактивных веществ в сбраживаемом сусле Количество их определяют один раз в сутки сахаромером. Видимая степень сбраживания для светлых сортов пива 59— 68%, для темных сортов — не выше 60%.
Перед передачей молодого пива на дображивание с поверхности пива, бродившего в открытых аппаратах, снимают деку, а в закрытых аппаратах деку не снимают, так как из-за почти полного отсутствия процессов окисления пены образуется значительно меньше, чем в открытых аппаратах, и она не темнеет.
По окончании главного брожения молодое пиво температурой не более 5 °С перекачивают в закрытые бродильные аппараты на дображивание и созревание, а осевшие дрожжи отбирают в приемный сборник для промывания и подготовки к использованию в следующем цикле главного брожения.
3.4 Дображивание
Основной целью этой стадии производства является получение напитка с приятным вкусом, характерным специфическим ароматом и достаточным насыщением диоксидом углерода. Это достигается в результате протекания сложных физико-химических и биохимических процессов в молодом пиве при низкой температуре и избыточном давлении.
Молодое пиво содержит примерно 1,5—3,5 млн дрожжевых клеток в 1 см3. Такого количества дрожжей достаточно для накопления необходимой концентрации спирта в готовом пиве и для нормального насыщения его диоксидом углерода. Избыток дрожжей в молодом пиве вызывает неприятный дрожжевой привкус.
В цехе дображивания пиво находится несколько недель. Здесь оно приобретает свои товарные свойства. Полнота вкуса, ценообразование и стойкость его во многом зависят от условий, в которых оно дображивает и созревает. Нарушение нормальных условий, в основном температуры и бактериальной чистоты, приводит к порче пива. Поэтому помещение цеха должно быть чистым, сухим, с хорошей приточно-вытяжной вентиляцией. Стены, пол, потолок должны быть теплоизолированы, температура воздуха 0—2 °С.
3.4.1 Процессы, протекающие при дображивании и созревании
При дображивании протекают те же процессы, что и при главном брожении, но более медленно, так как температура значительно ниже (0-2°С), чем при главном брожении, и концентрация дрожжевых клеток меньше.
Сбраживание сахаров и созревание пива заканчиваются не одновременно. Сахара могут быть сброжены, а созревание часто еще продолжается. Поэтому период дображинания называют еще и периодом созревания пива.
При дображивании и созревании пива происходят следующие основные процессы: насыщение диоксидом углерода, осветление, созревание (окислительно-восстановительные превращения).
3.4.2 Насыщение диоксидом углерода
Молодое пиво содержит около 0,2% СО>2>. В ходе дображивания это количество необходимо увеличить до такого уровня, чтобы после фильтрования в готовом пиве осталось его не менее 0,3%. Сбраживание оставшегося в молодом пиве экстракта и является источником дополнительного образования диоксида углерода.
Растворимость СО>2> в пиве прямо пропорциональна давлению. С понижением температуры растворимость СО>2>, повышается. Растворение диоксида углерода протекает медленно, часть его не успевает раствориться и накапливается над поверхностью пива, создавая в бродильном аппарате избыточное давление от 0,03 до 0,07 МПа, называемое шпунтовым.
Диоксид углерода находится в пиве как в растворенном состоянии, так и в связанном (с компонентами экстракта). Кроме того, часть диоксида углерода находится в виде эфиров угольной кислоты и других соединений.
3.5 Осветление
На дображивание поступает молодое пиво, которое содержит некоторое количество дрожжевых клеток и другие взвеси. При охлаждении до 0-2 °С в аппарате для дображиванпя происходит выделение тех веществ, которые в ходе главного брожения (при температуре 5-8 °С) были прочно связаны с раствором. В конце дображиванпя отработавшие дрожжи под влиянием избыточного давления и накопившегося СО>2>, оседают, увлекая за собой на дно аппарата различные взвеси. Пиво постепенно осветляется. Лучше всего осветляется пиво, когда температура всей его массы выровняется. В стадии дображиванпя полного осветления не происходит, но оставшаяся муть легко удаляется при последующем фильтровании или сепарировании. После дображивания и созревания для придания товарного вида и желаемой прозрачности пиво осветляют с помощью сепарирования или фильтрования. При этом из пива удаляют находящиеся во взвешенном состоянии дрожжевые клетки, белковые и полифенольные вещества, хмелевые смолы, соли тяжелых металлов и различные микроорганизмы.
Химический состав пива после осветления изменяется незначительно: несколько снижается цветность, потому что некоторые красящие вещества адсорбируются на фильтрующих материалах, теряется часть диоксида углерода, в результате удаления некоторых веществ коллоидной дисперсности снижается вязкость.
При низких температурах осветление протекает медленно, но при этом получают более стойкое пиво с мягким вкусом (стойкость пива - срок сохранения пивом прозрачности и вкуса, выраженный в сутках, считая с момента розлива).
Осветленное пиво охлаждают, дополнительно насыщают диоксидом углерода и разливают в тару.
3.6 Созревание
При созревании в результате окислительно-восстановительных реакций, протекающих под действием кислорода, исчезают показатели, которые обусловливают специфический букет молодого пива (привкус дрожжей, хмелевая горечь). Содержание диацетила для светлых сортов пива снижается на 40-50%, окислительно-восстановительный потенциал уменьшается до 10.
На вкус и аромат пива в значительной мере влияют диацетил, высшие спирты, сложные эфиры, альдегиды, сернистые соединения. На их образование и расщепление следует обращать внимание, так как в последние годы получают широкое распространение методы ускоренного сбраживания пива.
Диацетил, также как и пентадион, относятся к вицинальным дикетонам. Они образуются при главном брожении, но далее в присутствии дрожжей концентрация их уменьшается. Диацетил превращается в ацетоин, а затем в бутандиол. У диацетила низкий вкусовой порог, а у бутаидиола - высокий, поэтому присутствие последнего в пиве не ощущается. Различные штаммы дрожжей с разной интенсивностью приводят к редукции (уменьшению содержания) диацетила. а поглощение кислорода пивом - к увеличению его содержания. Диацетил служит критерием определения зрелости пива. В готовом пиве содержание диацетила не должно превышать 0,1 мг/дм3.
Научно обоснованных критериев, характеризующих созревание пива, пока нет. В основном при оценке его готовности учитывают органолептические показатели. Практикой установлено, что как мало выдержанное молодое пиво, так и перезрелое имеют плохой вкус и низкую стойкость.
Пиво различных наименований, по истечении определенного времени (обычно за 15-90 сут), достигает наилучшего качества при достаточном насыщении его связанным диоксидом углерода, хорошем осветлении, необходимой степени сбраживания, мягком и приятном вкусе.
О ходе процессов дображивания и созревания пива судят по уменьшению количества экстракта, увеличению содержания диоксида углерода и спирта, степени осветления, а также по аромату, вкусу и пенистости проб, отобранных из аппарата для дображивания. Учитывают и степень сбраживания экстракта. При достижении почти конечной степени сбраживания получают более стойкое пиво. Если экстрактивные вещества сбродят полностью, то пиво получается стойким, но по вкусовым качествам оно хуже, чем пиво с меньшей степенью их сбраживания.
3.7 Фильтрация
Дpожжевое пиво не хpанится, уже чеpез час после того, как его налили в кpужку оно полностью меняет свой вкус. В геpметично закупоpенных металлических бочках (тех самых в котоpых пpивозят pазливное пиво) такое пиво хpанится не более недели.
Поэтому пиво фильтруют. Оно становится пpозpачным и ясным, но существенно пpоигpывает во вкусе и в полезности. Такое пиво уже можно пpодавать в pозлив из бочек, так как оно может хpаниться в них до 1 месяца.
После проведения химического анализа и подтверждении готовности пива оно фильтруется. Сначала пиво проходит через сепаратор, где из него удаляются остатки дрожжей, не осевших на дно ЦКТ.
Следующим этапом фильтрации является продавливание пива через слой кизельгура (диатомитовой земли), вертикально расположенного на картонных листах. Пиво проходит через слой этого мелкого мукообразного песка, а все взвешенные частицы – оставшиеся дрожжевые клетки, крупные белки, частички пены и др. - остаются в слое кизельгура. Кизельгур – это пористая осадочная порода, состоящая из кремниевых скелетов морских водорослей – диатомей. Кизельгур обладает мощными адсорбирующими свойствами (он также используется для производства динамита).
После кизельгурового фильтра пиво проходит еще два этапа тонкой фильтрации. Из пива удаляются не видимые глазом вещества, которые могут впоследствии стать мутностью пива в бутылке – полифенолы. Для придания прозрачности, блеска, а также повышения стойкости при хранении пиво дополнительно фильтруют на фильтр-прессах с использованием специальных сортов картона.
Сущность процесса фильтрования заключается в механическом (отсеивающем) и адсорбционном действии. Часто используют рамные фильтры со слоем диатомита, намываемым на пластины.
Опорные пластины не обладают фильтрующей способностью и служат только как основа для фильтрующего слоя диатомита.
Вначале на пластины наносят первый слой из крупнодисперсного диатомита, который на рамных фильтрах защищает поры картона от закупоривания частицами тонкодисперсного диатомита и твердой фазы пива.
Частицы мути из пива, такие как микроорганизмы и нерастворимые белки, в слой диатомита не проникают, а задерживаются на поверхности и образуют сильно сжимаемый непроницаемый осадой. В результате быстро растет фильтрационное сопротивление. Однако, если в поток пива вводить дополнительно диатомит, то образуется хорошо проницаемый слой из частиц диатомита и мути.
Стенки капилляров фильтрующего слоя при движении жидкости под влиянием давления имеют электрический заряд, характеризующейся электрокинетическим потенциалом, или дзета-потенциалом. Диатомитовый фильтр оказывает адсорбционное действие. Отрицательно заряженные частицы диатомита адсорбируют положительно заряженные мицеллы.
3.8 Пастеризация
Пиво поступает на блок розлива, проходя через проточный пастеризатор (пастеризация в потоке). В пастеризаторе пиво резко нагревается до 67-72°С, выдерживается при этой температуре около полминуты и сразу же резко охлаждается.
В непастеризованном пиве уже через несколько дней может произойти изменение вкуса из-за деятельности посторонних микроорганизмов.
Различают два способа пастеризации: проточный и туннельный. При проточной пастеризации пиво нагревается до розлива в бутылки. При туннельной нагреванию подвергаются уже запечатанные бутылки с пивом.
3.9 Розлив
После пастеризации пиво поступает в блок розлива. Пустые бутылки поступают в ящиках, вынимаются из них автоматом выемщиком, по ленте транспортера подаются в бутыломоечную машину, где проходят ряд последовательной выдержки в горячих моющих растворах, а затем промываются шприцами изнутри и снаружи. При этом удаляется старая этикетка и все загрязнения. В общей сложности, каждая бутылка находится в машине для мойки бутылок около 1 часа. Перед выходом из машины бутылка начисто ополаскивается водой для удаления остатков моющего раствора. Чистота бутылки проверяется лабораторией. После мойки пустые бутылки проверяются автоматом на наличие сколов, трещин и т.д., дефектные бутылки автоматически удаляются.
Бутылка подходит к блоку розлива, где медленно наполняется пивом (пустая бутылка предварительно заполняется углекислым газом и в ней создается давление равное давлению пива в трубе блока розлива, поэтому пиво из трубы стекает в бутылку не под напором, а под действием силы тяжести самостоятельно и плавно).
Через несколько секунд после заполнения на бутылку надевается кронен-пробка и герметично обжимается на горлышке. После этого на бутылку наносится этикетка.
Наполненные бутылки просматриваются автоматом-инспектором и отбраковываются, если объем пива недостаточный, отсутствует пробка или имеются инородные включения.
Бутылки составляются автоматом-укладчиком в ящик и отправляются на склад готовой продукции.
1 - лагер (от немецкого lager – подвал). Пиво «лагер» варилось с использованием хмеля и, как правило, по технологии низового брожения. Такое пиво могло сохраняться в подвалах в течение нескольких месяцев.