Опоры
БЕЛОРУССКИЙ ГОСУДРАСТВЕННЫЙ УНИВЕРСИТЕТ ИНФОРМАТИКИ И РАДИОЭЛЕКТРОНИКИ
Кафедра инженерной графики
РЕФЕРАТ
На тему:
«Опоры»
МИНСК, 2008
Опорами называют устройства, поддерживающие вращающиеся валы и оси в требуемом положении. Они воспринимают и передают нагрузки от подвижных звеньев на корпус или плату. Точность и надежность механизма во многом определяются конструкцией опор.
В зависимости от направления нагрузок опоры делят на: радиальные подшипники, воспринимающие радиальные нагрузки; подпятники или упорные подшипники, воспринимающие осевые нагрузки; радиально-упорные подшипники, воспринимающие одновременно радиальные и осевые нагрузки.
В зависимости от вида трения между соприкасающимися поверхностями валов и опор различают: опоры с трением скольжения; опоры с трением качения и специальные опоры (электромагнитные, опоры с трением упругости и другие).
Основными требованиями, предъявляемыми к опорам механизмов, являются: малые потери на трение, большая точность направления движения, износостойкость, малые габариты, простота сборки, надежность при различных условиях работы, низкая стоимость.
Подшипники скольжения
Опоры механизмов должны обеспечить наибольшую точность перемещения, минимальные потери на трение, быть надежными в работе, сохранять возможность вращения при изменении температуры рабочей среды, виброустойчивы. Опоры скольжения появились значительно раньше опор качения. В зависимости от формы рабочей поверхности опоры скольжения выполняют цилиндрическими, коническими и сферическими. Наибольшее распространение получили цилиндрические опоры. Их простейшим видом может быть отверстие (рис. 1, а) под цапфу непосредственно в корпусе либо в другой детали, поддерживающей вал или ось. Если материал детали, поддерживающей вал или ось, не обладает хорошими антифрикционными свойствами, легко подвергается износу, в него запрессовывают втулки, конструкции которых показаны на рис. 1. Они могут воспринимать радиальные (рис. 1, а, б), радиальные и осевые нагрузки (рис. 1, в, г), регулировать осевое смещение вала (рис. 1, г).
Материал втулки должен быть износостойким, хорошо прирабатываться и иметь в паре с материалом цапфы минимальный коэффициент трения. Для стальных цапф этим условиям удовлетворяют: при высоких давлениях и малых окружных скоростях – бронза БрАЖ9-4 и латунь ЛС59-1; при высоких давлениях и скоростях – бронза БрОФ10-1 и БрОЦС-5-5-5; при небольших давлениях и скоростях – металлокерамические материалы, имеющие пористую структуру и хорошо удерживающие смазку; различные пластмассы – текстолит, фторопласт и др.
б
в
г
а
Рис 1
К достоинствам пластмасс помимо самосмазываемости необходимо отнести большие демпфирующие способности при действии вибраций и ударов, диэлектричность, антикоррозийность, технологичность изготовления, небольшую массу и стоимость. Недостатками пластмассовых опор скольжения прежде всего являются невысокая износостойкость, низкая теплопроводность, гигроскопичность и нестабильность размеров.
Цилиндрические опоры в отличие от конических мало чувствительны к изменению температуры из-за наличия зазоров между цапфой и подшипником, наиболее просты по конструкции. Конические опоры могут воспринимать как радиальную, так и осевую нагрузку, более сложны и дороже, имеют большие потери на трение. Сферические или шаровые опоры применяют, если при эксплуатации и сборке может иметь место перекос оси вала по отношению к оси подшипника.
Опоры скольжения имеют следующие достоинства: малые радиальные размеры, допускают высокие частоты вращения, возможность работы в воде и агрессивных средах, устойчивы к вибрациям и ударам. К недостаткам их следует отнести: большие потери на трение и небольшой КПД, сравнительно большие осевые размеры, неравномерный износ подшипника и цапфы, необходимость использования дорогостоящих антифрикционных материалов и смазки.
Подшипники скольжения различают с сухим, граничным и жидкостным трением. Сухое трение имеет место при отсутствии смазки между контактирующими поверхностями. Для уменьшения трения применяются различные виды покрытий металлических вкладышей подшипника – сульфидирование, сульфационирование, нанесение пленок свинца, галлия, палладия, фторопласта, порошка графита, двусернистого молибдена, нитрата бора.
В подшипниках жидкостного трения трущиеся поверхности полностью разделены слоем жидкой смазки или газа. Различают гидростатические и гидродинамические подшипники. В гидро- и аэростатических подшипниках разделение трущихся поверхностей достигают путем подачи в зону контакта жидкости или газа под давлением, уравновешивающем вал. В гидро- и аэродинамических подшипниках цапфа вала располагается во втулке подшипника с зазором. При движении жидкая или газообразная (воздух) смазка увлекается в клиновидный зазор за счет прилипания к поверхности цапфы, разделяет поверхности трения и при определенной скорости вращения создает давление, уравновешивающее внешнюю нагрузку (цапфа всплывает).
Наиболее часто применяются подшипники скольжения с граничным трением, когда слой жидкости не полностью разделяет трущиеся поверхности и имеет место частичный контакт между цапфой и втулкой. При жидкостном и граничном условиях работы применяются жидкие минеральные и консистентные (густые) смазки.
Часто конструкции опор предусматривают подвод смазки и наличие специальных канавок для подачи смазки на трущиеся поверхности. Широко используют подшипники, вкладыши которых изготовлены методами порошковой металлургии из порошков соответствующих сплавов. Смазочная жидкость, заполнившая при пропитке поры такого вкладыша, обеспечивает смазку подшипника на все время его работы.
Основными видами разрушения подшипников скольжения являются износ, задиры и контактные усталостные повреждения поверхности втулки (выкрашивание в виде раковин или отслаивание, шелушение материалов).
Расчет цилиндрических подшипников, не работающих в условиях жидкостного трения, сводится к определению диаметра цапфы (d) и ее длины (ℓ) из условий ограничения среднего давления (q) на втулку (1); нагрева и износа (9.2), пропорционального удельной работе трения (qv):
q = F>r>/dℓ q>adm>> >, (1)
qv (qv)>adm>> >, (2)
v =
,
(3)
где F>r> – радиальная нагрузка на опору, Н; v – окружная скорость вала, м/с; d и ℓ – диаметр и длина рабочих поверхностей опоры, мм; n – частота вращения вала, об/мин; q>adm>> >, (qv)>adm> – допускаемые значения соответственно удельного давления и удельной работы трения материала втулки. Их значения для ряда материалов при стальных цапфах приведены в табл. 1.
Для сопряжения цилиндрических цапф с втулкой при граничном трении назначаются посадки с зазором в системе отверстия. Величина зазора тем больше, чем выше окружная скорость. При высоких скоростях рекомендуют посадки H8/e7; при средних и малых скоростях – H7/e7, H7/f7, H7/g7; при малых скоростях и высокой точности сопряжения – H7/g6, H6/g5. Для уменьшения трения и износа шероховатость трущихся поверхностей рекомендуют принимать в пределах R>a> = (1,25 … 0,32) мкм.
Таблица 1
Значения q>adm>> >, (qv)>adm> при стальных цапфах
|
Наименование материала втулки подшипника |
q>adm>> >, МПа |
(qv)>adm>> >, МПа∙м/с |
|
Бронза Бр АЖ 9-4 |
15 |
12 |
|
Бронза Бр ОЦС 5-5-5 |
8 |
12 |
|
Капрон |
5 |
10 |
|
Текстолит |
12 |
30 |
Подшипники качения. Классификация и устройство подшипников
Подшипник качения представляет собой готовый стандартный узел, основными элементами которого являются тела качения – шарики или ролики различной формы, установленные между кольцами – наружным и внутренним. Внутреннее кольцо насаживается на вал или ось, наружное – устанавливается в корпусе механизма. В процессе работы тела качения катятся по беговым дорожкам колец, геометрическая форма которых определяется формой тел качения. Для равномерного распределения тел качения между кольцами служит сепаратор. Основными размерами подшипника качения (рис. 2) являются внутренний и наружный диаметры, ширина. Обычно подвижным является внутреннее кольцо, а наружное – неподвижной деталью. Бывают более сложные по конструкции подшипники, включающие дополнительно защитные шайбы, уплотнения, крепежные втулки и другие элементы.

Рис. 2
К достоинствам подшипников качения относятся: малые потери на трение, невысокая стоимость вследствие их массового производства, широчайший диапазон размеров и типов, высокая степень взаимозаменяемости, простота монтажа и обслуживания, малая разница момента трения при пуске и установившемся движении, небольшие осевые размеры.
Недостатками подшипников качения являются сравнительно большие радиальные размеры, высокая чувствительность к ударным и вибрационным нагрузкам из-за жесткости конструкции, значительно меньшая по сравнению с подшипниками скольжения долговечность при больших частотах вращения и больших нагрузках.
По форме тел качения различают шариковые и роликовые подшипники. Последние могут быть с цилиндрическими (а), коническими (б), бочкообразными (в) и игольчатыми (г) роликами (см. рис. 2).
По направлению воспринимаемой нагрузки подшипники бывают радиальные (рис. 3, а), радиально-упорные (рис. 3, б) и упорные (рис. 3, в); по числу рядов тел качения – одно-, двух- и четырехрядные; по способности самоустанавливаться – не- и самоустанавливаемые.
Подшипники с одинаковым диаметром (d) внутреннего кольца подразделяются в зависимости от диаметра наружного кольца на следующие серии: сверхлегкую, особо легкую, легкую, среднюю и тяжелую. В зависимости от ширины кольца (В) подшипники делят на узкие, нормальные, широкие и особо широкие.
Подшипники разных типов, размеров и серий имеют различные грузоподъемность и быстроходность. Подшипники более тяжелых серий менее быстроходны, но имеют более высокую грузоподъемность. Шариковые подшипники имеют большую быстроходность по сравнению с роликовыми подшипниками, однако последние обладают большей грузоподъемностью.
При высокой частоте вращения и действии небольших нагрузок целесообразно использовать подшипники сверхлегкой и особо легкой серий. Для восприятия повышенных нагрузок при высокой частоте вращения используют подшипники легкой серии. Наиболее часто применяют на практике подшипники легкой и средней серий, нормальные по ширине.
Подшипники изготавливаются следующих классов точности в порядке ее повышения: 0 (нормальный), 6 (повышенный), 5 (высокий), 4 (особо высокий), 2 (сверхвысокий).
Выбор класса точности подшипника производится в зависимости от требований, предъявляемых к механизму. Например, подшипники класса 0 используются в механизмах, к точности которых особых требований не предъявляют; подшипники класса 6 применяют в тех случаях, когда потери на трение в опорах должны быть минимальны; классы 5, 4 и 2 предназначены для механизмов, точность которых является основной характеристикой функционирования. Увеличение точности подшипника приводит к росту его стоимости:
|
Класс точности |
0 |
6 |
5 |
4 |
2 |
|
Сравнительная стоимость |
1 |
1,92 |
10 |
20 |
100 |
Чаще всего используют подшипники нормальной точности – класса 0.
Шариковый радиальный однорядный подшипник (см. рис. 2, а) является наиболее распространенным. Он предназначен для радиальной нагрузки, но может воспринимать и осевую в пределах 70% от неиспользованной радиальной допускает перекос осей колец не более 0,25. При равных габаритных размерах из всех конструкций подшипников качения он имеет минимальные потери на трение и возможность наибольшей скорости вращения. Подшипник обеспечивает осевое фиксирование вала в двух направлениях.
Радиально-упорные подшипники (рис. 3, б) воспринимают радиальную и осевую нагрузку (косозубые, конические и червячные передачи), действующую на вал. Одинарный подшипник может воспринимать чисто осевую нагрузку, действующую в одном направлении. Подшипники, смонтированные попарно, воспринимают осевые усилия, действующие в обоих направлениях.

Рис. 3
Шариковые радиальные 2-рядные сферические подшипники могут работать при значительном перекосе до 3 осей внутреннего и наружного колец, обладают способностью самоустанавливания оси вала относительно корпуса. Величина осевой нагрузки, действующей одновременно с радиальной, не должна превышать 20% от неиспользованной допустимой радиальной нагрузки.
Тела качения и кольца подшипников качения изготавливают из высокоуглеродистых шарикоподшипниковых хромистых сталей ШХ9, ШХ15 с термообработкой до твердости 60 … 65 HRC>э> и последующим шлифованием и полированием, в некоторых случаях используют стали других марок (нержавеющие, жаропрочные и др.); сепараторы делают из низкоуглеродистой мягкой листовой стали, массивные сепараторы – из бронзы, латуни, алюминиевых и магниевых сплавов, пластмасс. При антикоррозионных и антимагнитных требованиях детали подшипников выполняются из беррилиевой бронзы БрБ-2, нержавеющих немагнитных сталей.
Уменьшение радиальных размеров подшипников возможно как за счет минимизации размеров тел качения (игольчатые подшипники), так и за счет исключения из классической конструкции подшипника внутреннего и наружного колец. Применяются стандартные игольчатые подшипники, состоящие только из тел качения, расположенных в массивном сепараторе; нестандартные насыпные шарикоподшипники, в которых отсутствует сепаратор, роль внутреннего и наружного колец таких подшипников выполняют цапфа вала и неподвижная крышка корпуса, параметры твердости и точности которых должны соответствовать таким же параметрам колец стандартных подшипников.
В подшипниках качения смазка уменьшает трение, шум, отводит тепло, защищает подшипник от коррозии, заполняет зазоры в уплотнениях, обеспечивая герметизацию подшипникового узла. Применяют жидкие, консистентные и твердые смазки.
Жидкие смазки используют при окружной скорости вала выше 10 м/с. Чаще всего применяют минеральные масла: приборное МВП, индустриальное 12 (веретенное), индустриальное 20 и масла с антифрикционными присадками (дисульфит молибдена, графита).
Консистентные смазки (густые мази) применяют при окружной скорости вала до 10 м/с. Корпус подшипникового узла заполняют смазкой в объеме 1/3 его свободного пространства. Наилучшими признаны литиевые смазки: Литол-24, Циатим-221, Циатим-201 и др. Они хорошо удерживаются в узлах трения и не требуют сложных уплотнений, их не рекомендуют применять при большом тепловыделении
Твердые смазки используются в вакууме и специальных средах (графит, дисульфит молибдена, нитрат бора). При повышенных температурах (140 … 275 С) возможно применение массивных сепараторов из самосмазывающихся пластмасс (Вилан, Тесам-4, фторопласты). Ресурс подшипника определяется временем до повреждения перемычек сепаратора.
Выбор подшипников качения
Типоразмеры подшипников качения ограничены стандартами. Тип подшипника выбирается с учетом величины и направления нагрузки, действующей на вал (радиальная, осевая, радиальная и осевая); характера нагрузки (постоянная, переменная, ударная); частоты вращения; требуемого срока службы механизма в часах (h); конструктивных особенностей и условий работы механизма. Так, для прямозубых цилиндрических, цилиндрических фрикционных передач можно использовать радиальные шарикоподшипники; для косозубых цилиндрических, червячных, конических, винтовых передач – радиально-упорные подшипники.
Внутренний диаметр d подшипника подбирают по диаметру вала, рассчитанному или принятому. Основным критерием для выбора серии подшипника при частоте вращения n > 1 об/мин служит динамическая грузоподъемность. Расчет заключается в определении расчетной динамической грузоподъемности С>р> и сравнении этой величины с допустимым значением С>adm>, приведенным в таблицах для данного подшипника:
С>р>С>adm>> >. (4)
Допустимая динамическая грузоподъемность представляет собой постоянную радиальную нагрузку, которую подшипник с не вращающимся наружным кольцом может выдержать в течение одного миллиона оборотов внутреннего кольца без появления с вероятностью равной 0,9 признаков усталостного контактного разрушения. Значения С>adm> приведены в таблицах технических характеристик подшипников качения.
Расчетная динамическая грузоподъемность определяется для шариковых подшипников по формуле
C>p>>
>= F>red>
,
(5)
где F>red> – эквивалентная нагрузка, Н; L – долговечность, выраженная в количестве миллионов оборотов, ее можно выражать через долговечность L>h> в часах как
L = 60n∙L>h>∙10–6 , (6)
где n – частота вращения вала, об/мин. Под эквивалентной понимают постоянную радиальную нагрузку, одинаково воздействующую на долговечность подшипников, как и реальная нагрузка, действующая при эксплуатации подшипникового узла. Эквивалентная нагрузка F>red> для радиальных и радиально-упорных шарикоподшипников равна
F>red> = (VXF>r>+YF>a>)K>>∙K>t >, (7)
где F>r> и F>a> – радиальная и осевая нагрузки на подшипнике, Н; Х и Y – безразмерные коэффициенты радиальной и осевой нагрузок (приведены в таблицах каталогов подшипников); V – кинематический коэффициент, равный 1,0, если в подшипнике вращается внутреннее кольцо, и 1,2 – наружное; К>> – коэффициент динамичности нагрузки (при постоянной нагрузке К>> = 1, при переменной К>> = 1,3 … 1,8, при ударной К>> = 2 … 3); К>t> – температурный коэффициент (при t 125 C К>t> = 1, при t = 125 … 150 C К>t> = 1,05 … 1,1).
Выбор подшипника осуществляется в следующей последовательности: принимают тип и внутренний диаметр (по валу) подшипника; вычисляют по (7) эквивалентную нагрузку; по заданной долговечности и рассчитанной эквивалентной нагрузке определяют по (5) расчетную динамическую грузоподъемность. Далее по каталогам подбирают размеры (серию, ширину) подшипника намеченного типа с учетом того, чтобы при выбранном диаметре d выполнялось условие (4).
При намеченном типе и внутреннем диаметре подшипника условие С>p> C>adm> обеспечивается переходом от легких серий подшипника к более тяжелым. Иногда условие (4) обеспечивают изменением типа или внутреннего диаметра подшипника.
Посадки подшипников. Конструкции подшипниковых узлов
Подшипник качения является стандартным узлом, характер посадки его на вал и в корпус обеспечивают путем подгонки соприкасающихся с подшипником поверхностей. Поэтому посадка наружного кольца подшипника в корпус осуществляется всегда в системе вала, а внутреннего кольца на вал – в системе отверстия. Но поле допуска на диаметр d внутреннего кольца расположено не в сторону увеличения номинального размера, как у основного отверстия (поле допуска Н), а наоборот (рис. 4). Это позволяет получить посадки с небольшим натягом, используя для валов поля допусков переходных посадок (j>s>, k, m, n).
При посадке подшипника на вал с большим зазором не обеспечивается требуемая точность центрирования, а в случае посадки с большим натягом уменьшается или полностью исчезает радиальный зазор в подшипнике, что влияет на точность и плавность вращения, вызывает шум и вибрации во время работы и может привести из-за перенагружения к быстрому выходу подшипника из строя.
Для внутреннего кольца подшипника при вращающемся вале и значительных нагрузках применяют посадку с полем допуска на вал n6, при малых нагрузках – j>s>6, k6.

Рис. 4
Сопряжение наружного кольца подшипника со стальным или чугунным корпусом выполняется по посадке с полем допуска на отверстие Н7, а при высокой частоте вращения вала и при изготовлении корпуса из алюминиевых или магниевых сплавов – по посадке с полем допуска J>s>7.
При конструировании подшипниковых узлов необходимо обеспечить центрирование подшипников в опорах, осевую фиксацию вала, возможность изменения длины вала без нарушения работы подшипника, удобство монтажа и демонтажа, защиту подшипников от попадания пыли, сохранение смазки, регулировку осевого натяга, соосность отверстий в корпусе, которую проще всего достичь их обработкой (расточкой, шлифовкой) с одного установа. При этом надо учитывать конструктивные особенности подшипников и их размеры, совместимость применяемых материалов, условия эксплуатации и режимы работы.
Защемление тел качения могут вызвать не только радиальные, но и осевые смещения, например, температурные изменения длины вала. Различают два способа фиксации валов в осевом направлении. Так, способ фиксации вала подшипниками в корпусе с двух сторон «враспор» (рис. 5, а) применяют при коротких валах, когда тепловые деформации вала и корпуса в осевом направлении примерно одинаковы. При этом предусматривается небольшой зазор = 0,05 … 0,2 мм, величина которого может регулироваться толщиной набора регулировочных прокладок 1. На сборочных чертежах величина этого зазора может не показываться.
При длинных валах и значительных колебаниях температуры, а также в тех случаях, когда температурные удлинения вала больше деформаций корпуса, одна опора вала жестко фиксируется в корпусе (рис. 5, б), а вторая опора делается плавающей.

Рис. 5
Работоспособность подшипниковых узлов зависит не только от правильного расчета и выбора подшипников, но также и от целого ряда сопутствующих факторов, основными из которых являются: тип выбора смазки и метод ее подвода; конструкция уплотнения и надежность защиты подшипника от попадания грязи и влаги, от вытекания смазки из корпуса; правильный выбор посадки подшипника и крепления его на валу и в корпусе; точность посадочных мест по размерам, взаимным биениям, шероховатости; монтаж и регулировка зазоров. Соосность отверстий в корпусе под подшипники достигается их обработкой (расточка, шлифование) с одной установки.
К дефектам, наиболее часто встречающимся в эксплуатации, следует отнести высокую температуру (свыше 80 С) подшипникового узла; повышенный шум или удары при работе; выбрасывание смазки из корпуса.
Специальные опоры
К специальным опорам относят опоры с трением упругости, магнитные и др.
Основным элементом опор с трением упругости является упругая проволока или лента, один конец которой прикреплен к неподвижному основанию, другой – к подвижной рамке прибора. Опоры выполнены в виде подвеса (рис. 6, а) или растяжки (рис. 6, б) из материалов, обладающих хорошими упругими свойствами (бронза, легированные стали). Такие опоры применяют при небольших углах поворота рамки. В них практически отсутствует трение, они не нуждаются в смазке, нечувствительны к загрязнением. К недостаткам опор помимо небольших углов поворота подвижных элементов следует отнести пониженную виброустойчивость, чувствительность к ударам и вибрациям.

Рис. 6
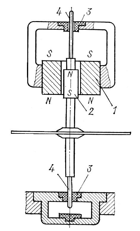
В магнитных опорах в зазоре между трущимися поверхностями действуют силы притяжения между магнитами 1 и 2 (рис. 7), которые уравновешивают вес подвижных звеньев. Центрирование вращающегося звена осуществляют с помощью тонких полированных нержавеющих штифтов 4, расположенных с зазором в графитовых втулках 3. В качестве цапф и втулок подшипников используются постоянные магниты из специальных сплавов или электромагниты. Магнитные опоры помимо малых потерь на трение могут работать при любых скоростях вращения. В силовых механизмах их не применяют из-за громоздкости магнитов, создающих усилия для подъема нагруженных валов. Используют магнитные опоры в электросчетчиках, приборах времени и других приборах.

Рис. 7
ЛИТЕРАТУРА
Красковский Е.Я., Дружинин Ю.А., Филатова Е.М. Расчет и конструирование механизмов приборов и вычислительных систем: Учебное пособие. М.: – Высш. шк., 2001. – 480 с.
Сурин В.М. Техническая механика: Учебное пособие. – Мн.: БГУИР, 2004. – 292 с.
Ванторин В.Д. Механизмы приборных и вычислительных систем: Учебное пособие. – М.: Высш. шк., 1999. – 415 с.