Проектирование винтового механизма
Тема: Проектирование винтового механизма
Оглавление
Введение
1. Выбор материала винтовой пары и типа резьбы
2. Проектный расчет винтовой пары
3. Расчет пяты
4. Расчет гайки
5. Проверочный расчет винта
6. Расчет рукоятки (маховичка)
7. Расчет параметров передач
Список литературы
Введение
Цель работы спроектировать зажимное устройство для отрезки заготовок.
Винтовые механизмы предназначены для преобразования вращательного движения в поступательное (реже наоборот). Основным элементом любого винтового механизма является винтовая пара, состоящая из винта и гайки.
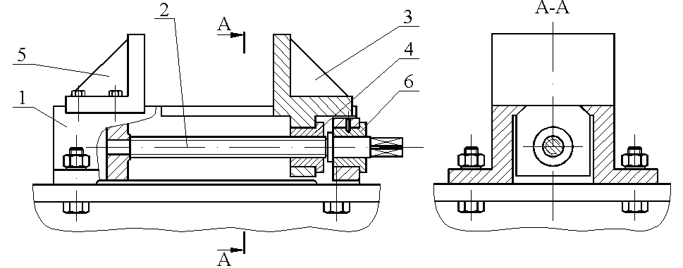
Рассмотрим зажимное устройство для отрезки заготовок (рис. 1). Оно предназначено для фиксации заготовок круглого сечения при механической обработке.

Рис.1. Зажимное устройство для отрезки заготовок
Основные элементы устройства: станина 1, винт 2, подвижный башмак 3 с укрепленной в нем гайкой 4, рукоятка (на рисунке не показана), упор 5, опора 6, крепежные детали. Станина 1 данного устройства имеет две направляющих в виде «ласточкиного хвоста», которые необходимы, для того чтобы предотвратить действие изгибающего момента на винт. Действует устройство следующим образом: при помощи рукоятки вращается винт 2, который располагается в опоре 6. При вращении винта гайке 4 сообщается поступательное перемещение. Гайка связана с подвижным башмаком 3 и обеспечивает его перемещение вдоль направляющих. Подвижный башмак, таким образом, прижимает заготовку к неподвижному упору.
1. Выбор материала винтовой пары и типа резьбы
Винтовые пары в механизмах могут быть парами скольжения или качения, кроме того, выполняются винтовые механизмы с гидростатическими винтовыми парами. Они могут быть с ручным или механическим приводом. Наименьшим КПД обладают пары скольжения (примерно 0,3), пары качения и гидростатические пары имеют более высокий КПД (до 0,9).
Винтовые пары скольжения обладают рядом преимуществ:
Простота конструкции и изготовления;
Компактность при высокой несущей способности;
Высокая надежность;
Большой выигрыш в силе;
Плавность и бесшумность работы;
Возможность медленного и точного перемещения.
Недостатки винтовых пар скольжения:
Повышенный износ из-за трения;
Большие потери на трение и низкий КПД;
Невозможность применения при больших скоростях.
Основные элементы любой винтовой пары это винт и гайка.
Для винтовых механизмов применяют резьбы с малыми углами профиля для уменьшения потерь на трение. Наиболее распространена трапецеидальная резьба со средними шагами (рис. 1.1).

Рис. 1.1. Профиль трапецеидальной резьбы
Материалы винтов должны обладать высокой износостойкостью, хорошей обрабатываемостью, высокой прочностью. Таким требованиям лучше всего отвечают стали. Для слабонапряженных и тихоходных винтов применяют стали 45, 50 (ГОСТ 1050-88), для более ответственных механизмов – стали, подвергаемые закалке – 40Х, 40ХГ (ГОСТ 4543-71), 65Г (ГОСТ 1050-88), для ходовых винтов станков – азотируемые стали 40ХФА, 18ХГТ (ГОСТ 4543-71).
Поскольку в ходовых винтах присутствует скольжение, для уменьшения трения гайки делают из антифрикционных материалов – оловянных бронз БрО10Ф1, БрО6Ц6С3 (ГОСТ 613-79), безоловянной бронзы БрА9Ж3Л (ГОСТ 493-79), чугунов СЧ 12-28, СЧ 15-32, СЧ 18-36 (ГОСТ 1412-70). В отдельных случаях возможно изготовление гайки из стали. Следует иметь в виду, что антифрикционные свойства у бронзы улучшаются с увеличением содержанием олова, а у чугуна – с уменьшением прочности. Кроме того, следует учитывать, что самый дешевый материал – чугун, а стоимость бронзы тем выше, чем больше содержание олова.
Таким образом, в зажимном устройстве для отрезки заготовок применяем винт из стали 45 (ГОСТ 1050-88), а гайку – БрО10Ф1 (ГОСТ 613-79).
2. Проектный расчёт винтовой пары
Расчет диаметра винта и
выбор резьбы осуществляется из условия
износостойкости, т.к. в
винтовых механизмах основной причиной
выхода их из строя является износ резьбы
гайки. Чтобы ограничить износ, контактное
напряжение в витках резьбы
не должно превышать предельно допустимого
давления
.
Иногда это условие износостойкости
называют условием невыдавливания
смазки.
Экспериментальным путем
установлено, что для сочетания материалов
закаленная сталь – бронза
= 10…15 МПа, для пары незакаленная сталь
– бронза
= 8…10 МПа, для пары незакаленная сталь
– чугун
= 4…6 МПа, для пары сталь – сталь
= 6 МПа. Чем выше антифрикционные свойства
материала гайки, тем выше значение
должно приниматься. Для механизмов
точных перемещений значения
принимают в 2-3 раза меньше, чем для
механизмов общего назначения. При редкой
работе винтового механизма
может быть повышено на 20%.
, (1)
где
– осевое усилие, действующее на винт;
– коэффициент рабочей
высоты профиля резьбы:
=
0,5 – для трапецеидальной резьбы,
=
0,75 – для упорной резьбы,
=
0,54 – для метрической резьбы;
d>2 >– средний диаметр резьбы;
– коэффициент высоты
гайки (
,
где Н – высота
гайки),
=1,2…2,5.
При выборе коэффициента
высоты гайки
следует помнить: в некоторых механизмах
по условиям работы необходимо обеспечить
жесткую фиксацию винта в гайке, чтобы
считать заделку винта жесткой заделкой
(см. расчет на устойчивость). Для этого
коэффициент высоты гайки должен быть
.
В остальных случаях нужно брать меньшие
значения коэффициента
для более крупных диаметров резьбы.
Таким образом, для подбора резьбы определяется средний диаметр d>2>:
. (2)
По формуле (2) находим:
.
По рассчитанному среднему диаметру, по таблицам приложения подбирают стандартные резьбы. Обычно можно подобрать несколько типоразмеров резьбы с разными шагами. Следует отдавать предпочтение средним значениям шагов.
Данные с выбранными резьбами заносятся в таблицу 1.
Таблица 1
|
№ |
Шаг резьбы P |
Наружный диаметр d |
Средний диаметр d>2> |
Внутр. диаметр d>1> |
Число витков гайки z |
Приведенный
угол трения
|
Угол подъема
винтовой линии
|
Коэф. запаса самоторможения k>с> |
|
1 |
2 |
26 |
25 |
24 |
- |
4,73 |
1,46 |
3,24 |
|
2 |
3 |
26 |
24,5 |
23 |
- |
2,23 |
2,12 |
|
|
3 |
5 |
26 |
23,5 |
21 |
8 |
3,88 |
1,22 |
|
|
4 |
6 |
30 |
27 |
24 |
8 |
4,05 |
1,17 |
Проверка на самоторможение
После определения диаметра резьбы необходимо проверить выбранные резьбы на самоторможение. Под самоторможением понимается обеспечение невозможности самопроизвольного движения винта под действием рабочей нагрузки (самопроизвольное раскручивание).
Для обеспечения самоторможения механизма должно выполняться условие:
, (3)
где
– приведенный угол трения;
– угол подъема винтовой
линии;
– коэффициент
запаса самоторможения: для самотормозящихся
механизмов
1,3; для механизмов, к которым не
предъявляются жесткие требования в
отношении самоторможения
= 1…1,3.
Угол
подъема винтовой линии
зависит от геометрии резьбы:
, (4)
где
– шаг резьбы;
– число заходов резьбы;
– средний диаметр резьбы.
По формуле (4) рассчитываем:
;
;
;
.
Приведенный угол трения
:
, (5)
где
– коэффициент трения, зависящий от
шероховатостей рабочих поверхностей
витков и материала гайки, выбирается
по таблице 2.
Таблица 2
|
Класс точности |
Параметры шероховатости, мкм |
Коэффициент
трения
при материале гайки |
||||
|
винта |
гайки |
Бронза оловянная |
Бронза безоловянная |
Чугун |
Сталь |
|
|
2 |
Ra = 1,25 |
Ra = 1,25 |
0,07 |
0,08 |
0,09 |
0,10 |
|
3 |
Ra = 2,5 |
Ra = 2,5 |
0,08 |
0,09 |
0,10 |
0,12 |
|
4 |
Ra = 2,5 |
Rz = 20 |
0,09 |
0,10 |
0,12 |
0,15 |
– угол наклона рабочей
грани витка к торцевой плоскости винта:
для трапецеидальной резьбы –
=15.
По формуле (5) рассчитываем:

Для того чтобы убедиться в правильности выбора резьбы, необходимо проверить число витков гайки z:
. (6)
Количество
витков гайки z
должно быть 6…12, оптимальное количество
– 8…10. Если число витков z
не попадает в указанный диапазон, то
следует изменить коэффициент высоты
гайки
и снова провести расчет на износостойкость.
По формуле (6) рассчитываем:
;
;
;

Резьбы, не обеспечивающие самоторможение, исключаются из рассмотрения. Из оставшихся выбирается резьба с наибольшим шагом, так как чем больше шаг, тем меньше потери на трение, выше КПД, быстрее осевое перемещение винта. Следовательно, выбираем резьбу с шагом Р=6.
3. Расчет пяты
Под пятой подразумеваем опорную поверхность, к которой прикладывается осевое усилие Q со стороны других деталей. При вращении винта на опорной поверхности пяты возникает трение, для уменьшения которого применяют смазку.
Наиболее простой по конструкции и по способу установки будет кольцевая пята (рис. 3.1), но имеет относительно большой момент трения.
Диаметр
можно принять
,
где d
– наружный диаметр винта.
Диаметр
находится из условия износостойкости
трущихся деталей:
, (7)
где
= 25…40 МПа – допускаемое давление на
поверхности пяты.
По формуле (7) рассчитываем:

Диаметр
превышает внутренний диаметр резьбы
d>1>
в конструкции винта необходимо
предусмотреть поясок для увеличения
площади пяты (рис. 3.1б). При этом следует
предусмотреть канавку между пояском и
резьбой для выхода режущего инструмента.
Ширину пояска можно принять
,
где
–
диаметр канавки. В этом случае можно не
проводить проверку пояска на прочность.

Рис. 3.1. Кольцевая пята
Высоту
выступа
на пяте можно принять
.
Момент трения на кольцевой пяте будет равен:
, (8)
где
= 0,10…0,12 – коэффициент трения стальной
чашки о стальной винт.
По формуле (8) рассчитываем:

4. Расчет гайки
Проектирование гайки
Ходовая гайка винтового механизма должна иметь простую конструкцию, легко монтироваться, не проворачиваться в корпусе из-за момента трения в резьбе и не выпадать при переворачивании механизма.
Обычно гайка по конструкции представляет собой цилиндрическую втулку с буртиком, который передает осевую нагрузку от винта на корпус. Данная конструкция является самой простой при изготовлении и монтаже, но не гарантирует от проворачивания или выпадения при использовании посадки с зазором.
Расчет геометрических размеров гайки
При расчете гайки по критериям прочности обычно размеры гайки получаются небольшими, поэтому размеры гайки задают конструктивно по приведенным ниже зависимостям, после чего выполняют проверочный расчет на прочность.
Высота гайки равна:
. (9)
Высоту
гайки
необходимо увеличить на ширину фаски
резьбовой части гайки, т.к. часть резьбы,
приходящуюся на фаску, при работе резьбы
не учитывается.
Размер
фаски
должен быть не меньше высоты профиля
резьбы:

Высота профиля резьбы определяется:
или
;
.
Окончательная
ширина фаски
3
мм.
По формуле (9) рассчитываем:
.
Диаметр гайки
назначают в зависимости от толщины
стенки гайки
:
, (10)
где
– конструктивная толщина стенки гайки,
выбираемая по технологическим
соображениям. Для гаек, фиксируемых с
помощью установочного винта в осевом
направлении:
.
По формуле (10) рассчитываем:
.
Диаметр буртика гайки
можно принять:
.
Высота буртика
.
Таблица 3 - Размеры фасок и радиусов закругления
|
Диаметр гайки
|
10-19 |
20-28 |
30-48 |
50-75 |
|
Фаска
|
1 |
1,6 |
2 |
2,5 |
|
Фаска
|
0,6 |
1 |
1,6 |
2 |
|
Радиус
закругления
|
0,4 |
0,6 |
1 |
1,6 |
Для удобства сборки в
резьбовом отверстии делают фаску
,
на торце гайки – фаску
,
а в корпусе – фаску
.
Для снижения концентрации напряжений
у буртика выполняют закругление
.
Фаски
и
,
радиус закругления
назначается по таблице 3:


.
Проверка гайки на прочность
Корпус
гайки проверяется по условия прочности
на разрыв усилием Q
и одновременное скручивание моментом
:
, (11)
где
– осевое усилие, действующее на винт;
– коэффициент, учитывающий
напряжения от скручивания,
= 1,25…1,3;
d – наружный диаметр резьбы;
– допускаемое напряжение
растяжения; для бронзы и чугуна можно
принять
= 60…70 МПа.
По формуле (11) рассчитываем:

Опорная
поверхность буртика проверяется по
условию прочности на смятие. Так как в
корпусе для облегчения монтажа гайки
сделана фаска
,
то внутренний диаметр поверхности
работающей на смятие, будет
:
, (12)
где
– допускаемое напряжение смятия: для
бронзы можно принять
= 60 МПа.
По формуле (12) рассчитываем:

Буртик проверяется из условия его прочности на изгиб:
, (13)
где
– допускаемое напряжение на изгиб; для
бронзы и чугуна можно принять
= 60…70 МПа.
По формуле (13) рассчитываем:

Проверка гайки на непроворачиваемость
Условие непроворачиваемости гайки имеет следующий вид:
.
Момент трения на поверхности контакта корпуса и буртика будет:
, (14)
где
– коэффициент трения между буртиком
гайки и корпусом; для бронзовой гайки
= 0,1…0,12.
По формуле (14) рассчитываем:
.
Момент трения в резьбе:
. (15)
По формуле (15) рассчитываем:

35913,7
>29191,2
,
условие непроворачиваемости гайки
выполняется, дальнейшая проверка
установочного винта на прочность не
требуется.
5. Проверочный расчет винта
Проверка винта на устойчивость
Длинные винты, работающие на сжатие, под воздействием рабочей нагрузки могут получить продольный изгиб и выйти из строя, поэтому проверка на устойчивость является обязательной.
При расчете на устойчивость будем рассматривать винт как гладкий стержень, нагруженный сжимающей силой Q, диаметром равным внутреннему диаметру резьбы d>1>.
Гибкость
винта
определяется по формуле:
, (16)
где
– коэффициент приведения длины;
l – длина участка винта, работающего на сжатие.
i>x> – радиус инерции поперечного сечения винта:
i>x> = 0,25d>1>.
Длиной участка винта l, работающего на сжатие, считается длина участка от середины гайки до опорной поверхности пяты. Длина l зависит от конструкции механизма. В механизмах с кольцевой пятой в длину участка винта, работающего на сжатие включаются половина высоты гайки H>г>, рабочий ход H и ширина фаски C.
Условием устойчивости винта будет соблюдение соотношения:
,
где
– критическая сила, при которой винт
потеряет устойчивость;
– коэффициент запаса
устойчивости:
.
Винты, имеющие гибкость
<50
считаются жесткими, и для них проверку
на устойчивость проводить не требуется.
По формуле (16) рассчитываем:

Расчет прочности винта
Проверка
на прочность винта выполняется по
условию прочности на одновременное
действие сжатия и кручения. Для этого
строятся эпюры сжимающих сил N,
крутящих моментов M>кр>,
напряжений сжатия
,
кручения
и эквивалентных напряжений
.
На данном этапе расчетов должны быть известны размеры всех конструктивных элементов винта (размеры головки, канавок, проточек и т.д.). Винт разбивается на участки, границами которых являются точки приложения нагрузки и границы сечений винта.
Момент трения в резьбе определяется по формуле (15).
Расчет на прочность ведется по эквивалентному напряжению:
, (17)
где
;

;
где
– осевое усилие, действующее на винт;
–
момент, скручивающий
винт;
>
>– диаметр рассматриваемого
сечения винта;
– площадь поперечного
сечения винта;
>
>– полярный момент
сопротивления поперечного сечения
винта.
Допускаемое
напряжение
можно принять: для сталей 45 и 50 –
= 140 МПа.
По формуле (17) рассчитываем:

6. Расчет рукоятки
Конструкция рукояток и маховичков
В качестве привода винтового механизма используются рукоятки или маховички разнообразных типов, конструкции. Тип рукоятки (маховичка) выбирается исходя из анализа работы механизма, по соображениям удобства использования и минимальной стоимости.
При неинтенсивном использовании винтового механизма применяют более простые и дешевые в изготовлении рукоятки различных типов. Наиболее распространенной является прямая подвижная рукоятка круглого сечения. Она устанавливается в отверстии головки винта с зазором 0,2-1,0 мм (в зависимости от диаметра рукоятки) для обеспечения беспрепятственного перемещения в осевом направлении.
Для предотвращения выпадения рукоятки на ее концах устанавливают шаровые ручки по МН 6-64 с помощью резьбы или эпоксидного клея.
Расчетная длина рукоятки
Расчетная длина рукоятки (радиус маховичка), т.е. расстояние от оси вращения винта до центра ладони рабочего:
, (18)
где
– момент создаваемый рабочим для
преодоления моментов трения в резьбе
и на пяте
;
– усилие, создаваемое
одним рабочим; для кратковременной
работы
=200…300
Н.
По формуле (18) рассчитываем:
.
Проектирование рукоятки
Диаметр рукоятки круглого сечения находится из условия ее прочности на изгиб:
. (19)
Рукоятка
изготавливается из недорогих стали,
Ст3. Допускаемое напряжение на изгиб
для Ст3 можно принять
= 85 МПа.
По формуле (19) рассчитываем:
.
Размеры головки винта можно задать, руководствуясь соотношениями

,
где числовой коэффициент тем больше, чем меньше d. При рекомендуемых соотношениях размеров проверки прочности не требуется, так как все условия прочности заведомо выполняются.
Применение профильных соединений
При использовании в винтовом механизме съемных рукояток (рис. 6.2) или нестандартных маховичков, их можно устанавливать на винт с помощью профильного соединения. В технике чаще всего применяют квадратный профиль со скругленными краями.
Размеры
профильного соединения задаются
конструктивно. Посадочный диаметр
принимают несколько меньше внутреннего
диаметра резьбы
для обеспечения свободного прохода
гайки при сборке механизма:
;
.
Длину
соединения принимают
.
Ширину
квадрата
желательно принимать из ряда размеров
зева гаечных ключей.
Ширина
грани
определяется с помощью прорисовки.
После этого проверяется прочность профильного соединения на смятие:
. (20)
Допускаемые
напряжения смятия
определяются прочностью более слабого
материала соединения. Для стальных
рукояток и маховичков
МПа.
По формуле (20) рассчитываем:

7. Расчет параметров передач
КПД винтового механизма, учитывающий суммарные потери в винтовой паре и на пяте, определяется по формуле:
. (21)
По формуле (21) рассчитываем:

Передаточное число передачи «винт-гайка»:
.
(22)
По формуле (22) рассчитываем:

Выигрыш в силе:
.
Список литературы
Анурьев В.И. Справочник конструктора-машиностроителя. В 3-х т. Т.1. – М.: «Машиностроение», 1980 – 728с.
Анурьев В.И. Справочник конструктора-машиностроителя. В 3-х т. Т.2. – М.: «Машиностроение», 1980 – 559с.
Иосилевич Г.Б. Детали машин – М.: «Машиностроение», 1988 – 368с.
Камнев Г.Ф. Винтовые механизмы – Л.: изд. ЛКИ, 1967 – 52с.
Кривенко И.С., Артемьев Н.С. Проектирование винтовых механизмов – Л.: изд. ЛКИ, 1986 – 53с.
Курмаз Л.В., Скойбеда А.Т. Детали машин. Проектирование – Минск.: УП «Технопринт», 2002. – 290с.
Орлов П.И. Основы конструирования. В 3-х кн. Кн. 1. – М.: «Машиностроение», 1977 – 623с.
Решетов Д.Н. Детали машин – М.: «Машиностроение», 1989 – 496с.
Шелофаст В.В. Основы проектирования машин – М.: Изд-во АПМ, 2000 – 472с.


,
мм