Расчет парового котла ДЕ-6,5-14
Введение
Проверочный расчет выполняют для существующих параметров. По имеющимся конструктивным характеристикам при заданной загрузке и топливе определяют температуры воды, пара, воздуха и продуктов сгорания на границах между поверхностями нагрева, КПД агрегата, расхода топлива. В результате поверочного расчета получают исходные данные, необходимые для выбора вспомогательного оборудования и выполнения гидравлических, аэродинамических и прочностных расчетов.
При разработке проекта реконструкции парогенератора, например, в связи с увеличением его производительности, изменением параметров пара или с перевозом на другое топливо, может требоваться изменение целого ряда элементов, которые необходимо изменить, выполняют так, чтобы по возможности сохранялись основные узлы и детали типового парогенератора.
Расчет выполняется методом последовательного проведения расчетных операций с пояснением производимых действий. Расчетные формулы сначала записываются в общем виде, затем подставляются числовые значения всех входящих в них величин, после чего производится окончательный результат.
1 Технологический раздел
1.1 Краткое описание конструкции котла.
Котлы типа Е (ДЕ) предназначены для выработки насыщенного или перегретого пара при работе на газе и мазуте. Изготовитель: Бийский котельный завод.
Котел Е (ДЕ)-6,5-14-225ГМ имеет два барабана одинаковой длины диаметром около 1000 мм и выполнены по конструктивной схеме «Д», характерной особенностью которой является боковое расположение конвективной части котла относительно топочной камеры. Топочная камера расположена справа от конвективного пучка по всей длине котла в виде вытянутой пространственной трапеции. Основными составными частями котла являются верхний и нижний барабаны, конвективный пучок и образующие топочную камеру левый топочный экран (газоплотная перегородка), правый топочный экран, трубы экранирования фронтовой стенки топки и задний экран. Межцентровое расстояние установки барабанов 2750 мм. Для доступа внутрь барабанов в переднем и заднем днищах барабанов имеются лазы. Конвективный пучок образован коридорно расположенными вертикальными трубами диаметром 51x2,5 мм, присоединяемыми к верхнему и нижнему барабанам.
В конвективном пучке котла для поддержания необходимого уровня скоростей газов устанавливаются ступенчатые стальные перегородки.
Конвективный пучок от топки отделен газоплотной перегородкой (левым топочным экраном), в задней части которой имеется окно для выхода газов в конвективный газоход. Газоплотная перегородка выполняется из труб, установленных с шагом 55 мм. Вертикальная часть перегородки уплотняется вваренными между трубами металлическими проставками.
Поперечное сечение топочной камеры для всех котлов одинаково. Средняя высота составляет 2400 мм, ширина – 1790 мм.
Основная часть труб конвективного пучка и правого топочного экрана, а также трубы экранирования фронтовой стенки топки присоединяются к барабанам вальцовкой. Трубы газоплотной перегородки, а также часть труб правого топочного экрана и наружного ряда конвективного пучка, которые устанавливаются в отверстиях, расположенных в сварных швах или околошовной зоне, привариваются к барабанам электросваркой.
Трубы правого бокового экрана ввальцованы одним концом в верхний барабан, а другим – в нижний, образуя таким образом потолочный и подовый экраны. Под топки закрыт слоем огнеупорного кирпича. Задний экран имеет два коллектора (диаметром 159x6 мм) – верхний и нижний, которые связаны между собой трубами заднего экрана на сварке и необогреваемой рециркуляционной трубой (диаметром 76x3,5 мм). Сами коллекторы одним концом присоединяются к верхнему и нижнему барабанам на сварке. Фронтовой экран образован четырьмя трубами, развальцованными в барабанах. В середине фронтового экрана размещена амбразура горелки типа ГМ. Температура дутьевого воздуха перед горелкой не менее 10 °С.
Выступающие в топку части барабанов защищены от излучения фасонным шамотным кирпичом или шамотно-бетонной обмазкой.
Обмуровка натрубная снаружи обшита металлическим листом для уменьшения присосов воздуха. Обдувочные устройства расположены с левой стороны на боковой стенке котла. Обдувочный аппарат имеет трубу с соплами, которую необходимо вращать при проведении обдувки. Вращение обдувочной трубы производится вручную при помощи маховика и цепи. Для обдувки используется насыщенный или перегретый пар при давлении не менее 7 кгс/см2.
Выход дымовых газов из котла осуществляется через окно, расположенное на задней стенке котла в экономайзер.
На фронте топочной камеры котлов имеется лаз в топку, расположенный ниже топочного устройства, и три лючка-гляделки – два на правой боковой и один на задней стенках топочной камеры.
Взрывной клапан на котле располагается на фронте топочной камеры над горелочным устройством.
Котел выполнен с одноступенчатой схемой испарения. Опускным звеном циркуляционных контуров котла являются последние по ходу газов наименее обогреваемые ряды труб конвективного пучка.
На котле предусмотрена непрерывная продувка из нижнего барабана и периодическая из нижнего коллектора заднего экрана.
В водяном пространстве верхнего барабана находятся питательные трубы и направляющие щиты, в паровом объеме – сепарационные устройства. В нижнем барабане размещаются устройство для парового прогрева воды в барабане при растопке и патрубки для спуска воды. В качестве первичных сепарационных устройств используются установленные в верхнем барабане направляющие шиты и козырьки, обеспечивающие выдачу пароводяной смеси на уровень воды. В качестве вторичных сепарационных устройств применяются дырчатый лист и жалюзийный сепаратор. Отбойные щиты, направляющие козырьки, жалюзийные сепараторы и дырчатые листы выполняются съемными для возможности полного контроля и ремонта вальцовочных соединений труб с барабаном. Температура питательной воды должна быть не менее 100 °С. Котлы изготавливаются в виде единого блока, смонтированного на опорной раме, на которую передается масса элементов котла, котловой воды, каркаса, обмуровки. Нижний барабан имеет две опоры: передняя неподвижная, а задняя – подвижная, и на ней установлен репер. На верхнем барабане котла установлены два пружинных предохранительных клапана, а также котловой манометр и водоуказательные приборы.
Котел имеет четыре циркуляционных контура: 1-й – контур конвективного пучка; 2-й – правого бокового экрана; 3-й – заднего экрана; 4-й – фронтового экрана.
Основные характеристики котла Е (ДЕ)-6,5-14-225ГМ
|
Паропроизводительность: |
6,5 т/ч |
|
Рабочее давление (избыточное): |
13 кгс/см2 |
|
Толщина стенки барабана: |
13 мм |
|
Тип горелки: |
ГМ-4,5 |
|
Расчетный расход топлива: |
442 – 488 м3/ч |
2 Тепловой расчет парового котла
2.1 Характеристика топлива
Топливом для проектируемого котла является попутный газ, газопровода «Кумертау – Ишимбай – Магнитогорск». Расчетные характеристики газа на сухую массу принимаются по таблице 1.
Таблица 1 – Расчетные характеристики газообразного топлива
|
Газопровод |
Состав газа по объему, % |
Низшая теплота сгорания,
|
Плотность ρ при 0°С и 101,3 кПа, кг/м3 |
|||||||||||
|
СН>4> |
С>2>Н>6> |
С>3>Н>8> |
С>4>Н>10> |
С>5>Н>12> |
С>6>Н>14> |
СО |
СО>2> |
N>2> |
O>2> |
H>2>S |
H>2> |
|||
|
Кумертау – Ишимбай - Магнитогорск |
81,7 |
5,3 |
2,9 |
0,9 |
0,3 |
- |
- |
- |
8,8 |
0,1 |
- |
- |
36 800 |
0,858 |
2.2 Расчет и составление таблиц объемов воздуха и продуктов сгорания
Все котлы типа Е, кроме котла Е-25 имеют один конвективный пучок.
Присосы воздуха по газовому тракту принимаем по таблице 2.
Таблица 2 – Коэффициент избытка воздуха и присосы в газоходах котла.
|
Показатель |
Условное обозначение |
Величина |
|
1. Коэффициент избытка воздуха в топке |
α>Т> |
1,05 |
|
2. Присосы |
||
|
в топку |
Δ α>Т> |
0,07 |
|
в конвективный пучок |
Δ α>К.Π.> |
0,05 |
|
в экономайзер и газоходы за котлом |
Δ α>ЭК> |
0,10 |
Присосы в газоходах за котлом оцениваем по ориентировочной длине газохода – 5 м.
Таблица 3 – Избытки воздуха и присосы по газоходам
|
Наименование газохода |
α'' |
Δα |
αср |
|
1. Топка |
1,12 |
0,07 |
1,085 |
|
2. Конвективный пучок |
1,17 |
0,05 |
1,145 |
|
3. Экономайзер и газоходы за котлом |
1,27 |
0,10 |
1,22 |
Объемы воздуха и продуктов сгорания рассчитываются на 1 м3 газообразного топлива при нормальных условиях (0°С и 101,3 кПа).
Теоретически объемы воздуха и продуктов сгорания топлива при полном его сгорании (α = 1) принимаются по таблице 4.
Таблица 4 – Теоретические объемы воздуха и продуктов сгорания
|
Наименование величины |
Условное обозначение |
Величина, м3/м3 |
|
1. Теоретический объем воздуха |
|
9,74 |
|
2. Теоретические объемы сгорания: |
||
|
трехатомных газов |
|
1,06 |
|
азота |
|
7,79 |
|
водных паров |
|
2,13 |
Объемы газов при полном сгорании топлива и α > 1 определяются для каждого газохода по формулам приведенным в таблице 5.
Таблица 5 – Действительные объемы газов и их объемные доли при α > 1.
|
Величина |
Поверхность нагрева |
||
|
топка |
конвективный пучок |
экономайзер |
|
|
1. α = αср |
1,12 |
1,17 |
1,27 |
|
2.
|
2,14881768 |
2,15665838 |
2,17234 |
|
3.
|
12,1488 |
12,6358 |
13,6098 |
|
4.
|
0,175325958 |
0,16856867 |
0,1565 |
|
5.
|
0,087251416 |
0,083888634 |
0,07789 |
|
6.
|
0,262577374 |
0,252457304 |
0,23439 |
|
7.G>r>, кг/м3 |
15,2278928 |
15,8639148 |
17,136 |
Коэффициент избытка воздуха = ср принимаются по таблице 3;
,
,

берутся из таблицы 4;
– объем водяных паров при
1;
– объем дымовых газов при
1;
– объемная доля водяных паров;
–
объемная доля трехатомных газов;
– объемная доля водяных паров
и трехатомных газов;
G>r> – масса дымовых газов.
(2.2-1)
где
=
- плотность сухого газа при нормальных
условиях, принимается по таблице 1;
= 10 г/м3
– влагосодержание газообразного
топлива, отнесенное к 1 м3
сухого газа.
2.3 Расчет и составление таблиц энтальпии воздуха и продуктов сгорания. Построение I - ν диаграммы
Энтальпии воздуха и продуктов сгорания считаются для каждого значения коэффициента избытка воздуха α в области, перекрывающей ожидаемый диапазон температур в газоходе.
Таблица 6 – Энтальпии 1 м3 воздуха и продуктов сгорания.
|
t, °С |
(сt) СО>2> |
(сt) N>2> |
(сt) H>2>O |
(сt) в |
|
кДж/м3 |
||||
|
2000 |
4844 |
2965 |
3926 |
3066 |
|
1800 |
4305 |
2644 |
3458 |
2732 |
|
1600 |
3769 |
2324 |
3002 |
2403 |
|
1400 |
3239 |
2009 |
2559 |
2076 |
|
1200 |
2717 |
1705 |
2132 |
1754 |
|
1000 |
2213 |
1398 |
1723 |
1438 |
|
800 |
1712 |
1098 |
1334 |
1129 |
|
600 |
1231 |
808 |
969 |
830 |
|
400 |
776 |
529 |
626 |
542 |
|
200 |
360,0 |
261,0 |
304,0 |
267,0 |
|
100 |
171,7 |
130,1 |
150,5 |
132,7 |
Таблица 7 – Энтальпии воздуха и продуктов сгорания при α > 1.
|
Поверхность нагрева |
t°С |
I>0.r> |
I>0.>>в> |
(α – 1) I>0.>>в> |
I>r> |
ΔI>r> |
|
кДж/м3 |
||||||
|
Топка, вход в конвективный пучок и пароперегреватель α>Т> = 1,12 |
2000 |
36594,4 |
29862,8 |
3583,5408 |
33010,83 |
3678,39 |
|
1800 |
32525,6 |
26609,7 |
3193,1616 |
29332,44 |
3647,7 |
|
|
1600 |
28493,4 |
23405,2 |
2808,6264 |
25684,73 |
3577,04 |
|
|
1400 |
24534,1 |
20220,2 |
2426,4288 |
22107,69 |
3454,64 |
|
|
1200 |
20703,1 |
17084 |
2050,0752 |
18653,05 |
3427,6 |
|
|
1000 |
16906,2 |
14006,1 |
1680,7344 |
15225,46 |
3335,47 |
|
|
800 |
13209,6 |
10996,5 |
1319,5752 |
11889,98 |
||
|
Конвективный пучок и пароперегреватель α>К.П> = 1,19 |
1000 |
16906,2 |
14006,1 |
2381,0404 |
14525,15 |
3184,99 |
|
800 |
13209,6 |
10996,5 |
1869,3982 |
11340,16 |
3051,33 |
|
|
600 |
9663,15 |
8084,2 |
1374,314 |
8288,836 |
2909,43 |
|
|
400 |
6276,85 |
5279,08 |
897,4436 |
5379,406 |
2759,2 |
|
|
200 |
3062,31 |
2600,58 |
442,0986 |
2620,211 |
||
|
Экономайзер α>ЭК> = 1,24 |
400 |
6276,85 |
5279,08 |
1266,9792 |
5009,871 |
2571,7 |
|
200 |
3062,31 |
2600,58 |
624,1392 |
2438,171 |
1232,32 |
|
|
100 |
1516,05 |
1292,5 |
310,19952 |
1205,846 |
Данные для расчета энтальпий принимаются по таблицам 4 и 6. Энтальпия газов при коэффициенте избытка воздуха = 1 и температуре газов t, С, рассчитывается по формуле:
(2.3-1)
Энтальпия теоретически необходимого количества воздуха для полного сгорания газа при температуре t, С, определяется по формуле:
(2.3-2)
Энтальпия действительного объема дымовых газов на 1 м3 топлива при температуре t, С:
(2.3-3)
Изменение энтальпии газов:
(2.3-4)
где
- расчетное значение энтальпии;
- предыдущее по отношению к расчетному
значение энтальпии.
Показатель
снижается по мере уменьшения температуры
газов t,
С.
Нарушение этой закономерности указывает
на наличие ошибок в расчете энтальпий.
В нашем случае это условие соблюдается.
Построим I
- ν диаграмму по данным таблицы 7.

Рисунок 1 – I - ν диаграмма
2.4 Расчет теплового баланса котла. Определение расхода топлива
2.4.1 Тепловой баланс котла
Составление теплового баланса котла заключается в установлении равенства между поступившим в котел количеством тепла, называемого располагаемым теплом Q>P>, и суммой полезно использованного тепла Q>1> и тепловых потерь Q>2>, Q>3>, Q>4>. На основании теплового баланса вычисляют КПД и необходимый расход топлива.
Тепловой баланс составляется применительно к установившемуся тепловому состоянию котла на 1 кг (1 м3) топлива при температуре 0°С и давлении 101,3 кПа.
Общее уравнение теплового баланса имеет вид:
Q>P> + Q>в.вн> = Q>1> + Q>2> + Q>3> + Q>4> + Q>5> + Q>6>, кДж/м3, (2.4.1-1)
где Q>P> – располагаемое тепло топлива; Q>в.вн> – тепло, внесенное в топку воздухом при его подогреве вне котла; Q>ф> – тепло, внесенное в топку паровым дутьем («форсуночным» паром); Q>1> – полезно использованное тепло; Q>2> – потеря тепла с уходящими газами; Q>3> – потеря тепла от химической неполноты сгорания топлива;– потеря тепла от механической неполноты сгорания топлива; Q>5> – потеря тепла от наружного охлаждения; Q>6> – потеря с теплом шлака.
При сжигании газообразного топлива в отсутствие внешнего подогрева воздуха и парового дутья величины Q>в.вн>, Q>ф>, Q>4>, Q>6> равны 0, поэтому уравнение теплового баланса будет выглядеть так:
Q>P> = Q>1> + Q>2> + Q>3> + Q>5>, кДж/м3. (2.4.1-2)
Располагаемое тепло 1 м3 газообразного топлива:
Q>P> = Qd>i> + i>тл>, кДж/м3, (2.4.1-3)
где Qd>i> – низшая теплота сгорания газообразного топлива, кДж/м3 (см. табл. 1); i>тл> – физическое тепло топлива, кДж/м3. Учитывается в том случае, когда топливо подогревается посторонним источником тепла. В нашем случае этого не происходит, поэтому Q>P> = Qd>i>, кДж/м3, (2.4.1-4)
Q>P> = 36 800 кДж/м3. (2.4.1-5)
2.4.2 Тепловые потери и КПД котла
Потери тепла обычно выражаются в % от располагаемого тепла топлива:

и т.д. (2.4.2-1)
Потеря тепла с уходящими газами в атмосферу определяется как разность энтальпий продуктов сгорания на выходе из последней поверхности нагрева (экономайзера) и холодного воздуха:
,
(2.4.2-2)
где I>ух> = IН >ЭК> – энтальпия уходящих газов. Определяется интерполяцией по данным таблицы 7 по заданной температуре уходящих газов t>ух>°С:
,
кДж/м3.
(2.4.2-3)
α>ух> = αН>ЭК> – коэффициент избытка воздуха за экономайзером (см. табл.3);
I>0.х.в.> – энтальпия холодного воздуха,
I>0.х.в> = (ct)>в>*VH>0> = 39,8*VH>0>,> >кДж/м3, (2.4.2-4)
где (ct)>в> = 39,8 кДж/м3 – энтальпия 1 м3 холодного воздуха при t>х.в.> = 30°С; VH>0> – теоретический объем воздуха, м3/м3 (см. табл. 4) = 9,74 м3/м3.
I>0.х.в> = (ct)>в>*VH>0> = 39,8*9,74 = 387,652 кДж/м3, (2.4.2-5)
По таблице параметров паровых котлов t>ух> = 162°С,
,(2.4.2-6)
(2.4.2-7)
Потеря тепла от химической неполноты сгорания q>3> , %, обусловлена суммарной теплотой сгорания продуктов неполного горения, остающихся в дымовых газах (СО, Н>2>, СН>4> и др.). Для проектируемого котла принимаем
q>3> = 0,5%.
Потеря тепла от наружного охлаждения q>5> , %, принимается по таблице 8 в зависимости от паропроизводительности котла D, кг/с,
кг/с,
(2.4.2-8)
где D, т/ч – из исходных данных = 6,73 т/ч.
Таблица 8 – Потери теплоты от наружного охлаждения парового котла с хвостовыми поверхностями
|
Номинальная паропроизводительность котла D, кг/с (т/ч) |
Потеря теплоты q>5> , % |
|
1,67 (6) |
2,4 |
|
2,78 (10) |
1,7 |
|
4,16 (15) |
1,5 |
|
5,55 (20) |
1,3 |
|
6,94 (25) |
1,25 |
Находим приблизительное значение q>5> , %, для номинальной паропроизводительности 6,73 т/ч.
(2.4.2-9)
Суммарная потеря теплоты в котле:
Σq = q>2> + q>3> + q>5> = 4,62 + 0,5 + 1,93 = 7,05 % (2.4.2-10)
Коэффициент полезного действия котла (брутто):
η>К> = 100 – Σq = 100 – 7,05 = 92,95 %. (2.4.2-11)
2.4.3 Полезная мощность котла и расход топлива
Полное количество теплоты, полезно использованной в котле:
,
кВт, (2.4.3-1)
где
=
- количество выработанного насыщенного
пара = 1,87 кг/с,
- энтальпия насыщенного пара,
кДж/кг; определяется по давлению и
температуре насыщенного пара (Р>НП>
= 14,0 кгс/см2
(1,4 МПа); t>НП>
= 195,1 С):
кДж/кг.
- энтальпия питательной воды,
кДж/кг,
,
кДж/кг, (2.4.3-2)
где с>П.В.> 4,19 кДж/(кг*С) – теплоемкость воды;
t>П.В.> – температура питательной воды = 83С;
кДж/кг; (2.4.3-3)
- энтальпия кипящей воды, кДж/кг,
определяется по таблице 9 по давлению
насыщенного пара Р>НП>
= 14,0 кгс/см2
(1,4 МПа):
|
Давление насыщенного пара, Р>ПЕ>, МПа |
Температура насыщения, t>S>, C |
Удельный объем кипящей воды, v’, м3/кг |
Удельный объем сухого насыщенного пара, v’’, м3/кг |
Удельная энтальпия кипящей воды, i’, кДж/кг |
Удельная энтальпия сухого насыщенного пара, i’’, кДж/кг |
|
1,25 |
189,82 |
0,0011412 |
0,15698 |
806,8 |
2785,2 |
|
1,27 |
190,54 |
0,0011422 |
0,15436 |
810,0 |
2785,7 |
|
1,3 |
191,61 |
0,0011438 |
0,15117 |
814,8 |
2786,5 |
|
1,35 |
193,35 |
0,0011464 |
0,14579 |
822,6 |
2787,7 |
|
1,37 |
194,03 |
0,0011474 |
0,14378 |
825,6 |
2788,2 |
|
1,4 |
195,05 |
0,0011489 |
0,14077 |
830,1 |
2788,9 |
кДж/кг, (2.4.3-4)
- расход воды на продувку котла,
кг/с:
,
кг/с; (2.4.3-5)
где >ПР> – доля непрерывной продувки = 4 %;
D – паропроизводительность котла = 1,87 кг/с.
кг/с (2.4.3-6)
кВт (2.4.3-7)
Расход топлива, подаваемого в топку котла:
,
м3/с, (2.4.3-8)
где Q>K> – полезно использованная теплота в котле, кВт;
Q>Р> – располагаемое тепло 1м3 газообразного топлива, кДж;
>К> – коэффициент полезного действия котла, %.
м3/с.
(2.4.3-9)
Таблица 10 – Расчет теплового баланса.
|
Наименование |
Обозначение |
Расчетная формула |
Единица измерения |
Расчетное значение |
|
1 |
2 |
3 |
4 |
5 |
|
Располагаемая теплота топлива |
Q>P> |
Q>P>>С> + Q>в.вн> |
кДж/м3 |
36 800 |
|
Потеря теплоты от химической неполноты сгорания |
|
|
% |
0,5 |
|
Потеря теплоты от механической неполноты сгорания |
|
По рекомендации [1] |
% |
0 |
|
Температура уходящих газов |
t>ух> |
По рекомендации [2] |
С |
162 |
|
Энтальпия уходящих газов |
I>ух> |
|
кДж/м3 |
2160,0833 |
|
Температура холодного воздуха |
t>ХВ> |
По заданию |
С |
30 |
|
Энтальпия холодного воздуха |
I>0.х.в> |
t>ХВ>*VH>0> |
кДж/м3 |
387,652 |
|
Потеря теплоты с уходящими газами |
|
|
% |
4,62 |
|
Потеря теплоты от наружного охлаждения |
|
|
% |
1,93 |
|
КПД котла |
|
100 – Σq |
% |
92,95 |
|
Коэффициент сохранения теплоты |
|
|
- |
0,98 |
|
Температура питательной воды |
t>ПВ> |
По заданию |
С |
83 |
|
Температура насыщенного пара |
t>НП> |
По заданию |
С |
195,1 |
|
Температура перегретого пара |
t>ПЕ> |
По заданию |
С |
210 |
|
Энтальпия питательной воды |
|
|
кДж/кг |
347,77 |
|
Энтальпия насыщенного пара |
|
По таблице 3 |
кДж/кг |
2788,4 |
|
Энтальпия перегретого пара |
|
По таблице 3 |
кДж/кг |
2828,9 |
|
Величина продувки |
>ПР> |
По заданию |
% |
4 |
|
Полезно используемая теплота |
Q>R> |
|
кВт |
4631,44 |
|
Полный расход топлива |
B |
|
м3/с |
0,135 |
|
Расчетный расход топлива |
B>P> |
|
м3/с |
0,135 |
2.5 Расчет топки (поверочный)
2.5.1 Геометрические характеристики топки
Расчет площади поверхностей, ограждающих объем топочной камеры.
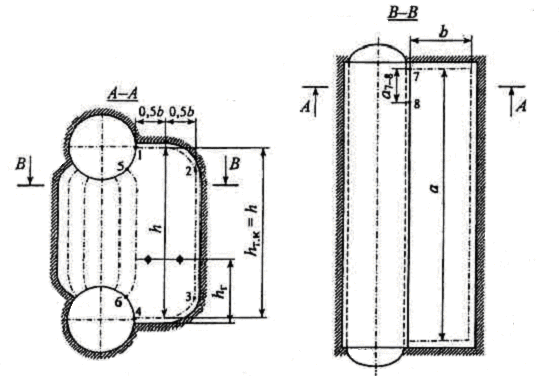
Границами объема топочной камеры являются осевые плоскости экранных труб или обращенные в топку поверхности защитного огнеупорного слоя, а в местах, не защищенных экранами, - стены топочной камеры и поверхность барабана, обращенная в топку. В выходном сечении топки и камеры догорания объем топочной камеры ограничивается плоскостью, проходящей через ось левого бокового экрана. Поскольку поверхности, ограждающие объем топочной камеры, имеют сложную конфигурацию, для определения их площади поверхности разбивают на отдельные участки, площади которых затем суммируются. Площадь поверхностей, ограждающих объем топочной камеры, определяются по чертежам котла.

Рисунок 2 – К определению границ расчетного объема топочной камеры котла.
Площадь потолка, правой боковой стенки и пода топки:
,
м2, (2.5.1-1)
где
- длины прямых участков потолка, боковой
стенки и пола; а – глубина топки = 2695 мм.
,
м2, (2.5.1-2)
Площадь левой боковой стенки:
,
м2. (2.5.1-3)
Площадь фронтовой и задней стенки:
,
м2. (2.5.1-4)
Общая площадь ограждающих поверхностей:
,
м2. (2.5.1-5)
Расчет лучевоспринимающей поверхности топочных экранов и выходного экрана топки
Таблица 11 – Геометрические характеристики топочных экранов
|
№ |
Наименование, условное обозначение, единицы измерения величин |
Фронтовой экран |
Задний экран |
Боковой экран |
|
|
левый |
правый |
||||
|
1 |
2 |
3 |
4 |
5 |
6 |
|
1 |
Наружный диаметр труб d, мм |
51 |
51 |
51 |
51 |
|
2 |
Шаг экранных труб S, мм |
55 |
55 |
55 |
55 |
|
3 |
Относительный шаг экранных труб |
1,078 |
1,078 |
1,078 |
1,078 |
|
4 |
Расстояние от оси экранной трубы до обмуровки е, мм |
25 |
25 |
25 |
25 |
|
5 |
|
0,4673 |
0,4673 |
0,4673 |
0,4673 |
|
6 |
Угловой коэффициент х |
0,96 |
0,96 |
0,96 |
0,96 |
|
7 |
Расчетная ширина экрана b>э>, мм |
1790 |
1790 |
2695 |
2695 |
|
8 |
Число труб экрана z, шт. |
33 |
33 |
50 |
50 |
|
9 |
Средняя освещенная длина
труб экрана
|
2400 |
2400 |
2750 |
6776 |
|
10 |
Площадь стены F>пл>, занятой экраном, м2 |
4,296 |
4,296 |
5,525 |
15,853 |
|
11 |
Лучевоспринимающая поверхность экрана Н>э>, м2 |
4,124 |
4,124 |
5,304 |
15,22 |
Где
- относительный шаг экранных труб,
- относительное расстояние от оси трубы
до обмуровки, b>э>
– расчетная ширина экрана - расстояние
между осями крайних труб экрана,
принимается по чертежам.
z – число труб экрана, принимается по чертежам или рассчитывается по формуле:
,
шт., количество труб округляется до
целого числа. (2.5.1-6)
- средняя освещенная длина трубы
экрана, определяется по чертежу.
Замер длины трубы экрана производится в объеме топочной камеры от места вальцовки трубы в верхний барабан или коллектор до места вальцовки трубы в нижний барабан.
Площадь стены занятой экраном:
F>пл> = b>э>*l>э>*10-6, м2 (2.5.1-7)
Лучевоспринимающая поверхность экранов:
Н>э> = F>пл> * х, м2 (2.5.1-8)
Таблица 12 – Геометрические характеристики топочной камеры
|
№ |
Наименование, условное обозначение, единицы измерения |
Величина |
|
1 |
Площадь стен топки F>СТ>, м2 |
29,97 |
|
2 |
Лучевоспринимающая поверхность топочной камеры, Н>Л>, м2 |
28,772 |
|
3 |
Высота топочной камеры h>т.к.>, м |
2,4 |
|
4 |
Высота расположения горелок h>г>, м |
1,372 |
|
5 |
Относительная высота расположения горелок, Х>Г> |
0,572 |
|
6 |
Активный объем топочной камеры V>т.к.>, м3 |
11,578 |
|
7 |
Степень экранирования топочной камеры |
0,96 |
|
8 |
Эффективная толщина излучающего слоя s, м |
1,39 |
Площадь стен топки F>СТ> принимается по формуле 2.5.1-5.
Лучевоспринимающая поверхность топочной камеры вычисляется суммированием лучевоспринимающей поверхности экранов по таблице 11.
Высота расположения горелок и высота топочной камеры замеряется по чертежам.
Относительная высота горелки:
.
(2.5.1-9)
Активный объем топочной камеры:
(2.5.1-10)
Степень экранирования топочной камеры:
(2.5.1-11)
Эффективная толщина излучающего слоя в топке:
(2.5.1-12)
2.5.2 Расчет теплообмена в топочной камере
Целью поверочного расчета является определение тепловосприятия и параметров дымовых газов на выходе из топки. Расчеты ведутся методом приближения. Для этого предварительно задаются температурой газов на выходе из топки, производят расчет ряда величин, по которым находят температуру на выходе из топки. Если найденная температура отличается от принятой более чем на ± 100С, то задаются новой температурой и повторяют расчет.
Радиационные свойства продуктов сгорания
Основной радиационной характеристикой продуктов сгорания служит критерий поглощательной способности (критерий Бугера) Bu = kps, где k – коэффициент поглощения топочной среды, p – давление в топочной камере, s – эффективная толщина излучающего слоя. Коэффициент k рассчитывается по температуре и составу газов на выходе из топки. При его определение учитывается излучение трехатомных газов.задаемся в первом приближении температурой продуктов сгорания на выходе из топки 1100С.
Энтальпия продуктов сгорания на выходе из топки:
,
кДж/м3,
(2.5.2-1)
где все минимальные и максимальные величины принимаются по таблице 7.
,
кДж/м3.
(2.5.2-2)
Коэффициент поглощения лучей газовой фазой продуктов сгорания:
,
1/(м*МПа) (2.5.2-3)
где k0>г> – коэффициент, определяемый по номограмме(1). Для определения данного коэффициента потребуются следующие величины:
р = 0,1 МПа – давление в топочной камере;
>
>- таблица 5, для топки =
0,175325958;
- таблица 5, для топки = 0,262577374;
р>n>
= р*
=0,0262577374
МПа;
s – по таблице 12 = 1,39 м;
р>n> s = 0,0365 м*МПа;
10 р>n> s = 0,365 м*МПа;
= 1100С.
k0>г >= 8,4.

Коэффициент поглощения лучей частицами сажи:
,
1/(м*МПа) (2.5.2-4)
где >Т> – коэффициент избытка воздуха на выходе из топки, по таблице 2;
m,n – количество атомов углерода и водорода в соединении соответственно;
C>m>H>n> – содержание углерода и водорода в сухой массе топлива по таблице 1;
Т’’>Т.З> = v’’>Т.З> + 273 – температура газов на выходе из топки, где v’’>Т.З> = 1100С.
,
1/(м*МПа) (2.5.2-5)
Коэффициент поглощения топочной среды:
k = k>r> + mk>c>, 1/(м*МПа) (2.5.2-6)
где k>r> – коэффициент поглощения лучей газовой фазой продуктов сгорания по формуле 2.5.15;1; m – коэффициент относительного заполнения топочной камеры светящимся пламенем, для газа = 0,1; k>c> – коэффициент поглощения лучей частицами сажи по формуле 2.5.16;1.
k = 2,2056 + 0,1*1,4727 = 2,3529 1/(м*МПа) (2.5.2-7)
Критерий поглощательной способности (критерий Бугера):
Bu = kps = 2,3529*0,1*1,39 = 0,327 (2.5.2-8)
Эффективное значение критерия Бугера:
(2.5.2-9)
Расчет суммарного теплообмена в топке
Полезное тепловыделение в топке
Полезное тепловыделение в топке Q>Т> зависит от располагаемого тепла топлива Q>Р>, потерь тепла q>3> и тепла, вносимого в топку воздухом. Проектируемый котел не имеет воздухоподогревателя, поэтому в топку вносится тепло с холодным воздухом:
,
кДж/м3,
(2.5.2-10)
где >Т> – коэффициент избытка воздуха в топке (см. таблица 2) = 1,05,
I>0х.в.> – энтальпия холодного воздуха = (ct)>в>*VH>0> = 387,652> >кДж/м3.
кДж/м3.
(2.5.2-11)
Полезное тепловыделение в топке:
,
кДж/м3,
(2.5.2-12)
кДж/м3 (2.5.2-13)
Расчет температуры газов на выходе из топки
Температура
газов на выходе из топки
зависит от адиабатической температуры
горения топлива
,
критерия Бугера Bu,
теплового напряжения стен топочной
камеры q>ст>,
коэффициента тепловой эффективности
экранов ,
уровня расположения горелок х>Г>
и других величин.
Адиабатическая
температура горения топлива
находится
по таблице 7 по полезному тепловыделению
в топке, приравненному к энтальпии
продуктов сгорания в начале топки.
,С,
(2.5.2-14)
,
К. (2.5.2-15)
С,
(2.5.2-16)
К. (2.5.2-17)
Коэффициент сохранения тепла:
(2.5.2-18)
Средняя суммарная теплоемкость продуктов сгорания 1 м3 топлива:
,
кДж/(м3*К)
(2.5.2-19)
кДж/(м3*К)
(2.5.2-20)
Для расчета среднего коэффициента тепловой эффективности экранов >СР>, заполняем таблицу:
Таблица 13 – Коэффициент тепловой эффективности экранов
|
№ |
Наименование элемента котла |
х |
|
|
F>пл> |
>i> F>пл>>i> |
|
1 |
2 |
3 |
4 |
5 |
6 |
7 |
|
1 |
Фронтовой экран топки |
0,96 |
0,65 |
0,624 |
4,296 |
2,6807 |
|
2 |
Задний экран топки |
0,96 |
0,65 |
0,624 |
4,296 |
2,6807 |
|
3 |
Левый боковой экран топочной камеры |
0,96 |
0,65 |
0,624 |
5,525 |
3,4476 |
|
4 |
Правый боковой экран топочной камеры |
0,96 |
0,65 |
0,624 |
15,853 |
9,8923 |
|
5 |
Итого >I> F>пл>>i> |
- |
- |
- |
- |
18,7013 |
Средний коэффициент тепловой эффективности экранов:
(2.5.2-21)
Параметр забалластированности топочных газов:
м3/м3
(2.5.2-22)
Параметр М, учитывающий влияние на интенсивность теплообмена в камерных топках относительного уровня расположения горелок, степени забалластированности топочных газов и других факторов:
(2.5.2-23)
где М>0> – коэффициент для газомазутных топок при настенном расположении горелок, М>0> = 0,4.
(2.5.2-24)
Расчетная температура газов на выходе из топочной камеры:

Проверка точности расчета температуры продуктов сгорания на выходе из топки.
Так
как
меньше чем 100С,
то данную
температуру принимаем за окончательную
и по ней находим энтальпию по таблице
7.
,
кДж/м3 (2.5.2-25)
,
кДж/м3
Тепловосприятие топки.
Количество тепла, воспринятого в топке излучением 1 м3 газообразного топлива:
Q>Л> = (Q>T> – I’’>T>), кДж/м3 (2.5.2-26)
Q>Л> = 0,98(37023,03 – 18041,47) = 18602,19. кДж/м3
Удельное тепловое напряжение объема топочной камеры:
кВт/м3
(2.5.2-27)
Удельное тепловое напряжение стен топочной камеры:
кВт/м2 (2.5.2-28)
Таблица 14 – Расчет теплообмена в топке
|
Наименование |
Обозначение |
Расчетная формула |
Единица измерения |
Расчетное значение |
|
1 |
2 |
3 |
4 |
5 |
|
Активный объем топочной камеры |
|
|
м3 |
11,578 |
|
Площадь поверхности стен топочной камеры |
F>CT> |
Из расчета |
м2 |
29,97 |
|
Угловой коэффициент экрана |
x |
По рис. 5.3 из (3) |
- |
0,96 |
|
Площадь стен занятая экраном |
F>ПЛ> |
F>б> + F>б.к> |
м2 |
29,97 |
|
Эффективная толщина излучающего слоя |
s |
|
м |
1,39 |
|
Площадь лучевоспринимающей поверхности топочной камеры |
Н>Л> |
F>ПЛ>*х |
м2 |
28,772 |
|
Коэффициент загрязнения |
|
по таблице 13 |
0,65 |
|
|
Коэффициент тепловой эффективности экранов |
|
*х |
0,624 |
|
|
Коэффициент тепловой эффективности лучевоспринимающей поверхности |
>СР> |
|
0,624 |
|
|
Температура газов на выходе из топки |
|
выбирается предварительно |
1100 |
|
|
Энтальпия газов на выходе из топки |
|
По рисунку 1 |
кДж/м3 |
18041,47 |
|
Энтальпия холодного воздуха |
I>0.х.в> |
t>ХВ>*VH>0> |
кДж/м3 |
387,65 |
|
Количество теплоты, вносимое в топку с воздухом |
|
|
кДж/м3 |
407,03 |
|
Полезное тепловыделение в топке |
|
|
кДж/м3 |
37023,03 |
|
Адиабатическая температура горения |
|
По рисунку 1 в зависимости
от
|
С |
2023 |
|
Средняя суммарная теплоемкость продуктов сгорания |
|
|
кДж/(м3*К) |
19,59 |
|
Суммарная доля трехатомных газов |
|
По таблице 5 |
- |
0,26 |
|
Давление в топочной камере |
Р |
По рекомендации (1) |
МПа |
0,1 |
|
Парциальное давление трехатомных газов |
р>n> |
р* |
МПа |
0,026 |
|
Коэффициент ослабления лучей трехатомными газами |
|
|
1/(м*МПа) |
2,21 |
|
Коэффициент ослабления лучей сажистыми частицами |
|
|
1/(м*МПа) |
1,47 |
|
Коэффициент ослабления лучей |
k |
k>r> + mk>c>, |
1/(м*МПа) |
2,35 |
|
Параметр, учитывающий распределение температур в топке |
М |
|
- |
0,3428 |
|
Общее тепловосприятие топки |
Q |
(Q>T> – I’’>T>) |
кДж/м3 |
18602,19 |
|
Действительная температура газов на выходе из топки |
|
|
С |
1059,8 |
2.6 Конструктивный тепловой расчет чугунного экономайзера
Таблица 15 – Геометрические характеристики экономайзера
|
№ |
Наименование, условное обозначение, единицы измерения |
Величина |
|
1 |
Наружный диаметр труб d, мм |
76х8 |
|
2 |
Толщина стенки труб , мм |
8 |
|
3 |
Размеры квадратного ребра b, мм b’, мм |
150 146 |
|
4 |
Длина трубы l, мм |
2000 |
|
5 |
Число труб в ряду z>P>, шт. |
5 |
|
6 |
Поверхность нагрева с газовой стороны одной трубы, Н>ТР>, м2 |
2,95 |
|
7 |
Живое сечение для прохода газов одной трубы F>ТР>, м2 |
0,120 |
|
8 |
Поверхность нагрева с газовой стороны одного ряда Н>Р>, м2 |
14,75 |
|
9 |
Живое сечение для прохода газов F>Г>, м2 |
0,6 |
|
10 |
Сечение для прохода воды f>В>, м2 |
0,014 |
|
11 |
Поверхность нагрева экономайзера Н>ЭК>, м2 |
165,07 |
|
12 |
Количество рядов экономайзера n>Р>, шт. |
10 |
|
13 |
Количество петель n>ПЕТ>, шт. |
5 |
|
14 |
Высота экономайзера h>ЭК>, м |
1,5 |
|
15 |
Общая высота экономайзера с учетом рассечек h>ЭК>, м |
2 |
d, , b, b’ – принимаем по рисунку 3;
l, z>P> – принимается по таблице характеристик чугунных экономайзеров;
Н>Р> и F>ТР> – принимается по таблице характеристик одной трубы ВТИ в зависимости от длины трубы.
Поверхность нагрева с газовой стороны одного ряда равна:
Н>Р> = Н>ТР>* z>P>.
Живое сечение для прохода газов равно:
F>Г> = F>ТР>* z>P>.
Сечение для прохода воды одного ряда равно:
f>В> = * d2>ВН>/4* z>P>/106,
где d>ВН> = d – 2 - внутренний диаметр трубы, мм.
Поверхность нагрева экономайзера равна:
Н>ЭК> = Q>>>.ЭК>*В>Р>*103/k*t, (2.6-1)
где Q>>>.ЭК> – тепловосприятие экономайзера, определенное по уравнению теплового баланса, принимаем по таблице характеристик чугунных экономайзеров, В>Р> – секундный расход топлива, вычисленный в предыдущем задании, k – коэффициент теплопередачи, также принятый по таблице характеристик чугунных экономайзеров, t – температурный напор определяем также по таблице характеристик чугунных экономайзеров
Н>ЭК> = 3140*0,133*103/22*115 = 304,35 м (2.6-2)
Количество рядов в экономайзере равно (принимается целое четное число):
n>Р> = Н>ЭК>/ Н>Р> = 304,35/17,7 = 16 (2.6-3)
Количество петель равно: n>ПЕТ> = n>Р> / 2 = 8. (2.6-4)
Высота экономайзера равна: h>ЭК> = n>Р>* b*10-3 = 10*150/1000 =1,5 м. (2.6-5)
Общая высота экономайзера с учетом рассечек равна:
h>ЭК> = h>ЭК> + 0,5* n>РАС> = 1,5 + 0,5*1 = 2 м, (2.6-6)
где
n>РАС>
– количество ремонтных рассечек, которые
ставятся через каждые 8 рядов.
Рисунок 3 – Труба ВТИ

Рисунок 4 – Эскиз чугунного экономайзера ВТИ.
Заключение
В данной курсовой работе мною был произведен тепловой и поверочный расчет парового котла Е (ДЕ) – 6,5 – 14 – 225 ГМ, топливом для которого является газ газопровода «Кумертау – Ишимбай – Магнитогорск». Определила температуру и энтальпию воды, пара, и продуктов сгорания на границах поверхностей нагрева, КПД котла, расход топлива, геометрические и тепловые характеристики топки и чугунного экономайзера.
Список использованной литературы
Методические указания к курсовому проекту по дисциплине «Котельные установки». Иваново. 2004.
Эстеркин Р.И. Котельные установки. Курсовое и дипломное проектирование. – Л.: Энергоатомиздат. 1989.
Эстеркин Р.И. Промышленные котельные установки. – 2-е перераб. и доп. – Л.: Энергоатомиздат. 1985.
Тепловой расчет котлов (Нормативный метод). – 3-е перераб. и доп. – Спб.: НПО ЦКТИ. 1998.
Роддатис К.Ф. Справочник по котельным установкам малой производительности. – М. 1985.
Паровые и водогрейные котлы. Справочное пособие. – 2-е перераб. и доп. Спб.: «Деан». 2000.
Паровые и водогрейные котлы. Справочное пособие/ Сост. А.К.Зыков – 2-е перераб. и доп. Спб.: 1998.
Липов Ю.М., Самойлов Ю.Ф., Виленский Т.В. Компоновка и тепловой расчет парового котла. – М.: Энергоатомиздат. 1988.
Александров А.А., Григорьев Б.А. Таблицы теплофизических свойств воды и водяного пара: Справочник. – М.: Изд-во МЭИ. 1999.
,
кДж/м3


















Относительное
расстояние от оси экранной трубы до
обмуровки е

















