Расчет установки для сушки яблок
Министерство образования Республики Беларусь
УО «Могилевский государственный университет продовольствия»
Заочный факультет
Кафедра «Теплохладотехники»
Курсовой проект
На тему: «Рассчитать установку для сушки яблок»
Могилев, 2010 г.
Содержание
Введение
1 Состояние вопроса
2 Технические описания и расчёты
2.1 Описание принципа работы технологической схемы
2.2 Описание принципа работы проектируемого аппарата
2.3 Материальный расчет установки
2.4 Тепловой расчёт установки
2.5 Конструктивный расчёт барабанной сушилки
2.6 Расчёт и подбор комплектующего оборудования
2.6.1 Расчёт и подбор калориферов
2.6.2 Расчёт циклона СКЦН-34
2.7. Гидравлический расчёт линии воздуха и подбор вентилятора
Заключение
Список использованных источников
Введение.
Процессы сушки широко применяются в промышленности и сельском хозяйстве. Объектами сушки могут быть разнообразные материалы на различных стадиях их переработки (сырьё, полуфабрикаты, готовые изделия).
Сушкой называется процесс удаления из материала любой жидкости, в результате чего в нём увеличивается относительное содержание сухой части. На практике при сушке влажных материалов, в том числе пищевых продуктов, удаляют главным образом воду, поэтому под сушкой понимают процесс обезвоживания материалов.
Материалы сушатся с различной целью: для уменьшения массы (это удешевляет их транспортировку), увеличения прочности (керамические изделия, древесина), повышения теплоты сгорания (топливо), повышения стойкости при хранении и для консервирования (зерно, пищевые продукты, биопрепараты).
Большинство пищевых продуктов являются влажными телами, содержащими значительное количество воды. Вода входит в состав растительных и животных тканей и являются необходимой составной частью пищи человека. Однако избыток воды снижает питательную ценность пищевых продуктов, значительно удорожает их транспортировку и может вызвать порчу продуктов вследствие жизнедеятельности различных микроорганизмов в водной среде. Поэтому большинство пищевых продуктов подвергают сушке, в процессе которой их влажность значительно снижается.
Процесс тепловой сушки пищевых продуктов заключается в переводе влаги, находящейся в них, в парообразное состояние и удаление образующегося пара во внешнюю, окружающую продукты, среду.
По способу подвода теплоты к материалу различают сушилки конвективные, контактные (сушка на горячих поверхностях), с лучистым нагревом (терморадиационные), с нагревом токами высокой частоты, акустические. Наиболее широко в пищевой промышленности применяются конвективные сушильные установки, в которых сушильным агентом является нагретый воздух или смесь его с топочными газами. Продукты, используемые для питания человека, высушиваются воздухом.
Основные элементы установки - сушильная камера, где происходит собственно сушка, калорифер, в котором воздух нагревается перед поступлением в сушильную камеру, и вентилятор, обеспечивающий принудительную циркуляцию воздуха.
Широко используются в промышленности сушильные установки с возвратом (рециркуляцией) части отработанного воздуха, в этом случае свежий воздух смешивается с частью отработанного воздуха, поступающего из сушильной камеры, образуя смесь. Смесь вентилятором подается в калорифер, подогревается и направляется затем в сушильную камеру. Сушильные установки бывают с дополнительным подогревом воздуха непосредственно в сушильной камере и с промежуточным подогревом воздуха в калориферах, установленных в отдельных ее зонах. Сушка в этих установках протекает при более низкой и равномерной температуре воздуха в камере.
1 Состояние вопроса
В зависимости от свойств продукта подбирают способ подвода тепловой энергии (конвективный, контактный, радиационный и др.), а также давление внешней среды (атмосферное или вакуум). Широкое распространение находит как контактная, так и конвективная сушка с механическим перемешиванием и перемещением материала.
Часто используются барабанные сушилки, в работе и конструкции которых достигнут значительный прогресс. Например, для сушки и охлаждения сахара используется однобарабанная сушильная установка вместо ранее применявшейся двухбарабанной.
Большое распространение получили различные конструкции пневматических сушилок (трубы-сушилки, аэрофонтанные, которые нашли применение, например, в крахмальной промышленности и при сушке зерна). Хотя эти сушилки позволяют использовать сушильный агент высокой температуры, их недостатками являются большая высота установки и малое время пребывания частиц в сушилке. Поэтому они используются для сушки кристаллических продуктов, содержащих в основном легко удаляемую поверхностную влагу.
Модификацией пневматической сушилки, позволяющей уменьшить высоту, является сушилка с двойными, коаксиальными трубами. Подъем горячей аэросмеси в такой сушилке происходит по внутренней, а опускание – по внешней трубе.
Получил широкое применение метод сушки сыпучих материалов в кипящем слое, пригодный для высушивания материалов, содержащих связанную влагу. Установки с кипящим слоем просты в конструктивном оформлении, в эксплуатации, легко могут быть автоматизированы, в них можно совмещать процессы сушки и сепарации. Стоимость сушилки кипящего слоя низка по сравнению со стоимостью барабанных и ленточных конвейерных сушилок, а увеличенный расход энергии (по сравнению с барабанными сушилками) окупается ее преимуществами.
Интенсивное перемешивание в кипящем слое обуславливает высокий теплообмен и массообмен, высокую скорость и качество сушки. Процесс может быть осуществлен как по периодической, так и по непрерывной схеме.
Сушилки с псевдоожиженным слоем прямоугольного сечения позволяют получать более равномерное, чем у круглых сушилок, распределение времени пребывания продукта в сушильной камере и применяются для сушки продуктов, которые нельзя долго подвергать действию высокой температуры. Перед выгрузкой продукт продувается холодным воздухом.
Наряду с сушилка аэрокипящего слоя используются вибрационные сушилки. Виброкипящий слой создается как за счет аэродинамических свойств агента, так и воздействием на материал вибрационных колебаний. Он пригоден для сушки различных дисперсных материалов, в том числе для мелкодисперсных и слипающихся. Виброкипящий слой имеет преимущества перед аэрокипящим. В нем может создаваться во всем объеме перекрестный ток и противоток, что в аэрокипящем слое затруднительно интенсивной циркуляцией частиц.
Патентный поиск
РЖ ИСМ 77-11-95
(19) Япония (Jp) (12) В4 (11) 5-45874
(51) 5F26B17/10,25/00,F27B15/09
(65) 63-13198 (43) 880603 (40) 930712№5-1147
(21) 61-277567 (22) 861120
(54) Сушильная установка с кипящим слоем (рисунок 1)
(57) Установка содержит печь 4 с кипящим слоем, внутри которой размещена газораспределительная пластина 6, а с боковой стороны сформировано окно 7 для выгрузки изделий. В печь из воздухопровода 5 вводится поток горячего воздуха и из питателя подаются исходные изделия. Из печи в циклон 13 через выпускной патрубок 14 вместе с отходящими газами выгружаются малыми порциями обработанные изделия. Установка отличается тем, что отдельно от циклона 13 установлен вспомогательный циклон 17, соединенный с окном 7 посредством вспомогательной трубы 15 с заслонкой 16.
Переводчик С.Н. Смирнов

Рисунок 1
(19) Япония (Jp) (12) В4 (11) 5-45875
(51) 5F26B17/10,25/00,F27B15/09
(65) 63-13198 (43) 880603 (40) 930712№5-1147
(21) 61-277568 (22) 861120
(54) Сушильная установка с кипящим слоем (рисунок 2)
(57) Установка содержит печь 4 с кипящим слоем, внутри которой размещена газораспределительная пластина 6, а с боковой стороны сформировано окно 7 для выгрузки изделий. В печь из воздухопровода 5 вводится поток горячего воздуха и из питателя подаются исходные изделия. Из печи в циклон 13 через выпускной патрубок 14 вместе с отходящими газами выгружаются малыми порциями обработанные изделия. Изделия, выгруженные из циклона 13, подаются в пневматическую транспортировочную трубу 18 и по ней – в циклон 21, установленный отдельно от циклона 16.Установка отличается тем, что окно 7 и средняя точка трубы 18 соединены между собой посредством байпасной трубы 19 с заслонкой 19А. Внутри трубы 18 между точкой присоединения трубы 19 и отверстием для выпуска воздуха установлен клапан 18В для регулирования расхода воздуха.
Переводчик С.Н. Смирнов.

Рисунок 2
(19) США (US) (12) А (11) 5294095
(51) 5F26B17/00
(52) 266-87
(40) 940315 Том 1160 №3
(54) Сушилка псевдоожиженного слоя с погруженными в слой инфракрасными лампами
(57) Сушилка содержит устройство, образующее некоторый объем для размещения слоя псевдоожиженных частиц заданной высоты. В названном объеме размещен слой псевдоожиженных частиц заданной высоты, в которой погружены инфракрасные лампы, направляющие излучение на окружающие их часы. Лампы разделены на несколько самостоятельно регулируемых зон, работающих независимо одна от другой, что позволяет изменить интенсивность ламп в различных зонах.
Переводчик Е.М. Нечуятова.
Барабанная сушильно-охладительная установка СБУ-1 предназначена для сушки и охлаждения сахара-песка.
Установка СБУ-1 (рис. 3) состоит из вращающегося барабана 8, опорно-приводной станции, в которую входит электродвигатель 18 и редуктор 20, установленные на раме 19, загрузочной головки 1 двух неподвижных кожухов 10, трубы с дефлектором 17 для отсоса обработавшего горячего воздуха.
Барабан 8 представляет собой стальной перфорированный цилиндр длиной около 10м, наклоненный в сторону движения сахара. В передней части барабана имеется распределительная царга 2 длиной 550 мм, внутри которой вварено десять лопаток 24, расположенных под углом 45° к образующей. Царга 2 обеспечивает равномерное распределение сахара, поступающего из загрузочной головки 1с помощью турникета 25. К торцу распределительного устройства по периметру крепится 24 секции фигурных лопаток (8 – по окружности, 3 – в длину).
Для увеличения жесткости секций и предотвращения прохода воздуха вдоль секции между фигурными лопатками ставят поперечные перегородки. Конфигурация лопаток обеспечивает возможность прохождения воздуха внутрь корпуса и в то же время не дает сахару просыпаться наружу. В конце барабана на фланце крепится ситовая часть 9 корпуса, предназначенная для отделения комков сахара.
На центральную часть перфорированного барабана надевают кожух 10, состоящий из крышки 4 и днища 5. По краям кожуха в специальных обоймах крепят кольцевые уплотнения из прямоугольного резинового шнура, препятствующие выходу воздуха в атмосферу. Кроме того, с двух сторон барабана имеются продольные уплотнения, обеспечивающие подачу воздуха только к сахару в барабане. На кожухе имеются четыре патрубка 3 для ввода горячего и холодного воздуха. На концевую часть барабана также ставят неподвижный кожух, имеющий сбоку патрубок для подачи холодного воздуха и на торцевой стенке – патрубок 14 для отсоса отработавшего воздуха. На той же торцевой стенке крепят трубу 17, проходящую через барабан до зоны горячего воздуха. Труба служит для отсоса воздуха. В нижней части кожуха имеются желоб 11 и турникет 15 для сухого охлажденного сахара-песка и желоб 12 и турникет 13 для вывода комков. Сушильный барабан приводится в движение через бандажи 6, установленные на металлоконструкциях 16, 23 и фрикционных роликах 22, вращающихся с помощью валов 21.
Сахар, загружаемый в аппарат через загрузочную головку и царгу, равномерно распределяется по фигурным элементам внутренней поверхности барабана и располагается сегментом, образуемым углом естественного откоса. Именно эта зона отделена продольными уплотнениями, обеспечивающими подачу воздуха только через слой сахара. Кроме интенсификации процессов влаго- и теплообмена, такой метод подачи воздуха способствует образованию псевдоожиженного слоя, поддерживая кристаллы сахара в полувзвешенном состоянии, что предохраняет их от истирания.
Горячий воздух подается через первые два патрубка (по ходу сахара), холодный – через два последних. Средний патрубок может быть использован или для горячего, или для холодного воздуха, что соответственно меняет длину сушильной или охладительной зоны.
Разделение отсоса горячего и холодного воздуха предотвращает возможность образования конденсационных паров и завихрений, повышающих скорость воздушного потока, в результате чего возможен унос кристаллов сахара.
В целях предотвращения запыления помещения нагнетание и отсос воздуха рассчитаны таким образом, что внутри барабана поддерживается разряжение.

Рис. 3. Барабанная сушильно-охладительная установка СБУ-1
2. Технические описания и расчёты.
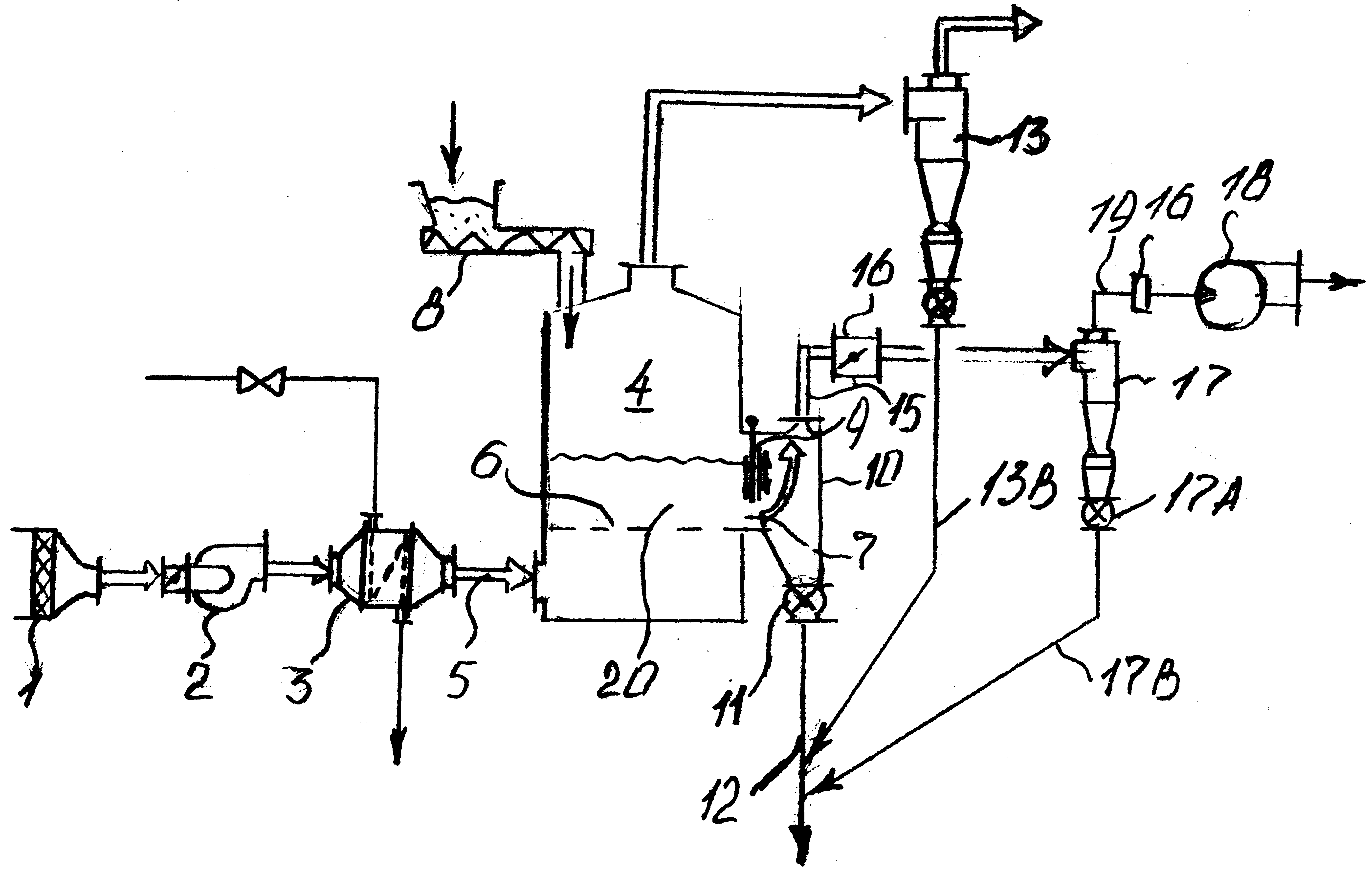
2.1. Описание принципа работы технологической схемы.
Исходный продукт – яблоки, с содержанием влаги ω>н>=85% и температурой θ>1>=17,5°С, из бункера Б>1> подается в шкафную сушилку ШС. Снизу в сушильную камеру вентилятором В нагнетается воздух, нагреваемый в калориферной батарее КБ. Воздух на входе в калориферную батарею имеет температуру t>0>=21,6°С и относительную влажность φ>0>=62 %. В калориферной батарее воздух нагревается до температуры t>1>=130°С. Подогрев воздуха в калориферной батарее осуществляется за счёт конденсации греющего пара, имеющего температуру 160°С при давлении 0,618 МПа. Из верхней части сушильной камеры отработанный воздух с температурой t>2>=49°С поступает на очистку от мелких частиц в циклон СК-ЦН-34 и далее выбрасывается в атмосферу. Сухой продукт с содержанием сухих веществ 92% и имеющий температуру θ>2>=40°С из нижней части сушильной камеры поступает в бункер высушенного материала Б>2> и далее на ленточный транспортёр, а из циклона СК-ЦН-34 – прямо на ленточный транспортёр.
2.2 Материальный расчёт установки.
Из уравнения материального баланса сушильной установки определим расход влаги W, удаляемый из высушиваемого материала:
G>к> =100 кг/ч =100/3600=0,028 кг/с,
кг/с,
где G>к> – производительность установки по сухому веществу, кг/с
ω>н>> >– начальная влажность продукта, %
ω>к> – конечная влажность продукта, %.
ω>н>=85%,
ω>к>=12%.
2.3 Тепловой расчёт установки.
Определение основных параметров влажного воздуха.
К основным параметрам влажного воздуха относятся:
температура t,°С
относительная влажность воздуха φ,%
удельное влагосодержание х, кг/кг
энтальпия I, кДж/кг
Температуру и относительную влажность воздуха на входе в калорифер определяем по климатическим таблицам, для г. Минск летние условия /10/:
температура t>0>=17,5°С,
относительная влажность φ>0>=78%.
Удельное влагосодержание воздуха рассчитаем по формуле:
,
где 0,622 – отношение мольных масс водяного пара и воздуха,
Р>н> – давление насыщенного водяного пара при данной температуре воздуха, Па
Р>н>=1999,5 Па при t>0>=17,5°С.
В – барометрическое давление воздуха, Па. (Для Европейской части СНГ принимается 745 мм рт. ст. = 99100 Па.)
Удельное влагосодержание воздуха на входе в калорифер:
,
кг/кг
Т.к. подогрев воздуха в калорифере происходит при неизменном влагосодержании воздуха, то удельное влагосодержание воздуха на входе в калорифер тоже, что и на входе в сушилку:
,
кг/кг
Энтальпия влажного воздуха представляет сумму энтальпий сухого воздуха и водяного пара, приходящегося на 1 кг сухого воздуха:
,
где С>с.в.>> >– средняя удельная теплоёмкость сухого воздуха, (при t<200°С С>с.в>>.>=1,004 кДж/(кг.К)),
t – температура влажного воздуха, °С,
х – удельное влагосодержание воздуха, кг/кг с.в.,
i>n> – удельная энтальпия перегретого пара, кДж/кг,
,
где r>0> – удельная теплота парообразования воды, (при 0°С r>0>=2500 кДж/кг),
c>n> – средняя удельная теплоёмкость водяного пара, c>n>=1,842 кДж/(кг.К).

Рисунок 4 – Процесс сушки в I–x диаграмме
Энтальпия воздуха на входе в калорифер:
,
кДж/кг
Энтальпия воздуха на выходе из калорифера (на входе в сушилку):
,
кДж/кг
Удельное влагосодержание воздуха на выходе из сушилки:

Энтальпия воздуха на выходе из сушилки:
,
кДж/кг
Для наглядности строим процесс сушки в I-x диаграмме, которая приведена на рисунке 4. По состоянию наружного воздуха t>0> и φ>0> на диаграмме находим точку А, по следующим параметрам t>0>= 17,5С и >0>= 78 %, и соответствующие ей теплосодержание I>0> и влагосодержание х>0>. Нагревание воздуха в калорифере происходит при постоянном влагосодержании (х>0>=0,0099 кг/кг) до температуры t>1> (точка В, со следующей температурой t>1>=81С и влагосодержанием >1>≈0,6%, энтальпия I>1>=107,55 кДж/кг). По температуре воздуха на выходе из сушилки t>2> находим точку С окончания теоретического сушильного процесса и значение х>2>=0,027 кг/кг с температурой t>1>=37С и влагосодержанием >2>≈54% (соответственно определенные по диаграмме).
При дальнейших расчетах используем значения и параметры, найденные расчетным путем.
Тепловой расчёт сушилки.
Запишем уравнение внутреннего теплового баланса сушилки:
,
где
– разность между удельными приходом и
расходом тепла непосредственно в
сушильной камере, кДж/кг влаги;
–
теплоемкость
влаги во влажном материале при температуре
θ>1>=17,5°С,
кДж/(кг.К);
=4,19>
>кДж/(кг.К);
q>доп>>. –> удельный дополнительный подвод тепла в сушилку, кДж/кг влаги; при работе сушилки по нормальному сушильному варианту q>доп.>=0;
q>т>>.> – удельный расход тепла с транспортными средствами, кДж/кг влаги; в рассматриваемом случае q>т.>=0;
q>м.> – удельный расход тепла в сушилке с высушиваемым материалом:
,
кДж/кг влаги
с>м> - теплоемкость высушенного материала:
,
кДж/(кг.К),
с>с> - теплоемкость абсолютно сухого материала, кДж/(кг.К);
с>с>=0,86·4,190=3,603 кДж/(кг.К);
q>п>>.> - удельные потери тепла в окружающую среду:
,
кДж/кг влаги,
l – удельный расход абсолютно сухого воздуха:
,
кг возд./кг влаги,
I>2> – энтальпия воздуха на выходе из сушилки, кДж/кг,
х>2> – удельное влагосодержание воздуха на выходе из сушилки, кг/кг с.в.. Значение х>2> находим по I-х> >диаграмме влажного воздуха, построив теоретический процесс сушки, и по нему рассчитываем значение I>2>.
Теплоемкость высушенного материала:
,
кДж/кг влаги
Удельный расход тепла в сушилке с высушиваемым материалом:
,
кДж/кг влаги
Удельные потери тепла в окружающую среду:
,
кДж/кг влаги
Разность между удельными приходом и расходом тепла непосредственно в сушильной камере:
,
кДж/кг влаги
Расход воздуха на сушку:
,
кг/с
Средняя температура воздуха в сушилке:

Среднее влагосодержание воздуха в сушилке:
,
кг/кг
Средняя плотность воздуха:
,
кг/м3
Средняя плотность водяных паров:
,
кг/м3
Средняя объемная производительность по воздуху:
,
м3/с
Удельный объем влажного воздуха:
,
м3/кг
,
м3/кг
Объемный расход влажного воздуха:
м3/с
м3/с
Расход тепла на сушку:
,
кВт
2.4 Конструктивный расчёт шкафной сушилки.
Определим габаритные размеры. Загрузка на один противень
,
где l – длинна противня, принимаем l=2,05 м;
b – ширина противня, принимаем b=1,2 м;
n>шт> – количество штучных изделий на 1м2 поверхности противня;
g>шт> – масса штучного изделия, кг.
Принимаем размеры ломтиков яблок 5см×5см×1см. Следователь масса штучного изделия равна 0,025 кг. Количество ломтей яблок в вагонетке 400 шт.
Загрузка на вагонетку по влажному материалу:
,
кг
Вместимость сушильной камеры:
кг
кг.
Определим количество вагонеток по влажному материалу:

Принимаем 5 вагонеток.
Ширина камеры:
,м
Длинна камеры:
,
м;
Высота камеры:

2.6. Расчёт и подбор комплектующего оборудования.
2.6.1. Расчёт и подбор калориферов.
Принимаем к установке калорифер КФБО-5, для которого:
площадь поверхности нагрева F>к>=26.88 м2 ,
площадь живого сечения по воздуху f>к>=0,182 м2.
Площадь поверхности теплопередачи:
,
м2
где Q – расчётное количество теплоты, необходимое для подогрева воздуха, кВт
Q =516,03 кВт
k – коэффициент теплопередачи от греющего теплоносителя к воздуху, Вт/(м2·К)
,
Вт/(м2·К)
b, n – опытные коэффициенты,
b=16.47
n=0,456
ρν – массовая скорость воздуха в живом сечении калорифера, кг/(м2·К)
ρν=10 кг/(м2·К)
,
Вт/(м2·К)
Δt>ср.> – средняя разность температур греющего теплоносителя и воздуха, °С
,
°С
где Δt' – большая разность температур между температурами греющего пара и воздуха, °С
Δt'' – меньшая разность температур между температурами греющего пара и воздуха, °С
Для подогрева воздуха в калорифере используется греющий пар, имеющий при давлении 0,618 МПа. температуру 160°С.
, °С
,
°С
,°С
Площадь поверхности теплопередачи:
,
м2
Количество параллельно установленных калориферов:
,
шт
где L – расход воздуха, кг/с
L=1,91 кг/с
,
шт
Принимаем х=2
Уточняем массовую скорость воздуха в живом сечении калорифера:
,
кг/(м2·К)
,
Вт/(м2·К)
, м2
Количество последовательно установленных калориферов:
,
шт
Принимаем y=2
Установочная площадь поверхности теплопередачи калориферной батареи:
,
м2
Сопротивление калорифера:
,
Па
где
e, m – опытные коэффициенты,
e=0,43
m=1,94
,
Па
Сопротивление калориферной батареи:
,
Па
Конструктивные размеры калорифера КФБО-5.
|
Модель и номер калори-фера |
Размеры, мм |
Трубная резьба штуцера, дюймы |
n>1> |
n>2> |
|||||||
|
А |
А>1> |
А>2> |
А>3> |
Б |
Б>1> |
Б>2> |
Б>3> |
||||
|
КФБО-5 |
710 |
750 |
770 |
930 |
625 |
640 |
662 |
520 |
2 |
5 |
5 |
2.6.2. Расчёт циклона СКЦН-34.
Исходные данные:
Кол-во очищаемого воздуха при рабочих условиях:
V=2,042 м3/с
Расчёт.
Оптимальная скорость газа в аппарате:
ω>опт>=3 м/с
Необходимая площадь сечения циклона:
, м2
Диаметр циклона:
, м
N – кол-во циклонов,
N=1
Стандартное значение D=1000 мм Действительная скорость газа в циклоне:
, м/с
Коэффициент гидравлического сопротивления циклона:

-
коэффициент гидравлического сопротивления
одиночного циклона,
=1150.
К>1> – поправочный коэффициент на диаметр циклона, К>1>=1.
К>2> – поправочный коэффициент на запылённость газа, К>2>=0.93.
К>3> – коэффициент, учитывающий дополнительные потери давления, К>3>=0.

Потери давления в циклоне:
, Па
Соотношение размеров в долях диаметра D циклона СК-ЦН-34.
|
Наименование |
Размер |
||
|
в долях |
в мм |
||
|
Внутренний диаметр цилиндрической части |
D |
1000 |
|
|
Высота цилиндрической части |
H>ц> |
0.4 |
400 |
|
Высота конической части |
H>к> |
2.6 |
2600 |
|
Внутренний диаметр выхлопной трубы |
d |
0.22 |
220 |
|
Внутренний диаметр пылевыпускного отверстия |
d>1> |
0.18 |
180 |
|
Ширина входного патрубка |
b |
0.18 |
180 |
|
Высота внешней части выхлопной трубы |
h>в> |
0.3 |
300 |
|
Высота установки фланца |
h>фл> |
0.1 |
100 |
|
Высота входного патрубка |
a |
0.4 |
400 |
|
Длина входного патрубка |
l |
0.6 |
600 |
|
Высота заглубления выхлопной трубы |
h>т> |
0.4 |
400 |
Минимальное время пребывания частиц в циклоне:
,
с
L – длина пути, проходимого газовым потоком в циклоне, м.
, м
Скорость во входном патрубке:
, м/с
Принимаем ν>окр>=29 м/с
Скорость осаждения частиц:
,
м/с
d>ч>=0.2·10-5 м
, м/с
Минимальное время пребывания частиц в циклоне:
, с
2.7. Гидравлический расчёт линии воздуха и подбор вентилятора.
Исходные данные:
L=1,91 кг/с, - массовый расход воздуха;
,
м
Для трубопровода примем скорость движения воздуха =25м/с.
Диаметр трубопровода равен

Относительная влажность φ>0>=62%;
Р>н> – давление насыщенного водяного пара при данной температуре воздуха, Па Р>н> =2580 Па
Температура воздуха на участке 21,60С.
Выбираем стальную трубу наружным диаметром 320 мм. Внутренний диаметр трубы d=320-12∙2=296 мм.
Фактическая скорость воздуха в трубе

Определение потерь.
Потери на трение:



Примем абсолютную шероховатость труб =0,210-3 м, тогда относительная шероховатость трубы равна

Далее получим

Таким образом, в трубопроводе имеет место смешанное трение, и расчет следует проводить по формуле


Потери на преодоление местных сопротивлений:

где 
коэффициенты местных сопротивлений >вх.> вход трубу.
Потери давления на придание скорости потоку:

Общие потери напора

Гидравлическое сопротивление всей сети:


Подбор вентилятора.
Полезная мощность вентилятора:
Вт
Мощность электродвигателя:
Вт


Выбираем к установке:
вентилятор: марка ЦП-40-8К с Р=5000 Па и Q=4.2 м3/с,
электродвигатель: марка 4А315S4 с N=60 кВт и >дв>=0.92.
Заключение.
Рассчитали барабанную сушилку для сушки сухарей панировочных с ω>н>=28%. Производительность по исходному продукту 1000 кг/ч.
В результате расчёта получили сушилку с D=1,94 м, длиной 7,76 м. Продукт из сушилки выходит с ω>к>=8% и температурой 400С.
Для данной установки рассчитали калориферную батарею, состоящую из четырех калориферов КФБО-5 с F=26.88 м2, f=0.182 м2.
Для сухой очистки воздуха выходящего из сушилки, рассчитали циклон СКЦН-34 (диаметр D=1000 мм).
Трубопровод для воздуха сделали круглого сечения. Для подачи воздуха, по полезной мощности, подобрали вентилятор марки марка ЦП-40-8К с Р=5000 Па и Q=4.2 м3/с и электродвигатель для вентилятора: марка 4А315S4 с N=60 кВт и >дв>=0.92.
Литература.
Гинзбург А.С. Расчёт и проектирование сушильных установок пищевой промышленности, Москва, Агропрмиздат, 1985 г.
Дытнерский Ю.И. Основные процессы и аппараты химической технологии. Пособие по проектированию, Москва, Химия, 1991 г.
Дытнерский Ю.И. Основные процессы и аппараты химической технологии. Пособие по проектированию, Москва, Химия, 1983 г. 272 с.
Павлов К.Ф. Романков П.Г. Носков А.А. Примеры и задачи по курсу процессов и аппаратов химической промышленности.
Справочник по пыле и газоулавливанию. Под. ред. Русанова А.А. М., “Энергия” 1975 г. 296 с.
Стахеев И.В Пособие по курсовому проектированию процессов и аппаратов пищевых производств, Минск, Вс. школа, 1975 г.
Стабников В.Н. Проектирование процессов и аппаратов пищевых производств, Киев, В. школа, 1982 г.
Сажин В.С. Основы техники сушки. - М: Химия, 1984 г.
Гришин М.А. Установки для сушки пищевых продуктов. Справочник: М: Пищевая промышленность, 1989 г.
10) Интернет http://www.kishinev.info/climate/