Расчеты двухступенчатого, цилиндрического, косозубого редуктора
МИНИСТЕРСТВО ОБРАЗОВАНИЯ И НАУКИ УКРАИНЫ
СУМСКОЙ ГОСУДАРСТВЕННЫЙ УНИВЕРСИТЕТ
КАФЕДРА ОСНОВ ПРОЕКТИРОВАНИЯ МАШИН
ПОЯСНИТЕЛЬНАЯ ЗАПИСКА
на тему:
«Расчеты двухступенчатого,
цилиндрического, косозубого редуктора»
080402 КП-09.000.00
Выполнил Студент ИТ-22
Остапенко
Вариант 9
Проверил Концевич
Сумы 2005
Содержание
1 Выбор электродвигателя и кинематический расчет
2 Расчет передач
3 Предварительный расчет валов редуктора
3.1 Ориентировочный расчет валов
3.2 Компоновка редуктора, конструирования зубчатых колес и корпуса
редуктора
3.3 Приближенный расчет валов
3.4 Выбор подшипников
3.5 Выбор посадок
3.6 Расчет соединений
4 Выбор смазки
5 Выбор и проверочный расчет муфт
6 Список литературы
1 Выбор электродвигателя и кинематический расчет
Задание :
Спроектировать привод цепного конвейера.
Исходные данные :
Окружная сила на звёздочке :

Скорость движения цепи :

Диаметр звёздочки :


Рисунок 1. Схема привода цепного конвейера
Определяем общий КПД привода :
КПД муфты :

КПД цилиндрической передачи
:

КПД пары подшипников качения :

КПД цепной передачи
:


Мощность на валу звёздочки
:

Требуемая мощность
электродвигателя :

По требуемой мощности
с учётом возможностей привода, состоящего
из одноступенчатого редуктора с
цилиндрической прямозубой передачей,
выбираем электродвигатель 3-х фазный,
короткозамкнутый, серии 4А, закрытый
обдуваемый, с синхронной частотой
вращения
с параметрами
и скольжением
.
Номинальная частота вращения и угловая скорость :


Угловая скорость барабана :

бщее передаточное отношение
:

Частные передаточные числа :
для тихоходной ступени :

для быстроходной ступени :
Вал 1 :




Вал 2 :




Вал 3 :




Вал 4 :




Таблица результатов :
|
|
|
|
|
|
|
|
d>вых> |
||||
|
1 |
973 |
101.84 |
9.62 |
94.46 |
1 |
0.97 |
|||||
|
2 |
973 |
101.84 |
9.33 |
91.65 |
5 |
0.9653 |
|||||
|
3 |
194.6 |
20.37 |
9.01 |
442.31 |
3.395 |
0.92 |
|||||
|
4 |
57 |
5.97 |
8.25 |
1374.4 |
|||||||
Проверка :

-
Условие выполняется
2 Расчет передач
2.1 Расчет цилиндрических зубчатых передач
2.1. 1 Определение допускаемых напряжений
По условию задания материал
шестерни – Сталь 35ХМ, с термообработкой
– закалкой. С
HRC
и
МПа
[1, с.8, табл. 2.1 и 2, с.35, табл.3.3].
Допускаемое контактное напряжение:
,
.
Допускаемое напряжение изгиба:
,
,
[1, с.9, табл. 2.2].
Материал колеса – Сталь 40Х с
термообработкой – улучшение, 235-262 НВ и
пределом текучести
МПа.
Допускаемое контактное напряжение [1, с.8, табл. 2.1, 2.2]:
,
.
Допускаемое напряжение изгиба:
,
.
2.1.2 Определения размеров венцов зубчатых колес
Расчетное допускаемое напряжение:
,
.
В качестве расчетного контактного
напряжения принимаем
.
Требуемое условие
выполнено.
Межосевое расстояние быстроходной ступени:
,
(2.1)
где для косозубых колес
,
а передаточное число быстроходной
ступени
,
=0,4
[1, с.11].

Срок службы в редуктора в часах:
часа,
где
=0,25,
=0,4.
Число циклов нагружения редуктора:
,
где
=192
об\мин.
Базовое число циклов нагружений
-
[смотрим
график нагружений]:
,
где
- средняя твердость колеса.

Коэффициент концентрации загрузки:
,
где
[1,
с.11]

-
эквивалентный
момент на колесе,
где
- коэффициент долговечности,
-
крутящий момент на зубчатом колесе
быстроходной ступени.
Коэффициент эквивалентной нагрузки:


Принимаем:
.
Тогда
.
.
Принимаем:
.[1,
с.12]
Делительный диаметр колеса:
.
Ширина колеса:
.
Модуль зацепления:
,
(2.2)
где
=
5,8 [1, с.12], допускаемое напряжение изгиба
-
,
- эквивалентный момент на колесе.
Коэффициент долговечности:
,
(2.3)
где
- базовое число циклов нагружения.
Коэффициент эквивалентности: m=6 при термической обработке улучшения.
.
.
Принимаем
,
.
.
Принимаем m>1>=2мм.
Минимальный угол наклона зубьев:
.
Суммарное число зубьев:
зуба.
Определяем действительный угол наклона зубьев:
.
Число зубьев шестерни:
зубьев.
Число зубьев колеса:
зуба.
Уточняем передаточное число:
,
,
что допустимо [1, с.13].
Делительный диаметр шестерни:
.
.
Диаметры окружностей вершин:
,
.
Диаметры окружностей впадин:
,
.
Межосевое расстояние тихоходной ступени:
,
(2.4)
где для косозубых колес
,
а передаточное число тихоходной ступени
,
=0,4
[1, с.11].
.
Коэффициент концентрации загрузки:
,
где x=0,75
– коэффициент режима нагрузки
[1,
с.11]
.
В качестве расчетного контактного
напряжения принимаем
.
.
.
Принимаем:
[1,
с.12].
Делительный диаметр колеса:
.
Ширина колеса:
.
Модуль зацепления:
,
(2.5)
где
=
5,8 [1, с.12], допускаемое напряжение изгиба
-
,
- крутящий момент на колесе.
.
Принимаем m>2>=3мм.
Минимальный угол наклона зубьев:
.
Суммарное число зубьев:
зуба.
Определяем действительный угол наклона зубьев:
.
Число зубьев шестерни:
зубьев.
Число зубьев колеса:
зуба.
Уточняем передаточное число:
,
,
что допустимо [1, с.13].
Делительный диаметр шестерни:
.
.
Диаметры окружностей вершин:
,
.
Диаметры окружностей впадин:
,
.
2.1.3 Проверочные расчеты зубчатых передач
По напряжению изгиба в зубьях колеса:
,
(2.6)
Предварительно определим окружную скорость колеса быстроходней ступени:
.
При такой скорости степень точности зацепления 9 [1, с.14, табл.2.5].
Тихоходной ступени:
.
Степень точности зацепления – 9 [1, с.14, табл.2.5].
Окружная сила в зацеплении тихоходной ступени:
.
Быстроходной ступени:
.
Проверка на изгиб быстроходной ступени:
(1,
с.14)
,
z>2>=103,
z>1>=20,
коэффициент формы зуба:

[1, с.16, табл.2.8].
При переменной нагрузке:
,
где x=0,75
– коэффициент режима [см.
выше],
-
начальный коэффициент, концентрации
нагрузки [1, с.15, табл.2.6]
.
Эквивалентная окружная сила:
,
где
(см.
выше), тогда
.
,
.
Расчетное напряжение изгиба в зубьях шестерни:
.
Тихоходная ступень:
[1,
с.14].
,
z>4>=94,
z>3>=24,
коэффициент формы зуба:

[1, с.16, табл.2.8].
При переменной нагрузке:
,
где x=0,75
– коэффициент режима [см.
выше],
-
начальный коэффициент, концентрации
нагрузки [1, с.15, табл.2.6].
.
Эквивалентная окружная сила:
,
где
[см.
выше], тогда
.
,
(2.7)
.
Расчетное напряжение изгиба в зубьях шестерни:
.
Проверка зубьев колес по контактным напряжениям.
Для быстроходной ступени:
,
(2.8)
[1,
с.16 табл.2.9],
-
ширина колеса,
-
передаточное число быстроходной ступени,
-
межосевое расстояние быстроходной
ступени,
,
-
для косозубых передач,
[1,
с.10]
,
.
Тихоходная ступень:
,
(2.9)
[1,
с.16 табл.2.9],
-
ширина колеса,
-
передаточное число тихоходной ступени,
-
межосевое расстояние тихоходной ступени,
,
-
для косозубых передач,
[1,
с.10].
,
.
2.1.4 Определения сил действующих в зацеплении
Окружная сила на колесе быстроходной ступени:
.
Тихоходной ступени:
.
Радиальная сила быстроходной ступени:
,
где
,
,
.
Для тихоходной ступени:
,
где
,
,
.
Осеева сила:
Для быстроходной ступени:

Для тихоходной ступени:
.
3 Предварительный расчет валов редуктора
3.1 Ориентировочный расчет валов
Предварительный расчет валов проведем на кручение по пониженным допускаемым напряжениям.
Ведущий вал быстроходной ступени:
,
где
- допускаемое напряжение при кручении,
-
крутящий момент на шестерни быстроходной
ступени.
С учетом соединения вала шестерни
быстроходной ступени с валом
электродвигателя муфты МУВП (муфта
упруга втулочно-пальцева), принимаем
диаметр:
мм.
Диаметр вала под уплотнением и
подшипником:
.
Шестерню выполняем заодно с
валом:
.
Ведомый вал быстроходной ступени (и ведущий тихоходной ступени):
,
где
- допускаемое напряжение при кручении,
-
крутящий момент на ведомом валу
быстроходной ступени.
Принимаем диаметр вала под
подшипники:
,
диаметр под ведомым колесом быстроходной
ступени:
.
Диаметр выходного конца ведомой тихоходной ступени:
,
где
- допускаемое напряжение при кручении,
-крутящий
момент на ведомом валу тихоходной
ступени.
Принимаем:
,
,
.
3.2 Компоновка редуктора, конструирования зубчатых колес и
корпуса редуктора
3.2.1 Конструктивные размеры зубчатой передачи
Шестерни выполняются заодно с валами. Быстроходный вал:
,
,
.
Колесо быстроходной ступени кованое:
,
,
,
.
Диаметр вала под колесом:
.
Диаметр ступицы:
.
Длина ступицы:
.
Толщина обода:
.
Толщина диска:
.
Тихоходная ступень:
Размер шестерни:
,
,
.
Колесо быстроходней ступени кованое:
,
,
.
Диаметр вала под колесом:
.
Диаметр ступицы:
.
Длина ступицы:
.
Толщина обода:
.
Толщина диска:
.
3.2.2 Конструктивные размеры корпуса редуктора
Толщина стенок корпуса и крышки:
.
Принимаем:
.
.
Толщина фланцев поясов корпуса и крышки:
,
.
Нижний пояс корпуса:
.
Принимаем
.
Диаметр болтов:
Фундаментальных:
.
Принимаем М20.
Крепящих крышку к корпусу у
подшипников:
.
Принимаем болты с резьбой М16.
Соединяющих крышку с корпусом:
.
Принимаем болт с резьбой М12.
Компоновка необходима для приближенного определения положения зубчатых колес относительно опор, определения опорных реакций и подбора подшипников.
При очерчивании внутренней стенки корпуса:
принимаем зазор между корпусами ступицами колеса
.
Принимаем А>1>=10мм.Принимаем зазор от окружности вершин зубьев колеса до внутренней стенки корпуса А=δ=8мм.
Предварительно намечаем радиальные шарикоподшипники. Результаты подбора занесем в таблицу:
Таблица 2 - Предварительный подбор подшипников
|
№ вала |
Условное обозначение подшипников |
Размеры, мм |
Грузоподъемность, кН |
|||
|
d |
D |
B |
C |
C>0> |
||
|
1 |
36208 |
40 |
80 |
18 |
38 |
23,2 |
|
2 |
36208 |
40 |
80 |
18 |
38 |
23,2 |
|
3 |
46215 |
75 |
130 |
25 |
61,5 |
54,8 |
Подшипники ведомого вала быстроходной ступени будем смазывать пластичной смазкой.
Измерением находим расстояния между наружными торцами подшипников:
,
,
.
Для радиально упорных подшипников
расстояние от торцов до точки приложения
реакции опор:
,
.
Ведущий вал быстроходной ступени: (см. рисунок 1)
,
.
Ведомый вал быстроходной ступени:
,
.
Ведомый вал тихоходной ступени: (см. рисунок 2)
,
.
3.3 Приближенный расчет валов
3.3.1 Расчет ведущего вала быстроходной ступени
Из предыдущих расчетов:
- окружная сила быстроходной
ступени;
- осевая сила в зацеплении
быстроходной ступени;
- радиальная сила быстроходной
ступени.
Расчетная схема вала червячного колеса приведена на Рисунке 1.
Определяем реакции в опорах
плоскости XZ

,
(3.1)


,
(3.2)

Проверка:
,
,
(3.3)
-722+2577-1855=0
0=0.
Определяем реакции в опорах
плоскости YZ

,
(3.4)


,
(3.5)

Проверка:
=0,
,
(3.6)
-229+953-724=0,
0=0.
Построим эпюры крутящих и изгибающих моментов в горизонтальной плоскости:
;
.
Построим эпюры крутящих и изгибающих моментов в вертикальной плоскости:
.
Опасным сечением является сечение Б-Б:
,
(3.7)
где
,
.
.
Из условия прочности:
,
(3.8)
,
(3.9)
где
=310МПа.
.
По расчету
,
что значительно больше расчетного.

Рисунок 1 – Расчетная схема ведущего вала
3.3.2 Расчеты ведомого вала быстроходной ступени

Рисунок 2 – Расчетная схема ведомого быстроходной ступени
Из предыдущих расчетов:
,
- окружная сила ведомого вала быстроходной
ступени;
,
-
осевая сила ведомого вала в зацеплении
быстроходной ступени;
,
- радиальная сила ведомого вала
быстроходной ступени.
Расчетная схема вала червячного колеса приведена на Рисунке 2.
Определяем реакции в опорах
плоскости XZ

,
(3.10)


,
(3.11)

Проверка:
,
,
(3.12)
-746-2577+7225-3902=0
0=0.
Определяем реакции в опорах плоскости YZ

,
(3.13)


,
(3.14)

Проверка:
=0,
,
(3.15)
-668-953+2674-1053=0,
0=0.
Построим эпюры крутящих и изгибающих моментов:
;
;
;
;
;

Опасным сечением является сечение Б-Б:
,
(3.16)
где
,
.
.
Из условия прочности:
,
(3.17)
,
(3.18)
где
=310МПа.
.
т.е. по расчету
,
что значительно больше расчетного.
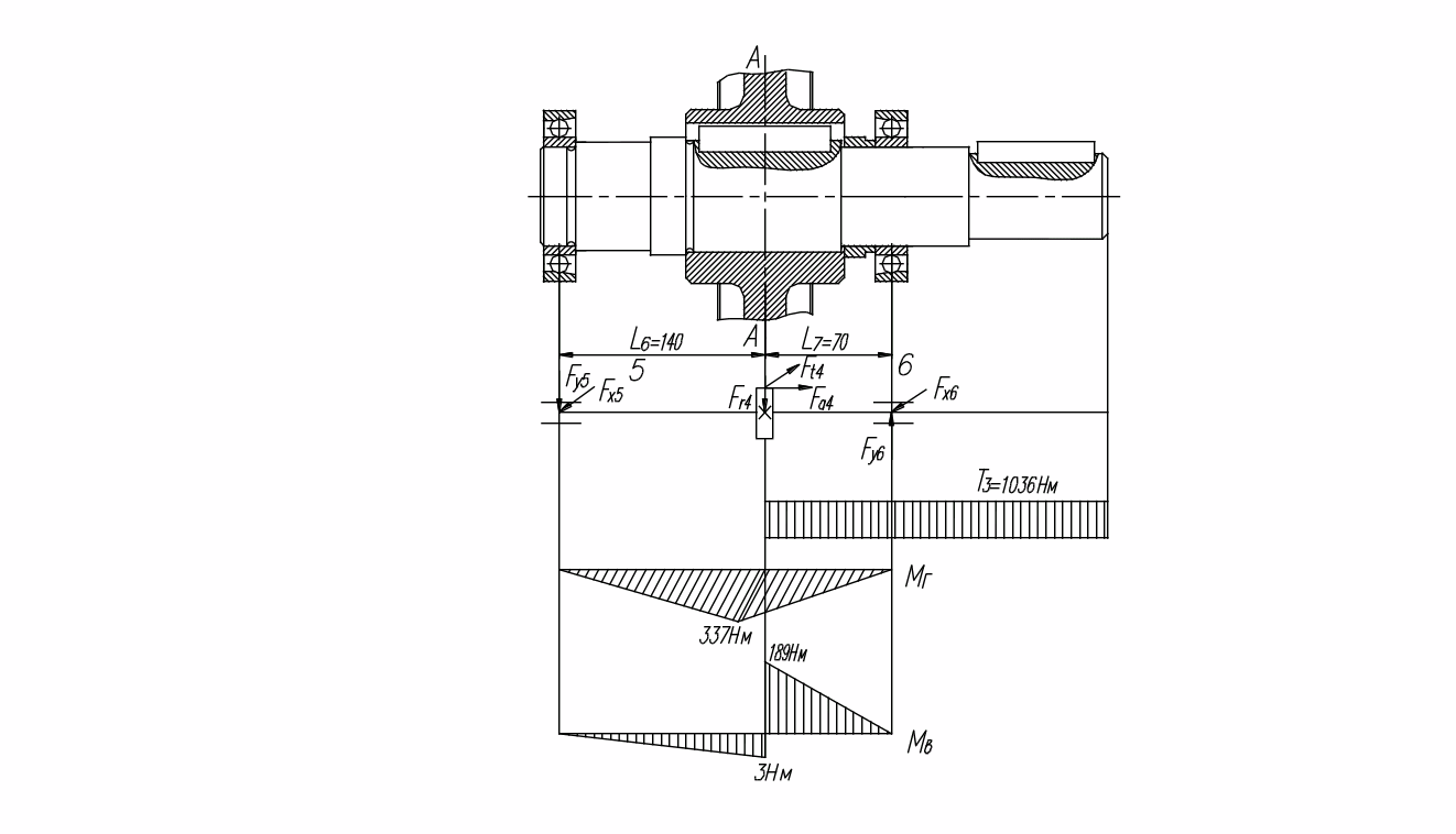
3.3.3 Расчеты ведомого вала тихоходной ступени

Рисунок 3 – Расчетная схема ведомого вала тихоходной ступени
Из предыдущих расчетов:
- окружная сила ведомого вала;
- осевая сила ведомого вала в
зацеплении;
- радиальная сила ведомого вала.
Расчетная схема вала червячного колеса приведена на Рисунке 2.
Определяем реакции в опорах
плоскости XZ

,
(3.19)


,
(3.20)

Проверка:
=0,
,
(3.21)
4817-7225+2408=0,
0=0.
Определяем реакции в опорах плоскости YZ

,
(3.22)


,
(3.23)

Проверка:
=0,
,
(3.24)
-21-2674+2695=0,
0=0.
Построим эпюры крутящих и изгибающих моментов:
;
;
.
Опасным сечением является сечение Б-Б:
,
(3.25)
где
,
.
.
Из условия прочности:
,
(3.26)
,
(3.27)
где
=480МПа.
.
А у нас по расчету
,
что значительно больше расчетного.
3.4 Выбор подшипников
3.4.1 Ведущий вал быстроходной ступени
Суммарные реакции:
;
.
Предварительно принимаем подшипники 36208 [см. табл.2]
Эквивалентная нагрузка: более нагруженная опора 1.
,
(3.28)
Где P>r>=1991Н, V=1 – вращается внутреннее кольцо подшипника, F>а1>=467Н, k>б>=1 [2, табл.9.19], k>т>=1 [2, табл.9.20].
при этом
е=0,316 [2, табл.9.18].
Осевые составляющие:
;
.
В нашем случае S>1 >> S>2>, F>a>>0, тогда P>a1>=S>1>=629H, P>a2>=S>1>-F>a>=629-467=162H.
,
тога x=1,
y=0.
.
Расчетная долговечность, млн. об:
,
(3.29)
млн.
об.
Расчетная долговечность в часах:
,
(3.30)
часов,
что больше установленных, значить
подшипник подходит.
3.4.2 Расчет подшипника ведомого вала быстроходной ступени
Суммарные реакции:
;
.
Предварительно принимаем подшипники 36208 [см. табл.2]
Эквивалентная нагрузка: более нагруженная опора 4.
F>a>=F>a>>3>-F>a>>4>=1336-467=869H.
при этом
е=0,35 [2, табл.9.18].
Осевые составляющие:
;
.
В нашем случае S>3 >< S>4 >, тогда F>a>>4>=S>4>+F>a>=1915+869=2284H.
,
тога x=0,45,
y=1,57[2,
табл.9.18].
.
Расчетная долговечность, млн. об:
,
(3.31)
,млн. об.
Расчетная долговечность в часах:
,
(3.32)
часов,
что больше установленных, значить
подшипник подходит.
3.4.3 Расчет подшипников ведомого вала тихоходной ступени
Суммарные реакции:
;
.
Предварительно принимаем подшипники 46215 [см. табл.2]
Эквивалентная нагрузка: более нагруженная опора 6.
е=0,68 [2, табл.9.18].
Осевые составляющие:
;
.
В нашем случае S>5 >< S>6 >, тогда F>a>>4>=1336H, F>a>>5>=1637H,
F>a>>6>= S>5>+ F>a>>4>=1637+1336=2973Н.
,
тога x=1,
y=0.
.
Расчетная долговечность, млн. об:
,
(3.33)
млн.
об.
Расчетная долговечность в часах:
,
(3.34)
часов,
что больше установленных, значить
подшипник подходит.
3.5 Выбор посадок
Посадки назначаем в соответствии с указанными данными в табл.10.13 [2].
Посадки зубчатых колес на валы
-
по ГОСТ 25347-82
Посадки муфт на валы редуктора
-
.
Шейки валов под подшипники выполняем с отклонением по посадке k6.
Отклонений отверстий в корпусе под наружные кольца подшипников по посадке Н7.
Мазеудерживающие кольцо сажаем
на вал по посадке -
.
Посадка вала под монтажом – h8.
3.6 Расчет соединений
3.6.1 Расчет шпоночных соединений
Применяем шпонки призматические по ГОСТ 23360-78. Материал шпонки, сталь 45, нормализованная.
Условие прочности:
,
(3.35)
где L>p>=L-b.
Допускаемое напряжение смятия
при стальной ступицы
,
при чугунной
.
Ведущий вал: d=36мм; bxh=10x8 мм; t>1>=5 мм; длина шпонки l=80 мм; момент на ведущем валу Т=55,6٠103Н٠мм.
,
т.е. шпонка подходит.
Расчет шпонки под зубчатое колесо наведомом валу быстроходной ступени: d=50мм; bxh=14x9 мм; t>1>=5,5 мм; длина шпонки l=90 мм; момент на ведущем валу Т=269,7٠103Н٠мм.
,
т.е. шпонка подходит.
Ведомый вал тихоходной ступени: d=65мм; bxh=18x11 мм; t>1>=7 мм; длина шпонки l=90 мм; момент на ведущем валу Т=1036٠103Н٠мм.
,
т.е. шпонка подходит.
Расчеты шпонки под зубчатым колесом на ведомом валу: d=85мм; bxh=22x14 мм; t>1>=9 мм; длина шпонки l=100 мм; момент на ведущем валу Т=1036٠103Н٠мм.
,
т.е. шпонка подходит.
4 Выбор смазки
4.1 Выбор смазки зацеплений и подшипников
Смазывание зубчатого зацепления производиться окунанием зубчатого колеса в масло, заливаемое внутрь корпуса до уровня, обеспечивающие погружение колеса примерно на 10 мм. Объем масляной ванны V определяем из расчета 0,25 дм3 масла на 1 кВт передаваемой мощности: V=0,25٠5,76=1,44 дм3.
Устанавливаем вязкость масла
[2, с.253, табл.10.8]. При контактных напряжениях
и скорости v=2,1м/с
рекомендуемая вязкость масла должна
быть примерно равна 20٠10-6м2/с.
Принимаем масло индустриальное И-30А
[2, с. 253, табл. 10.10] по ГОСТ 20799-75.
Камеры подшипников заполняем пластичным смазочным материалом УТ-1 [2, с.204, табл. 9.14] периодически пополняем его шприцом через пресс-масленки.
5 Выбор и проверочный расчет муфт
Выбираем для соединения редуктора и электродвигателя упругую втулочно-пальцевую муфту (МУВП). Эту муфту применяют в случаях, когда возможна несоосность валов и работа соединения сопровождается толчками и ударами.
Расчет муфты сводится к определению размеров пальцев и упругих элементов.
Пальцы рассчитываются на изгиб:
Крутящий момент на быстроходном валу Т>1>=55,6Н٠м; Т>р>=2٠55,6=11,2Н٠м.[4, с.386, табл. 17.8 и 17.9].
z=6 – число пальцев;
d>n>=14 мм – диаметр пальцев;
D>0>=100 мм – диаметр окружности расположения пальцев;
l>n>=33 мм – длина пальцев;
d>вт>=27 мм – диаметр втулки;
l>n>=14 мм – длина втулки.
,
(5.1)

Проверяем прочность втулки на смятие:
,
(5.2)
.
Выбираем туже муфту (МУВП) для соединения редуктора и цепного конвеера.
Крутящий момент на быстроходном валу Т>3>=1036Н٠м; Т>р>=1٠1036=1036Н٠м.[4, с.386, табл. 17.8 и 17.9].
z=10 – число пальцев;
d>n>=18 мм – диаметр пальцев;
D>0>=170 мм – диаметр окружности расположения пальцев;
l>n>=42 мм – длина пальцев;
d>вт>=35 мм – диаметр втулки;
l>n>=36 мм – длина втулки.
Расчет пальцев на изгиб:
.
Проверяем прочность втулки на смятие:

6 Список литературы
Дунаев П.Ф., Леликов О.П. Конструирование узлов и деталей машин.- М.: Высшая школа, 1985.- 125с
Чернавский С.А. Курсовое проектирование деталей машин. – М.: Машиностроение, 1987.- 150с
Иванов М.Н. Детали машин – М.: Высшая школа, 1991. – 200с.
Кузьмин А.В., Чернин И.М., Козницов Б.С. Расчеты деталей машин.- М.: Высшая школа, 1986.- 200с.






