Реконструкция теплоснабжения ОАО "САРЭКС" с разработкой собственной котельной
Реферат
Расчетно-пояснительная записка содержит 95 страниц машинописного текста, 13 таблиц, рисунков.
Ключевые слова: деаэратор, тепловые сети, энтальпия, теплообменник, котлоагрегат, отопление, вентиляция.
Цель работы Реконструкция теплоснабжения ОАО «САРЭКС» с разработкой собственной котельной».
Полученные результаты: В результате работы определены тепловые нагрузки всех потребителей, рассчитана схема тепловой сети, произведен расчет тепловой схемы котельной и выбрано соответствующее оборудование.
Оценка технико-экономических показателей показывает, что затраты на сооружение котельной окупятся за 2,4 года.
Содержание
Введение
1.Краткая характеристика предприятия
1.1. Общие сведения о предприятии
1.2. Анализ теплоснабжения ОАО «САРЭКС»
2.Тепловой расчет
2.1 Расчет тепловой мощности на отопление
2.2 Определение тепловой мощности необходимой для вентиляции
2.3 Определение тепловой мощности необходимой для горячего водоснабжения
2.4 Определение тепловой мощности необходимой для производственно – технологических нужд в виде пара
2.5 График годового расхода теплоты
2.6 Регулирование отпуска теплоты
3. Гидравлический расчет тепловой сети
3.1 Определение расчетных расходов теплоносителя в тепловых сетях
3.2 Расчетная схема тепловой сети
3.3 Предварительный и проверочный расчеты диаметров тепловой сети
3.4 Построение продольного профиля тепловой сети
4. Тепловой расчет изоляционных конструкций трубопроводов
5. Теплоприготовительные установки систем теплоснабжения
5.1 Виды теплоприготовительных установок систем теплоснабжения
5.2 Тепловая схема паровой котельной
5.3 Расчет тепловой схемы паровой котельной
5.3.1 Расчет тепловой схемы котельной для максимально – зимнего периода
5.3.2 Расчет тепловой схемы котельной для наиболее холодного месяца
5.3.3 Расчет тепловой схемы котельной для летнего периода
5.4 Определение и расчет продуктов сгорания газа и расхода воздуха
5.5 Выбор основного и вспомогательного оборудования
5.6 Учет отпускаемой теплоты.
6. Безопасность и экологичность
6.1 Анализ состояния безопасности
6.1.1 Анализ и оценка условий труда
6.1.2 Анализ и оценка показателей производственного травматизма
6.2 Разработка мероприятий по безопасности и экологичности
6.2.1 Анализ организации службы охраны труда
6.2.2 Расчет освещения
6.2.3 Мероприятия по электробезопасности
6.2.4 Противопожарные мероприятия
6.2.5 Расчет рассеивания вредных примесей и выбор высоты трубы
7. Технико-экономические показатели
Заключение
Список использованной литературы
Введение
В настоящее время сохраняется тенденция роста цен на энергоносители и стоимость энергоносителей составляет все большую долю в себестоимости продукции промышленных предприятий, снижая ее конкурентоспособность из-за роста цен.
В этой связи руководством предприятия было принято решение о создании собственной системы теплоснабжения. Источником тепловой энергии должна стать собственная котельная, обеспечивающая нужды предприятия в тепле, горячей воде и паре. При этом сохраняется собственная система тепловых сетей предприятия, но ее питание будет осуществляться от независимой от ТЭЦ котельной.
С этой целью в дипломной работе были произведены расчеты основных нагрузок всех потребителей предприятия, и рассчитано гидродинамическое сопротивление сетей для правильного выбора оборудования котельной и ее мощности.
Проведенная экономическая оценка данной реконструкции показывает значительную выгодность ее сооружения, причем срок окупаемости капиталовложений укладывается в разумные пределы.
1. Краткая характеристика предприятия
1.1. Общие сведения о предприятии
ОАО «САРЭКС» относится к отрасли строительного машиностроения.
В 1943 г. на базе машинотракторной станции был образован мотороремонтный завод. Наряду с ремонтом моторов выпускал зернопульты, конопляники, катки, универсально-балансирующие стенды.
5 мая 1959 г. был преобразован в экскаваторный завод. Первый саранский экскаватор марки Э 153 был собран в 1959г. Он был оснащен ковшом емкостью 0,15 м3, копал на глубину 2,2 м, рабочий цикл составлял 22 секунды. С тех пор на заводе осуществляется постоянное совершенствование моделей выпускаемых машин.
В1966г. был разработан первый полноповоротный гидравлический экскаватор Э 2514, который был оснащен комфортабельной кабиной с отоплением, вентиляцией и дистанционным запуском двигателя.
В 1969г. начат серийный выпуск новой модели Э 2515. Прогрессивные решения в конструкции, вместе с применением новых сталей позволило при незначительном увеличении массы повысить производительность экскаватора более чем в два раза. На основе модернизации появились модели ЭО 2621, ЭО 2621А.
В 1984г. создана новая прогрессивная модель ЭО 2621В. Эта машина имеет широко обзорную каркасную кабину, гидрораспределитель руля и повышенные технические параметры по сравнению с выпускаемой ранее моделью.
В 1991г. спроектирован и внедрен в производство экскаватор ЭО 2626 и ЭО 2627. Это универсальные машины с быстросъёмным экскаваторным и погрузочным оборудованием. В 1992г. экскаватор модели ЭО 2627 был награжден в Мадриде международной золотой звездой Конгресса предпринимателей.
В 1994 г. разработаны и внедрены модели экскаваторов ЭО 2626А и
ЭО 2627А, эти модели могут комплектоваться 14 видами сменного оборудования.
В 1995г. выпущен погрузчик ПМ 1, предназначенный для погрузки сыпучих материалов, штучных и пакетированных грузов, силоса, сенажа, отрывки небольших котлованов, грейдеров и бульдозерных работ.
В1998 г. разработаны и выпущены плуг рыхлитель ПРК 8 40, и культиватор КТС 10 2.
Продукция ОАО «САРЭКС» хорошо зарекомендовала себя на рынке. Большим спросом пользуются экскаваторы, выпускаемые на безе Минского, Липецкого и Днепропетровского тракторов. Однако рост цен на эти машины, являющихся основой производства, привел к значительному сокращению выпуска экскаваторов.
В этой связи был принят курс на разработку и выпуск машин, производство которых в меньшей степени зависит от сторонних поставщиков.
Первой и наиболее удачной машиной в этой серии сталамашина для замены шпал (МЗШ). Однако выпуск этого продукта потребовал значительно изменить технологический процесс и организовать совершенно новые для данного предприятия службы. Прежде всего, необходимо было организовать бюро по разработке электрооборудования, поскольку ранее изготовление экскаваторов сводилось только к установке на них гидравлического оборудования, а теперь стало необходимым разрабатывать машину в целом. В результате предпринятых усилий была разработана такая удачная конструкция МЗШ, что позволило ей получить ряд престижных премий на международных выставках, а завод получил выгодные заказы от крупнейших отечественных железнодорожных компаний.
Другим направлением деятельности предприятия стало разработка и выпуск экскаватора на собственном шасси, что, возможно, в дальнейшем позволит полностью отказаться от поставок тракторов и сделать полностью замкнутый цикл производства экскаваторов. Экспериментальный образец такого экскаватора погрузчика не уступает лучшим зарубежным образцам. Свидетельством этому является предложение от известной фирмы «Массе Фергюсон» о совместном выпуске сельскохозяйственных тракторов с подъёмниками на базе их шассе, причем гидро и электрооборудование будут изготавливаться в Саранске.
1.2. Анализ теплоснабжения ОАО «САРЭКС»
Климат зоны, в которой расположено предприятие, умеренный со сравнительно холодной зимой и умеренно жарким летом. Преобладающие ветра, западные и юго западные.
Средне суточная амплитуда температуры воздуха 11,6 0С. Расчётная географическая широта –56 0 СШ. Барометрическое давление 950 кПа.
Таблица 1.
Климатологические данные.
|
Период года |
Тёплый |
Холодный |
|
Параметр А |
||
|
1.Температура воздуха, 0С |
23,5 |
17 |
|
2.Удельная энтальпия воздуха, кДж/кг |
51,1 |
15,5 |
|
3.Скорость ветра, м/с |
1 |
3,4 |
|
Параметр Б |
||
|
1.Температура воздуха, 0С |
27,7 |
30 |
|
2.Удельная энтальпия воздуха, кДж/кг |
54,4 |
29,6 |
|
3.Скорость ветра, м/с |
1 |
3,8 |
Источником теплоснабжения ОАО «САРЭКС» являются магистральные трубопроводы ОАО «Мордовэнерго». Руководством предприятия было принято решение отказаться от централизованного теплоснабжения и построить собственную котельную. Цель данного решения более экономичное использование тепловой энергии и, следовательно, уменьшение расходов на энергоснабжение. Проектируемая котельная должна соответствовать параметрам существующей системы теплоснабжения.
В качестве теплоносителя используется насыщенный пар с давлением
Р = 0,7 Мпа и температурой Т = 175 оС и перегретая вода по температурному графику 150 ÷ 70 оС.
На предприятии применяется закрытая система теплоснабжения. В такой системе сетевая вода, циркулирующая в тепловой сети, используется только как теплоноситель, но из сети не отбирается. Основными недостатками такой системы являются:
− выпадение накипи в водо-водяных подогревателях и трубопроводах местных установок горячего водоснабжения, при использовании водопроводной воды имеющей карбонатную жесткость более 7 мгэкв/л;
− коррозия местных установок горячего водоснабжения, из-за поступления в них не деаэрированной водопроводной воды;
− сложность оборудования и эксплуатация абонентских вводов горячего водоснабжения из-за установки водо-водяных подогревателей.
Основное преимущество закрытой системы теплоснабжения − гидравлическая изолированность водопроводной воды поступающей в установки горячего водоснабжения, от воды циркулирующей в тепловой сети. Отсюда следует, что в таких системах чрезвычайно прост санитарный контроль системы горячего водоснабжения; прост контроль герметичности теплофикационной системы, который проводится по расходу подпитки.
Для системы отопления бытовых и административных зданий служит вода с температурой 95 ÷ 70 оС, для производственных помещений вода с температурой 150÷70оС.
Система отопления − двухтрубная с верхней разводкой. В качестве нагревательных приборов в производственных помещениях установлены регистры из гладких труб, в административных корпусах радиаторы М−140.
Для создания нормальных санитарных условий во всех корпусах завода действует приточно-вытяжная вентиляция с механическим или естественным побуждением.
От оборудования выделяющего производственные вредности предусмотрено устройство местных отсосов. В качестве вытяжных установок приняты вентиляционные камеры серии ОВ−02−139. Для уменьшения вибрации и шума все вентиляционные агрегаты устанавливаются на виброизолирующие основания и присоединяются к воздуховодам через гибкие ставки из прорезиненного брезента. Приточные и вытяжные установки для отключения от наружного воздуха оборудованы утеплёнными воздушными клапанами с электрическими приводами, которые открываются и закрываются автоматически, одновременно с включением и выключением вентиляторов.
Помещения углекислотной и газовой станции отапливаются с помощью калориферов. Забор наружного приточного воздуха осуществляется через жалюзные решётки, устанавливаемые в оконных проёмах. Приточный воздух подаётся в рабочую зону двухструйными воздухораспределителями или компактными струями через решётки.
На нужды горячего водоснабжения используется вода с Т>г >= 55оС. Горячая вода используется на бытовые и производственные нужды.
Насыщенный пар используется для подогрева химических растворов в гальванических ваннах, а также в сушильных установках покрасочного комплекса. Все установки, в которых в качестве теплоносителя используется пар оборудованы конденсатоотводчиками, с последующим сбором и перекачкой конденсата в Ц.Т.П. Далее конденсат возвращается на теплоисточник согласно договорных норм.
Прокладка тепловых сетей и теплопроводов по территории предприятия надземная на эстакадах и опорах, а внутри помещений − по строительным конструкциям.
2. ТЕПЛОВОЕ ПОТРЕБЛЕНИЕ
2.1. Расчёт тепловой мощности на отопление
Расход тепла на отопление каждого потребителя определяется по формуле:
Q>o> = q>o>·V· (t>вн> − t>но>), (2.1)
где q>o>> >− удельная отопительная характеристика здания, Дж/с·м3·оС [1. прил. 4];
V − объём здания, м3;
t>вн >− температура внутри помещения, о С, [1];
t>но >− температура для проектирования отопления, оС, [1].
Для корпуса №1:
Q = 0,3·148000 · (16 +30) = 2131,2 кВт.
Расход теплоты на отопление остальных зданий рассчитывается аналогично, данные заносятся в таблицу 2.
2.2. Определение тепловой мощности необходимой для вентиляции
Расход теплоты на вентиляцию определяется по формуле:
Q >В >= q>в> ·V · (t>в >− t>нв >), (2.2)
где q>в >− удельная вентиляционная характеристика здания,
Дж/с·м3·оС [1. прил. 4];
V − объём здания, м3;
t>вн >− температура внутри помещения, о С, [1];
t>нв >− температура для проектирования вентиляции, оС, [1].
Для корпуса №1: Q = 0,5·148000 · (16 +17) = 2590 кВт.
Расход теплоты на вентиляцию остальных зданий рассчитывается аналогично, данные заносятся в таблицу 2.
2.3. Определение тепловой мощности необходимой для горячего водоснабжения
Таблица 2.
Тепловое потребление
|
№ по ген. плану |
Наименова-ние потреби теля |
Объем здания, м3 |
Удельная характерис-тика, Дж/см3оС |
Расчетный тепловой поток, кВт |
||||
|
Отоп ления, q>о> |
Вен-тиля-ции, q>в> |
Отопле-ния |
Венти-ляция |
Горячего водоснаб-жения |
Всего |
|||
|
1 |
Корпус №1 |
148000 |
0,3 |
0,5 |
2131,2 |
2590 |
510,9 |
5232,1 |
|
2 |
Корпус№2 |
140000 |
0,43 |
0,12 |
2889,6 |
588 |
390,1 |
3867,7 |
|
3 |
Корпус№3 |
35000 |
0,36 |
0,72 |
604,8 |
882 |
54,3 |
1541,1 |
|
4 |
Корпус№4 |
31000 |
0,48 |
0,19 |
714,2 |
206,1 |
44,2 |
964,5 |
|
18 |
Заводоуправление |
6300 |
0,36 |
108,9 |
69,1 |
178,0 |
||
|
8 |
Эксперементальный участок |
3600 |
0,75 |
129,6 |
47,0 |
176,6 |
||
|
21 |
О Г Т |
4200 |
0,45 |
90,7 |
47,0 |
137,7 |
||
|
5 |
Компрессорная станция |
4300 |
0,45 |
92,9 |
92,9 |
|||
|
10 |
Склад масел и химикатов тарного хранения |
2700 |
0,68 |
88,1 |
88,1 |
|||
|
Итого |
|
|
6850 |
4266,1 |
1162,6 |
12278,7 |
Расход теплоты на горячее водоснабжение определяется по формуле:
Q >В>> >= (1,2 ∙ m ∙ (a + b) ∙ ( t>г>> >− t>хз>) ∙ С>в>) / 86400 (2.3)
где m − расчетное количество потребителей;
норма расхода воды на горячее водоснабжение, при t>г>=55 оС на одного человека, кг/сут [1. прил. 5];
норма расхода воды на горячее водоснабжение, потребляемое в общественных зданиях, при t>г>=55 оС, принимается равным 25 кг/сут на одного человека;
С>в> − удельная теплоёмкость воды, Дж/кг оС;
t>г >- температура горячей воды, оС;
t>хз >- температура холодной воды, оС.
Для корпуса №1:
Q>г.в> = (1,2 ∙ 240 ∙ (270 + 25) ∙ (55 – 5) ∙ 4190 / 86400 = 212,9 кВт.
Расчётная максимальнаям тепловая нагрузка горячего водоснабжения:
Q>г>р = Η ∙ Q>гв>, (2.4)> >
где H − коэффициент неравномерности , [1].
Q>г>р = 2,4 ∙ 212,9 = 510,9 кВт.
Расход теплоты на горячее водоснабжение остальных зданий рассчитывается аналогично, данные заносятся в таблицу 2.
2.4 Определение расчетной тепловой мощности необходимой для производственно – технологических нужд в виде пара
Расход тепла на производственно – технологические нужды в виде пара определяется по формуле:
Q>п> = d>п>∙ (i>п> – i>к>), (2.5)
где d>п> – количество потребляемого пара, кг/с;
i>п> – энтальпия насыщенного пара, i>п> = 2763 кДж/кг;
i>к> – энтальпия возвращенного конденсата, i>к> =230,45 КДж/кг.
Q>п> = 1,1∙ (2763 – 230,45) = 2785 кВт.
2.5 График годового расхода теплоты


Рис. 1
2.6 Регулирование отпуска теплоты
В связи с тем, что тепловая нагрузка потребителей, не постоянна, а изменяется в зависимости от температуры наружного воздуха, режимы работы системы вентиляции, расхода воды на горячее водоснабжение и технологические нужды, экономичные режимы выработки тепловой энергии котельной должны обеспечиваться центральным регулированием отпуска теплоты, преобладающему виду тепловой нагрузки.
Вид теплоносителя определяет способ регулирования отпуска теплоты потребителям. В водяных тепловых сетях применяется качественное регулирование подачи теплоты, осуществляемое путём изменения температуры теплоносителя при постоянном расходе, а в паровых сетях –количественное регулирование, достигаемое изменением расхода теплоносителя при постоянной температуре.
Качественное регулирование в водяных тепловых сетях обычно ведут по отопительной нагрузке. Температуру теплоносителя изменяют в соответствии с температурным графиком, который строится в зависимости от расчетных температур наружного воздуха. При построении графика температур воды в тепловой сети исходят из аналитических зависимостей температуры воды в подающем и обратном трубопроводах от наружной температуры, в диапазоне от +8 до –30.
График температур воды в тепловой сети показан на листе 5 графической части дипломного проекта.
3. Гидравлический расчёт тепловой сети
Основной задачей гидравлического расчёта при проектировании тепловых сетей является: определение диаметров трубопроводов участков тепловой сети, потерь давления (напора) по всей сети и на отдельных участках. Гидравлический расчёт начинают с выбора главной магистрали. В качестве главной (расчётной) магистрали принимается наиболее нагруженная и протяжённая, соединяющая источник теплоснабжения с потребителем магистраль. При этом вычерчивают расчётную схему в одну линию с выделением отдельных участков. Расход теплоносителя в пределах каждого участка остаётся постоянным, границами участков являются ответвления (узлы). Нумеруют участки в начале на главной магистрали, а затем на ответвлениях и на других магистралях.
После составления расчётной схемы принимают потери давления по длине R>л>: − для расчётной, главной магистрали водяных тепловых сетей − 30 80 Па/м;
− ответвлении водяных тепловых сетей − по расчётному давлению, но не более 300 Па/м;
− паропроводов −70 150 Па/м;
− конденсатопроводов −20 60 Па/м.
При этом скорость движения теплоносителя не должна превышать:
− для горячей воды и конденсата 3,5 м/с;
− для перегретого пара 50 м/с.
Результатами гидравлического расчёта являются:
1) определение основного объёма работ по сооружению тепловых сетей;
2) определение характеристик сетевых и подпиточных насосов;
3) выбор схем присоединения теплопотребляющих установок к тепловой сети;
4) выбор средств авторегулирования;
5) разработка режимов эксплуатации систем теплоснабжения.
3.1 Определение расчётных расходов теплоносителя в тепловых сетях
Суммарные расчётные расходы сетевой воды в двухтрубных тепловых сетях, открытых и закрытых систем теплоснабжения при качественном регулировании отпуска теплоты определяется по формуле:
G = G>о>>.>>мах> + G>в>>.>>мах>> >+ К>з>·G>гв>>.>>мах>>, >(3.1)
где G>о.мах >− расчётный расход воды на отопление, кг/с;
G>в.мах >− расчётный расход воды на вентиляцию, кг/с;
G>гв.мах >− расчётный расход воды на горячее водоснабжение, кг/с;
К>з >− коэффициент запаса, учитывающий долю среднего расхода на горячее водоснабжение при регулировании по нагрузке отопления,[2].
G>о.мах> = Q>о.мах >/С · (τ>1 >− τ>2>), (3.2)
G>в.мах> = Q>в.мах> /С · (τ>1 >− τ>2>), (3.3)
G>гв.мах> = Q>гв.мах> /С · (τ>1 >− τ>2>), (3.4)
где Q>о.мах >− максимальная нагрузка отопления, кВт;
Q>в.мах >− максимальная нагрузка вентиляции, кВт;
Q>гв.мах >− максимальная нагрузка горячего водоснабжения, кВт;
С − теплоёмкость воды, кДж/кг;
τ>1,>τ>2 >− температура сетевой воды в подающем и обратном трубопроводах, оС.
G>о.мах> = 6850 / 4,19 · (150 − 70) = 20,4 кг/с.
G>в.мах> = 4266,1 / 4,19 · (150> >− 70) = 12,7 кг/с.
G>гв.мах> = 0,55·1162,6 / 4,19 · (150> >− 70) = 1,9 кг/с.
G = 20,4 + 12,7 + 1,2·1,9 = 35,4 кг/с.
3.2 Расчётная схема тепловой сети
3.3 Предварительный и проверочный расчёты диаметров трубопроводов тепловой сети
Предварительный диаметр трубопровода определяется по формуле:
d = A>d>в ·G0,38 / R>л>0,19, (3.5)
где A>d>в − постоянный коэффициент зависящий от шероховатости трубопровода и равен 117·10 -3 м 0,62/ кг 0,19;
R>л >− удельные потери давления по длине, Па/м;
G − расход сетевой воды, кг/с.
Для шестого участка:
d>6>' = 117 ·10 –3 · 0,26 0,38 / 80 0,19 = 0,03 м.
Проверочный расчёт трубопровода.
Уточняется диаметр трубопровода до ближайшего по ГОСТ 8731−87, принимается стандартный диаметр d'=32 мм, [1.прил 11].
Производится расчёт действительного удельного падения давления по формуле:
R>л >= A>R>в · G2 / (d')5,25, (3.6)
где A>R>в − постоянный коэффициент зависящий от шероховатости трубопровода и равен 64·10 -6 м 0,62/ 42 0,19.
R>л >= 64·10 -6 · 0,26 2 / (0,032) 5,25 = 64,97 Па/м.
При полученном диаметре d', уточняется величина местных сопротивлений и определяется эквивалентная длина местных сопротивлений по формуле:
l>э> = A>е>·> >∑ξ · (d')1,25, (3.7)
где A>е> − постоянный коэффициент, зависящий от шероховатости трубы и равен 60,5 м - 0,25 ,
∑ξ − сумма коэффициентов местных сопротивлений, ξ =0,4[1].
l>э> =60,5· 0,4· 0,032 1,25 = 0,37 м.
Падение давления в подающей и обратной магистралях определяется по формуле:
∆Р>п >= ∆Р>о >= R>л> · (l+l>э>), (3.8)
где ∆Р>п ,> ∆Р>о> потери давления в подающей и обратной магистралях, Па;
l длинна магистрали, м.
∆Р>п >= ∆Р>о >= 64,97 · (60 + 37) =3922,2 Па.
Скорость теплоносителя определяется по формуле:
ω = G · 4 / П ·(d') 2, (3.9)
ω = 0,26 · 4 · 10 –3 / 3,14 ·(0,032) 2 = 0,32 м/с.
Расчёт остальных участков производится аналогично, результаты расчёта заносятся в таблицу 3.
Таблица 3.
Результаты гидравлического расчёта.
|
№ участка |
D’, мм |
D>н >, мм |
R>л, >Па/м |
L>э>, м |
∆Р>п ,> ∆Р>о,> Па |
Ω, м/с |
|
1 |
175 |
194 |
38,01 |
51,40 |
5374,6 |
0,72 |
|
2 |
50 |
57 |
101,80 |
0,57 |
1279,6 |
0,54 |
|
3 |
40 |
45 |
83,70 |
5,95 |
2506,8 |
0,42 |
|
4 |
40 |
45 |
80,50 |
0,43 |
1966,6 |
0,41 |
|
5 |
32 |
38 |
70,10 |
0,37 |
1708,3 |
0,34 |
|
6 |
32 |
38 |
64,97 |
0,37 |
3922,2 |
0,32 |
|
7 |
80 |
89 |
61,36 |
6,20 |
2712,0 |
0,56 |
|
8 |
150 |
159 |
70,20 |
19,20 |
5138,6 |
0,88 |
|
9 |
50 |
57 |
81,60 |
9,20 |
9889,9 |
0,48 |
|
10 |
40 |
45 |
83,70 |
2,60 |
4737,4 |
0,42 |
D' – условный проход, мм;
D>н >– наружный диаметр, мм.
3.4 Построение продольного профиля
Продольный профиль представлен на 4 листе графической части данного проекта.
Продольный профиль участка тепловой сети строится в масштабе: по вертикали 1:100, 1:50; по горизонтали: 1:500, 1:1000. Его построение начинают с определения минимальной глубины теплового параметра по трассе с учётом габаритных размеров устанавливаемого в них оборудования.
На профилях сетей указывают:
поверхность земли;
уровень грунтовых вод;
пересекаемые автомобильные дороги, железнодорожные и трамвайные пути, кюветы, а также другие подземные и надземные коммуникации и сооружения, влияющие на прокладку проектируемых сетей, с указанием их габаритных размеров, высотных отметок, и при необходимости координат или привязок;
каналы, тоннели, ниши П образных компенсаторов, эстакады, отдельно стоящие опоры, вентиляционные шахты, павильоны и другие сооружения и конструкции сетей;
трубопроводы бесканальной прокладки;
неподвижные опоры.
Трубопроводы в каналах, тоннелях, камерах и нишах не изображают.
На профилях сетей надземной прокладки трубопроводы каждого яруса изображают одной сплошной основной линией.
Отметки сетей проставляют в характерных точках, в местах пересечений с автомобильными и железными дорогами, трамвайными путями, инженерными коммуникациями и сооружениями, влияющими на прокладку проектируемых сетей. Величины отметок и длины участков сетей указывают в метрах с двумя десятичными знаками, а величины уклонов в процентах. При надземной прокладке тепловых сетей, под профилями сетей помещают таблицу по форме 3, рис.3.
Форма 3.
-
Проектная отметка земли
Натуральная отметка земли
Отметка верха несущей
конструкции
Отметка низа трубы
Уклон, % Длина, м
Номер поперечного разреза
Развернутый план
Рис.3
4. Тепловой расчёт изоляционных конструкций трубопроводов
В задачу теплового расчёта теплоизоляционных конструкций входит:
выбор конструкций и толщины тепловой изоляции;
определение тепловых потерь теплопровода;
расчёт падения температуры теплоносителя по длине теплопровода.
В качестве изоляционного материала применяются – маты минераловатные шивные марки 100.
Тепловой расчёт проводится для подающего трубопровода первого участка.
Определяется термическое сопротивление слоя изоляции по формуле:
R>и> = (1/2·π)·λ· ln(d>н> /d>тр>), (4.1)
где λ – коэффициент теплопроводности, Вт/м·К;
d>н >– наружный диаметр трубы с учётом изоляции, м;
d>тр >– наружный диаметр трубы, м.
λ = 0,045 + 0,021· t>м>, (4.2)
где t>м >– температура воды в трубопроводе, оС.
t>м >= t>пр >/ 2, (4.3)
t>м >= 150/2 = 75 оС,
λ = 0,045 + 0,021· 75 = 0,06 Вт/м·К.
Толщина изоляции принимается равной 0,08 м.
R>и> = (1/2·3,14· 0,06)· ln(0,354 /0,194) = 1,59 м·К/Вт.
Предварительно задаётся температура на поверхности изоляции
t>н >= 34,5 оС, и определяется коэффициент теплоотдачи:
α = 9,3 + 0,047· (t>н> – t>о>) + 7,0· √W, (4.4)
где t>о >– температура окружающей среды, оС;
W – скорость движения воздуха, для г. Саранска W =3,8 м/с.
α = 9,3 + 0,047· (34,5 +30) + 7,0· √3,8 = 26,0 Вт/м2 ·К.
Определяется термическое сопротивление трубопровода:
R>н> = 1/ Π · α>н>· d>н>, (4.5)
R>н> = 1/ 3,14· 26,0 · 0,194 = 0,063 м·К/Вт.
Уточняется температура на поверхности изоляции:
t>н>' = ( t>пр> / R>и>> >– t>о>> >/ R>н>> >) / (1/ R>и> +1/ R>н>> >), (4.6)
t>н>' = ( 150 / 1,59> >+30> >/ 0,063> >) / (1/ 1,59 +1/ 0,063> >) = 34,5 оС.
Определяются линейные потери теплоты:
Q>л> = l· ( t>н> – t>о>> >) / ( R>н> + R>н>), (4.7)
Q>л> = 90 · ( 150+30) / ( 1,59+0,063) = 9800,4 Вт.
Аналогичный расчёт проводится для обратного трубопровода.
Определяется термическое сопротивление слоя изоляции по формуле:
R>и> = (1/2·π)·λ· ln(d>н> /d>тр>), (4.8)
где λ – коэффициент теплопроводности, Вт/м·К;
d>н >– наружный диаметр трубы с учётом изоляции, м;
d>тр >– наружный диаметр трубы, м.
λ = 0,045 + 0,021· t>м>, (4.9)
где t>м >– температура воды в трубопроводе, оС.
t>м >= t>пр >/ 2, (4.10)
t>м >= 70 / 2 = 35 оС,
λ = 0,045 + 0,021· 35 = 0,05 Вт/м·К.
Толщина изоляции принимается равной 0,08 м.
R>и> = (1/2·3,14· 0,05)· ln(0,354 /0,194) = 1,9 м·К/Вт.
Предварительно задаётся температура на поверхности изоляции t>н >= 34 оС, и определяется коэффициент теплоотдачи:
α = 9,3 + 0,047· (t>н> – t>о>) + 7,0 · √W, (4.11)
где t>о >– температура окружающей среды, оС;
W – скорость движения воздуха, для г. Саранска W=3,8 м/с.
α = 9,3 + 0,047· (34 + 30) + 7,0 · √3,8 = 25,95 Вт/м2 ·К.
Определяется термическое сопротивление трубопровода:
R>н> = 1/ Π · α>н>· d>н>, (4.12)
R>н> = 1/ 3,14· 25,95· 0,194 = 0,063 м·К/Вт.
Уточняется температура на поверхности изоляции:
t>н>' = ( t>пр> / R>и>> >– t>о>> >/ R>н>> >) / (1/ R>и> +1/ R>н>> >), (4.13)
t>н>' = ( 70 / 1,9> >+30> >/ 0,063> >) / (1/ 1,9 +1/ 0,063> >) = 33,8 оС.
Определяются линейные потери теплоты:
Q>л> = l · ( t>н> – t>о>> >) / ( R>н> + R>н>), (4.14)
Q>л> = 90 · ( 70+30) / ( 1, 9+0,063) = 4584,8 Вт.
Тепловой расчёт остальных участков тепловой сети производится аналогично, результаты расчёта заносятся в таблицу 4.
Общие тепловые потери сети определяются по формуле:
Q>∑> = Q>л >+ Q>м> = Q>л> (1+ β), (4.15)
где β = 0,15[1].
Для прямой магистрали:
Q>∑> = (9800,4 + 600 + 1006,9 + 1006,9 + 977,3 + 2443,4 + 2391,6 + 5178,5 +5600 + 2265,7) · (1+0,15) = 35961,3 Вт.
Для обратной магистрали:
Q>∑> = (4584,8 + 272,7 + 468,7 + 468,7 + 459,7 + 1149,4 + 1137,7 + 2371,5 + 2545,5 + 1054,7) · (1 + 0,15) = 16690,4 Вт.
Таблица 4.
Результаты теплового расчёта
|
№ участка |
D>н,> мм |
Трубопроводы |
|||||||
|
Прямой |
Обратный |
||||||||
|
R>и,> м·К/Вт |
R>н,> м·К/Вт |
t>н,> оС |
Q>л,> Вт |
R>и,> м·К/Вт |
R>н>, м·К/Вт |
t>н>, оС |
Q>л>, Вт |
||
|
1 |
194 |
1,59 |
0,063 |
34,5 |
9800,4 |
1,9 |
0,063 |
34 |
4584,8 |
|
2 |
57 |
3,50 |
0,100 |
33,0 |
600,0 |
4,3 |
0,100 |
33 |
272,70 |
|
3 |
45 |
4,02 |
0,270 |
37,0 |
1006,9 |
4,85 |
0,270 |
36 |
468,70 |
|
4 |
45 |
4,02 |
0,270 |
37,0 |
1006,9 |
4,85 |
0,270 |
36 |
468,70 |
|
5 |
38 |
4,40 |
0,320 |
38,0 |
977,3 |
4,9 |
0,320 |
37 |
459,70 |
|
6 |
38 |
4,40 |
0,320 |
38,0 |
2443,4 |
4,9 |
0,320 |
37 |
1149,4 |
|
7 |
89 |
2,72 |
0,140 |
35,0 |
2391,6 |
3,2 |
0,140 |
35 |
1137,7 |
|
8 |
159 |
1,80 |
0,077 |
35,0 |
5178,5 |
2,2 |
0,077 |
34 |
2371,5 |
|
9 |
57 |
3,50 |
0,100 |
33,0 |
5600,0 |
4,3 |
0,100 |
33 |
2545,5 |
|
10 |
45 |
4,02 |
0,270 |
37,0 |
2265,7 |
4,85 |
0,270 |
36 |
1054,7 |
5. Теплоприготовительные установки систем теплоснабжения
5.1. Виды теплоприготовительных установок систем теплоснабжения
Теплоприготовительная установка системы теплоснабжения, это комплекс устройств и агрегатов, предназначенных для выработки тепла в виде пара или горячей воды за счёт сжигания топлива, а также подготовки теплоносителя и подачи его в систему теплоснабжения.
В зависимости от назначения теплоприготовительные установки делятся на три основные группы: паровые, пароводогрейные и водогрейные котельные.
Паровые котельные в основном предназначены для обеспечения паром технических потребителей промышленных предприятий. Отпуск тепла системам отопления, вентиляции и горячего водоснабжения производится в небольшом количестве, только для нужд предприятия.
Вторая группа котельных, при мощности более 60 МВт на основании технико-экономических расчётов оборудуется паровыми и водогрейными котлами и предназначается для отпуска тепла как в виде пара промышленным предприятиям, так и в виде воды для отопления, вентиляции и горячего водоснабжения предприятий и жилищно коммунального сектора. Мощность паровых и водогрейных котлов определяется соотношением тепловых нагрузок по пару и горячей воде.
Водогрейные котельные предназначены для отпуска тепла системам отопления и горячего водоснабжения потребителям жилищно-коммунального сектора или промышленных предприятий, где пар не используется на технологические нужды.
Так как на данном предприятии тепловая мощность не превышает 60 МВт, а на технологические нужды используется насыщенный пар с давлением 0,7 МПа, то в дальнейшем будем рассматривать паровую котельную.
5.2. Тепловая схема паровой котельной
Рекомендуемый вариант тепловой схемы котельной представлен на листе 4 графической части.
Котельная оборудуется паровыми котлами с параметрами пара обусловленными необходимостью технологических процессов.
Вырабатываемый пар отпускается потребителям, как с параметрами свежего пара, так и через редукционно-охладительную установку РОУ. На собственные нужды котельной, используется редуцированный пар с давлением – 0,6 Мпа. Водо-питательная установка котельной состоит из атмосферного деаэратора, пароводяных подогревателей химически очищенной воды и питательных насосов. Установка атмосферных деаэраторов обеспечивает получением деаэрированной питательной воды с температурой 104 оС, отвечающей требованиям, предъявляемым устанавливаемыми котлами.
В целях поддержания расчётного водо химического режима котлов предусмотрена их непрерывная и периодическая продувка. Тепло непрерывной продувки котлов используется в рабочем цикле котельной с помощью сепаратора непрерывной продувки(СНП) и охладителя непрерывной продувки (ОНП). Отсепарированный пар из сепаратора отводится в деаэраторы питательной воды, а от сепарированная продувочная вода охлаждается сырой водой в охладителе непрерывной продувки до 40 оС, после чего сбрасывается в канализацию.
После подогрева в теплообменнике (ОНП) сырая вода подогревается до 25 30 оС в пароводяном подогревателе исходной воды, после чего после чего поступает на химводоочистку. Пройдя химводоочистку, вода с температурой
23 28 оС (принимается, что в аппарате ХВО вода остывает на 2 оС) поступает на водоподогреватель химически очищенной воды, где в паровом теплообменнике нагревается до температуры 70 80 оС. После чего направляется в деаэратор.
Все использованные в котельной пароводяные подогреватели обогреваются редуцируемым паром 0,6 Мпа, и конденсат после них через регуляторы уровня (конденсатоотводники) выдавливается непосредственно в деаэратор питательной воды. Конденсат, возвращающийся с производства, поступает в промежуточные баки и после контрольной проверки его качества насосами перекачивается в деаэраторы.
Отпуск тепла системам отопления вентиляции и горячего водоснабжения производится с горячей сетевой водой, которая нагревается в сетевых подогревателях.
Вода для подпитки тепловых сетей берётся из бака запаса подпиточной воды, пройдя охладитель подпитки, подпиточными насосами подаётся в обратный трубопровод перед сетевыми насосами.
5.3. Расчёт тепловой схемы паровой котельной
5.3.1. Расчёт тепловой схемы паровой котельной для максимально-зимнего периода
Расход технологического конденсата с производства определяется по формуле:
G>тех> = μ · D>тех> / 100, (5.1)
где D>тех> – расход пара на технологические нужды, кг/с;
μ -> >доля возврата конденсата, %;
G>тех> = 60 · 1,1 / 100 = 0,66 кг/с.
Потери технологического конденсата:
G>тех>пот =D>тех>–G>тех>, (5.2)
G>тех>пот = 1,1 – 0,66 = 0,44 кг/с.
Нагрузка отопления, вентиляции, горячего водоснабжения:
Q>ов> = Q>ов>р · ( t>вн>р – t>нв> ) / (t>вн>р – t>ор>), (5.3)
где Q>ов>р – расчётная нагрузка отопления и вентиляции, кВт;
t>вн>р – расчётная температура внутри помещений, оС;
t>ор> – расчётная температура для проектирования отопления, оС;
t>нв >– температура наружного воздуха, оС.
Q>ов> = 11116,1 · (18 + 30) / (18 + 30) = 11116,1 кВт.
Расход пара на сетевые подогреватели определяется по формуле:
D>сп>> >= (Q>ов> + Q>гв> ) / (i>0,7 >"– i>к>), (5.4)
где i >0,7 >"– энтальпия сухого насыщенного пара при давлении 0,7МПа, кДж/кг [2];
i>к> – энтальпия конденсата возвращённого от потребителя, кДж/кг;
D>сп >= (1111,6 + 1162,6) / ((2763 – (55 · 4,19)) = 4,84 кг/с.
Общий расход пара потребителями:
D>вн >= D>тех >+ D>сп>, (5.5)
D>вн >= 1,1 + 4,84 = 5,94 кг/с.
Потери пара в тепловой схеме:
D>пот >= 0,03 · D>вн>, (5.6)
D>пот >= 0,03 · 5,94 = 0,2 кг/с.
Расход пара на собственные нужды ТГУ:
D>сн >= 0,08 · D>вн>, (5.7)
D>сн >= 0,08 · 5,94 = 0,5 кг/с.
Расход сетевой воды:
G>с>= (Q>ов>> >+ Q>гв>) / (i>с>' − i>с>''), (5.8)
где i>с>', i>с>'' − энтальпия воды в прямой и обратной магистрали, кДж/кг;
G>с>= (11116,1> >+ 1162,6) / [(150 · 4,19) − (70 · 4,19)] = 36,6 кг/с.
Расход воды на подпитку тепловой сети:
G>под >= 0,015 · G>с>, (5.9)
G>под >= 0,015 · 36,6 = 0,55 кг/с.
Паропроизводительность котельной определяется по формуле:
D>кот> = D>тех> + D>сп>> >+ D>сн>> >+ D>пот>, (5.10)
D>кот> = 1,1 + 4,84 + 0,5 + 0,2 = 6,64 кг/с.
Сумма потерь пара, конденсата, сетевой воды:
G>пот>= G>пот>тех + D>пот >+ G>под>, (5.11)
G>пот>= 0,44 + 0,2 + 0,55 =1,19 кг/с.
Доля потерь теплоносителя:
П>х> = G>пот> / D>кот>, (5.12)
П>х> = 1,19 / 6,64 = 0,2.
Процент продувки:
P>п>= S>х>· П>х>·100 / (S>кв>−S>х>· П>х>), (5.13)
где S>х>−солесодержание исходной воды, мг/кг;
S>кв>−солесодержание котловой воды, мг/кг, [2];
P>п>= 350 · 0,2 · 100 / (3000 −350 · 0,2) =2,38.
Расход питательной воды на РОУ:
G>роу> = D>кот> · (i">1,4> − i">0,7>) / (i">1,4> − i">пв>), (5.14)
где i">пв >− энтальпия питательной воды, КДж/кг, [2];
i">1,4> − энтальпия сухого насыщенного пара при давлении Р = 1,4 МПа, кДж/кг, [2].
G>роу> = 6,64 · (2790 − 2763) / (2790 − 419) = 0,1 кг/с.
Паропроизводительность ТГУ при рабочих параметрах:
D1,4 = D>кот> − G>роу>, (5.15)
D1,4 = 6,64 − 0,1= 6,54 кг/с.
Расход продувочной воды:
G>пр> = P>п >· D1,4 / 100, (5.16)
G>пр> = 2,38> >· 6,54 / 100 = 0,16 кг/с.
Расход пара из сепаратора непрерывной продувки:
D>с>0,15 = G>пр> · (i>кв> − i>0>'>,15>) / (i">0,15> − i>0>'>,15>), (5.17)
где i>кв> − энтальпия котловой воды, КДж/кг, [2];
i">0,15> , i>0>'>,15 >− энтальпия насыщенного пара и воды, (при давлении Р = 0,15 Мпа), кДж/кг, [2].
D>с>0,15 = 0,16 · (830 − 467) / (2693 − 467) = 0,03 кг/с.
Расход воды из сепаратора непрерывной продувки:
G>снп >= G>пр> − D>с>0,15, (5.18)
G>снп >= 0,16 − 0,03 = 0,13.
Расход воды из деаэратора:
G>д> = D>кот >+ G>пр >+ G>подп>, (5.19)
G>д> = 6,64> >+ 0,16> >+ 0,55 = 7,35 кг/с.
Расход выпара деаэратора:
D>вып> = d · G>д>, (5.20)
где d − удельный расход выпара из деаэратора, кг/кг, [2].
D>вып> = 0,005 · 7,35 = 0,04 кг/с.
Суммарные потери пара и конденсата (уточнённые):
G>пот> = G>тех>пот + D>пот>> >+ G>под>> >+ G>снп>+ D>вып>, (5.21)
G>пот> = 0,44 + 0,2> >+ 0,55> >+ 0,13+ 0,042 = 1,36 кг/с.
Расход воды: химически обработанной:
G>хво> = G>пот>, (5.22)
G>пот> = 1,36 кг/с;
исходной:
G>исх> = 1,15 · G>хво>, (5.23)
G>исх> = 1,15 · 1,36 = 1,56 кг/с.
Температура исходной воды после охладителя непрерывной продувки:
t = (i>исх>> >+ (G>снп>> >/ G>исх> ) · (i>0,15> − i>к> ) ) / 4,19, (5.24)
где i>ис х>− энтальпия исходной воды, (при t = 5 оС зимой), кДж/кг;
i>к> − энтальпия конденсата, (при t =40оС), кДж/кг.
t = (20,95+ (0,13/ 1,56) · (467 − 167,6)) / 4,19 = 11оС.
Расход пара на подогреватель исходной воды:
D>исх>> >= G>исх> · (i">исх> − i'>исх>) / (i">0,7> − i>к> ), (5.25)
где i">исх ,> i'>исх >− энтальпия воды на выходе и входе в подогреватель исход ой воды, кДж/кг, [2];
i>к>− энтальпия конденсата (при давлении в деаэраторе и t=105 оС), кДж/кг, [2];
D>исх >= 1,56 · (125,7 − 46,9) / (2763 − 439,9 ) = 0,05 кг/с.
Расход пара на подогреватель химически очищенной воды:
D>хво>> >= G>хво> · (i">хво> − i'>хво>) / (i">0,7> − i>к>), (5.26)
где i">хво >− энтальпия химически очищенной воды на выходе из охладителя выпора и на входе в деаэратор, кДж/кг, [2];
i'>хво> − энтальпия химически очищенной воды на входе в охладитель выпора, кДж/кг, [2].
D>хво >= 1,36 · (335,3 − 113,3) / (2763 − 439,9) = 0,13 кг/с.
Расход пара на деаэрацию:
D>д>> >= ((G>д> · i'>д> + D>вып> · i''>д>) / i">0,7>) − ((G>хво>· i">хво> + D>с>· i">0,15> +G>тех>· i'>тех> ) + (G>исх>+ G>хво>) · i>к>) / i">0,7>, (5.27)
где i">д >− энтальпия выпара насыщенного пара (при давлении в деаэраторе), кДж/кг, [2].
D>д >= ((7,35 · 419 + 0,04 · 2683) / 2763) − ((1,36· 335,2 + 0,03· 2693 +0,66· 230,45) + (1,36+1,56) · 439,9)/ 2763 = 0,44 кг/с.
Расчетный расход пара на собственные нужды:
D>сн>р> >= D>д> + D>хво> + D>исх>, (5.28)
D>сн>р> >= 0,44 + 0,13 + 0,05 = 0,62 кг/с.
Расчетная паропроизводительность ТГУ:
D>кот>р> >= D>тех> + D>сн>р +D>пот> +D>сп>, (5.29)
D>кот>р> >= 1,1 + 0,62 + 0,2 + 4,84 = 6,76 кг/с.
Ошибка расчёта:
Δ = ((D>кот>р> >− D>кот>) / D>кот>р) ·100 %, (5.30)
Δ = ((6,76> >− 6,64) / 6,76) ·100 % = 1,7 %.
Ошибка расчёта не превышает 3%, значит расчет проведён верно.
5.3.2 Расчёт тепловой схемы паровой котельной для наиболее холодного месяца
Расход технологического конденсата с производства определяется по формуле:
G>тех> = μ · D>тех> / 100,
где D>тех> – расход пара на технологические нужды, кг/с;
μ -> >доля возврата конденсата, %;
G>тех> = 60 · 1,1 / 100 = 0,66 кг/с.
Потери технологического конденсата:
G>тех>пот = D>тех> – G>тех;>
G>тех>пот = 1,1 – 0,66 = 0,44 кг/с.
Нагрузка отопления, вентиляции, горячего водоснабжения:
Q>ов> = Q>ов>р · (t>вн>р – t>нв>) / (t>вн>р – t>ор>),
где Q>ов>р – расчётная нагрузка отопления и вентиляции, кВт;
t>вн>р – расчётная температура внутри помещений, оС;
t>ор> – расчётная температура для проектирования отопления, оС;
t>нв >– температура наружного воздуха, оС.
Q>ов> = 11116,1 · (18 + 17) / (18 + 30) = 8105,5 кВт.
Расход пара на сетевые подогреватели определяется по формуле:
D>сп>> >= (Q>ов> + Q>гв>) / (i>0,7 >"– i>к>),
где i>0,7 >"– энтальпия сухого насыщенного пара при давлении 0,7МПа, кДж/кг [2];
i>к> –энтальпия конденсата возвращённого от потребителя, кДж/кг;
D>сп >= (8105,5 + 1162,6) / (( 2763 – ( 55 · 4,19 )) = 3,66 кг/с.
Общий расход пара потребителями:
D>вн >= D>тех >+ D>сп>,
D>вн >= 1,1 + 3,66 = 4,76 кг/с.
Потери пара в тепловой схеме:
D>пот >= 0,03 · D>вн>,
D>пот >= 0,03 · 4,76 = 0,14 кг/с.
Расход пара на собственные нужды ТГУ:
D>сн >= 0,08 · D>вн>,
D>сн >= 0,08 · 4,76 = 0,38 кг/с.
Расход сетевой воды:
G>с>> >= (Q>ов>> >+ Q>гв>) / (i>с>' − i>с>''),
где i>с>', i>с>'' − энтальпия воды в прямой и обратной магистрали, кДж/кг;
G>с >= ( 8105,5> >+ 1162,6 ) / ( 114 · 4,19 ) − ( 56 · 4,19 ) = 38,1 кг/с.
Расход воды на подпитку тепловой сети:
G>под >= 0,015 · G>с>,
G>под >= 0,015 · 38,1 = 0,57 кг/с.
Паропроизводительность котельной определяется по формуле:
D>кот> = D>тех> + D>сп>> >+ D>сн>> >+ D>пот>,
D>кот> = 1,1 + 3,66 + 0,38 + 0,14 = 5,28 кг/с.
Сумма потерь пара, конденсата, сетевой воды:
G>пот>= G>пот>тех + D>пот >+ G>под>,
G>пот>= 0,44 + 0,14 + 0,57 = 1,15 кг/с.
Доля потерь теплоносителя:
П>х> = G>пот> / D>кот>,
П>х> = 1,15 / 5,28 = 0,19.
Процент продувки:
P>п>= S>х>· П>х>·100 / (S>кв>− S>х>· П>х>),
где S>х>− солесодержание исходной воды, мг/кг;
S>кв>− солесодержание котловой воды, мг/кг, [2];
P>п>= 350 · 0,19 · 100 / (3000 − 350 · 0,19) = 2,3.
Расход питательной воды на РОУ:
G>роу> = D>кот> · (i">1,4> − i">0,7>) / ( i">1,4> − i">пв>),
где i">пв >− энтальпия питательной воды, КДж/кг, [2];
i">1,4> − энтальпия сухого насыщенного пара при давлении Р= 1,4 МПа,
кДж/кг, [2].
G>роу> = 5,28 · ( 2790 − 2763 ) / ( 2790 − 419 ) = 0,1 кг/с.
Паропроизводительность ТГУ при рабочих параметрах:
D1,4 = D>кот> − G>роу>,
D1,4 = 5,28 − 0,1 = 5,18 кг/с.
Расход продувочной воды:
G>пр> = P>п >· D1,4 / 100,
G>пр> = 2,3> >· 5,28 / 100 = 0,12 кг/с.
Расход пара из сепаратора непрерывной продувки:
D>с>0,15 = G>пр> · (i>кв> − i>0>'>,15>) / (i">0,15> − i>0>'>,15>),
где i>кв> − энтальпия котловой воды, КДж/кг, [2];
i">0,15> , i>0>'>,15 >− энтальпия насыщенного пара и воды, кДж/кг, [2].
D>с>0,15 = 0,12 · (830 − 467) / (2693 − 467) = 0,02 кг/с.
Расход воды из сепаратора непрерывной продувки:
G>снп >= G>пр> − D>с>0,15,
G>снп >= 0,12 − 0,02 = 0,1.
Расход воды из деаэратора:
G>д> = D>кот >+ G>пр >+ G>подп>,
G>д> = 5,28> >+ 0,12> >+ 0,57 = 5,97 кг/с.
Расход выпара деаэратора:
D>вып> = d · G>д>,
где d − удельный расход выпара из деаэратора, кг/кг, [2].
D>вып> = 0,005 · 5,97 = 0,03 кг/с.
Суммарные потери пара и конденсата (уточнённые):
G>пот> = G>тех>пот + D>пот>> >+ G>под>> >+ G>снп>+ D>вып>,
G>пот> = 0,44 + 0,14> >+ 0,57> >+ 0,1+ 0,03 = 1,28 кг/с.
Расход воды:
химически обработанной:
G>хво> = G>пот>,
G>пот> = 1,28 кг/с;
исходной:
G>исх> = 1,15 · G>хво>,
G>исх> = 1,15 · 1,28 = 1,47 кг/с.
Температура исходной воды после охладителя непрерывной продувки:
t = (i>исх>> >+ (G>снп>> >/ G>исх>) · (i>0,15> − i>к>)) / 4,19,
где i>ис х>− энтальпия исходной воды, (при t = 5 оС зимой), кДж/кг;
i>к> − энтальпия конденсата, (при t =40оС), кДж/кг.
t = (20,95+ (0,1/ 1,47) · (467 − 167,6)) / 4,19 = 9,9 оС.
Расход пара на подогреватель исходной воды:
D>исх>> >= G>исх> · (i">исх> − i'>исх>) / (i">0,7> − i>к>),
где i">исх ,> i'>исх >− энтальпия воды на выходе и входе в подогреватель исход ной воды, кДж/кг, [2];
i>к>− энтальпия конденсата (при давлении в деаэраторе и t = 105 оС ),
кДж/кг, [2];
D>исх >= 1,47 · (125,7 − 41,8) / (2763 − 439,9 ) = 0,053 кг/с.
Расход пара на подогреватель химически очищенной воды:
D>хво>> >= G>хво> · (i">хво> − i'>хво>) / (i">0,7> − i>к>),
где i">хво >− энтальпия химически очищенной воды на выходе из охладите ля выпора и на входе в деаэратор, кДж/кг, [2];
i'>хво> − энтальпия химически очищенной воды на входе в охладитель выпора, кДж/кг, [2].
D>хво >= 1,28 · (335,3 − 113,3) / (2763 − 439,9) = 0,12 кг/с.
Расход пара на деаэрацию:
D>д >= ((G>д> · i'>д> + D>вып> · i''>д>) / i">0,7>) − ((G>хво>· i">хво> + D>с>· i">0,15> +G>тех>· i'>тех> ) +
+(G>исх>+ G>хво>) ·i>к>) / i">0,7>,
где i">д >− энтальпия выпара насыщенного пара (при давлении в деаэраторе), кДж/кг, [2].
D>д >= ((5,97 · 419 + 0,03 · 2683) / 2763) − ((1,28· 335,2 + 0,02· 2693 +0,66· 230,45) + (1,47+1,28) · 439,9)/ 2763 = 0,27 кг/с.
Расчетный расход пара на собственные нужды:
D>сн>р> >= D>д> +D>хво> +D>исх> ,
D>сн>р> >= 0,27+0,053 +0,19 = 0,44 кг/с.
Расчетная паропроизводительность ТГУ:
D>кот>р> >= D>тех> + D>сн>р +D>пот> +D>сп>,
D>кот>р> >= 1,1 + 0,44+ 0,14 + 3,66 = 5,34 кг/с.
Ошибка расчёта:
Δ = ((D>кот>р> >− D>кот>) / D>кот>р) ·100 %,
Δ = ((5,34> >− 5,28) / 5,34) ·100 % = 1,1 %.
Ошибка расчёта не превышает 3%, значит расчет проведён верно.
5.3.3 Расчёт тепловой схемы паровой котельной для летнего режима
Расход технологического конденсата с производства определяется по формуле:
G>тех> = μ · D>тех> / 100,
где D>тех> – расход пара на технологические нужды, кг/с;
μ -> >доля возврата конденсата, %;
G>тех> = 60 · 1,1 / 100 = 0,66 кг/с.
Потери технологического конденсата:
G>тех>пот = D>тех> – G>тех;>
G>тех>пот = 1,1 – 0,66 = 0,44 кг/с.
Нагрузка отопления, вентиляции:
Q>ов> = Q>ов>р · (t>вн>р – t>нв>) / (t>вн>р – t>ор>),
где Q>ов>р – расчётная нагрузка отопления и вентиляции, кВт;
t>вн>р – расчётная температура внутри помещений, оС;
t>ор> – расчётная температура для проектирования отопления, оС;
t>нв >– температура наружного воздуха, оС.
Q>ов> = 0
Расход пара на сетевые подогреватели определяется по формуле:
D>сп>> >= (Q>ов> + Q>гв>) / (i>0,7 >"– i>к>),
где i>0,7 >"– энтальпия сухого насыщенного пара при давлении 0,7МПа, кДж/кг [2];
i>к> –энтальпия конденсата возвращённого от потребителя, кДж/кг;
Q>гв >= 0,82 · Q>гв>р,
Q>гв> = 0,82 · 1162,6 = 953,3 кВт,
D>сп >= 953,3 /(( 2763 – (55 · 4,19 )) = 0,38 кг/с.
Общий расход пара потребителями:
D>вн >= D>тех >+ D>сп>,
D>вн >= 1,1 + 0,38 = 1,48 кг/с.
Потери пара в тепловой схеме:
D>пот >= 0,03 · D>вн>,
D>пот >= 0,03 · 1,48 = 0,04 кг/с.
Расход пара на собственные нужды ТГУ:
D>сн >= 0,125 · D>вн>,
D>сн >= 0,125 · 1,48 = 0,19 кг/с.
Расход сетевой воды:
G>с>=(Q>ов>> >+ Q>гв>) / (i>с>' − i>с>''),
где i>с>', i>с>'' − энтальпия воды в прямой и обратной магистрали, кДж/кг;
G>с>= 953,3 / (70 · 4,19) − (39 · 4,19) = 7,2 кг/с.
Расход воды на подпитку тепловой сети:
G>под >=0,015 · G>с>,
G>под >=0,015 · 7,2 = 0,11 кг/с.
Паропроизводительность котельной определяется по формуле:
D>кот> = D>тех> + D>сп>> >+ D>сн>> >+ D>пот>,
D>кот> = 1,1 + 0,38 + 0,19 + 0,04 = 1,71 кг/с.
Сумма потерь пара, конденсата, сетевой воды:
G>пот>= G>пот>тех + D>пот >+ G>под>,
G>пот>= 0,44 + 0,04 + 0,11 =0,59 кг/с.
Доля потерь теплоносителя:
П>х> = G>пот> / D>кот>,
П>х> = 0,59 / 1,71 = 0,35.
Процент продувки:
P>п>= S>х>· П>х>·100 / (S>кв>−S>х>· П>х>),
где S>х>−солесодержание исходной воды, мг/кг;
S>кв>−солесодержание котловой воды, мг/кг, [2];
P>п>= 350 · 0,35 · 100 / (3000 −350 · 0,35) = 4,38
Расход питательной воды на РОУ:
G>роу> = D>кот> · (i">1,4> − i">0,7>) / ( i">1,4> − i">пв>),
где i">пв >− энтальпия питательной воды, кДж/кг, [2];
i">1,4> − энтальпия сухого насыщенного пара при давлении Р = 1,4 МПа,
кДж/кг, [2].
G>роу> = 1,71· (2790 − 2763 ) / ( 2790 − 419 ) = 0,02 кг/с.
Паропроизводительность ТГУ при рабочих параметрах:
D1,4 = D>кот> − G>роу>,
D1,4 =1,71 − 0,02 = 1,69 кг/с.
Расход продувочной воды:
G>пр> = P>п >· D1,4 / 100,
G>пр> = 4,3> >· 1,69 / 100 = 0,07кг/с.
Расход пара из сепаратора непрерывной продувки:
D>с>0,15 = G>пр> · (i>кв> − i>0>'>,15>) / (i">0,15> − i>0>'>,15> ),
где i>кв> − энтальпия котловой воды, кДж/кг, [2];
i">0,15> , i>0>'>,15 >−энтальпия насыщенного пара и воды, кДж/кг, [2].
D>с>0,15 = 0,07 · (830 − 467) / (2693 − 467) = 0,01 кг/с.
Расход воды из сепаратора непрерывной продувки:
G>снп >= G>пр> − D>с>0,15,
G>снп >= 0,07 − 0,01 = 0,06.
Расход воды из деаэратора:
G>д> = D>кот >+ G>пр >+ G>подп>,
G>д> = 1,71> >+ 0,07+ 0,11 = 1,89 кг/с.
Расход выпара деаэратора:
D>вып> = d · G>д>,
где d − удельный расход выпара из деаэратора, кг/кг, [2].
D>вып> = 0,005 · 1,89 = 0,01 кг/с.
Суммарные потери пара и конденсата (уточнённые):
G>пот> = G>тех>пот + D>пот>> >+ G>под>> >+ G>снп>+ D>вып>,
G>пот> = 0,44 + 0,04> >+ 0,11> >+ 0,01+ 0,06 = 0,7 кг/с.
Расход воды:
химически обработанной:
G>хво> = G>пот>,
G>пот> = 0,7 кг/с.
исходной:
G>исх> = 1,15 · G>хво>,
G>исх> = 1,15 · 0,7 = 0,81 кг/с.
Температура исходной воды после охладителя непрерывной продувки:
t = (i>исх>> >+ (G>снп>> >/ G>исх>) · (i>0,15> − i>к> ) ) / 4,19,
где i>ис х>− энтальпия исходной воды, (при t = 15оС летом), кДж/кг;
i>к> − энтальпия конденсата, (при t =40оС), кДж/кг.
t = (62,85+ (0,06/ 0,81) · (467 − 167,6)) / 4,19 = 20,3 оС.
Расход пара на подогреватель исходной воды:
D>исх>> >= G>исх> · (i">исх> − i'>исх>) / (i">0,7> − i>к>),
где i">исх ,> i'>исх >− энтальпия воды на выходе и входе в подогреватель исход ной воды, кДж/кг, [2];
i>к>− энтальпия конденсата (при давлении в деаэраторе и t = 105 оС ),
кДж/кг, [2];
D>исх >= 0,81 · (125,7 − 85,1> >) / (2763 − 439,9 ) = 0,014кг/с.
Расход пара на подогреватель химически очищенной воды:
D>хво>> >= G>хво> · (i">хво> − i'>хво>) / (i">0,7> − i>к>),
где i">хво >− энтальпия химически очищенной воды на выходе из охладителя выпора и на входе в деаэратор, кДж/кг, [2];
i'>хво> − энтальпия химически очищенной воды на входе в охладитель выпора, кДж/кг, [2].
D>хво >= 0,7 · (335,3 − 113,3) / (2763 − 439,9 ) = 0,1 кг/с.
Расход пара на деаэрацию:
D>д>> >= ((G>д> · i'>д> + D>вып> · i''>д>) / i">0,7>) − ((G>хво>· i">хво> + D>с>· i">0,15> +G>тех>· i'>тех> ) + (G>исх>+ G>хво>) · i>к>)/ i">0,7>,
где i">д >− энтальпия выпара насыщенного пара (при давлении в деаэраторе), кДж/кг, [2].
D>д >= ((1,89 · 419 + 0,01 · 2683) / 2763) − ((0,7· 335,2 + 0,01· 2693 +0,66· 230,45) + (0,014+0,1) · 439,9)/ 2763 = 0,1 кг/с.
Расчетный расход пара на собственные нужды:
D>сн>р> >= D>д> +D>хво> +D>исх> ,
D>сн>р> >= 0,1 +0,014 +0,1 = 0,21кг/с.
Расчетная паропроизводительность ТГУ:
D>кот>р> >= D>тех> + D>сн>р +D>пот> +D>сп>,
D>кот>р> >= 1,1 + 0,24 + 0,04+ 0,38 = 1,73 кг/с.
Ошибка расчёта:
Δ = ((D>кот>р> >− D>кот>)/ D>кот>р) ·100 %,
Δ = ((1,73> >− 1,71)/ 1,73) ·100 % = 1,2 %.
Ошибка расчёта не превышает 3%, значит расчет проведён верно.
Результаты расчёта тепловой схемы котельной сводятся в таблицу 5.
Таблица 5.
Результаты расчёта тепловой схемы котельной
|
Показатели |
Режимы работы |
||
|
Максимальнозимний |
Наиболее холодного месяца |
Летний |
|
|
1 |
2 |
3 |
4 |
|
1.Расход технологического конденсата с производства, кг/с |
0,66 |
0,66 |
0,66 |
|
2.Потери технологического конденсата, кг/с |
0,44 |
0,44 |
0,44 |
|
3.Нагрузка отопления, вентиляции, кВт |
11116,1 |
8105,5 |
0 |
|
4.Нагрузка горячего водоснабжения, кВт |
1116,2 |
1116,2 |
953,3 |
|
5.Расход пара на сетевые подогреватели, кг/с |
4,84 |
3,66 |
0,38 |
|
6.Общий расход пара потребителями, кг/с |
5,94 |
4,76 |
1,48 |
|
7.Потери пара в тепловой схеме, кг/с |
0,2 |
0,14 |
0,04 |
|
8.Расход пара на собственные нужды ТГУ, кг/с |
0,5 |
0,38 |
0,19 |
|
9.Расод сетевой воды, кг/с |
36,6 |
38,1 |
7,2 |
|
10.Расход воды на подпитку тепловой сети, кг/с |
0,55 |
0,57 |
0,11 |
|
11.Паропроизводительность котельной, кг/с |
6,64 |
5,28 |
1,71 |
|
12.Сумма потерь пара, конденсата, сетевой воды, кг/с |
1,19 |
1,15 |
0,59 |
|
13.Доля потерь теплоносителя |
0,2 |
0,19 |
0,35 |
|
14.Процент продувки, % |
2,38 |
2,3 |
4,3 |
|
15.Расход питательной воды на РОУ, кг/с |
0,1 |
0,1 |
0,02 |
|
16.Паропоизводительность ТГУ при рабочих параметрах, кг/с |
6,54 |
5,18 |
1,69 |
|
17.Расход продувочной воды, кг/с |
0,16 |
0,12 |
0,07 |
|
18.Расход пара из сепаратора непрерывной продувки, кг/с |
0,03 |
0,02 |
0,01 |
|
19.Расход воды из сепаратора непрерывной продувки, кг/с |
0,13 |
0,1 |
0,06 |
|
20.Расход воды из деаэратора, кг/с |
7,35 |
5,97 |
1,89 |
|
21.Расход выпора из деаэратора, кг/с |
0,04 |
0,03 |
0,01 |
|
22.Суммарные потери пара, конденсата (уточнённые),кг/с |
1,36 |
1,28 |
0,7 |
|
23.Расход воды а) химически обработанной, кг/с б) исходной, кг/с |
1,36 1,56 |
1,28 1,47 |
0,7 0,81 |
|
24.Температура исходной воды после охладителя непрерывной продувки, кг/с |
11 |
9,9 |
20,3 |
|
25.Расход пара на подогреватель исходной воды, кг/с |
0,05 |
0,053 |
0,014 |
|
26.Расход пара на подогреватель химически очищенной воды, кг/с |
0,13 |
0,12 |
0,1 |
|
27.Расход пара на деаэрацию, кг/с |
0,44 |
0,66 |
0,1 |
|
28.Расчётный расход пара на собственные нужды, кг/с |
0,62 |
0,44 |
0,21 |
|
29.Расчётная паропроизводительность, кг/с |
6,76 |
5,34 |
1,73 |
|
30.Ошибка расчёта, % |
1,7 |
1,1 |
1,2 |
5.4 Определение и расчёт продуктов сгорания газа и расхода воздуха
В качестве основного топлива в котельной используется природный газ, состав которого приведен в таблице 6.
Таблица 6.
Состав природного газа
|
С Н>4, >% |
С>2> Н>6, >% |
С>3> Н>8, >% |
С>4> Н>10, >% |
С>5> Н>12, >% |
N>2, >% |
СО>2, >% |
|
78,2 |
4,4 |
2,2 |
0,7 |
0,2 |
14,2 |
0,1 |
Удельная теплота сгорания топлива равна:
q = 34,16 МДж/м3 = 9,49 Вт · ч/м3.
Плотность газа равна: ρ = 0,879 кг/с.
Расход газа определяется по формуле:
B = (Q>у >· n) / (q · η>к.а> ), (5.31)
где η>к.а> – коэффициент полезного действия котлоагрегата,> >%;
Q>у >– установленная мощность котлоагрегата, Вт;
n – количество котлов, шт.
B = (4370> >· 4) / (9,49 · 0,92) = 2002 м3/ч.
Теоретически необходимый объём воздуха для сжигания газа определяется по формуле:
V0 = 0,0476· ∑(m + ( n/4))· C>m>· H>n >– O>2>, (5.32)
V0 = 0,0476· (2 · 78,2 + 3,5· 4,4 + 5 · 2,2 + 6,5 · 0,7 + 8 · 0,2) = 10,2 м3/ м3.
Фактический расход воздуха определяется по формуле:
V>в> = V0· В· α · ((t + 273,15) / 273,15), (5.33)
где α – коэффициент избытка воздуха, α =1,05 [4].
V>в> = 10,2· 2002 · 1,05 · ((28 + 273,15) / 273,15) = 23639,3 м3/ч.
Объём азота в продуктах сгорания определяется по формуле:
V>N>>2> = В· (0,79· V0· α + (N>2> /100)), (5.34)
V>N>>2> = 2002 · (0,79·10,2· 1,05 + (14,2 /100)) = 16416,4 м3/ч.
Объём трехатомных газов в продуктах сгорания определяется по формуле:
V>RO>>2> = 0,01· В· (СО>2 >+ СО + Н>2>S +∑mС>m>H>n> (5.35)
V>RO>>2> = 0,01· 2002 · (0,1· 78,2> >+ 2 · 4,4 + 3 · 2,2 + 4 · 0,7 + 5 · 0,2) = 1951,9 м3/ч.
Объём водяных паров в продуктах сгорания определяется по формуле:
V>Н2О> = В · (Н>2>S + Н>2> + ∑(n/2)С>m>H>n> +0,0161d) · 0,01+0,124·V0 · α, (5.36)
где d – влагосодержание газа, d = 10,4 [4].
V>Н2О> = 2002 · (2· 78,2> >+ 3 · 4,4 + 5 · 2,2 + 6 · 0,2 + 0,0161 · 10,4) · 0,01+ + 0,124 · 10,2 · 1,05 = 6301,7 м3/ч.
Объём сухих продуктов сгорания определяется по формуле:
V>С2> = V>RO>>2> + V>N>>2> + (α – 1) · V0 · В, (5.37)
V>С2> = 1951,9 + 16416,4 + (1,05 – 1) · 10,2 · 2002 = 28578,5 м3/ч.
Объём продуктов сгорания определяется по формуле:
V>2> = V>С2> + V>Н2О,> (5.38)
V>2> = 28578,5 + 6301,7 = 34880,2 м3/ч.
5.5 Выбор основного и вспомогательного оборудования
Основное оборудование котельной – паровые котлы. В котельных промышленных предприятий с небольшим потреблением пара большое распространение получили котлы типа Е. Котел двух барабанный, с естественной циркуляцией, барабаны котла расположены по одной вертикальной оси, котельный пучок разделен двумя перегородками из жаропрочной стали, образующими газоходы. Топка имеет боковые и верхние экраны. Каждый котел оборудован одной горелкой, индивидуальным вентилятором и дымососом.
В проектируемой котельной, принимается к установке 4 котла Е 1 9, с номинальной паропроизводительностью 1,81 кг/с, [2].
Вспомогательным оборудованием котельной является:
деаэратор;
сетевые, питательные, подпиточные насосы, насос исходной воды, конденсатный насос;
подогреватели исходной, химически очищенной, сетевой воды;
редукционно охладительная установка;
баковое хозяйство и трубопроводы.
Выбор деаэратора.
Деаэрация питательной воды паровых котлов и подпиточной воды тепловых сетей, является обязательной для всех котельных. Деаэраторы предназначены для удаления из воды растворенных в ней неконденсирующихся газов. Присутствие в питательной и подпиточной воде кислорода и углекислоты приводят к коррозии питательных трубопроводов, кипятильных труб, барабанов котлов и сетевых трубопроводов, что может привести к тяжелой аварии.В проектируемой котельной устанавливается два атмосферных деаэратора ДА 1, с номинальной производительностью 1 т/ч, рабочим давлением 0,12 Мпа, температурой деаэрированной воды 104 0С, [2].
Сетевые насосы водо подогревательных установок выбираются по расчетному расходу сетевой воды и напору, который должен быть достаточным, чтобы покрывать все гидравлические сопротивления сети. Сетевые насосы, как правило, устанавливаются на обратной линии сетевой воды до ПСВ, и перекачивают воду с температурой до 70 0С. В проектируемой котельной устанавливается следующий сетевой насос, [3]:
тип 6К8;
подача – 140 м3/ч;
напор – 36 м;
мощность двигателя – 28 КВт.
Питательный насос должен обеспечивать необходимый расход питательной воды, при давлении соответствующему полному открытию рабочих предохранительных клапанов, установленных на паровом котле. Для питания паровых котлов устанавливается не менее двух насосов с независимыми приводами. Один из насосов должен иметь паровой привод. Производительность каждого питательного насоса должна быть не менее 110 % , максимальной паропроизводительности всех котлов, что составляет 8 т/ч.
Напор создаваемый насосом для перекачки конденсата в паровые котлы определяется по формуле:
H>н> = 10 ∙ P>к >+ (10…20), (5.39)
где P>к >– рабочее давление пара в котле, кг/см2;
10…20 – необходимый запас напора насоса, м; [1].
H>н> = 10 ∙ 9> >+ 15 = 105 м.
Выбирается центробежный сетевой насос, [2]:
тип – ЦНСГ 13 105;
подача – 13 м3/ч;
напор – 105 м;
мощность двигателя – 7,5 КВт.
Выбирается паровой насос, [3]:
тип – ПНП 13;
подача – 13 м3/ч;
напор – 108 м.
Насос исходной воды:
тип – К8/18;
подача – 8м3/ч;
напор – 19 м;
мощность двигателя – 0,8 КВт.
Подпиточный насос:
тип – 1,5 К – 6б;
подача – 4 м3/ч;
напор – 12 м;
мощность двигателя – 0,5 КВт.
Во всех схемах промышленных котельных применяются подогреватели воды и другие теплообменники различного назначения. Подогрев воды в паровых котельных производится в паровых подогревателях.
Теплообменники выбираются по расчетной площади теплообмена, которая определяется по формуле:
F = G ∙ (i>п >– i>к>) / (t>1> t>2>) ∙ К, (5.40)
где G – расход пара на подогреватель, т/ч;
t>1, >t>2 >– температура воды на входе и на выходе из подогревателя,0С;
К – коэффициент теплоотдачи, принимается равным 1500Вт/м2∙К.
Выбирается подогреватель исходной воды, [2]:
Тип ПП2 24 7 IV;
Площадь поверхности нагрева, м2 – 24,4;
Диаметр корпуса, мм 480;
Номинальный расход воды, т/ч 41,7.
Выбирается подогреватель химически очищенной воды, [2]:
Тип ПП2 17 7 IV;
Площадь поверхности нагрева, м2 – 17,2;
Диаметр корпуса, мм 426;
Номинальный расход воды, т/ч – 29,4.
Выбирается подогреватель сетевой воды, [2]:
Тип – ПСВ 200 7 15;
Площадь поверхности нагрева, м2 – 200;
Избыточное рабочее давление в паровом пространстве, Мпа 0,7;
Избыточное рабочее давление в водяном пространстве, Мпа 1,5.
Для сбора и хранения конденсата устанавливается конденсатный бак , с запасом конденсата на 0,5 1 ч.
Необходимая емкость бака определяется по формуле:
V>б> = D ∙ n / γ, (5.41)
где D паропроизводительность котлов, кг/ч;
n количество котлов, шт;
γ вес конденсата при данной температуре, принимается равным
977,81 кг/м3 [4].
V>б> = 6516 ∙ 4 / 977,81 =26,6 м3.
Исходя из расчётов, выбирается бак 10Е011 ёмкостью 26 м3. Бак сварен из 3 мм листовой стали, снабжён крышкой с люком и водомерным стеклом.
Выбор дымососа и вентилятора.
Производительностью дымососа называют объем перемещаемых машиной продуктов сгорания в единицу времени. Необходимая расчетная производительность дымососа определяется с учетом условий всасывания, т.е. избыточного давления или разряжения, температуры перед машиной, и представляет собой действительный объем продуктов сгорания или воздуха, которые должен перемещать дымосос.
Расчетная производительность дымососа определяется по формуле:
Q>д> = (β>1>∙ V ∙ 101080) / h>б>, (5.42)
где β>1> – коэффициент запаса по производительности, [6];
V – расход продуктов сгорания, м3/ч;
h>б> – барометрическое давление на месте установки, h>б> = 99600 Па.
Q>д> = (1,1∙ 8720 ∙ 101080) / 99600 = 9734,5 м3/ч.
Расчетное полное давление, которое должен создавать дымосос принимаем по [6].
Н>р> = 1,0 кПа.
По производительности и по напору принимается к установке дымосос
ДН – 8 с производительностью 10 ∙ 103 м3/ч, и напором 1,08 кПа, [6].
Вентилятор выбираем по расходу воздуха и по напору:
Q>вн> = 6597,3 м3/ч.
Н>вн> = 1,6 кПа.
Принимаем к установке вентилятор с производительностью 8 ∙ 103 м3/ч, и напором 1,72 кПа, [6].
5.6 учёт отпускаемой теплоты
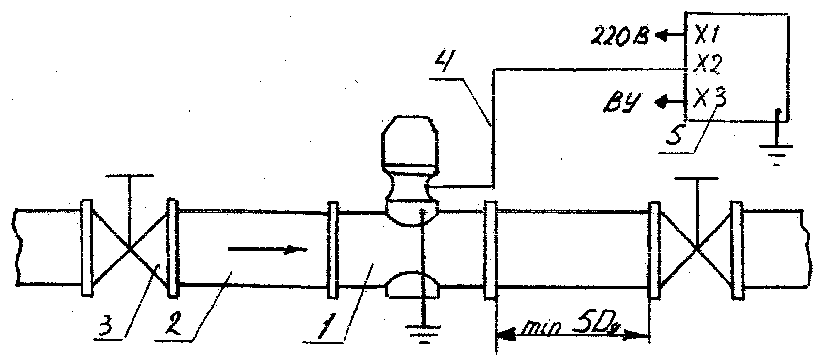
Для учёта отпускаемой теплоты потребителям на нужды отопления и в виде пара устанавливается расходомеры серии РОСВ. Схема подключения показана на рис .

Рис.
– ПП – РОСВ;
– трубопровод;
– арматура (вентиль, задвижка, колено и т.п.);
– линия связи ПП – РОСВ – СПЭ – РОСВ (до 500 м);
– СПЭ – ТОСВ.
РОСВ предназначены для измерения объёмного расхода и количества в единицах объёма холодной и горячей воды и других невзрывоопасных и неагрессивных по отношению к применяемым конструктивным материалам жидкостей на предприятиях, а также применяются для технического учёта водопотребления в системах холодного и горячего водоснабжения жилых, общественных, промышленных зданий. РОСВ служит для измерения объёмного расхода и количества жидкости с климатической вязкостью от 0,2 до 1,8 мм, при давлении в измеряемом трубопроводе до 2,5 Мпа.
РОСВ состоит из преобразователя объёмного первичного расхода (вихревого) ПП РОСВ и счётчика преобразователя (электронного) СПЭ РОСВ. ПП РОСВ осуществляет преобразование расхода жидкости в частотно импульсный сигнал с частотой следования импульсов, пропорционально расходу, а СПЭ РОСВ преобразует эти сигналы в выходные.
ПО устойчивости к воздействию температуры и влажности окружающего воздуха ПП РОСВ имеет исполнение УХЛ, категории размещения 1 по ГОСТ15150 69, для работы при температуре окружающего воздуха от 40 до +50 0С, и СПЭ РОСВ имеющее исполнение УХЛ, категории размещения 4.2 по ГОСТ 15150 69, для работы при температуре окружающей среды от 5 до +50 0С.
РОСВ устойчив к воздействию внешнего магнитного поля напряженностью до 400 А/м и переменного магнитного поля напряженностью до 80 А/м.
Температура измеряемой среды от 2 до 150 0С. Питание осуществляется от сети переменного тока напряжением 220 В, частотой 50 Гц. Потребляемая мощность при номинальном напряжении питания не превышает 20 ВА. Полный средний срок службы не менее 12 лет.
Принцип действия основан на преобразовании и измерении количества вихрей, срывающихся с поверхности плохо обтекаемого тела, помещённого в потоке. Частота срыва вихрей и их количество прямо пропорциональны величине контролируемого расхода к измеряемому объёму протекающей жидкости. Фиксация срыва вихрей производится чувствительным элементом, выполненным в виде плавающего диска, и индивидуальным узлом съёма сигнала, выполненным в виде катушки, помещённой в теле обтекания.
При наличии расхода ПП РОСВ с острых граней большого основания трапецеидального тела обтекания переменно срываются вихри, при этом на боковые поверхности тела обтекания действует знакопеременный период давления, а в каналах между отверстиями дисковой камеры имеет место знакопеременный переток жидкости, который увлекает диск и заставляет его совершать колебательное движение с частотой вихреобразования.
УСС построено трансформаторной схеме и содержит генераторную обмотку и две сигнальные обмотки, включенные встречно. Генераторная обмотка запитывается высоко частотным напряжением, а с сигнальных обмоток снимается амплитудно-модулированный сигнал, причем частоты модуляции равны частоте вихреобразования и пропорциональны расходу жидкости.
6. Безопасность и экологичность
6.1 Анализ состояния безопасности
6.1.1 Анализ и оценка условий труда
Условия труда это совокупность факторов производственной среды, оказывающие влияние на здоровье и работоспособность человека в процессе труда. Благоприятные условия труда не только сохраняют здоровье работающим, но и обеспечивают высокую производительность и предотвращают травматизм.
Созданию на ОАО «САРЭКС» безопасных условий труда уделяется достаточно внимания. Освещенность на каждом рабочем месте замеряется и доводится до норм своевременно. Для поддержания температурного режима во всех цехах предприятия предусмотрено центральное отопление, а для необходимого воздухообмена в цехах предприятия предусмотрено устройство приточно вытяжной вентиляции.
На предприятии имеются карты оценки условий труда на рабочих местах, которые составляются комиссией в составе инженера по технике безопасности, инженера по НОТ, начальников цехов. Карты разрабатываются с целью установления доплаты за неблагоприятные условия труда. На каждом рабочем месте замерялось влияние вредных факторов химических веществ, пыли, газа, шума, вибрации, определялся температурный режим и освещенность, тяжесть труда. Данное обследование проводилось на основании Типового положения об оценке условий труда на рабочих местах, утвержденного Госкомитетом по труду и социальным вопросам № 387/2278 от 3.10.86г. На предприятии имеется ряд профессий и работ с тяжелыми, вредными, особо тяжелыми и особо вредными условиями труда.
По данным отчета 1 Т «О состоянии условий труда льготных и компенсационных выплат за работу в неблагоприятных условиях туда» за 2000 год из 1234 человек списочного состава на конец года:
118 человек работают в условиях, не отвечающих санитарно гигиеническим нормам;
13 человек под действием повышенного уровня шума, ультразвука, инфразвука;
9 человек – повышенного уровня вибрации;
57 человек – повышенной загазованности воздуха рабочей зоны.
При этом за работу в неблагоприятных условиях труда пользуются правом дополнительного отпуска 108 человек; бесплатного получения молока или других равноценных продуктов 670 человек; повышенных тарифных ставок и окладов 108 человек; государственной пенсии на льготных условиях 108 человек.
Все рабочие ОАО «САРЭКС» обеспечены спецодеждой, спецобувью и другими средствами индивидуальной защиты.
Затраты на улучшение условий труда за 2000 год составили:
израсходовано на мероприятия по охране труда, тыс. руб – 1035,85;
из них:
по коллективному договору, тыс. руб 144,36;
на спецодежду, спецобувь, тыс. руб 432,00;
на спецмолоко или другие равноценные пищевые продукты, тыс. руб 459,49.
6.1.2 Анализ и оценка показателей производственного травматизма
Производственный травматизм, как и потери рабочего времени по общей заболеваемости несет ущерб экономике предприятия. Систематическое изучение и анализ травматизма и потерь рабочего времени по заболеваемости, устранение причин их вызывающих, приводит к значительному сокращению его возникновения. Травмы могут быть вызваны различными факторами: механическим, химическими, термическими и др.
Причинами травматизма в основном являются организационные причины, включающие в себя несвоевременное проведение инструктажа по технике безопасности, отсутствие предупредительных надписей, низкий уровень знаний по эксплуатации закрепленной техники или оборудования.
Механические причины: отсутствие и неудовлетворительное содержание ограждений опасных участков, неисправность машин, оборудования, инструментов, приспособлений или несоответствие их конструкции требованиям охраны труда, работа оборудования на недопустимых режимах.
Санитарно гигиенические причины: неудовлетворительное содержание рабочих мест и производства, запыленность и загазованность производственных помещений, несоответствие спецодежды рабочего.
Расследование и учет несчастных случаев связанных с производством, осуществляется в соответствии с действующим положением о порядке расследования и учета несчастных случаев на производстве от 3.6.1995 года № 558. При этом устанавливаются как причина несчастного случая , так и виновные, это делается для того, чтобы принять меры, предупреждающие возможность их повторения.
Анализ производственного травматизма имевшего место на ОАО «САРЭКС» за последние три года приведен в таблице 7.
Таблица 7.
Производственный травматизм и потери то него.
|
Наименование показателей |
Годы |
||
|
1998 |
1999 |
2000 |
|
|
1.Число пострадавших с утратой трудоспособности на 1 рабочий день и более: из них: женщин подростков в состоянии опьянения со смертельным исходом |
18 2 − − − |
11 − − − − |
8 1 − − − |
|
2.Количество человеко дней нетрудоспособности |
392 |
393 |
213 |
|
3.Максимальные последствия несчастных случаев (сумма ущерба), тыс. руб |
32,7 |
30,5 |
25,6 |
|
4.Средне списочная численность работающих, чел |
1304 |
1265 |
1234 |
Анализ причин производственного травматизма показал, что большинство несчастных случаев произошло из за несоблюдения правил техники безопасности и санитарии самими пострадавшими и отсутствием контроля, за их соблюдением со стороны ответственных лиц. По всем произошедшим случаям проведено служебное расследование, составлены акты, выявленные виновные привлечены к ответственности.
Для оценки показателей производственного травматизма используют следующие показатели:
1.Частота травматизма определяется по количеству травм, приходящихся на 1000 человек работающих:
К>ч> = (Т/Р) ∙ 1000, (6.1)
где К>ч >– коэффициент частоты травматизма;
Т – количество несчастных случаев за год;
Р – средне годовая численность работающих.
2. Показатель тяжести травматизма определяется отношением количества потерянных дней нетрудоспособности к числу несчастных случаев:
К>т> = Д / Т, (6.2)
где К>т >– коэффициент тяжести травматизма;
Т – количество травм за год, за исключением смертельных случаев;
Д – количество дней нетрудоспособности за год.
3. Коэффициент травматизма определяется отношением числа травм к численности работающих ,он исчисляется в процентах:
К>тр >= (Т / Р) ∙ 100 %. (6.3)
По приведенным выше формулам произведем расчет показателей производственного травматизма за 2000г.
1. К>ч> = (8 / 1234) ∙1000 = 6,5.
2. К>т> = 213 / 8 = 26,6.
3. К>тр> = (8 /1234) ∙100 % = 0,65.
Показатели травматизма за предшествующие года рассчитываются аналогично, результаты заносятся в таблицу 8.
Таблица 8.
Показатели производственного травматизма
|
Показатели |
Годы |
||
|
1998 |
1999 |
2000 |
|
|
1. Среднесписочная численность работающих, чел |
1304 |
1265 |
1234 |
|
2. Количество несчастных случаев |
18 |
11 |
8 |
|
3. Количество дней нетрудоспособноти, дней |
392 |
393 |
213 |
|
4. Коэффициент частоты |
13,80 |
8,69 |
6,50 |
|
5. Коэффициент тяжести |
23,05 |
35,70 |
26,60 |
|
6. Коэффициент травматизма |
1,40 |
0,86 |
0,64 |
Анализируя данные таблицы, можно сделать вывод, что на ОАО «САРЭКС» наметилась тенденция к снижению основных показателей травматизма. Так, количество несчастных случаев на 1одного работающего снизилось за последние три года с 18 до 88 человек, а коэффициент травматизма с 1,4 до 0,64, т.е на 76%.
Производственный травматизм наносит существенный ущерб экономике предприятия. Для определения влияния производственного травматизма на работоспособность предприятия используются коэффициенты трудоспособности и нетрудоспособности.
Коэффициент трудоспособности определяется по формуле:
К>тр> = 1 Д / (Ф ∙ Р), (6. 4)
где Д – количество дней нетрудоспособности за год;
Р – среднесписочная численность работающих;
Ф – фонд рабочего времени.
Коэффициент не трудоспособности определяется по формуле:
К>тт> = Д / (Ф ∙ Р). (6.5)
Для 2000г.
К>тр> = 1 213 / (251 ∙ 1234) = 0,99.
К>тт> = 213 / (251∙ 1234) = 0,068.
Экономические показатели за предшествующие годы рассчитываются аналогично, данные заносятся в таблицу 9.
Таблица 9.
Экономические показатели травматизма
|
Показатели |
Годы |
||
|
1998 |
1999 |
2000 |
|
|
1.Годовой фонд рабочего времени, дней |
252 |
251 |
251 |
|
2.Дней нетрудоспособности, дней |
392 |
393 |
213 |
|
3.Средне списочная численность работающих, чел |
1304 |
1265 |
1234 |
|
4.Коэффициент трудоспособности, % |
92 |
98 |
99 |
|
5. Коэффициент не трудоспособности, % |
0,12 |
0,123 |
0,068 |
6.2 Разработка мероприятий по безопасности и экологичности
6.2.1 Анализ организации службы охраны труда на предприятии
Организация работы по созданию здоровых и безопасных условий труда, предупреждению производственного травматизма, профессиональных заболеваний, а также соблюдению законодательства по охране труда, возложена на предприятии на бюро инспекции безопасности, которое проводит свою работу по планам, утвержденным главным инженером ОАО «САРЭКС» в пределах должностной инструкции.
Служба охраны труда и техники безопасности создана приказом ген. директора предприятия, и руководствуется в своей работе законодательным и другими нормативными актами.
Инспектор по технике безопасности разрабатывает совместно со специалистами структурных подразделений и профсоюзным комитетом комплексный план улучшений условий, охраны труда и санитарно-оздоровительных мероприятий, и осуществляет контроль за его выполнением. Организует проведение вводного инструктажа и осуществляет контроль за проведением инструктажей на каждом рабочем месте, участвует в расследовании несчастных случаев. Совместно с начальниками служб занимается составлением заявок на средства индивидуальной защиты и контролирует своевременную выдачу спецодежды. Инспектор по технике безопасности проверяет состояние охраны труда во всех подразделениях предприятия и дает предписание по устранению выявленных недостатков.
Требует от руководителей подразделений отстранения от работы лиц, не имеющих допуска к выполнению данной работы или грубо нарушающих правила, нормы и инструкции по охране труда. Участвует в проведении смотров культуры производства, для охраны труда, рассматривает итоги выполненной работы, выносит руководству предприятия предложения о поощрениях работников за высокопроизводительный труд без травм и аварий, о привлечении работников к ответственности за нарушение законодательных и нормативных актов, невыполнение приказов, распоряжений и указаний по охране труда.
Одним из основных методов профилактики производственного травматизма, общей и профессиональной заболеваемости является трехступенчатый контроль за состоянием охраны труда.
Трехступенчатый (административно-общественный) контроль в системе управления охраной труда является основной формой контроля администрации и комитетов профсоюза предприятия за состоянием условий и безопасности труда на рабочих местах, производственных участках, в цехах, а также соблюдением всеми службами, должностными лицами и работающими требований трудового законодательства, стандартов безопасности труда, правил, норм, инструкций и других нормативно − технических документов по охране труда.
Трехступенчатый контроль не исключает проведение административного контроля в соответствии с должностными обязанностями руководителей и инженерно − технических работников предприятия.
В зависимости от спецификации производства, структуры предприятия и масштабов его подразделений, трехступенчатый контроль за состоянием охраны труда проводится:
на первой ступени − на участке цеха, в сменной бригаде;
на второй ступени − в цехе, на производстве или участке предприятия;
на третьей ступени − на предприятии в целом.
Отнесение производственных подразделений к объектам трехступенчатого контроля производится администрацией и комитетом профсоюза предприятия. Профсоюзный комитет, обучает и закрепляет за участками и цехами общественных инспекторов по охране труда участвующих в проведении контроля. В качестве ответственных лиц за проведением контроля на каждой ступени, и лиц, привлекаемых к участию в контроле, в состав комиссии назначается.
На первой ступени − механики цехов, мастера производства, начальник смены и общественный инспектор по охране труда. К участию в проверке состояния условий труда на производственном участке рекомендуется привлекать дежурных по охране труда.
На первой ступени трехступенчатого контроля рекомендуется проверять:
выполнение мероприятий по устранению нарушений, выявленных предыдущей проверкой:
состояние и правильность организации рабочих мест (расположение и наличие необходимого инструмента, приспособлений, заготовок и др.):
состояние проходов, переходов, проездов;
безопасность технологического оборудования, грузоподъемных и транспортных средств;
соблюдение работающими правил электробезопасности при работе на электроустановках и с электроинструментом;
соблюдение правил складирования заготовок и готовой продукции;
исправность приточно-вытяжной вентиляции, местных отсосов, пыли и газоулавливающих устройств;
соблюдение правил безопасности при работе с вредными и пожаро- и взрывоопасными веществами и материалами;
наличие и соблюдение работающими инструкций по охране труда и использование средств индивидуальной защиты.
Вторая ступень проводится комиссией, возглавляемой начальником цеха и старшим общественным инспектором по охране труда, не реже двух раз в месяц. В состав комиссии входят руководители технических служб цеха, инженер отдела охраны труда предприятия, медработник закрепленный за цехом.
На второй ступени рекомендуется проверять:
организацию и результат работы первой ступени контроля;
выполнение мероприятий, намеченных после проведения второй и третьей ступеней контроля;
выполнение приказов и распоряжений руководителя предприятия и начальника цеха, решений комитета профсоюза, предложений общественных инспекторов по вопросам охраны труда;
выполнение мероприятий, по материалам расследования несчастных случаев.
Третья ступень контроля проводится комиссией, возглавляемой руководителем или главным инженером предприятия и председателем совета профсоюза не реже одного раза в квартал. В состав комиссии входят заместитель главного инженера по охране труда, руководители технических служб, руководитель технадзора за зданиями и сооружениями.
На третьей ступени рекомендуется проверять:
организацию и результаты работы первой и второй ступеней контроля;
выполнение мероприятий, по материалам расследования тяжелых и групповых несчастных случаев и аварий;
наличие и правильность ведения паспорта санитарно технического состояния и содержание условий труда в цехе;
организацию внедрения стандартов безопасности труда;
техническое состояние и содержание зданий и сооружений, помещений цехов и прилегающих к ним территории в соответствии с требованиями нормативно технической документации по охране труда;
подготовленность персонала цеха к работе в аварийных условиях;
соблюдение установленного режима труда и отдыха, трудовой дисциплины.
Результаты проверки оформляются актом и в недельный срок обсуждаются на совещаниях у руководителя предприятия с участием профсоюзного актива.
6.2.2 Расчет освещения
Естественное освещение, проникающее в помещение через световые проемы, создает у человека ощущение непосредственной связи с окружающей средой, оказывает успокаивающее и тонизирующее воздействие на его организм. Естественное освещение осуществляется боковым светом через окна котельной.
Искусственное освещение устраивают в производственных помещениях, а также в местах работы на открытых площадках. Источником искусственного освещения служат лампы накаливания, люминесцентные и газоразрядные лампы. Искусственное освещение в соответствии с установленными нормами должно обеспечивать равномерную освещенность на рабочем месте, а также участках помещений.
Для расчета общего равномерного освещения чаще всего используют метод коэффициента использования. При расчете учитывают как прямой, так и отраженный свет.
Высота помещения установки котлов 6,5 м, длина помещения –18 м, ширина – 6 м. Выбираем для освещения помещения котлов светильник марки РСП08 с газоразрядными лампами ДРЛ – 80.
Определяем количество светильников для данного помещения по формуле:
N = E · R · S · Z / (Ф· η), (6.6)
где Е – заданная минимальная освещенность, Е = 100, лк [5];
R – коэффициент запаса, R =1,5;
S – освещаемая площадь, м2;
Z – коэффициент минимальной освещенности, Z =1,15;
Ф – световой поток лампы, для лампы ДРЛ – 80, Ф = 3200 лм;
η – коэффициент использования
светового потока, зависит от индекса помещения.
Индекс помещения определяется по формуле:
I = (A · B) / h · (A + B), (6.7)
где А, В – длина и ширина помещения, м;
h – высота подвеса светильника, м.
I = (6 · 18) / 6 · (6 + 18) = 0,75.
Принимается, согласно [5] I = 0,8 и коэффициент использования η = 0,54.
N = 100 · 1,5 · 108 · 1,15 / (3200 · 0,54) = 8,6 шт.
Принимаем 9 светильников.
Расчет освещения остальных помещений котельной производится аналогично, данные заносятся в таблицу 10.
Таблица 10.
Расчетные данные выбора ламп
|
Наименование помещения |
Тип светильника |
Тип лампы |
Мощность лампы, Вт |
Световой поток, лм |
Количество ламп, шт |
|
Помещение установки котлов |
РСП08 |
ДРЛ |
80 |
3200 |
9 |
|
Вспомогательное помещение |
РСП08 |
ДРЛ |
80 |
3200 |
5 |
|
Бытовые помещения |
ПВЛМ |
ЛБР |
2*40 |
4160 |
6 |
|
Коридор |
ПВЛМ |
ЛБР |
2*40 |
2130 |
2 |
6.2.3 Мероприятия по электробезопасности
Помещение котельной по опасности поражения людей электрическим током относится к особо опасным, согласно ПУЭ. В электрических установках запрещается работать на токоведущих частях под напряжением. Поэтому здесь важно, чтобы однофазные выключатели были установлены в фазном проводе, а не в нулевом для того, чтобы в нулевом проводе, во время работы установки не было тока и падения напряжения, которое вызвало бы длительно существующий на зануленных частях потенциал относительно земли.
Допускается выполнять работу под напряжением на токоведущих частях, если она производится непосредственно на них с применением необходимых средств защиты от поражения электрическим током. Устранение неисправностей в системе электроснабжения разрешается производить только электрику. Обеспечение безопасности персонала обслуживающего электроустановки, а также, лиц, связанных с их обслуживанием электроустановок в ремонтной базе необходимо соблюдать следующие защитные мероприятия:
вести постоянный контроль изоляции при помощи прибора постоянного контроля (ПНК);
защита от случайного прикосновения к токоведущим частям;
применение механических блокировок;
покрытие механических корпусов слоем электроизоляционного материала;
зануление и заземление корпусов электрооборудования: трансформаторная подстанция заземлена контуром, расположенным по периметру корпуса, нулевой провод сети соединен с контуром заземления и шиной нулевого провода проложенного во всех помещениях корпуса котельной, к этой шине проведено зануление всех токоприемников находящихся в помещении корпуса;
применение предупредительной сигнализации.
6.2.4 Мероприятия по пожарной безопасности
По пожарной опасности помещения котельной относятся к категории Б. В соответствии с типовыми правилами пожарной безопасности в котельной несут руководители котельной, которые обязаны:
обеспечить соблюдение на введенных им участках работы установленного противопожарного режима;
следить за исправностью производственных установок и немедленно принимать меры к устранению обнаруженных неисправностей, которые могут привести к пожару;
обеспечить постоянную готовность к применению имеющихся средств пожаротушения, связи и сигнализации.
Основными причинами пожара в котельной являются:
взрыв газов в топках и дымоходах;
вылетающие из дымовой трубы искры;
неисправности электрооборудования, электропроводки, а также нарушение правил эксплуатации оборудования.
При возникновении пожара оператор обязан немедленно сообщить об этом пожарной охране или лицу ответственному за котельную. Если пожар непосредственно угрожает помещению котельной, необходимо остановить котлы в аварийном порядке (выключить питательные устройства, остановить вентиляторы и дымососы, удалить топливо из топки). Шибберы поддувания окна и двери котельной должны быть закрыты. После этого следует выпустить пар в атмосферу путем открывания предохранительных клапанов, и немедленно приступить к тушению пожара всеми имеющимися противопожарными средствами.
Исходя из площади помещения котельной и нормативной площади действия одного огнетушителя, применяются огнетушители типа ОУБ (углекислотно-бромэтиловый), так как он используется для тушения твердых и жидких горючих веществ, а также электроустановок находящихся под напряжением, поскольку бром этил не проводит электрический ток. Также для тушения пожара в котельной устанавливаются ящики с песком, и монтируется противопожарный водопровод.
Количество огнетушителей определяется по формуле:
N = F>об> / F>н>, (6.8)
где F>об > площадь котельной, м2;
F>н > нормативная площадь на один огнетушитель, м2.
N = 216 / 50 = 4,32 шт.
Принимаем 5 огнетушителей типа ОУБ – 5.
В котельной устанавливаем два пожарных крана с длиной рукава 40 м.
Требуемое количество воды для тушения пожара определяем по формуле:
Q = 3,6 · q · t · n, (6.9)
где q расход воды, л/с;
t расчетная продолжительность пожара, ч;
n число одновременных пожаров, шт.
Q = 3,6 · 10 · 3· 2 = 216 м3.
Также в котельной устанавливаем закрытые ящики с песком емкостью 1 м3.
6.2.5 Расчет рассеивания вредных примесей и высоты дымовой трубы
Загрязнение воздушной среды котельными установками связано с выбросом в дымовую трубу токсичных газов SO>2>, SO>3> и мелко дисперсной золы. Кроме этого, при высоких температурах в ядре факела происходит частичное окисление азота с образованием окиси азота NO и NO>2>.
При неполном сгорании топлива в продуктах сгорания могут появиться оксид углерода, и даже метан CH>4>. Основным показателем, характеризующим загрязнение воздушной среды, является выброс вредностей в единицу времени.
Расчет рассеивания вредных примесей в атмосферу производится в соответствии с санитарными нормами СН 369 74 при неблагоприятных метеорологических условиях, а именно при опасной скорости ветра. Под опасной скоростью ветра понимается скорость, при которой концентрация вредных примесей на уровне обитания человека достигает максимальных значений.
В современных производственных и отопительных котельных дымовая труба служит не для создания тяги, а для отвода продуктов сгорания на определенную высоту, при которой обеспечивается рассеивание вредностей до допустимых санитарными нормами концентрации в зоне нахождения людей. За стандарт качества воздуха принимаются предельно допустимые концентрации (ПДК) различных токсичных веществ.
Минимальная высота дымовой трубы рассчитывается в следующей последовательности.
Определяется выброс оксидов азота, рассчитываемый по NO>2>:
M>NO2> = 0.034· β>1>· R · B · (1 q>и> /100) · (1 β>2> r) · β>3 , >(6.10)
где β>1 > поправочный коэффициент, учитывающий качество сжигаемого топлива, β>1 >= 0,85, [4];
R – коэффициент, характеризующий выход оксидов азота на 1т сжигаемого топлива;
B – расчетный часовой расход топлива, м3/ч;
β>2> – коэффициент, характеризующий эффективность возделывания рециркулирующих продуктов, β>2> = 0,02, [4];
β>3> – коэффициент, учитывающий концентрацию горелок, β>3> = 1, [4];
r – степень рециркуляции продуктов сгорания, r = 10, [4];
q>и >– потери теплоты от механической неполноты сгорания, q>и >= 0, [4].
R = 2,5 · Q>уст> / (20 + Q>уст>), (6.11)
где Q>уст> – установленная тепловая мощность котельной, МВт.
R = 2,5 · 14,6 / (20 + 14,6 ) = 0,95
M>NO>>2> = 0.034· 0,85· 0,95 · 2002 · (1 0 /100) · (1 0,02 ·10) · 1= 10,9 г/с.
Диаметр устья дымовой трубы определяется по формуле:
D>тр> = √ 4 · V>тр >/ (π · ω>вых>), (6.12)
где V>тр >– объемный расход продуктов сгорания через трубу, м3/с;
ω>вых >– скорость продуктов сгорания на выходе из дымовой трубы, м/с, [4].
D>тр> = √ 4 · 9,05> >/ (3,14 · 20) = 0,75 м.
По [4], принимается стандартный диаметр 1,2м.
Высота трубы определяется по формуле:
Н=√[А · (М>SO2 >+ (ПДК>SO2 >/ПДК>NO2>)· М>NO2>) / ПДК>SO2>] · √ Z/(V>тр>· ∆t), (6.13)
где М>SO>>2 >– выброс SO>2> не учитывается;
А – коэффициент, зависящий от метеорологических условий, [4];
Z – число труб;
∆t – разность температур выбрасываемых газов и средней температуры воздуха, [4].
Н = √ [120· ((0,05> >/ 0,85) · 10,9) / 0,05] · √ 1 / (9,05· 200) = 20,3 м.
Определяем высоту дымовой трубы во втором приближении.
Определяем коэффициенты f и V>м> по> >формулам:
f = (103 · ω>вых>2 · D>тр>)> >/ (Н2 · ∆t), (6.14)
f = (103 · 202 · 1,2)> >/ (20,32 · 200) = 5,82.
V>м> = 0,65· √ (V>тр>· ∆t) / Н, (6.15)
V>м> = 0,65· √ (9,05· 200) / 20,3 = 6,14.
По [4] определяем коэффициенты m и n: m =1,16; n =1.
Определяем минимальную высоту дымовой трубы во втором приближении:
Н>1> = Н √ m · n, (6.16)
Н>1> = 20,3 √ 1,16 · 1 = 21,3 м.
По [4],выбирается дымовая труба из кирпича диаметром 1,2 м, высотой 30 м.
7. Технико-экономические показатели
К системе технико-экономических показателей при проектировании котельной относятся суммарные и удельные капиталовложения, ежегодные издержки производства, себестоимость продукции.
Капитальные вложения – затраты на содержание основных фондов котельной. К ним относятся затраты на приобретение оборудования, строительно-монтажные и прочие капитальные затраты.
Ежегодные издержки производства учитывают затраты на топливо и электроэнергию, воду и вспомогательные материалы, заработную плату и отчисления на социальное страхование, амортизацию основных фондов, текущий ремонт и прочие расходы.
Основные статьи затрат:
Затраты на топливо. Учитываются затраты на все топливо, расходуемое котельной на производство тепла, включая расход топлива на пуск и наладку нового оборудования и на растопку котлоагрегатов; затраты на прием, хранение, обработку и транспортировку топлива.
Заработная плата с начислениями (основная и дополнительная эксплуатационного персонала, в том числе и ИТР и служащих) и отчисления на социальное страхование.
Затраты на амортизацию в процентах от стоимости основных фондов по «Нормам амортизационных отчислений по основным фондам народного хозяйства» по группе «Теплотехническое оборудование и котельные установки» с учетом вида топлива и фактического числа часов работы в году.
Затраты на текущий ремонт, для котельных закрытого типа составляют 20% амортизационных отчислений.
Прочие расходы – в основном общекотельные расходы.
Годовая выработка тепла котельной определяется по формуле:
Q>год>отн = 24 · Q>о>>.>>ср> · n>о> + 16 · Q>в>>.>>ср> · n>о> + Q>г>>.>>в>год + Q>п>год , (7.1)
где Q>о.ср> средне часовая выработка тепла на отопление за отопительный период, Гкал/год;
Q>в.ср > средне часовая выработка тепла на вентиляцию за отопительный период, Гкал/год;
Q>г.в>год – годовая выработка тепла на горячее водоснабжение, Гкал/год;
Q>п>год – годовая выработка тепла на производство пара, Гкал/год.
Q>о>>.>>ср> = Q>о> · (t>вн> – t>ср>>.>>о>) / ( t>вн> – t>о>>.>>р>), (7.2)
где Q>о> – отопительная нагрузка, Гкал/ч;
t>ср.о> – средняя температура наружного воздуха за отопительный пери
од,0С.
Q>о.ср> = 5,8 · (18 + 4,9) / ( 18 + 30) = 2,76 Гкал/ч.
Q>в.ср> = Q>в> · (t>вн> – t>ср.о>) / ( t>вн> – t>в.р>), (7.3)
где Q>в> – вентиляционная нагрузка, Гкал/ч;
Q>в.ср> = 3,6 · (18 + 4,9) / ( 18 + 17) = 2,4 Гкал/ч.
Годовая выработка тепла на горячее водоснабжение определяется по формуле:
Q>гв> = 24 · Q>гв>>.>>ср> · n>о> + 24 · Q'>гв>>.>>ср> · (365 – n>о>), (7.4)
где Q>гв.ср ,> Q'>гв.ср> – средне часовой расход тепла на горячее водоснабжение за отопительный период и за летний период соответственно, Гкал/ч;
n>о >–> >продолжительность отопительного периода, сут.
Q>гв> = 24 · 0,9 · 210 + 24 · 0,81 · (365 – 210) = 7549,2 Гкал/год.
Определяется годовой отпуск тепла на производство пара по формуле:
Q>п>год = Q>п> · τ, (7.5)
где τ – число часов использования пара в году, ч.
Q>п>год = 2,39 · 8760 = 20936,4 Гкал/год.
Q>год>отн = 24 · 2,76 · 210 + 16 · 2,4 · 210 + 7549,2 + 20936,4 = 50460 Гкал/год.
Эксплуатационные затраты котельной определяются по формуле:
S>кот> = S>т> + S>в> + S>э> + S>ам> + S>тр> + S>зп> + S>пр>, (7.6)
где S>т> – годовые затрата на топливо, руб;
S>в> – годовые затрата на использованную воду, руб;
S>э> – годовые затрата на электроэнергию, руб;
S>ам >– годовые амортизационные отчисления, руб;
S>тр >– расходы на текущий ремонт оборудования, руб;
S>зп> – годовые затрата на заработанную плату, руб;
S>пр> – прочие расходы, руб.
Годовые затраты на топливо определяются по формуле:
S>т> = В>год> · Ц>т, >(7.7)
где В>год> – годовой расход топлива, м3/год;
Ц>т> – цена топлива, руб/ м3.
В>год> = В>ч> · τ, (7.8)
где В>ч> – часовой расход топлива, м3/ч;
τ – число часов работы котельной в году, сут.
В>год> = (2002 · 5040) + (500,5 · 3720) = 11,9·106 м3/год.
S>т> = 11,9·106 · 0,467 = 6,64·106 руб/год.
Годовые затраты на использованную воду определяются по формуле:
S>в> = q>год> · Ц>т, >(7.9)
где q>год> – годовой расход воды, м3/год;
Ц>т> – цена 1 м3 воды, руб/ м3.
Годовой расход воды котельной определяется по формуле:
q>год> = q>ч> · V · τ, (7.10)
где q>ч >– часовой расход воды котельной, принимается равным 0,5 2% от объема системы, при закрытой системе теплоснабжения, м3/ч;
V – объем системы, 100 м3, [7].
q>год> = 0,02 · 100 · 8760 = 17520 м3/год.
S>в> = 17520 · 7,2 = 126144 руб/год.
Годовые затраты на электроэнергию определяются по формуле:
S>э> = Э>год> · Ц>э, >(7.11)
где Э>год> – годовой расход электроэнергии, кВт·ч /год;
Ц>т> – цена 1 кВт/ч электроэнергии, руб/ кВт·ч.
Годовой расход электроэнергии определяются по формуле:
Э>год >= N>уст >· τ, (7.12)
где N>уст> – установленная мощность токоприемников, N>уст> = 150 кВт, [7].
Э>год >= 150 · 8760 = 1314000 кВт·ч /год.
S>э> = 1314000· 0,69 = 906660 руб/год.
Капитальные затраты на сооружение котельной:
К>кот> = к · Q>ном> · n, (7.13)
где к – удельные капитальные вложения для ввода одного котлоагрегата, тыс/Гкал,[7];
Q>ном> номинальная мощность котлоагрегата, МВт;
n – количество котлоагрегатов, шт.
К>кот> = 390 · 4,87 · 4 = 7597200 руб.
Стоимость общестроительных работ и оборудования с мота жом определяется по формуле:
К>стр> = К>кот> · α>стр, >(7.14)
К>об> = К>кот> · α>об, >(7.15)
где α>стр> – доля стоимости общестроительных работ, α>стр> = 0,3, [12];
α>об> – доля стоимости оборудования с монтажом, α>об> = 0,7, [12].
К>стр> = 7597200 · 0,3 = 22791600 руб.> >
К>об> = 7597200 · 0,7> >= 53518040 руб.
Годовые амортизационные отчисления:
S>ам >= [(α>м>стр/100 · К>стр>) + (α>м>об/100 · К>об>)], (7.16)
где α>м>стр – средняя норма амортизации общестроительных работ,
α>м>стр = 3 %, [12];
α>м>об – средняя норма амортизации оборудования с монтажом,
α>м>об = 7,2 %, [12].
S>ам >= [(0,3/100 · 2279160) + (7,2/100 · 5318040)] = 451273,68 руб.
Затраты на текущий ремонт:
S>тр >= 0,2 · S>ам , >(7.17)
S>тр >= 0,2 · 451273,68 = 90254,7 руб.
Годовые затраты на заработанную плату определяем согласно штатного состава работающих. Результаты расчетов заносим в таблицу 12.
Таблица 12.
Расчет фонда заработной платы
|
Наименование профессии |
Количество по штату работающих, чел |
Заработная плата одного рабочего, руб/месяц |
Годовой фонд заработной платы с учетом выплаты премии, руб/год |
|
1.Мастер |
2 |
1800 |
64800 |
|
2. Оператор |
6 |
1300 |
140400 |
|
3. Оператор ХВО |
2 |
1300 |
46800 |
|
4.Слесарь |
2 |
1200 |
43200 |
|
5.Слесарь КиП |
2 |
1200 |
43200 |
|
6. Электросварщик |
1 |
1400 |
25200 |
|
Итого |
15 |
8200 |
363600 |
Прочие суммарные расходы принимаются в среднем 30% затрат на амортизацию, текущий ремонт, заработную плату,[12]:
S>пр> = 0,3· (S>ам> + S>тр> + S>зп>), (7.18)
S>пр> = 0,3· (451273,68 + 90254,7 + 363600) = 271538,5 руб.
S>кот> = 6,64·106 + 126144 + 906660 + 451273,68 + 90254,7 +
+ 363600 + 271538,5 = 7672804 руб.
Себестоимость тепловой энергии определяется по формуле:
S>т> = S>кот> / Q>год>отн, (7.19)
S>т> = 7672804 / 50460 = 152,1 руб/Гкал.
Годовой экономический эффект определяется по формуле:
Э = (S>тар> S>т>) · Q>год>отн, (7.20)
где S>тар> – тариф на покупную теплоэнергию, S>тар> = 214 руб/Гкал.
Э = (214 – 152,1) · 50460 = 3128520 руб.
Срок окупаемости капитальных вложений определяется по формуле:
Т = К>кот >/ Э, (7.21)
Т = 7597200 / 3128520 = 2,4 года.
Экономические показатели работы котельной заносятся в таблицу 13.
Таблица 13.
Экономические показатели проектируемой котельной
|
Показатели |
Проектируемая котельная |
|
1.Средне годовая выработка тепла, Гкал/год |
50460 |
|
2. Эксплуатационные затраты, руб |
7672804 |
|
3.Себистоимость тепловой энергии, руб/Гкал |
152,1 |
|
4.Годовой экономический эффект, руб |
3128520 |
|
5. Срок окупаемости капитальных вложений, лет |
2,4 |
Заключение
Рост тарифов на энергоноситель, с одной стороны, и необходимостью уменьшения себестоимости продукции за счет снижения доли затрат на энергоноситель, с другой стороны, привели к необходимости строительства на ОАО «САРЭКС» собственной котельной.
По результатам расчетов было принято к установке в котельной 4 котла Е 1–9 с номинальной паропроизводительностю 1,81 кг/с.
Приведенные расчеты показывают, что затраты на сооружение котельной окупятся за 2,4 года за счет разницы существующих тарифов и себестоимости вырабатываемой котельной теплоты. Себестоимость вырабатываемой теплоты по результатам расчетов составляет 152,1 руб/Гкал.
Список использованной литературы
Соколов Е.Я. Теплофикация и тепловые сети: Учебник для вузов. – 6 – е изд., перераб. –М.: Издательство МЭИ.,1999. – 472 с.: ил.
Левцев А.П., Ванин А.Г. Проектирование теплоснабжения предприятий: Учеб. пособие. – Саранск: Изд – во Морд. Ун–та, 2000. – 160 с.
Апарцев М.М. Наладка водяных систем централизованного теплоснабжения. Справочно – методическое пособие. – М: Энергоатомиздат,1983. – 204 с.: ил.
Эстеркин Р. И. Промышленные парогенерирующие установки, Ленинград: Энергия. 1980. – 400 с.: ил.
Справочная книга для проектирования электрического освещения. Под. Ред. Г.М. Кноргина. – Ленинград: Энергия, 1976. – 384 с.: ил.
Справочник эксплуатационника газовых котельных. Под. Ред. А.А. Машкова. – Ленинград: Изд – во Недра, 1976. – 528с.: ил.
Типовой проект 903 – 1 – 135.87
СНиП 2.04.07.86 тепловые сети.
Луковников А. В. Охрана труда. – 5. Изд., перераб. и доп. – М.: Колос,1984. – 288 с.: ил.
Теплотехнический справочник. Под общ.ред. В.Н. Юренева. В 2-х т.
Т. 2. Изд.2 – е. Перераб. М., Энергия, 1976.
СНиП 2.04.08 – 87 – газоснабжение.
Прузнер С.Л., Златопольский А.Н., Некрасов, А.М. Экономика энергетики СССР. М.: Высшая школа. 1984.
Чернухин А. А., Флаксерман Ю. Н. Экономика энергетики СССР. М.: Энергия. 1980.
Технико-экономическое обоснование дипломных проектов: Учеб. пособие для втузов / Л. А. Астерина, В. В. Балдесов, В. К. Бекаешов и др.; Под ред. В. К. Бекаешова - М., Высшая школа, 1991.- 176 с.