Основные сведения об электрооборудовании сельского хозяйства
КУРСОВАЯ РАБОТА
На тему:
«Общие вопросы эксплуатации электрооборудования. Основные сведения об электрооборудовании сельского хозяйства»
Белгород 2010
Теоретическая часть
Состояние находящегося в эксплуатации электрооборудования и электрических сетей оказывает существенное влияние на работоспособность всего технологического оборудования сельского хозяйства и коммунально-бытового оборудования. В процессе использования электроустановки подвергаются действию различных эксплуатационных факторов, в результате чего изнашиваются и стареют, что приводит к отказам. Это связано с появлением неисправностей, обусловленных отклонением от нормальных режимов использования оборудования, изменением условий эксплуатации либо неправильным выбором и монтажом. Задачей эксплуатации электрохозяйства является поддержание работоспособного состояния оборудования, недопущение простоев из-за неисправностей.
Под эксплуатацией понимают наблюдение за работой сетей и оборудования, межремонтное обслуживание и ремонт, т.е. это система организационных и технических мероприятий, направленных на поддержание оборудования в исправном состоянии. В соответствии с ГОСТ 18322–78* в процессе эксплуатации предусматриваются два вида профилактических мероприятий – техническое обслуживание и ремонт. Техническое обслуживание имеет несколько видов – регламентированное, с периодическим контролем и постоянным контролем. Состав работ по обслуживанию определяется видом оборудования и включает в себя контроль в процессе работы и в период остановок с целью прогнозирования технического состояния электрооборудования, проверку его работоспособности, регулирование или под настройку узлов, замену износившихся деталей. Иными словами, система технического обслуживания и ремонта представляет собой совокупность технических средств, документации и исполнителей, необходимых для выполнения всех этих работ. Осмотры и наблюдение позволяют определить общее состояние электроустановки, а также уточнить объем работ при очередном плановом ремонте. Периодичность и объем осмотров обслуживания и ремонта установлена «Системой планово-предупредительного ремонта и технического обслуживания электрооборудования сельскохозяйственных предприятий», а также «Правилами технической эксплуатации электроустановок потребителей», а для оборудования, не вошедшего в упомянутые документы, используются сведения и указания заводов-изготовителей. При профилактических испытаниях осуществляют контроль за эксплуатационной надежностью находящихся в эксплуатации электроустановок для своевременного обнаружения отклонения от нормы контролируемых параметров. К таким испытаниям, например, относятся измерения параметров заземляющих устройств, изоляции электрооборудования, сопротивлений устройств выравнивания потенциалов в животноводческих помещениях и т.п.
В процессе профилактики
и модернизации электроустановок
предусматривается текущий и капитальный
ремонт. При текущем ремонте выполняют
очистку, замену и ремонт быстро
изнашивающихся частей, а также регулировку
узлов и механизмов. Текущий ремонт
является основным видом ремонта и
производится на месте установки
оборудования с его остановкой и
отключением от электросети, но без
полной разборки. При капитальном ремонте,
наиболее полном и сложном, производится
полная разборка оборудования,
восстановление или замена изношенных
деталей и узлов, регулировка, наладка
и испытания в объеме требований ПТЭ
электроустановок потребителей или
заводских инструкций. В процессе
капитального ремонта может быть
осуществлена модернизация электроустановки,
под которой понимают ее изменение и
усовершенствование для приведения в
соответствие с современными требованиями,
например увеличение мощности,
производительности технологического
оборудования, надежности, экономичности
и долговечности. Модернизация выполняется
только после технико-экономической
оценки с учетом работоспособности
технологического оборудования. Для
различных видов электроустановок
устанавливаются необходимые периодичности
технического обслуживания и ремонта.
Периодичность может исчисляться днями,
месяцами. Для отдельных видов
электрооборудования существует
ежедневное техническое обслуживание.
Техническое
обслуживание выполняют на месте установки
электрооборудования. При подготовке
электрооборудования к хранению, а также
непосредственно после его окончания
обслуживание проводят, если период
хранения продолжается более 2 мес. В
сельском хозяйстве следует проводить
и сезонное техническое обслуживание
для подготовки электрооборудования к
использованию в осенне-зимний и
весенне-летний периоды, учитывая
неравномерность распределения объемов
работ по обслуживанию. В период массовой
проверки при больших объемах работ, как
правило, привлекаются специализированные
организации.
Текущий ремонт осуществляют
в электроремонтных цехах, в мастерских
колхозов и совхозов, а также на пунктах
технического обслуживания животноводческих
комплексов, станциях технического
обслуживания оборудования животноводческих
ферм, в инженерно-технических комплексах,
в ремонто-эксплуатационных пунктах
либо на месте установки электрооборудования.
Текущий ремонт выполняется в плановом
порядке по утвержденным графикам за
счет и по смете эксплуатационных
расходов.
Капитальный ремонт, как наиболее сложный, должен проводиться на специализированных электроремонтных предприятиях Минэнерго и Минэлектротехпрома.
Сельскому электрику необходимо эксплуатировать воздушные линии 0,4 кВ (BЛ 0,4 кВ), выполненные на типовых железобетонных и деревянных опорах, кабельные линии 0,4 кВ (KЛ 0,4 кВ), проложенные в земле, а также распределительные устройства напряжением до 1 кВ (РУ 0,4 кВ) трансформаторных подстанций 10/0,4 кВ, если они не переданы на баланс организаций Минэнерго, которые в этом случае их и обслуживают.


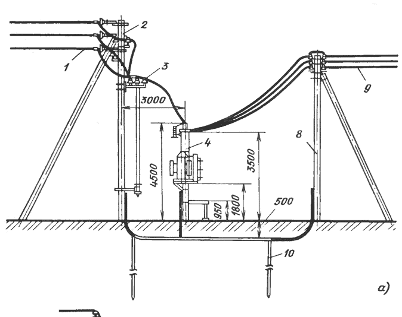
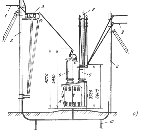
Рис. 1. Установка комплектных трансформаторных подстанций тупикового типа напряжением 10/0,4, кВ: а – КТП мощностью 25–160 кВ • А; б – КТПП мощностью 160–400 кВ – А; 1 – ВЛ 10 кВ; 2 – концевая опора 10 кВ; 3 – разъединитель; 4 – КТП; 5 – КТПП; 6 – портал ввода высокого напряжения; 7 – портал ввода низкого напряжения; 8 – опора 0,4 кВ; 9 – В Л 0,4 кВ; 10 – заземляющее устройство ниже 40°С и в других случаях, связанных с опасностью повреждений линии
РУ 0,4 кВ содержат панельные и шкафные щиты с рубильниками, предохранителями, автоматическими выключателями и измерительными приборами. Простейшая распространенная конструкция установки комплектной трансформаторной подстанции КТП-10/0,4 кВ показана на рис. 1. Подстанция устанавливается на специальном металлическом или железобетонном основании в зависимости от конструкций. Рядом с ней устанавливаются концевые опоры воздушных линий, а в траншее монтируется заземляющее устройство, к которому присоединяются трансформатор подстанции, распределительные устройства 10 и 0,4 кВ, металлические элементы опор и разъединителей, а также нулевой провод электросети низкого напряжения. На рис. 1 указаны также общие габаритные размеры подстанций и другие размеры, необходимые для установки остальных элементов.
Техническое обслуживание (осмотры) электрических сетей проводят, как правило, без отключения напряжения. При этом проверяют состояние трассы, убирают посторонние предметы, проверяют ее противопожарное состояние. Осматривают состояние проводов, чтобы не было обрывов, оправлений отдельных проволок или вспучивания верхнего повива проводов («фонарей»). Иней, подтаявший на месте соединения проводов, указывает на их нагрев – за такими местами необходимо тщательно следить. Ночью можно заметить свечение неисправных соединений или искрение по поверхности неисправных изоляторов. Необходимо убедиться в отсутствии на них сколов и ожогов, в нормальном положении на крюках. Далее проверяют провисание проводов, состояние разрядников, заземляющих спусков, прочность вязки бандажей. Внеплановые осмотры осуществляют после грозы, сильного ветра или обильного снегопада, при транспортировке вблизи линии непредусмотренных крупногабаритных грузов и механизмов, во время ледохода, половодья, пожаров вблизи линии, при гололеде или морозе ВКЛ 0,4 кВ требуется наблюдать за состоянием кабельных трасс, за состоянием выходов на стены и опоры, в проходы через стены, состоянием кабельных муфт, контролировать нагрузку, параметры окружающей среды при прохождении в воздухе, подключения и т.д.
РУ 0,4 кВ нуждаются в периодической очистке от пыли и грязи. Особое внимание уделяется контактным соединениям. Техническое обслуживание отдельных электроаппаратов, входящих в РУ 0,4 кВ, рассмотрено ниже. Во время осмотра подстанции обращается внимание на характер гудения трансформатора, отсутствие подтекания и выброса масла. Проверяется наличие предупредительных надписей и знаков, противопожарного инвентаря, целостность ограждений, замков и лестниц. Контактные соединения со следами перегрева или окисления разбирают, очищают, если нужно, смазывают и собирают вновь. Два раза в год, весной и осенью, окрашенные металлические поверхности шкафов и конструкций подстанции очищают от ржавчины и вновь окрашивают для защиты от коррозии. В процессе обслуживания и ремонта производятся установленные измерения и испытания, проверка вторичных цепей коммутации и световой сигнализации.
Все работы на токоведущих частях электроустановок или вблизи них выполняются в соответствии с правилами техники безопасности после выполнения организационных и технических мероприятий, обеспечивающих их безопасность.
Заземляющие устройства (ЗУ) занимают важное место в комплексе технических средств охраны труда и нормального функционирования электроустановок. Они обеспечивают электробезопасность людей и животных, надежность работы электрооборудования, молниезащиту линий электропередачи, трансформаторных подстанций, зданий и сооружений.
Заземляющие устройства представляют собой совокупность заземлителей и заземляющих проводников. К искусственным заземлителям относят специально закладываемые в землю, к естественным – находящиеся в земле и используемые для целей заземления. Заземляющие проводники предназначены для присоединения заземляемых элементов к заземлителям. Эти проводники выделяются из других, как специально предназначенные для заземления, кроме случаев, специально оговоренных в строительных нормах и правилах. Например, в качестве проводников могут быть использованы металлические конструкции зданий, арматура железобетонных строительных конструкций и фундаментов, металлические конструкции производственно-технологического назначения, стальные трубы электропроводок, алюминиевые оболочки кабелей, металлические кожухи, короба и лотки электропроводок, металлические стационарно проложенные трубопроводы любого назначения, кроме трубопроводов с горючими и взрывоопасными веществами, смесями и газами, а также канализации и отопления зданий и сооружений. Не допускается использовать в качестве заземляющих проводников несущие тросы тросовой электропроводки, металлические оболочки трубчатых проводов, металлорукава, броню и свинцовую оболочку кабелей. Заземлители, как правило, выполняют из металлических вертикальных электродов диаметром не менее 10 мм, соединенных между собой горизонтальным заземлителем из того же металла либо стальной полосой толщиной не менее 4 мм. Размеры ЗУ определяются из условия необходимого сопротивления току промышленной частоты по соответствующим расчетным формулам. Однако их можно быстро рассчитать так, как это описано в гл. 4. В отдельных случаях допускается использовать в качестве дополнительных заземлителей свинцовые оболочки кабелей, если их проложено не менее двух, причем заземлителями они становятся лишь через некоторое время после постепенного разрушения их джутовой оплетки. В ЗУ следует проверять надежность контактных соединений, ремонтировать поврежденные, производить периодические измерения сопротивлений. В тщательном уходе нуждаются заземляющие проводники и их присоединения к заземляемым элементам, болтовые соединения.
2. Расчетная часть
2.1 Исходные данные для расчета
Перечень электрооборудования
|
Шифр ЭО |
Наименование и техническая характеристика ЭО |
Ед. изм. |
Кол-во |
Среда |
Раб. часов |
Коэф. сез-ти |
|
A |
Шкаф силовой |
шт. |
4 |
4 |
24 |
1 |
|
B |
Щит осветительный на 6 групп |
шт |
4 |
4 |
24 |
1 |
|
C |
Пускатель магнитный до 25 А |
шт |
5 |
4 |
6 |
1 |
|
K |
Светильники с лампами накаливания |
шт |
60 |
4 |
6 |
1 |
|
N |
Провод АПВ 2,5 мм2 |
м |
430 |
4 |
24 |
1 |
|
O |
Кабель АВРГ – 4 х2,5мм2 |
м |
1190 |
4 |
24 |
1 |
|
Электродвигатели АИР, 3/1000 |
шт |
2 |
4 |
6 |
1 |
|
|
Электродвигатели АИР, 5,5/1000 |
шт |
4 |
4 |
6 |
1 |
|
|
Электродвигатели АИР, 11/1000 |
шт |
2 |
4 |
6 |
1 |
2.2 Расчет годовой производственной программы
2.2.1 Расчет объема работ по обслуживанию электрооборудования
Известны различные подходы при определении трудоемкости работ по ТО, ТР и КР электрооборудования. Первый из них основан на измерении объема работ в условных единицах электрооборудования (УЕЭ), [4, 5,6].
Во втором случае объем работ определяется непосредственно в единицах трудоемкости (в нормочасах) [4]. В третьем случае электрооборудование сначала переводят в условные единицы ремонта (УЕР), а затем по трудоемкости одной УЕР определяют трудоемкость отдельных видов работ (ТО, ТР, ЗС, КР) [5, 4].
В курсовой работе рекомендуется использовать первый метод для расчета общего числа персонала ЭТС и для выбора пунктов ТО и штата ИТР, а третий для определения затрат труда по видам технического обслуживания для каждого электрифицированного объекта хозяйства и определения численности электромонтеров в группах по видам работ (ТО, ТР, ЗС, КР) и для выборов пунктов ТО и ремонта электрооборудования. Расчет ведется в форме таблицы 3.
Электрооборудование для каждого электрифицированного объекта хозяйства определенное на основании журнала учета электрооборудования заносят в графу 1, а количество оборудования в каждой группе в графу 3.
В графы 4, 5, 6 заносят условное обозначение среды, в которой работает оборудование (см, таблицу 1), число часов работы в сутки и коэффициент сезонности (см. таблицу 2) соответственно.
Таблица 1. Условное обозначение среды в зависимости от места установки электрооборудования (ЭО)
|
Место установки ЭО |
Усл. обозначение среды |
Примерный перечень помещений |
|
Чистые сухие помещения с нормальной средой: относительная влажность помещения не превышает 60%; температура помещения не превышает 30 °С |
1 |
Конторы, клубы, подсобные помещения, отапливаемые склады, механические мастерские и др. |
|
Пыльные помещения: по условиям производства в воздухе содержится технологическая пыль |
2 |
Цеха по приготовлению дробленых кормов, деревообрабатывающие цеха, зерноочистительные пункты и др. |
|
Влажные помещения: относительная влажность выше 60%, но не превышает 75%. Сырые помещения и открытый воздух: относительная влажность превышает 78% |
3 |
Залы столовых, отапливаемые подвалы и овощехранилища, доильные и молочные залы, кормокухни, водокачки, неотапливаемые склады и др. |
|
Особо сырые помещения с химически активной средой: относительная влажность близка к 100%, длительное присутствие паров аммиака и др. газов в невзрывоопасных, но разъедающих изоляцию и токоведущие части ЭО концентрациях |
4 |
Коровники, телятники, свинарники и другие животноводческие помещения при отсутствии в них установок по созданию микроклимата |
Таблица 2. Коэффициент сезонности работы электрооборудования (ЭО)
|
Работа ЭО, мес./год |
1 |
2 |
3 |
4 |
5 |
6 |
|
Коэффициент сезонности |
0,08 |
0,17 |
0,25 |
0,33 |
0,42 |
0,50 |
|
Работа ЭО, мес./год |
7 |
8 |
9 |
10 |
11 |
12 |
|
Коэффициент сезонности |
0,58 |
0,66 |
0,75 |
0,83 |
0,92 |
1,00 |
Объем работ на единицу оборудования УЕЭ определяют по Приложению 1 и заносят в графу 7. При этом следует учесть, что в объем работ в УЕЭ силового оборудования входит также и объем работ по ТО и ТР аппаратуры управления и проводки, поэтому графы 7 и 9 расчетной таблицы 3 записываются только для силового оборудования.
Объем работ по каждой группе оборудования определяется путем перемножения данных, приведенных в графах 3 и 7. Общий объем работ по участку обслуживания определяется суммированием УЕЭ в графе 8.
Для определения физического количества ремонтов необходимо по данным таблицы 6 в зависимости от места установок и времени работы в сутки, определить годовое количество ТО, ТР, ЗС, КР на единицу оборудования и занести соответственно в графы 9, 10, 11, 12.
Если оборудование ставится на консервацию, необходимо к годовому количеству физических технических обслуживании по нормам (графа 9) добавить одно ТО (на консервацию).
Количество условных ремонтов в год (графы 17, 18, 19, 20) таблицы 3 определяют путем умножения годового количества физических ремонтов (графы 9, 10, 11, 12) на коэффициент перевода физических ремонтов по группам оборудования (графы 13, 14, 15, 16) на количество (графа 3) и на коэффициент сезонности (графа 6).
Общий годовой объем работ по ТО, ТР, ЗС, КР для участка обслуживания или хозяйства определяют в физических и условных ремонтах как сумма объемов работ по электрифицированным объектам (итоги граф 17, 18, 19, 20).
Таблица 3 Расчетная таблица с картой учета электрооборудования
|
Наименование и техническая характеристика Э0 |
Ед. изм. |
Кол-во |
Среда |
Раб. часов |
Коэф. сезонн |
Объем работ (УЕЭ) |
Физических ремонтов за год |
Коэф. перевода физических ремонтов в условные |
Условных ремонтов за год |
||||||||||
|
Ед. |
Общ. |
ТО |
ТР |
ЗС |
КР |
ТО |
ТР |
ЗС |
КР |
ТО |
ТР |
ЗС |
КР |
||||||
|
1 |
2 |
3 |
4 |
5 |
6 |
7 |
8 |
9 |
10 |
11 |
12 |
13 |
14 |
15 |
16 |
17 |
18 |
19 |
20^ |
|
БРИГАДА №1 |
|||||||||||||||||||
|
Объект |
|||||||||||||||||||
Таблица 4. Годовое количество технических обслуживании (ТО), текущих ремонтов (ТР), замен смазок (ЗС) и капитальных ремонтов (КР) электрооборудования в зависимости от места его установки и времени работы в сутки
|
Электротехническое оборудование и место его установки |
Время работы электротехнического оборудования |
|||||||||||
|
До 8 часов |
До 16 часов |
Более 16 часов |
||||||||||
|
ТО |
ТР |
ЗС |
КР |
ТО |
ТР |
ЗС |
КР |
ТО |
ТР |
ЗС |
КР |
|
|
1 |
2 |
3 |
4 |
5 |
6 |
7 |
8 |
9 |
10 |
11 |
12 |
13 |
|
Электродвигатели, сварочные трансформаторы, щиты, сборки, пускорегулирующая аппаратура и проч.: |
||||||||||||
|
-в сырых помещениях с выделением аммиака |
24 |
2 |
2 |
0,18 |
34 |
2 |
2 |
0,25 |
57 |
3 |
3 |
0,42 |
|
– во влажных и сырых помещениях и на открытом воздухе |
16 |
2 |
1 |
0,14 |
22 |
2 |
1 |
0,2 |
37 |
3 |
2 |
0,33 |
|
– в пыльных помещениях |
7 |
2 |
1 |
0,14 |
10 |
2 |
1 |
0,2 |
17 |
3 |
2 |
0,33 |
|
– в сухих помещениях с нормальной средой |
5 |
1 |
1 |
0,11 |
7 |
1 |
1 |
0,15 |
12 |
2 |
3 |
0,25 |
|
Электроводонагреватели электродные и котлы электродные паровые |
5 |
1 |
- |
0,3 |
5 |
1 |
- |
0,3 |
5 |
1 |
- |
0,3 |
|
Электроводонагреватели емкостные и проточные |
5 |
1 |
- |
0,2 |
5 |
1 |
- |
0,2 |
5 |
1 |
- |
0,2 |
|
Установки электрокалориферные |
5 |
1 |
- |
- |
5 |
1 |
- |
- |
5 |
1 |
- |
- |
|
Электропроводки, шитки, светильники: |
||||||||||||
|
– в сухих помещениях с нормальной средой |
2 |
- |
- |
2 |
- |
- |
- |
2 |
||||
|
– в сырых, пыльных, загазованных помещениях и на открытом воздухе |
4 |
- |
- |
- |
4 |
- |
- |
- |
4 |
- |
- |
|
|
Заземляющие магистрали |
4 |
- |
- |
0,07 |
4 |
- |
- |
0,07 |
4 |
- |
- |
0,07 |
|
Заземляющие устройства |
4 |
- |
- |
0,07 |
4 |
- |
- |
0,07 |
4 |
- |
0,07 |
|
|
Воздушные линии: |
||||||||||||
|
– на деревянных опорах |
3 |
1 |
- |
0,17 |
3 |
1 |
- |
0,17 |
3 |
1 |
- |
0,17 |
|
– на металлических и ж/б опорах |
3 |
1 |
- |
0,11 |
3 |
1 |
- |
0,11 |
3 |
1 |
- |
0,11 |
|
Кабельные линии |
3 |
1 |
- |
0,08 |
3 |
1 |
- |
0,08 |
3 |
1 |
- |
0,08 |
|
Распределительные устройства подстанций |
3 |
1 |
- |
0,33 |
3 |
1 |
- |
0,33 |
3 |
1 |
- |
0,33 |
|
Силовые трансформаторы подстанций |
2 |
0,33 |
- |
0,14 |
2 |
0,33 |
- |
0,14 |
2 |
0.33 |
- |
0,14 |
Таблица А. Перечень электрооборудования
|
Шифр оборудования |
Наименование и техническая характеристика Э0 |
Ед. изм. |
Кол-во |
|
A |
Шкаф силовой |
шт. |
4 |
|
B |
Щит осветительный на 6 групп |
шт |
4 |
|
C |
Пускатель магнитный до 25 А |
шт |
5 |
|
K |
Светильники с лампами накаливания |
шт |
60 |
|
N |
Провод АПВ 2,5 мм2 |
м |
430 |
|
O |
Кабель АВРГ – 4 х2,5мм2 |
м |
1190 |
|
Электродвигатели АИР, 3/1000 |
шт |
2 |
|
|
Электродвигатели АИР, 5,5/1000 |
шт |
4 |
|
|
Электродвигатели АИР, 11/1000 |
шт |
2 |
Далее с учетом среды размещения (таблица 1), коэффициента сезонности (таблица 2), времени работы оборудования (определяем самостоятельно), и объема работ на единицу оборудования (приложение 1) определяем объем условных единиц электрооборудования. Заполняем таблицу В.
Таблица В
|
Наименование и техническая характеристика Э0 |
Ед. изм. |
Кол-во |
Среда |
Раб. часов |
Коэф. сезонн |
Объем работ (УЕЭ) |
||
|
Ед. |
Общ. |
|||||||
|
1 |
2 |
3 |
4 |
5 |
6 |
7 |
8 |
|
|
A |
Шкаф силовой |
шт |
4 |
4 |
24 |
1 |
||
|
B |
Щит осветительный на 6 групп |
шт |
4 |
4 |
24 |
1 |
||
|
C |
Пускатель магнитный до 25 А |
шт |
5 |
4 |
6 |
1 |
0 |
|
|
K |
Светильники с лампами накаливания |
шт |
60 |
4 |
6 |
1 |
0,14 |
8,4 |
|
N |
Провод АПВ 2,5 мм2 |
м |
430 |
4 |
24 |
1 |
0 |
|
|
O |
Кабель АВРГ – 4 х2,5мм2 |
м |
1190 |
4 |
24 |
1 |
0 |
|
|
Электродвигатели АИР, 3/1000 |
шт |
2 |
4 |
6 |
1 |
1,28 |
2,56 |
|
|
Электродвигатели АИР, 5,5/1000 |
шт |
4 |
4 |
6 |
1 |
1,28 |
5,12 |
|
|
Электродвигатели АИР, 11/1000 |
шт |
2 |
4 |
6 |
1 |
1,55 |
3,1 |
|
|
ВСЕГО |
19,18 |
При расчете объема работ для светильников и следует учитывать коэффициенты пересчета с учетом количества светильников.
Пример 1. Переводной коэффициент по приложению 1 для светильников с лампами накаливания в сырых и пыльных помещениях составляет 0,91 для 10 светильников. Общее количество светильников по заданию 14. Тогда общий объем работ (УЕЭ) по данной позиции составит: 0,91 х 14/10 = 1,27.
При расчете единицы объема работ для электродвигателей следует учитывать время работы электродвигателя в сутки. В приложении 1 данные по электродвигателям приведены для времени работы от 6 до 10 ч. Если двигатель работает менее 6 ч – УЕЭ умножаются на 0,85, если более 10 ч – УЕЭ умножаются на 1,20.
Пример 2. Переводной коэффициент для электродвигатели А02, 3,0/1000 в сырых и пыльных помещениях по приложению 1 составляет 0,92. По заданию электродвигатель работает 6 ч. Тогда единица измерения объема работ: 0,92 х 1,0 = 0,92. Если бы время работы электродвигателя было бы менее 6 ч, то для единицы измерения получили бы: 0,92 х 0,85 = 0,78. В этом случае общий объем работ (УЕЭ) для 3-х электродвигателей составил бы: для 6 ч работы – 3 х 0,92 = 2,76; менее 6 ч работы – 3 х 0,78 = 2,34.
Далее в соответствии нормативами определяем годовое количество технических обслуживании (ТО), текущих ремонтов (ТР), замен смазок (ЗС) и капитальных ремонтов (КР) электрооборудования в зависимости от места его установки и времени работы в сутки. Заполняем таблицу С.
Таблица С
|
Наименование и техническая характеристика Э0 |
Ед. изм. |
Кол-во |
Среда |
Раб. часов |
Коэф. сезонн |
Физических ремонтов за год |
||||
|
ТО |
ТР |
ЗС |
КР |
|||||||
|
1 |
2 |
3 |
4 |
5 |
6 |
9 |
10 |
11 |
12 |
|
|
A |
Шкаф силовой |
шт |
4 |
4 |
24 |
1 |
57 |
3 |
3 |
0,25 |
|
B |
Щит осветительный на 6 групп |
шт |
4 |
4 |
24 |
1 |
4 |
- |
- |
- |
|
C |
Пускатель магнитный до 25 А |
шт |
5 |
4 |
6 |
1 |
24 |
2 |
2 |
0,18 |
|
K |
Светильники с лампами накаливания |
шт |
60 |
4 |
6 |
1 |
4 |
- |
- |
- |
|
N |
Провод АПВ 2,5 мм2 |
м |
430 |
4 |
24 |
1 |
4 |
- |
- |
- |
|
O |
Кабель АВРГ – 4 х2,5мм2 |
м |
1190 |
4 |
24 |
1 |
4 |
- |
- |
- |
|
Электродвигатели АИР, 3/1000 |
шт |
2 |
4 |
6 |
1 |
24 |
2 |
2 |
0,18 |
|
|
Электродвигатели АИР, 5,5/1000 |
шт |
4 |
4 |
6 |
1 |
24 |
2 |
2 |
0,18 |
|
|
Электродвигатели АИР, 11/1000 |
шт |
2 |
4 |
6 |
1 |
24 |
2 |
2 |
0,18 |
|
|
ВСЕГО |
169 |
11 |
11 |
0,97 |
Далее в соответствии с таблицей коэффициентов перевода физических ремонтов определяем количество условных ремонтов в год. Заполняем таблицу D.
При расчете условных ремонтов за год (ТО, ТР, ЗС и КР) по приложению 2 для светильников следует учитывать коэффициенты пересчета с учетом количества светильников.
Пример 3. Коэффициент перевода для ТО по приложению 2 для светильников с лампами накаливания в сырых и пыльных помещениях составляет 0,52 для 10 светильников. Общее количество светильников по заданию – 14, физических ремонтов по ТО – 4. Тогда общий объем условных ремонтов ТО по данной позиции составит: 4 х 0,52 х 14/10 = 2,91.
При расчете коэффициентов пересчета для электродвигателей следует учитывать, что приведенные в приложении 2 данные соответствуют частоте вращения двигателя 1500 об/мин.
Для других частот вращения электродвигателей вводятся следующие поправочные коэффициенты: при частоте вращения, об/мин: 3000 – 0,8; 1000 – 1,1; 750 -1,2; 600 -1,4; 500 и ниже – 1,5.
Пример 4. Коэффициент перевода по ТО для электродвигателей мощностью 3 кВт приложению 2 составляет – 0,80. По заданию электродвигатель А02, 3,0/1000 имеет частоту вращения 1000 об/мин. Тогда коэффициент перевода для данного двигателя составит: 0,80 х 1,1 = 0,88. Общий объем условных ремонтов по ТО для 3-х двигателей с объемом физических ремонтов – 16 будет равен: 3 х 16 х 0,88 = 42,24.
При определении условных ремонтов по электропроводам следует учитывать, что переводные коэффициенты в приложении 2 приведены на 1 км или на 100 м кабелей или проводов. В этом случае необходимо учитывать их общую длину.
Пример 5. По заданию в состав электрооборудования входит Кабель АВРГ-4 х 2,5мм2, длинна которого составляет 2755 м. Коэффициент перевода по ТО составляет 1,00 на 100 м кабеля. Тогда количество условных ремонтов по ТО при 4-х физических за год будет равно: 4 х 1,00 х 2755/100 = 110,2
Таблица D
|
Наименование и техническая характеристика Э0 |
Ед. изм. |
Кол-во |
Физических ремонтов за год |
Коэф. перевода физических ремонтов в условные |
Условных ремонтов за год |
|||||||||
|
ТО |
ТР |
ЗС |
КР |
ТО |
ТР |
ЗС |
КР |
ТО |
ТР |
ЗС |
КР |
|||
|
1 |
2 |
3 |
9 |
10 |
11 |
12 |
13 |
14 |
15 |
16 |
17 |
18 |
19 |
20 |
|
Шкаф силовой |
шт. |
4 |
57 |
3 |
3 |
0,25 |
2,8 |
2,8 |
2,92 |
0 |
638,4 |
33,6 |
35,04 |
0 |
|
Щит осветительный на 6 групп |
шт |
4 |
4 |
- |
- |
- |
1,2 |
1,2 |
0 |
0 |
19,2 |
0 |
0 |
0 |
|
Пускатель магнитный до 25 А |
шт |
5 |
24 |
2 |
2 |
0,18 |
0,4 |
0,4 |
0,25 |
0 |
48 |
4 |
2,5 |
0 |
|
Светильники с лампами накаливания |
шт |
60 |
4 |
- |
- |
- |
0,52 |
0,52 |
0 |
0 |
12,48 |
0 |
0 |
0 |
|
Провод АПВ 2,5 мм2 |
м |
430 |
4 |
- |
- |
- |
1,2 |
1,2 |
0 |
0 |
5,76 |
0 |
0 |
0 |
|
Кабель АВРГ – 4 х2,5мм2 |
м |
1190 |
4 |
- |
- |
- |
1,0 |
1 |
0 |
0 |
11,9 |
0 |
0 |
0 |
|
Электродвигатели АИР, 3/1000 |
шт |
2 |
24 |
2 |
2 |
0,18 |
0,88 |
0,88 |
0,99 |
0,88 |
42,24 |
3,52 |
3,96 |
0,32 |
|
Электродвигатели АИР, 5,5/1000 |
шт |
4 |
24 |
2 |
2 |
0,18 |
1,1 |
1,1 |
1,1 |
1,1 |
105,6 |
8,8 |
8,8 |
0,79 |
|
Электродвигатели АИР, 11/1000 |
шт |
2 |
24 |
2 |
2 |
0,18 |
1,54 |
1,54 |
1,375 |
2,52 |
73,92 |
6,16 |
5,5 |
0,91 |
|
ВСЕГО |
957,5 |
56,08 |
55,8 |
2,02 |
2.2.2 Расчет затрат труда на техническое обслуживание
К плановым мероприятиям относятся технические обслуживания, текущие ремонты, замены, смазки, капитальные ремонты,
К неплановым мероприятиям относятся оперативное (дежурное) техническое обслуживание, выполненное оперативным персоналом.
Годовые затраты для каждого вида работ определяются путем умножения трудоемкости условной единицы ремонта (см. таблицу 5) на количество условных ремонтов соответствующего вида работ.
Таблица 5. Норматив трудоемкости на 1 условную единицу ремонта, чел.-час
|
Виды работ |
Норматив трудоемкости, чел.-час |
|
Техническое обслуживание |
0,50 |
|
Текущий ремонт |
4,80 |
|
Замена смазки |
0,25 |
|
Капитальный ремонт |
12,5 |
Результаты расчета удобно свести в таблицу 6.
Таблица 6. Расчет затрат труда
|
Объекты хозяйства |
Количество услов. ремонтов в год, шт. |
Затраты труда на проведение видов работ, чел. – час |
|||||||
|
ТО |
ТР |
ЗС |
КР |
ТО |
ТР |
ЗС |
КР |
ДО |
|
|
1 |
2 |
3 |
4 |
5 |
6 |
7 |
8 |
9 |
10 |
|
Бригада №1 |
|||||||||
|
Объект |
Для удобства составления графиков текущих и капитальных ремонтов, а также графиков ТО, следует определить затраты труда по отдельным объектам хозяйства, а не в целом по хозяйству.
В графу 1 заносят объекты хозяйства из таблицы 3. Из этой же таблицы (графы 18, 19, 20, 21) заполняют графы 2, 3, 4, 5 соответственно.
Затраты труда на проведение видов работ (графа 6, 7, 8, 9) получают путем умножения трудоемкости вида работ (см. таблицу 5) на количество условных ремонтов в год на данном объекте (графы 2, 3, 4, 5).
Затраты труда на проведение оперативного (дежурного) обслуживания можно определить по формуле:

где К>д> – коэффициент долевого участия и затрат труда на дежурное обслуживание, К>д> =0,15; Зто, З>ТР>, Ззс – затраты труда на выполнение ТО, ТР и ЗС, чел.-час.
Для нашего варианта №4 исходными данными для расчетов является таблица D.
Результаты расчетов сводим в таблицу Е.
Таблица Е. Расчет затрат труда
|
Объекты хозяйства |
Количество услов. ремонтов в год, шт. |
Затраты труда на проведение видов работ, чел. – час |
|||||||
|
ТО |
ТР |
ЗС |
КР |
ТО |
ТР |
ЗС |
КР |
ДО |
|
|
1 |
2 |
3 |
4 |
5 |
6 |
7 |
8 |
9 |
10 |
|
Шкаф силовой |
638,4 |
33,6 |
35,04 |
0 |
319,20 |
161,28 |
8,76 |
0,00 |
106,06 |
|
Щит осветительный на 6 групп |
19,2 |
0 |
0 |
0 |
9,60 |
0,00 |
0,00 |
0,00 |
2,88 |
|
Пускатель магнитный до 25 А |
48 |
4 |
2,5 |
0 |
24,00 |
19,20 |
0,63 |
0,00 |
8,18 |
|
Светильники с лампами накаливания |
12,48 |
0 |
0 |
0 |
6,24 |
0,00 |
0,00 |
0,00 |
1,87 |
|
Провод АПВ 2,5 мм2 |
5,76 |
0 |
0 |
0 |
2,88 |
0,00 |
0,00 |
0,00 |
0,86 |
|
Кабель АВРГ – 4 х2,5мм2 |
11,9 |
0 |
0 |
0 |
5,95 |
0,00 |
0,00 |
0,00 |
1,79 |
|
Электродвигатели АИР, 3/1000 |
42,24 |
3,52 |
3,96 |
0,32 |
21,12 |
16,90 |
0,99 |
4,00 |
7,46 |
|
Электродвигатели АИР, 5,5/1000 |
105,6 |
8,8 |
8,8 |
0,79 |
52,80 |
42,24 |
2,20 |
9,88 |
18,48 |
|
Электродвигатели АИР, 11/1000 |
73,92 |
6,16 |
5,5 |
0,91 |
36,96 |
29,57 |
1,38 |
11,38 |
12,84 |
|
ВСЕГО |
957,5 |
56,08 |
55,8 |
2,02 |
478,75 |
269,18 |
13,95 |
25,25 |
160,41 |
2.3 Расчет численности персонала ЭТС и распределение его по подразделениям
Количество персонала в группах обслуживания и ремонта определяется по формуле [5, 7]:

где N>х> – количество персонала в группе; 3, – годовые затраты труда на выполнение i-го вида работ, чел.-час.; Ф>q> – фонд рабочего времени.
Фонд рабочего времени согласно рекомендаций Министерства труда и социального развития можно найти следующим образом:
1. При пятидневной рабочей неделе с двумя выходными днями в году определяется количество рабочих дней:

где d>p> – количество рабочих дней в году; d>K> – количество календарных дней в году; d>H> – количество недель в году, d>H> – 52; d>п> – количество праздничных дней в году.
2. Действительный фонд рабочего времени может быть определен по формуле:

где d>0> – количество отпускных дней в году согласно КЗОТ, d>0> = 20; t – средняя продолжительность рабочей смены, t – 8 ч; n – число часов, на которое укорочен предпраздничный день (обычно n = 1 ч); d>пп> – количество предпраздничных дней в году, d>пп> – 8; η>р> – коэффициент, учитывающий потери времени по уважительным причинам, η>р> = 0,95… 0,96.
Число электромонтеров в группе дежурного обслуживания может быть определено из следующего выражения:

где K>q> – коэффициент, учитывающий затраты труда на дежурное обслуживание, K>q> – 0,15.
Зная численность электромонтеров по видам работ можно определить среднегодовое число электромонтеров:

Для учета различных способностей, опыта и квалификации электромонтеров можно рассчитать гарантированное число электромонтеров, обеспечивающих выполнение максимально возможного объема работ при наихудших условиях. Для этого можно воспользоваться выражением, приведенным в [6]:

где N – среднегодовое число электромонтеров; ρ – оценка доверительного интервала изменения случайных величин, ρ – 1…3; К>а> – коэффициент вариации объема работ исполнителей, К>а> = 0,05…0,10; К>п> – коэффициент вариации производительности исполнителей, К>п> = 0,07…0,15. Значения К>а> и К>п >определяются по результатам обследования ЭТС.
В приближенных расчетах для определения аргументов К>а >и К>п> часто используют формулы для нормального распределения случайных величин:

где f>max>, f>min>, f – наибольшие, наименьшие и средние трудозатраты на ТО (ТР) однотипных электродвигателей одним и тем же исполнителем; τ>max>, τ>min>, τ – наибольший, наименьший и средний расход времени различными исполнителями на ТО (ТР) однотипных электродвигателей.
Окончательное решение о количестве электромонтеров принимают при обосновании структуры ЭТС и оно должно находиться в пределах от N до N>Г>.
Должности руководителей ЭТС определяют согласно данным, приведенным в таблице 7 [4, 5, 6, 7]. Для того, чтобы учесть разъездной характер труда и ненормированный рабочий день ИТР и руководителя ЭТС необходимо количество УЕЭ в хозяйстве увеличить на 15%.
Таблица 7. Должности руководителей ЭТС
|
Должность руководителя ЭТС |
Нормативы для введения должности |
|
1. Главный энергетик |
1 на хозяйство, имеющее электроустановок не более чем 1500 УЕЭ и потребляющее более 1,5 млн. кВт-ч эл. энергии на производственные цели |
|
2. Старший инженер-энергетик на правах главного |
1 на хозяйство, имеющее электроустановок от 1001 до 1500 УЕЭ и потребляющее более 1,0 млн. кВт-ч эл. энергии на производственные цели |
|
3. Старший инженер-энергетик |
1 на хозяйство, имеющее электроустановок от 500 до 1000 УЕЭ и потребляющее менее 1,0 млн. кВт-ч зл. энергии на производственные цели |
|
4. Инженер-электрик |
1 на хозяйство, имеющее электроустановок от 251 до 500 УЕЭ и потребляющее менее 0,5 млн. кВт-ч эл. энергии на производственные цели |
|
5. Старший техник-электрик |
1 на хозяйство, имеющее электроустановок от 101 до 250 УЕЭ и потребляющее менее 0,5 млн. кВт-ч эл. энергии на производственные цели |
Количество ИТР определяют на основании нормативов, приведенных в таблице 8 [4, 5, 6, 7].
Таблица 8. Нормативы для определения количества ИТР
|
Должность ИТР |
Нормативы для введения должности |
|
1. Инженер-электрик |
1 должность на каждые 1100 УЕЭ |
|
2. Старший техник-электрик |
1 должность на каждые 650 УЕЭ |
Таблица 9. Рекомендуемая численность ИТР ЭТС
|
Трудоемкость обслуживания в УЕЭ |
Инженерно-технические работники, чел. |
|||
|
Всего |
Ведущие инженеры |
Инженеры |
Техники |
|
|
До 750 |
1 |
- |
_ |
1 |
|
751…1250 |
1 |
- |
1 |
- |
|
1251…1750 |
2 |
- |
1 |
1 |
|
1751…2500 |
2 |
1 |
1 |
- |
|
2501…3250 |
3 |
1 |
1 |
1 |
|
3251…3500 |
3 |
1 |
2 |
- |
|
3501… 4500 |
4 |
1 |
2 |
1 |
|
4501…5000 |
4 |
2 |
2 |
- |
|
5001… 6000 |
5 |
2 |
2 |
1 |
2.3.1 Расчет численности персонала ЭТС и распределение его по подразделениям
1). Согласно изложенному в п. 2.3 принимаем пятидневную рабочую неделю с двумя выходными днями в году и определяем количество рабочих дней:

2). Действительный фонд рабочего времени может быть определяем по формуле:

Фd = ((251 – 20) 8 – 8) 0,95 = 1748 ч.
3). Определяем количество персонала в группах обслуживания и ремонта по формуле [5, 7]:

Nх =(478,75+269,18+13,95)/ 1748 = 0,44 чел.
Определяем число электромонтеров в группе дежурного обслуживания
Nq = 0,44 х 0,15 = 0,07 чел.
Среднегодовое число электромонтеров
N = Nх + Nq = 0,51 чел.
Гарантированное число электромонтеров определяем по формуле:

Nг = 0,51 (1+3х0,10) (1+3х0,15) = 0,96 чел.
Таким образом, для обслуживания достаточно 1 электромонтера.
В связи с тем, что общий объем электрооборудования в УЕЭ составляет (таблица В) 19,18 единиц, то достаточно техника-электрика.
2.4 Выбор формы и структуры ЭТС
В предприятиях АПК применяют хозяйственную, специализированную и комплексную форму технической эксплуатации электрооборудования.
Методы обоснования формы ЭТС различают по числу учитываемых факторов.
По первому методу учитывают только объем производственной программы. Он заключается в сопоставлении ранее рассчитанного объема работ ЭТС с данными, приведенными в таблице 10 и выбора по ней рекомендуемой формы ЭТС.
Таблица 10. Рекомендуемая форма ЭТС
|
№ |
Объем работ в УЕЭ |
Форма обслуживания |
|
1 |
менее 300 |
Комплексная |
|
2 |
от 300 до 800 |
Специализированная |
|
3 |
свыше 800 |
Хозяйственная |
По второму методу учитывается не только объем работ, но и обеспеченность службы электромонтерами N* а также удаленность хозяйства от районного центра,
Для выбора формы ЭТС используют номограмму приведенную на рис. 1 [6].

Рис. 1. Номограмма для определения формы ЭТС
На оси ординат откладывают объем работ ЭТС и из точки О проводят линию до пересечения с лучом N*, соответствующим обеспеченности хозяйства электромонтерами.
Из полученной точки А проводим линию AF, параллельную оси ординат. Затем линию QA продолжают влево до точки пересечения кривой, соответствующей расстоянию от хозяйства до районного центра.
Точку В переносят как показано на рисунке и проходят точку F, которая определяет зону искомой формы ЭТС.
При хозяйственной форме обслуживания весь комплекс работ пo TO и ТР электротехнического оборудования выполняется энергетической службой хозяйства. Для выполнения КР, проведение контрольных измерительных испытаний и пусконаладочных работ сложных установок привлекаются другие организации.
При специализированной форме обслуживания хозяйство передает привлекаемой организации на полное техническое обслуживание и ремонт отдельные объекты или виды работ (текущий, капитальный ремонты или пускоиаладочные работы).
При комплексном обслуживании все работы по ТО, Т.Р, КР электрооборудования в хозяйстве выполняются привлекаемой организацией.
Правильный выбор формы ЭТС проверяют по следующим признакам рационального построения ЭТС.
1, Хозяйственная форма ЭТС оправдана при достаточно большом объеме работ по эксплуатации электрооборудования в хозяйстве и хорошей его обеспеченностью трудовыми и материальными ресурсами, а также при значительном удалении хозяйства от районного центра.
2. Специализированная и комплексная формы ЭТС облегчают концентрацию усилий на наиболее важных в данный момент участках, оправданы при дефиците тех или иных ресурсов. Кроме того они позволяют более полно и интенсивно использовать ремонтно-обслуживающую базу. Но эти достоинства реализуются лишь при хорошей диспетчерской службе и надежной транспортной связи с хозяйствами.
Постоянный рост объемов работ по технической эксплуатации электрооборудования и развитию ремонтно-обслуживающей базы ЭТС, непрерывное увеличение уровня электрификации и автоматизации АПК в условиях кооперации и специализации производства усложняет функции управления ЭТС.
Поэтому важно выбрать наиболее рациональную структуру ЭТС, Организационная структура характеризует состав и взаимодействие подразделений службы при выполнении производственной программы. ЭТС может иметь: функциональную, территориальную или комбинированную (гибкую) структуры.
В ее основе лежит распределение исполнителей и материально-технических ресурсов по видам выполняемых работ. Для этого создаются специализированные бригады, группы, которые выполняют только свои виды работ на всех объектах.

Рис. 2. Функциональная структура ЭТС
Территориальная структура ЭТС приведена на рис. 3. В ее основе лежит распределение исполнителей по объемам хозяйства (отделениям, бригадам, фермам). При этом выделенные группы исполнителей осуществляют все эксплуатационные работы, но только на своих участках.
Гибкая структура ЭТС предполагает возможность ее перестройки в течении года в зависимости от номенклатуры и объекта работ, приходящихся на тот или иной сезон.
Правильное обоснование структуры ЭТС заключается в том, что результаты обследования и расчетов сравнивают с известными преимуществами и недостатками той или иной структуры. Достоинства и недостатки функциональной структуры ЭТС заключаются в следующем:
а) наиболее полно используется индивидуальное мастерство исполнителей;
б) снижается потребность в кадрах высокой квалификации;
в) уменьшается использование дорогостоящих технических средств и зданий;
г) возрастает потребность в транспортных и передвижных средствах;
д) увеличиваются потери времени на переезды, от 10% при радиусе обслуживания 5 км, до 25% при радиусе обслуживания 15 км.
е) снижается ответственность исполнителей за состояние и использование электрооборудования.

Рис. 3. Территориальная структура ЭТС
Достоинства и недостатки территориальной структуры заключаются в следующем:
а) повышается оперативность обслуживания и устранения отказов;
б) не всегда удается добиться равномерной загрузки исполнителей и технических средств;
в) каждый электромонтер должен иметь высокую квалификацию.
Нужды хозяйства наиболее полно удовлетворяет гибкая структура ЭТС. Это объясняется тем, что состав и роль факторов, влияющих на выбор рациональной структуры, существенно зависит от сезона сельскохозяйственных работ.
Например, в период подготовки ферм к зимовке скота ЭТС имеет функциональную структуру, а в период зимовки территориальную структуру. Возможны и другие перестройки службы в зависимости от годовой программы и графика ТР. Обоснование структуры ЭТС выполняется графическим методом по номограмме, приведенной на рис. 4 [5].

Рис. 4. Номограмма для выбора структуры ЭТС
На оси ординат откладываем число электромонтеров N и через эту точку проводим линию АВ. Из точки В проводят линию до пересечения с лучом среднего коэффициента занятости, а затем перпендикулярно CD к ординате. Точка пересечения линий AD и CD определяет рациональную структуру ЭТС.
Средний коэффициент занятости можно рассчитать при помощи следующего выражения:

где h>j> – число электрифицированных объектов (коровников зернотоков и т.д.); m>j> – число месяцев использования в году.
В рассмотренном нами варианте «Здание на 500 голов молодняка КРС» количество УЕЭ составляет 19,18 единиц. Следовательно, в данном случае подходит комплексная форма ЭТС с территориальной структурой.
Заключение
Под эксплуатацией понимают наблюдение за работой сетей и оборудования, межремонтное обслуживание и ремонт, т.е. это система организационных и технических мероприятий, направленных на поддержание оборудования в исправном состоянии. В соответствии с ГОСТ 18322–78* в процессе эксплуатации предусматриваются два вида профилактических мероприятий – техническое обслуживание и ремонт. Техническое обслуживание имеет несколько видов – регламентированное, с периодическим контролем и постоянным контролем.
В процессе профилактики и модернизации электроустановок предусматривается текущий и капитальный ремонт. При текущем ремонте выполняют очистку, замену и ремонт быстро изнашивающихся частей, а также регулировку узлов и механизмов. Текущий ремонт является основным видом ремонта и производится на месте установки оборудования с его остановкой и отключением от электросети, но без полной разборки. При капитальном ремонте, наиболее полном и сложном, производится полная разборка оборудования, восстановление или замена изношенных деталей и узлов, регулировка, наладка и испытания в объеме требований ПТЭ электроустановок потребителей или заводских инструкций. В процессе капитального ремонта может быть осуществлена модернизация электроустановки, под которой понимают ее изменение и усовершенствование для приведения в соответствие с современными требованиями, например увеличение мощности, производительности технологического оборудования, надежности, экономичности и долговечности.
Проведенные расчеты годовой производственной программы и численности персонала для обслуживания «Здание на 500 голов молодняка КРС» показали, что объем работ (УЕЭ) составляет 19,18 единиц, для обслуживания достаточно техника-электрика, подходит комплексная форма ЭТС с территориальной структурой.
Литература
1. БудзкоИ. А., Левин М.С. Электроснабжение сельскохозяйственных предприятий и населенных пунктов. - М.: ВО «Агропромиздат», 1985.
2. Ганелин А.М. Экономия электроэнергии в сельском хозяйстве. – М.: Колос, 1983.
3. Ерошенко Г.П., Пястолов А.А. Курсовое и дипломное проектирование по эксплуатации электрооборудования. – М.: ВО «Агропромиздат», 1988.
4. Ерошенко Г.П. Эксплуатационные свойства электрооборудования. – Саратов: Издательство СГУ, 1984.
5. Киртбая Ю.К. Резервы в использовании машинно-тракторного парка. – М.: Колос, 1982.
6. Нормы испытания электрооборудования и аппаратов электроустановок потребителей. – М.: Энергоатомиздат, 1982.
7. Правила устройства электроустановок. - М.: Энергоатомиздат, 1986.
8. Правила технической эксплуатации и правила техники безопасности при эксплуатации электроустановок потребителей. - М.: Энергоатомиздат, 1986.
9. Пястолов А.А., Мешков А.А., Вахрамеев А.П. Монтаж, эксплуатация и ремонт электрооборудования. – М.: Колос, 1981.
10. Пястолов А.А. и др. Эксплуатация и ремонт электроустановок. – М.: Колос, 1981.
11. Система планово-предупредительного ремонта и технического обслуживания электрооборудования сельскохозяйственных предприятий (ППРЭсх). – М.: ВО «Агропромиздат», 1987.
12. Синягин Н.Н. и др. Система планово-предупредительного ремонта энергооборудования промышленных предприятий. – М.: Энергия, 1978.
13. Сырых Н.Н. Эксплуатация сельских электроустановок. – М.: ВО «Агропромиздат», 1986.
14. Таран В.П. и др. Справочник по эксплуатации электроустановок. - М.: Колос, 1983.